КОНТРОЛЬНАЯ РАБОТА
На тему: "Кривошипно-шатунный механизм "
Выполнил:
ПОЛТАВА
СОДЕРЖАНИЕ
КРИВОШИПНО-ШАТУННЫЙ МЕХАНИЗМ.. 3
БЛОК ЦИЛИНДРОВ.. 3
ГОЛОВКА БЛОКА.. 6
ПОРШНЕВАЯ ГРУППА.. 8
ШАТУНЫ.. 15
КОЛЕНЧАТЫЙ ВАЛ И МАХОВИК.. 18
КАРТЕР ДВИГАТЕЛЯ.. 24
КРЕПЛЕНИЕ ДВИГАТЕЛЯ НА РАМЕ. 25
Кривошипно-шатунный механизм преобразует прямолинейное возвратно-поступательное движение поршней, воспринимающих силу давления газов, во вращательное движение коленчатого вала. Детали кривошипно-шатунного механизма можно разделить на две группы: подвижные и неподвижные,
К первым относятся поршень с кольцами и поршневым пальцем, шатун, коленчатый вал и маховик, ко вторым - блок цилиндров, головка блока, прокладка головки блока и поддон (картер), В обе группы входят также и крепежные детали.
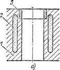
Блок цилиндров или блок-картер является остовом двигателя. На нем и внутри него располагаются основные механизмы и детали систем двигателя. Блок 1 цилиндров (рис.1) может быть отлит из серого чугуна (двигатели автомобилей ЗИЛ-130, МАЗ-5335, КамАЗ-5320) или из алюминиевого сплава (двигатели автомобилей ГАЗ-24 "Волга", ГАЗ-53А и др.). Горизонтальная перегородка делит блок цилиндров на верхнюю и нижнюю части, В верхній плоскости блока и в горизонтальной перегородке расточены отверстия для установки гильз цилиндров. В цилиндре, являющемся направляющей при движении поршня, совершается рабочий цикл двигателя. Гильзы могут быть мокрыми или сухими. Гильзу цилиндра называют мокрой, если она омывается жидкостью системы охлаждения, и сухой, если непосредственно не соприкасается с охлаждающей жидкостью.

Рис.1. Блок цилиндров и головка блока V-образного двигателя:
1 - блок цилиндров; 2 - прокладка головки блока; 3 - камера сгорания; 4 - головка блока; 5 - гильза цилиндра; 6 - уплотнительное кольцо; 7 - шпильки
Цилиндры могут быть отлиты из серого чугуна вместе со стенками водяной рубашки 2 (рис.2, а) в виде одного блока 1 или в виде отдельных гильз 4, 5 и 6 (рис.2, б, в и г), устанавливаемых в блок. Двигатели, имеющие цилиндры, изготовленные в виде сменных мокрых гильз, проще ремонтировать и эксплуатировать (двигатели автомобилей ГАЗ-24 "Волга", ГАЗ-53А, ЗИЛ-130, МАЗ-5335, КамАЗ-5320 и др.).
Внутренняя поверхность цилиндра, внутри которой перемещается поршень, называется зеркалом цилиндра. Ее тщательно обрабатывают для уменьшения трения при движении в цилиндре поршня с кольцами я часто закаливают для повышения износостойкости и долговечности. Гильзы в блок цилиндров устанавливают так, чтобы охлаждающая жидкость не проникала в них и в поддон, а газы не прорывались из цилиндра. Необходимо предусмотреть и возможность изменения длины гильз в зависимости от температуры двигателя. В целях фиксации вертикального расположения гильз они имеют специальный бурт для упора в блок цилиндров и установочные пояса.
 
Рис.2. Схемы цилиндров двигателей:
а - без гильз, но с короткой вставкой (автомобилей ЗИЛ-157К, ГАЗ-52-04); б и б"с "мокрой" гильзой (дизели ЯМЗ-236 и автомобиля КамАЗ-5320); г - с "мокрой" гильзой, в которую запрессована коротка я вставка (на автомобилях ГАЗ-24 "Волга", ГАЗ-53А, ЗИЛ-130 и др.); 1 - блок цилиндров 2 - водяная рубашка; 3 - вставка; 4, 5 и 6 - гильзы цилиндров; 7 - уплотнительные кольца (резиновые или медные, устанавливаемые под бурт)
Мокрые гильзы в нижней части уплотняют резиновыми кольцами, размещаемыми в канавках блока цилиндров (двигатели автомобиля КамАЗ-5320), в канавках гильз (двигатели автомобилей МАЗ-5335, ЗИЛ-130 и др.), или медными кольцевыми прокладками, устанавливаемыми между блоком и опорной поверхностью нижнего пояса гильзы (двигатели автомобилей ГАЗ-24 "Волга", ГАЗ-53А и др.) - Верхний торец гильзы выступает над плоскостью блока цилиндров на 0,02-0,16 мм, что способствует лучшему обжатию прокладки головки блока и надежному уплотнению гильзы, блока и головки блока.
Во время работы двигателя в верхней части цилиндров сгорает рабочая смесь. Горение сопровождается выделением продуктов окисления, которые вызывают коррозию цилиндров. Для повышения износостойкости цилиндров в некоторых двигателях применяют вставки 3 из антикоррозионного чугуна. Их запрессовывают в блок цилиндров (двигатели автомобилей ЗИЛ-130К, ГАЗ-52-04) или в гильзы цилиндров (двигатели автомобилей ГАЗ-24 "Волга", ГАЗ-53А, ЗИЛ-130 и др.). Это усложняет технологию изготовления двигателя. В перспективе конструкторы предполагают использовать специальные металлы, что позволит отказаться от применения вставок в цилиндрах.
Поперечные вертикальные перегородки внутри блока цилиндров совместно с передней и задней стенками обеспечивают его необходимую прочность и жесткость. В этих перегородках, а также в передней и задней стенках блока расточены гнезда под верхние половины коренных подшипников коленчатого вала. Нижние половины коренных подшипников помещены в крышках, прикрепленных к блоку на шпильках или болтами.
В V-образных двигателях один из рядов блока цилиндров несколько смещен относительно другого, что вызвано расположением на шатунной шейке коленчатого вала двух шатунов: одного для правого, а другого - для левого блоков. Так, в V-образных двигателях автомобилей ГАЗ-53А левый блок цилиндров смещен вперед (по ходу автомобиля) на 24 мм, а автомобилей ЗИЛ-130 - на 29 мм относительно правого блока. Нумерация цилиндров указана вначале для правого блока цилиндров (по ходу автомобиля), а затем для левого; ближайший к вентилятору цилиндр имеет номер один и т.д.
Головка является крышкой, закрывающей цилиндры; V-образные двигатели имеют отдельные головки блока для каждого ряда цилиндров (двигатели автомобилей ГАЗ-53А и ЗИЛ-130); V-образный дизель автомобиля КамАЗ-5320 имеет отдельную головку на каждый цилиндр. Для карбюраторных двигателей и дизеля автомобиля КамАЗ-5320 головки блока отливают из алюминиевого сплава, а для дизеля ЯМЗ-236 - из легированного чугуна. Верхнюю плоскость блока цилиндров и нижнюю плоскость головки блока тщательно обрабатывают для получения плотного соединения. Между этими плоскостями устанавливают сталеасбестовую уплотняющую прокладку, предотвращающую прорыв газов наружу и исключающую проникновение охлаждающей жидкости в цилиндры. Перед установкой прокладки на двигатель обе ее стороны натирают графитом, предохраняющим ее от пригорания к блоку или головке. Гайки и болты крепления головки блока к блоку цилиндров затягивают равномерно в определенной последовательности.

Рис.3. Формы камер сгорания:
а - карбюраторных двигателей; б - дизелей; / - цилиндрическая; // - полусферическая; // / - клиновая; IV - смещенная (Г-образная); Vи VI-неразделенные; VIIи VIIІ - разделенные; 1 - клапан; 2 - свеча зажигания; 3 - насос-форсунка; 4 - камера сгорания; 5 - форсунка; 6 - предкамера; 7 - основная камера; 8 - вихревая камера
Головка блока цилиндров двигателей с нижним расположением клапанов проще по устройству, так как в ней размещены только камеры сгорания, водяные рубашки, отверстия для ввертывания свечей зажигания и крепления головки к блоку цилиндров. Каналы для подвода горючей смеси и выпуска отработавших газов находятся в блоке цилиндров.
Головки блока цилиндров двигателей с верхним расположением клапанов имеют более сложную конструкцию. В них размещены вставные седла, свечи зажигания или форсунки, направляющие втулки, клапаны, коромысла, оси и другие детали. Кроме того, в головках блока имеются водяные рубашки, отверстия для прохода штанг, масла и каналы, по которым к цилиндрам поступает горючая смесь или воздух и отводятся отработавшие газы.
Форма камеры сгорания оказывает значительное влияние на смесеобразование, сгорание рабочей смеси и на степень сжатия двигателя. Камеры сгорания с верхним расположением клапанов более компактны и обеспечивают лучшее наполнение цилиндров горючей смесью при том же диаметре впускного клапана, чем камеры сгорания с нижним расположением клапанов. Полусферические и клиновые камеры (соответственно схемы // и // /, рис.3) получили распространение у карбюраторных двигателей. При нижнем расположении клапанов чаще применяют Г-образные (смещенные) камеры сгорания (схема IV).
Для улучшения смесеобразования в дизелях применяют различные по форме и объему камеры сгорания. Дизели выпускают с неразделенными (схемы V и VI) и с разделенными (схемы VII и VIII) камерами сгорания. Первые двигатели иначе называют дизелями с непосредственным впрыском топлива. Неразделенная камера сгорания 4 представляет собой пространство, заключенное между днищем поршня, когда он находится в в. м. т., и нижней плоскостью головки блока (один объем). Разделенные камеры сгорания (два объема) состоят из основной камеры 7 и вспомогательной (предкамеры 6 или вихревой 8), соединенных между собой каналом.
Поршень. Давление газов во время рабочего хода воспринимает поршень и передает его через палец и шатун коленчатому валу. В цилиндре поршень, движется неравномерно; в крайних положениях (в в. м. т. и в н. м. т) его скорость равна нулю, а около середины хода она достигает максимального значения. В результате этого возникают большие силы инерции, на величину которых влияет масса поршня и угловая скорость коленчатого вала. Кроме механических нагрузок, поршень подвергается действию высоких температур в период сгорания топлива и расширения образовавшихся газов. Он нагревается также вследствие трения его боковой поверхности о стенки цилиндра.
На автомобильных двигателях чаще устанавливают поршни, изготовленные из алюминиевого сплава, так как они достаточно прочные, легкие, имеют высокую теплопроводность и хорошие антифрикционные свойства. Для повышения прочности, надежности и сохранения постоянства размеров и формы поршни из алюминиевого сплава подвергают термической обработке - старению.
Поршень состоит из трех основных частей (рис.4, а): днища 6, головки 7 и юбки 8. На внешней поверхности головки поршня и юбке проточены канавки для установки компрессионных колец 4 и маслосъемных колец 3. Верхнюю часть поршня называют уплотнительным поясом, так как размещенные здесь поршневые кольца предотвращают прорыв газов через зазоры между поршнем и цилиндром. Число колец, устанавливаемых на поршне, зависит от типа двигателя и частоты вращения коленчатого вала. По окружности канавок, в которых размещены маслосъемные кольца, просверлены сквозные отверстия для отвода масла в картер двигателя. Юбка 8 является направляющей поршня при движении его в цилиндре и передает боковую силу от шатуна стенкам цилиндра. На внутренней стороне юбки имеется два массивных прилива, называемых бобышками. Они соединяются ребрами с днищем, увеличивая прочность поршня. В бобышках сделаны отверстия для установки пальца 2 и проточены кольцевые канавки для стопорных колец 1. В карбюраторных двигателях применяют поршни с плоским днищем, получившие широкое распространение из-за простоты изготовления и меньшего нагрева при работе (рис.4, б и в).
Для увеличения прочности и улучшения отвода тепла днище поршня дизеля изготовляют массивным и усиливают ребрами с внутренней стороны. Обычно поршни дизелей имеют фигурные днища 6. Это улучшает процесс смесеобразования и позволяет придать камере сгорания 5 необходимую форму (рис.4, а).
При нагреве поршень расширяется больше, чем цилиндр, охлаждаемый жидкостью, поэтому возникает опасность заклинивания поршня. Чтобы избежать этого и обеспечить нормальную работу двигателя, диаметр поршня должен быть меньше диаметра цилиндра, т.е. между поршнем и цилиндром необходим диаметральный зазор. Применяют поршни, у которых диаметр юбки больше диаметра головки т.е. поршень имеет форму усеченного конуса. Юбку делают разрезной, что повышает упругость (устраняет опасность заклинивания), придают ей овальную форму (большая ось овала должна быть перпендикулярна оси поршневого пальца) и т.д.
Поршни (рис.4, б и в) имеют разрезную юбку овального сечения (двигатели автомобилей ГАЗ-24 "Волга", ГАЗ-53А и др.). Во время работы двигателя поршень нагревается и юбка несколько деформируется в направлении оси поршневого пальца. Форма юбки приближается к цилиндрической, и зазор между поршнем и цилиндром становится минимальным. Вырезы на юбке уменьшают массу поршня. Поршни двигателя автомобиля ЗИЛ-130 имеют поперечные прорези под головкой; на юбке поршня выполнен Т-образный разрез. Иногда применяют поршни с усиленной юбкой - без вертикального разреза.
Если на юбках поршней имеются разрезы, то их устанавливают в двигателе так, чтобы боковое давление при рабочем ходе испытывала та часть поршня, где нет разреза. При переходе поршня через в. м. т. он перемещается от одной стенки цилиндра к другой, что сопровождается стуками.

Рис.4. Шатунно-поршневая группа:
а - дизелей ЯМЗ; б и в - двигателей автомобилей ГАЗ-53А, где даны поршни в сборе с шатуном, устанавливаемые соответственно в первый, второй, третий и четвертый цилиндры левого блока и в пятый, шестой, седьмой к восьмой цилиндры правого блока; 1 - стопорное кольцо; 2 - поршневой палец; 3 - маслосъемные кольца; 4 - компрессионные кольца; 5 - камера сгорания в днище поршня; 6 - днище поршня; 7 - головка поршня; 8 - юбка; 9 - поршень; 10 - распылитель масла (форсунка); 11 - шатун; 12 - вкладыши; 13 - замковая шайба; 14 - длинный болт; 15 - короткий болт; 16 - крышка шатуна; 17 - втулка в головке шатуна; 18 - надпись на поршне; 19 - номер на шатуне; 20 - метка на крышке шатуна; 21 - шатунный болт.
Чтобы устранить эти стуки, ось отверстия под палец смещают в сторону (на 1,5 - 2,0 мм) максимального бокового давления. Для улучшения приработки поршней к цилиндрам и устранения возможных задиров поршни покрывают тонким слоем олова. Юбки поршней дизелей ЯМЗ и автомобилей КамАЗ-5320 не имеют разреза, но они также выполнены в виде конуса овального сечения. Диаметр поршней дизелей ЯМЗ-236 и ЯМЗ-238 равен 130 мм, дизеля автомобиля КамАЗ-5320 равен 120 мм и двигателя автомобиля ЗИЛ-130 равен 100 мм. Для правильной установки в цилиндры и точного соединения с шатунами на поршнях и шатунах есть соответствующие метки (рис.4, бив).
Поршневые кольца. Надеваемые на поршень поршневые кольца создают плотное, подвижное соединение между поршнем и цилиндром. Кольца бывают компрессионные и маслосъемные; первые обеспечивают необходимую компрессию (сжатие) благодаря уменьшению количества газов, прорывающихся из камеры сгорания в картер, и отводят тепло от головки поршня к стенкам цилиндра; вторые - препятствуют проникновению масла из картера в камеру сгорания.
Кольца изготовляют из специального легированного чугуна или стали. Разрез кольца, называемый замком, может быть прямой, косой или ступенчатый. Получили распространение кольца с прямым замком, как наиболее простым и дешевым в изготовлении.

Рис.5. Поршневые кольца:
а - поперечные сечения компрессионных колец и их положения в рабочем состоянии; б ~ составное маслосъемное кольцо; в - головка поршня двигателя автомобиля ЗИЛ-130 с поршневыми кольцами; г - схема насосного действия компрессионных колец; д - схема работы маслосъемных колец; / - кольцо прямоугольного сечения; // - кольцо с конической наружной поверхностью; // / - кольцо с фаской на внутренней стороне; IV - кольцо с выточкой на внутренней стороне; / - дискообразные кольца; 2 - осевой расширитель; 3 - радиальный расширитель; 4 - замок кольца; 5 - компрессионные кольца; 6 - поршень; 7 - отверстие в канавке маслосъемного кольца; 8 - цилиндр; 9 - маслосъемное кольцо; 10 - прорези в кольце; 11 - отверстие в поршне; сплошными стрелками показано направление движения поршня, а штриховыми - масла
В свободном состоянии диаметр поршневого кольца больше внутреннего диаметра цилиндра. Поэтому кольцо, поставленное в канавку поршня и введенное в сжатом состоянии в цилиндр, разжимаясь, плотно прилегает к внутренней поверхности цилиндра. Зазор в замке кольца позволяет ему расширяться при нагревании.
Различные поперечные сечения компрессионных колец приведены на рис.28, а. Кольцо с конической наружной поверхностью (схема // ) соприкасается с цилиндром не всей боковой поверхностью, а лишь небольшой кромкой и оказывает на стенки цилиндра значительное давление. Такое кольцо скорее прирабатывается к цилиндру, лучше уплотняет соединение поршень - цилиндр. Особенностью колец с фаской (схема // /) или выточкой (схема IV) является то обстоятельство, что надетые на поршень и введенные в цилиндр они скручиваются к центру. Такие кольца прилегают к зеркалу цилиндра острой кромкой и работают так же, как и конические, но обеспечивают большую герметичность подвижного соединения в результате лучшего контакта с торцовыми поверхностями поршневой канавки. Поршневые кольца с фасками и выточками ставят на поршень так, чтобы фаски или выточки были направлены вверх, в сторону головки блока.
Первое компрессионное кольцо работает в условиях высокой температура, больших давлений и изнашивается быстрее других. Для повышения износостойкости первого компрессионного кольца его наружную цилиндрическую поверхность подвергают пористому хромированию. Собирающееся в порах хрома масло несколько улучшает условия работы кольца. Со временем заводы предполагают отказаться от хромирования колец и перейти к напыливанию их наружной поверхности молибденом. При хромировании верхнего кольца увеличивается долговечность остальных поршневых колец" которые покрывают слоем олова для лучшей приработки их к цилиндрам. Два верхних (двигатель автомобиля ЗИЛ-130) компрессионных кольца хромированы. Первое компрессионное кольцо дизеля автомобиля КамАЗ-5320 хромировано и установлено в чугунное кольцо, залитое в поршень из алюминиевого сплава, а второе покрыто слоем молибдена.
Проникновение масла в камеру сгорания очень нежелательно, так как приводит к интенсивному нагарообразованию и ухудшению работы двигателя. Масло в камеру сгорания может проникать в результате разности давлений в картере и цилиндре при такте впуска и вследствие насосного действия поршневых колец. При движении поршня вниз кольца прижимаются к верхним кромкам канавок и масло заполняет зазор между нижними торцами колец и канавками. Когда поршень движется вверх, кольца прижимаются к нижним кромкам канавок и масло выдавливается вверх.
Маслосъемные кольца (обычно не более двух) устанавливают на поршне ниже компрессионных колец, по конструкции они отличаются от компрессионных колец тем, что на их наружной поверхности имеются кольцевые канавки и сквозные прорези или отверстия для прохода масла. На поршнях применяют и составные маслосъемные кольца (ГАЗ-24 "Волга", ГАЗ-53А, ЗИЛ-130 и др.). Такое кольцо состоит из двух плоских стальных дискообразных колец / и двух расширителей: осевого 2, разжимающего кольца, и радиального 3, прижимающего дискообразные кольца к зеркалу цилиндра. Составное кольцо оказывает большое давление на стенки цилиндра и лучше очищает его от излишков масла. Устанавливая на поршень поршневые кольца, необходимо следить за тем, чтобы замки соседних колец были смещены на некоторый угол (90-180°) один относительно другого, а не расположены на одной прямой.
Поршневые пальцы. Поршень с верхней головкой шатуна соединяет поршневой палец. Он должен быть прочным, легким и износостойким, так как во время работы подвергается трению и большим механическим нагрузкам, переменным по величине и направлению. Пальцы изготовляют из высококачественной стали в виде пустотелых трубок. Для повышения надежности наружную поверхность пальца цементируют или закаливают, а затем шлифуют и полируют. В бобышках поршня палец укреплен стопорными кольцами, удерживающими его от осевого смещения. Такой палец называют плавающим, так как он при работе двигателя может повертываться в верхней головке шатуна и бобышках поршня. Плавающие поршневые пальцы 2 (см. рис.5) равномернее изнашиваются и поэтому долговечнее.
У работающего двигателя поршень из алюминиевого сплава расширяется больше, чем стальной палец, поэтому возможен его стук в бобышках поршня. Для устранения этого явления поршень перед сборкой с шатуном нагревают до 70-80° С, а затем в поршень и шатун вставляют палец. Когда поршень остынет, палец в бобышках окажется закрепленным неподвижно, а верхняя головка шатуна будет иметь угловое смещение относительно неподвижного пальца. При работе двигателя поршень нагревается и палец получает возможность повертываться вокруг своей оси. Применяют пальцы, запрессованные в верхние головки шатунов (двигатели автомобилей "Жигули"), Такие пальцы могут повертываться только в бобышках поршня.
Поршень с коленчатым валом соединяет шатун. Он превращает возвратно-поступательное движение поршня во вращательное движение коленчатого вала. Основными частями шатуна (Рис.6) являются верхняя головка 7 с запрессованной в нее бронзовой втулкой 5, стержень и нижняя головка 9 с крышкой 10. Шатун испытывает большие нагрузки, меняющиеся по величине и направлению. Он подвергается сжатию, изгибу и растяжению. Чтобы выдержать такие нагрузки, шатун должен быть прочным, жестким и легким для уменьшения сил инерции. Шатун штампуют из стали и подвергают термообработке (закалке и отпуску); его стержень имеет двутавровое сечение для увеличения прочности.
Шатун совершает сложное движение: верхняя головка вместе с поршнем движется возвратно-поступательно, повертываясь на некоторый угол относительно пальца или вместе с пальцем относительно бобышек поршня; нижняя головка вращается вместе с шатунной шейкой коленчатого вала; стержень шатуна совершает колебательное движение. В большинстве случаев нижнюю головку делают разъемной в плоскости перпендикулярной оси шатуна. Иногда плоскость разъема располагают под углом к оси шатуна (дизель ЯМЗ-236, см. рис.27, а). Необходимость в разъеме нижней головки шатуна под углом возникает тогда, когда шатунные шейки коленчатого вала имеют большой диаметр.

Рис.6. Шатун и шатунные вкладыши:
а - шатун двигателя автомобиля ГАЗ-53А; б - шатунные вкладыши; 1 - гайка; 2 - болт; 3 и 14 - отверстия для масла; 4 - стержень шатуна; 5 - бронзовая втулка; 6 - отверстие для подачи масла к поршневому пальцу; 7 - верхняя головка шатуна; 8 - номер шатуна; 9 - нижняя головка шатуна; 10 - крышка нижней головки шатуна; 11 - стопорная шайба; 12 - метка; 13 - усик; 15 - верхний вкладыш; 16 - нижний вкладыш
В этом случае нижняя головка шатуна получается значительных размеров, что затрудняет или делает невозможным монтаж и демонтаж поршня вместе с шатуном через цилиндр.
Крышку 10 (Рис.6) нижней головки шатуна крепят к нему двумя болтами, изготовленными из высококачественной стали. Гайки болтов шатуна затягивают динамометрическим ключом и тщательно шплинтуют или стопорят специальными стопорными шайбами. Нижнюю головку шатуна и крышку растачивают вместе для получения отверстия правильной цилиндрической формы. Поэтому крышку нельзя перевертывать или переставлять на другие шатуны. На шатунах и крышках с одной стороны ставят необходимые для этого метки 12. В нижние головки шатунов устанавливают подшипники скольжения, состоящие из двух вкладышей - верхнего 15 и нижнего 16. Взаимозаменяемые тонкостенные вкладыши изготовлены из стальной ленты (толщиной 1,3-1,8 мм для карбюраторных двигателей и 2-3,6 мм для дизелей), залитой антифрикционным сплавом (толщина слоя соответственно 0,25-0,40 мм и 0,3-0,7 мм) на алюминиевой основе с 25-30% олова. Применение сталеалюминевых вкладышей с тонким антифрикционным слоем обеспечивает надежную работу подшипника при малом зазоре между шейкой вала и вкладышами. На дизеле автомобиля КамАЗ-5320 применяют трехслойные взаимозаменяемые шатунные вкладыши, залитые тонким слоем свинцовистой бронзы.
От осевого смещения и провертывания шатунные подшипники удерживаются в своих гнездах усиками 13, входящими в пазы, которые расположены на одной стороне шатуна. Обычно нижнюю головку шатуна делают симметричной относительно оси стержня. Нижняя головка шатуна (двигателя автомобиля ГАЗ-53А) несколько несимметрична относительно оси стержня, что сделано для обеспечения упора двух шатунов в галтели шатунной шейки
коленчатого вала. Нагрузка на опорные поверхности шатунных подшипников распределяется равномерно, так как они расположены симметрично относительно оси стержня. На нижней головке шатуна есть небольшое отверстие 3 (двигатели автомобилей ГАЗ-24 "Волга", ГАЗ-53А, ЗИЛ-130) для подачи масла на стенки цилиндра или на распределительный вал.
Силы от шатуне соединенных с поршнями, воспринимает коленчатый вал, который испытывает большие нагрузки и подвергается скручиванию, изгибу и истиранию. Крутящий момент, развиваемый на коленчатом валу, передается на трансмиссию автомобиля, а также используется для привода в действие различных механизмов и деталей двигателя.
Коленчатый вал (рис.7, а) имеет следующие части: коренные 7 и шатунные 3 шейки, щеки 8, противовесы 4, передний конец 1 и задний конец (хвостовик) с маслоотражателем 5, маслосгонной резьбой и фланцем 6 для крепления маховика. Шатунные шейки служат для соединения коленчатого вала с шатунами. Коренные шейки вала входят в подшипники, установленные в блоке цилиндров. Щеки соединяют коренные и шатунные шейки вала, образуя колена или кривошипы. Противовесы, расположенные на коленчатом валу, разгружают коренные подшипники от сил инерции и создаваемых ими моментов.
Форма коленчатого вала зависит от числа и расположения цилиндров, порядка работы и тактности двигателя. Коленчатый вал изготовляют горячей штамповкой из легированной стали (двигатели автомобилей ЗИЛ-130, МАЗ-5335, КамАЗ-5320 и др.) или отливают из высокопрочного чугуна (двигатели автомобилей

Рис.7. Коленчатые валы:
а - двигателя автомобиля ЗИЛ-130; б - дизеля ЯМЗ-236; в - дизеля автомобиля КамАЗ-5320; А - величина перекрытия шеек; 1 - передний конец вала; 2 - грязеуловительная полость в шатунной шейке; 3 - шатунная шейка; 4 - противовесы; 5 и 15 - маслоотражатели; 6 - фланец для крепления маховика; 7 - коренная шейка; 8 - щека; 9 - гайка; 10 - передние съемные противовесы; 11 - распределительная шестерня; 12 - шестерня привода масляного насоса; 13 - винт; 14 - съемный противовес; 16 - установочные штифты; 17 – шпонка.
ГАЗ-24 "Волга", ГАЗ-53А, "Жигули" и др.) вместе с противовесами или без них. Шатунные шейки коленчатого вала располагают так, чтобы одноименные такты (например, такты расширения) в разных цилиндрах двигателя происходили через равные промежутки (по углу поворота), а силы инерции, возникающие в цилиндрах, взаимно уравновешивались. Если расположение колен коленчатого вала не обеспечивает взаимного уравновешивания сил инерции и создаваемых ими моментов, то на таких коленчатых валах устанавливают противовесы или оборудуют двигатели специальными уравновешивающими механизмами.
Для повышения износостойкости и долговечности шатунных и коренных шеек их закаливают токами высокой частоты (т. в. ч), после чего шлифуют и полируют. Переход от шеек к щекам, называемый галтелью, делают плавным, чтобы избежать концентрации напряжений и возможных поломок коленчатого вала. Для повышения жесткости и надежности коленчатых валов применяют перекрытие шеек, характеризуемое величиной А (рис.7, б). Размеры шеек коленчатых валов следующие: у двигателя автомобиля ГАЗ-53А диаметр шатунной шейки равен 60 мм, а коренной 70 мм; у двигателя автомобиля КамАЗ-5320 диаметр шатунной шейки равен 80 мм, а коренной 95 мм.
Коленчатый вал дизеля ЯМЗ-236 (рис.7, б) имеет три шатунные шейки 3, расположенные под углом 120°, и четыре коренные шейки 7. На коленчатом валу установлено семь противовесов, а восьмой отлит в виде прилива вместе с маховиком. Установка на коленчатом валу, кроме основных противовесов, двух выносных улучшает уравновешивание моментов сил инерции, возникающих при работе двигателя, так как чередование одноименных тактов при порядке работы 1-4-2-5-3-6 происходит неравномерно. Коленчатые валы дизелей ЯМЗ-236 и дизелей автомобилей КамАЗ не имеют фланцев для крепления маховиков. Коленчатые валы большинства двигателей имеют грязеуловительные полости 2 в шатунных шейках для дополнительной центробежной очистки масла.
В качестве коренных подшипников для коленчатого вала применяют тонкостенные вкладыши, изготовленные из сталеалюминевой ленты. У коренных вкладышей толщина стенки весьма мала (1,9-2,8 мм для карбюраторных двигателей и 3-6 мм для дизелей), поэтому после их установки на место форма внутреннего отверстия подшипника зависит только от точности расточки гнезда. На карбюраторных двигателях (автомобилей ГАЗ-24 "Волга", ГАЗ-53А и ЗИЛ-130) не применяют коренные трехслойные вкладыши (стальная лента, медно-никелевый подслой и слой антифрикционного сплава) из-за низкого предела выносливости применявшегося антифрикционного слоя. Здесь используют только двухслойные вкладыши, хорошо/ работающие в двигателях с большой угловой скоростью коленчатого вала и значительными нагрузками.
Широкое использование высокооловянистых сталеалюминевых вкладышей вызвано тем, что они обладают повышенной усталостной прочностью, хорошими противозадирными свойствами и коррозионной стойкостью, что повышает надежность двигателя. Вкладыши коренных подшипников дизеля автомобиля КамАЗ-5320 трехслойные, с рабочим слоем из свинцовистой бронзы. Вкладыши коренных подшипников дизеля ЯМЗ-236 и дизеля автомобиля КамАЗ-5320 невзаимозаменяемые, а двигателей автомобилей ГАЗ 24 "Волга" и ЗИЛ-130 соответственно взаимозаменяемы.
Вследствие работы сцепления и косозубых шестерен механизма газоpacпределения возникают силы, стремящиеся сдвинуть коленчатый вал вдоль оси. Поэтому один из коренных подшипников коленчатого вала делают упорным, воспринимающим осевые нагрузки и удерживающим вал от смещения. В двигателях автомобилей ГАЗ и ЗИЛ упорным является первый коренной подшипник.
Коленчатый вал 6 (рис.8, а) удерживается от осевого смещения двумя стальными неподвижными шайбами 11 и 10, установленными с обеих сторон первого коренного подшипника. Переднюю шайбу 11 удерживают от вращения штифты 8 и 15, один из которых запрессован в блок 9 цилиндров, а другой в крышку 14 коренного подшипника. Задняя шайба 10 имеет прямоугольный выступ, входящий в паз крышки. Плоскостью, залитой баббитом, шайба 10 обращена к шлифованному пояску щеки коленчатого вала, а шайба - к упорной стальной шайбе 16, установленной на шпонке 12 между торцом передней коренной шейки коленчатого вала и распределительной шестерней 17.

Рис.8. Уплотнение коленчатого вала:
а - упорный подшипник и уплотнение переднего конца вала; б - уплотнение заднего конца вала; 1 - самоподжимной сальник; 2 - пылеотражатель; 3 - шкив привода водяного насоса, вентилятора и генератора; 4 - ступица; 5 - храповик; б - коленчатый вал; 7 - крышка распределительных шестерен; 8 и 15 - штифты; 9 - блок цилиндров; 10 - задняя неподвижная шайба; 11 - передняя неподвижная шайба; 12 - шпонка; 13 - вкладыш; 14 - крышка коренного подшипника; 16 - упорная вращающаяся шайба; 17 - распределительная шестерня; 18 - маслоотражатель; 19 - маслоотражательный гребень; 20 - болт крепления маховика; 21 - маслосгонная накатка; 22 - шарикоподшипник вала сцепления; 23 - фланец; 24 - сальник; 25 - держатель сальника; 26 - маховик
На переднем конце коленчатого вала кроме шестерни 17 расположены маслоотражатель 18, ступица 4 шкива 3 привода водяного насоса, вентилятора и генератора. В торец коленчатого вала ввернут храповик 5, служащий для пуска двигателя при помощи пусковой рукоятки и удерживающий от смещения детали, установленные на конце вала. Передний конец коленчатого вала уплотнен самоподжимным резиновым сальником 1, расположенным в крышке 7 распределительных шестерен, и маслоотражателем 18. Масло не может попасть на сальник, так как он защищен специальным корпусом с отогнутыми краями. На ступицу шкива напрессован пылеотражатель 2, защищающий сальник от пыли и песка.
Уплотнение заднего конца коленчатого вала 6 (рис.8, б) состоит из сальника 24 маслосгонной накатки 21 и маслоотражательного гребня 19.
Сальник 24 представляет собой асбестовый шнур, пропитанный антифрикционным составом и покрытый графитом. Сальник состоит из двух половин" помещенных в канавки блока 9 цилиндров и в держатель 25 сальника, привернутый к блоку. В задний торец коленчатого вала запрессован шарикоподшипник 22 вала сцепления. Фланец 23, отштампованный как одно целое с коленчатым валом, служит для крепления маховика 26 болтами 20 - изготовленными из высококачественной стали. Передние и задние концы коленчатых валов дизелей и двигателей автомобилей "Жигули", "Москвич" тщательно уплотняют самоподжимными сальниками и маслоотражателями.
От осевого смещения коленчатые валы дизеля ЯМЗ-236 и дизеля автомобиля КамАЗ-5320 удерживаются двумя парами упорных полуколец, изготовленных из бронзы (дизель ЯМЗ-236) или из сталеалюминия (дизель автомобиля КамАЗ-5320) и установленных в выточках задней коренной опоры. Верхние полукольца укреплены к торцам блока цилиндров, а нижние имеют выступы для фиксации их в крышке заднего коренного подшипника.
Маховик. Для накопления энергии в течение рабочего хода, вращения коленчатого вала во время вспомогательных тактов, уменьшения неравномерности вращения вала, сглаживания момента перехода деталей кривошипно-шатунного механизма через мертвые точки, облегчения пуска двигателя и трогания автомобиля с места служит маховик. При пуске двигателя в цилиндрах происходят вспышки рабочей смеси и маховик обеспечивает вращение коленчатого вала от конца рабочего хода в одном цилиндре до его начала в следующем цилиндре в соответствии с порядком работы двигателя.
Маховик отливают из серого чугуна; на ободе маховика для увеличения момента инерции располагают основную массу металла. На обод маховика напрессовывают или надевают зубчатый венец, необходимый для вращения коленчатого вала при пуске двигателя стартером. Венец крепят болтами. Поверхность маховика, соприкасающуюся с ведомым диском сцепления, шлифуют и полируют.
На ободе или торце маховика имеются метки, позволяющие установить поршень первого цилиндра в в. м. т. Коленчатый вал в сборе с маховиком и сцеплением подвергают динамической и статической балансировке, чтобы неуравновешенные силы инерции не вызывали вибрации двигателя и сильного износа коренных подшипников. Обычно маховик крепят к фланцу коленчатого вала болтами, которые подвергают термической обработке и шлифованию. Корончатые гайки, навернутые на эти болты, тщательно шплинтуют. Одно из крепежных отверстий на маховике и во фланце смещено по окружности на несколько градусов (2° у двигателей автомобиля ЗИЛ-130), что обеспечивает точное соединение маховика и коленчатого вала, если их почему-либо разбирали.
У дизеля ЯМЗ-236 и дизеля автомобиля КамАЗ-5320 маховик крепят болтами, которые ввертывают непосредственно в коленчатый вал. В этом случае маховик точно фиксируют относительно шеек коленчатого вала двумя шрифтами 16 (см. рис.30).
Картер состоит из двух частей - верхней и нижней, Верхнюю часть картера отливают как одно целое с блоком цилиндров. Здесь устанавливают коленчатый и распределительный валы, а также другие узлы и детали двигателя. Нижняя половина картера предохраняет от загрязнения детали кривошипно-шатунного и газораспределительного механизмов и, кроме того, используется как резервуар для масла. Поэтому нижнюю половину картера часто называют масляным картером, или поддоном, Он закрывает блок цилиндров снизу.

Рис.9. Масляный картер дизеля ЯМЗ-236:
1 - поддон; 2. - фланец поддона; 3 - прокладка; 4 - перегородки; 5 - медно-асбестовая прокладка; 6 - пробка сливного отверстия
Внутри поддона 1 (рис.9) устанавливают горизонтальные или вертикальные перегородки 4, которые задерживают движение масляных волн и защищают уплотнения картера от ударов масла. В поддоне есть сливное отверстие для масла, закрываемое пробкой 6.
Для плотного соединения между блоком цилиндров и фланцем 2 поддона ставят уплотнительную прокладку 3. Плоскость разъема блока цилиндров может проходить по оси коленчатого вала, но на большинстве двигателей ее смещают вниз, чтобы повысить жесткость верхней половины картера.
Несмотря на хорошую уравновешенность современных автомобильных двигателей, во время их работы все же возникают вибрации, которые не должны передаваться на раму. Поэтому крепление (подвеска) двигателя должно быть таким, чтобы уменьшить передачу вибраций на раму автомобиля и предотвратить появление напряжений в блоке цилиндров при перекосах рамы вследствие движения автомобиля по неровной дороге. Двигатели крепят к рамам или полурамам в трех, четырех и пяти точках.
Двигатель автомобиля ГАЗ-24 "Волга" крепят в трех точках на резиновых подушках. Две опоры расположены в передней части блока цилиндров, по его сторонам, а одна опора сзади, под передней частью удлинителя коробки передач.
Двигатель автомобиля ЗИЛ-130 прикреплен к раме в трех точках: одна опора спереди и две сзади (лапы картера сцепления). Двигатель автомобиля ГАЗ-53А прикреплен к раме в четырех точках: две опоры спереди и две сзади (лапы картера маховика и сцепления). Дизель автомобиля КамАЗ-5320 крепят в пяти точках (рис.10): две опоры спереди установлены на блоке 1 цилиндров по его сторонам; две опоры сзади укреплены с обеих сторон картера 13 маховика; одна поддерживающая опора расположена на картере 22 коробки передач.
Передние опоры состоят из кронштейна 4, соединенного с блоком 1 цилиндров, а через резиновую подушку 7 и стяжку 6 - с кронштейном 5. Последний приклепан к стойке 9, а стойка - к лонжерону 10 рамы.
Задние опоры состоят из кронштейна 12 двигателя, укрепленного на картере 13 маховика, и кронштейна 11 задней опоры, приклепанного к лонжерону 10 рамы. Кронштейн 11 с крышкой 20 охватывают башмак 16, установленных между кронштейнами и соединенный болтом 15 с кронштейном 12. Башмак изготовлен из алюминиевого сплава и находится в резиновой подушке 14. Между крышкой 20 и кронштейном 11 помещены регулировочные прокладки 2L Стальная втулка 18, запрессованная в башмак, предохраняет его от смятия.
Поддерживающая опора состоит из кронштейна 23, укрепленного на картере 22 коробки передач. Полку кронштейна охватывает находящаяся в обойме 25 прямоугольная резиновая подушка 27, соединенная через накладку 26 с поперечиной 24. Последняя соединена с кронштейнами 28, приклепанными к лонжеронам рамы. Резиновые подушки, находящиеся под опорами, снижают ударные нагрузки на двигатель при движении

Рис.10. Крепление двигателя автомобиля КамАЗ-5320:
а - двигатель; б - передняя опора; в - задняя опора; г - поддерживающая опора; 1 - блок цилиндров; 2 - штифт; 3 - шпилька; 4, 8, 23 и 28 - кронштейны; 5, 15 и 16 - болты; б - стяжка; 7, 14 и 27 - резиновые, подушки; 9 - стойка; 10 - лонжерон рамы; 11 - кронштейн задней опоры; 12 - кронштейн двигателя; 13 - картер маховика; 15 - башмак; 17 - защитный колпак; 18 - втулка; 20 - крышка; 21 - регулировочная прокладка; 22 - картер коробки передач; 24 - поперечина; 25 - обойма подушки; 26 - накладка подушки автомобиля и уменьшают вибрацию рамы. Кроме того, опоры удерживают двигатель от продольного смещения при выключении сцепления, резком разгоне или торможении автомобиля. Для этих же целей двигатель автомобиля ЗИЛ-130 соединяют с передней поперечиной рамы реактивной тягой.
|