| МИНИСТЕРСТВО ОБРАЗОВАНИЯ И НАУКИ УКРАИНЫ
Харьковский национальный университет радиоэлектроники
Кафедра проектирования и эксплуатации электронных аппаратов
КУРСОВОЙ ПРОЕКТ
по курсу: «Элементная база ЭА»
Пояснительная записка
Тема проекта
«Конденсатор переменной емкости с нейтральным
ротором»
Харьков 2009
СОДЕРЖАНИЕ
Техническое задание
Введение
1. Анализ технического задания
2. Обзор аналогичных конструкций и выбор направления проектирования
3. Расчет конденсатора
3.1 Расчет электрических и конструктивных параметров
3.2 Вычисление температурного коэффициента емкости
Паспорт
Заключение
Список используемых источников
Приложения
ВВЕДЕНИЕ
Из всего многообразия РЭС конденсаторы занимают достойное место среди них, так как была и остается необходимость в элементах, способных изменять свою емкость в зависимости от какого–то внешнего параметра. Наиболее часто изменение емкости необходимо для изменения резонансной частоты контура. Существует несколько типов таких элементов, одним из которых является конденсатор переменной емкости (КПЕ), проектируемый в данной работе.
Электрические конденсаторы являются одним из наиболее массовых элементов РЭС. Применяемость конденсаторов объясняется достаточно широкими функциональными возможностями как элементов колебательных контуров, а также элементов фильтрующих, разделительных пусковых, помехоподавляющих, блокировочных и других цепей.
1
АНАЛИЗ ТЕХНИЧЕСКОГО ЗАДАНИЯ
Анализ технического задания выявил:
1. Функциональное назначение – конденсатор переменной ёмкости с нейтральным ротором (разделённым статором);
2. Закон изменения ёмкости – прямоемкостной;
3. Максимальная емкость Смах = 50пФ;
4. Минимальная емкость Смin = 3,5пФ;
5. Рабочее напряжение Uраб = 50 в;
6. Количество секций – 2;
7. Температурная стабильность ёмкости – 1/град;
8. Годовой выпуск – 100 шт;
9. Требование к конструкции – обеспечить минимальные габаритные размеры.
10.Противоречивыми требованиями можно назвать минимальные габаритные размеры и относительно высокую температурную стабильность потому, что для достижения малых габаритных размеров можно уменьшать расстояние между пластинами, но при этом будет уменьшаться значение температурной стабильности конденсатора.
11. В какой аппаратуре будет эксплуатироваться конденсатор и в каких условиях не указано в техническом задании, поэтому выбираем их самостоятельно.
Данный конденсатор будет эксплуатироваться в бытовой радиоприёмной аппаратуре УКВ диапазона, которая работает в жилых помещениях - категория размещения КР-4.2(для эксплуатации в отапливаемых помещениях). Исполнение прибора должно соответствовать УХЛ 4.1 ГОСТ 15150 – 69 - для районов с умеренным и холодным климатом при среднегодовом минимуме температуры ниже .
Значения климатических факторов внешней среды при эксплуатации и испытаниях УХЛ 4.1 ГОСТ 15150 – 69.
Исполнение изделий – УХЛ; Категория изделий - 4.1.
Воздействия температуры:
Рабочие температуры:
Верхнее значение + 25;
Нижнее значение + 10;
Среднее значение + 20.
Предельные рабочие значения температур:
Верхнее значение + 40;
Нижнее значение + 1.
Рабочее значение относительной влажности:
Верхнее значение: 80% при 25 .
Значения норм климатических и механических воздействий для бытовой РЭА.
Прочность при транспортировании (в упакованном виде):
ускорение, ................................. 15
длительность ударного импульса, мс................11
число ударов, не менее.......................... 1000
Теплоустойчивость:
рабочая температура............................ 40
предельная температура, ....................... 55
Пониженное атмосферное давление:
атмосферное давление, кПа........................70
Холодоустойчивость:
предельная температура, .......................-40
Влагоустойчивость
влажность, %.................................. 93
температура, ................................ 25
2. ОБЗОР АНАЛОГИЧНЫХ КОНСТРУКЦИЙ И ВЫБОР НАПРАВЛЕНИЯ ПРОЕКТИРОВАНИЯ
Конструкция конденсатора переменной емкости (КПЕ) и его основных элементов должна соответствовать назначению конденсатора и требованиям к стабильности, точности, потерям, виброустойчивости и вибропрочности, размерам, технологичности, стоимости и отсутствию паразитных связей.
Основными элементами конструкции КПЕ, которые в значительной степени определяют параметры конденсатора, являются корпус, ротор и статор, подшипники и токосъемное устройство. Рассмотрим практическое выполнение этих элементов.
По конструктивному выполнению корпуса, ротора и статора конденсаторы могут быть разделены на литые, фрезерованые и штампованые.
Фрезерованные конденсаторы изготовляются фрезерованием роторной и статорной систем и корпуса из сплошного куска металла, чаще всего из алюминия и его сплавов. Отличаются высокими электрическими и механическими показателями, но сложны в изготовлении, металлоемки, а поэтому малопригодны для массового производства. Литые конденсаторы изготовляют литьем из алюминиевых или цинковых сплавов. Статорная система составляет одно целое с корпусом. Толщина пластин при этом может быть получена около 2 мм, а зазор не менее 1,0 мм. Литые конденсаторы отличаются высокой стабильностью, но не могут быть изготовлены большой емкости без значительного увеличения размеров.
Штампованые конденсаторы наиболее удобны для массового производства, хотя по электрическим характеристикам они уступают предыдущим типам. Они изготовляются из штампованых деталей, соединяются между собой при помощи пайки, отбортовки, задавливания или расчеканки. Статорные пластины соединяются в пакет при помощи специальных колонок или гребенок, в шлицы которых вставляются концы пластин; при борке эти концы задавливаются специальным инструментом. Закрепление роторных пластин происходит аналогичным способом. При применении стальных или латунных пластин задавливание концов заменяется пайкой, что устраняет остаточные деформации и повышает стабильность. При единичном производстве стабильных конденсаторов возможна сборка ротора и статора на калиброваных шайбах, фиксирующих зазоры между пластинами.

Рис 1.1 – Внешний вид корпуса и ротора литого конденсатора переменной емкости для УКВ (1 – статор, 2 – керамическая ось, 3 – роторные секции).
Рассмотрим подробнее конденсаторы переменной емкости УКВ. Конденсаторы, применяемые в контурах УКВ, отличаются от конденсаторов для контуров более низких частот главным образом меньшей емкостью. Так как контуры УКВ имеют небольшой коэффициент перекрытия по диапозону, то конденсаторы обычно делают прямоемкостными. Широко применяются литые, штампованые и фрезерованые конструкции конденсаторов с керамической осью и шариковыми подшипниками. В конденсаторах для частот 50-60 МГц обычно применяется пружинный или цанговый токосъемы. Для полного устранения скользящего контакта в конденсаторах для более высоких частот применяются исключительно емкостные токосъемы.

Рисунок 1.2 – Устройство токосъемов (а и б – пружинные токосъемы, в – пружинный упрощенный, г – цанговый токосъем, д – с гибким выводом).
Конденсаторы с разделенным статором (нейтральным ротором) состоят из двух отдельных секций, соединенных последовательно. Во внешнюю цепь он включается своими статорами. При вращении ротора изменяется емкость каждой секции, что изменяет общую емкость конденсатора, то есть емкость между статорами. Роторы секций соединены между собой, но изолированы от корпуса и служат только для емкостной связи между секциями статора. Очень интересна конструкция конденсатора переменной емкости УКВ, ротор которого выплнен из диэлектрика с повышеной диэлектрической проницаемостью. Изменение емкости получается за счет перемещения ротора между двумя неподвижными пластинами, изолированными друг от друга. При введенном роторе емкость будет максимальной, а при выведеном – минимальной. Достоинствами такого конденсатора являются прежде всего небольшие размеры, так как чем больше диэлектрическая проницаемость диэлектрика, из которого выполнены роторные пластины, тем меньше будут размеры конденсатора. Среди недостатков такой конструкции стоит отметить пониженную стабильность, увеличенные потери и относительно небольшие пределы изменения емкости. На рисунке 1.3 приведены примеры конструкций конденсаторов с разделенным статором.
Рисунок 1.3 –Конденсаторы УКВ с разделенным статором (1 – ротор, 2 - статор).
При выборе направления проектирования следует учитывать все параметры, особенно стоит обратить внимание на противоречивые параметры, чтобы найти оптимальное решение сложившейся проблеме, найти компромисный вариант конструкции. Кроме того, конструкция должна обладать минимальными паразитными параметрами, минимальными габаритами и массой (насколько это возможно), не должна быть слишком материалоемкой, должна быть удобной для монтажа и т.д.
Ввиду того, что одним из требований к моему конденсатору является минимизация габаритных размеров, я выбрал конструкцию конденсатора, у которого пластины ротора выполнены из диэлектрика потому, что среди конструкций конденсаторов с нейтральным ротором эта будет наименьшей по габаритным размерам. Количество секций в проектируемом конденсаторе – 2. Конструктивной особенностью сдвоенных КПЕ из конденсаторов с твердым диэлектриком является не смежное (как обычно) расположение статорных (и роторных) секций, а сдвинутое на 180 градусов друг относительно друга. Такое расположение уменьшает паразитную связь между статорами обеих секций, не увеличивая размеры блока. Обычное размещение секций в один ряд потребовало бы устройства экрана между статорами, что увеличило бы размеры блока.

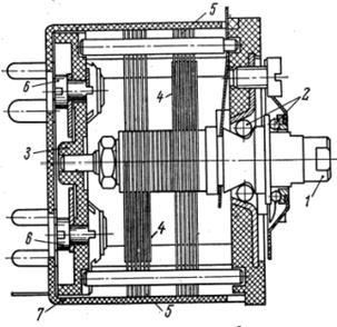
Рисунок 1.4 – Блок конденсаторов переменной емкости с твердым диэлектриком (1 – ось, 2 – передний подшипник, 3 – задний подшипник, 4 – ротор, 5 – статор, 6 – построечные конденсаторы, 7 – крышка).
Именно такую конструкцию я выбрал за основу для своего конденсатора.
3. РАСЧЕТ КОНДЕНСАТОРА
3.1 РАСЧЕТ ЭЛЕКТРИЧЕСКИХ И КОНСТРУКТИВНЫХ ПАРАМЕТРОВ
Величина зазора d выбирается исходя из размеров конденсаторов, требуемой точности, необходимой стабильности и электрической прочности и производственно–технологических соображений. Чем больше зазор тем выше электрическая прочность, стабильность, надежность и точность закона изменения емкости. Следует также учесть, что при увеличении зазора увеличивается обьем конденсатора.
Для приближенного, но удовлетворяющего практическим требованиям расчета можно исходить из того, что при нормальном давлении допустимая напряженность поля между пластинами составляет 650 – 700 В/мм. Тогда величина зазора будет равна:
d = Uр / 500 – 700, мм (3.1)
где Uр – рабочее напряжение
d = 50 / 500 = 0,1 мм
Получили минимальный зазор между статорными пластинами. Если рабочее напряжение конденсатора мало (Uр < 250 в), то из технологических соображений диаметр принимают: d = 0,25 – 0,3 мм. С точки зрения объема конденсатора величина зазора должна быть минимальной. Но при малых зазорах понижается надежность. Считается, что конденсаторы с зазором меньше 0,15мм вызывают черезмерное усложнение производства. В конденсаторах повышеной точности применяют большие зазоры, порядка 1,0 – 1,5 мм. А так как роторные пластины конденсатора будут из керамики (класс III, группа д, ТКЛР равен ), то нужно учесть, что керамика является достаточно хрупким материалом. Выбираю величину зазора и толщину роторной пластины 1 мм.
Ось ротора, как и статорные пластины и стойки для крепления статорных пластин,будут выполняться из ковара (ТКЛР около ), ТКЛР которого близок к ТКЛР керамики. Диаметр оси выбираю равным 3мм.
Радиус выреза в статорных пластинах r0
определяется радиусом оси и зазором между роторными и статорными пластинами:
r0 =
r0с
+ (2 ÷ 3) d, (3.2)
где r0с
- радиус оси.
r0
= 1,5 + 2*1 = 3,5 мм.
Определим форму пластины ротора, обеспечивающей требуемую функциональную зависимость емкости. Для обеспечения прямоемкостной зависимости емкости требуется ротор полукруглой формы. Формула расчета очертания роторной пластины, обеспечивающей любую функциональную зависимость емкости:
Rф = , мм (3.3)
где n – число пластин,
dC/dф – производная зависимости емкости контура от угла поворота.
Зависимость емкости от угла поворота ротора для прямоемкостной зависимости емкости:
= , мм (3.4)
где Cmin – начальная емкость конденсатора, пФ,
Cmax – максимальная емкость конденсатора или номинальная, пФ.
Подставляя (3.4) в (3.3) получим:
Rф = , мм, (3.5)
где ξ – диэлектрическая проницаемость керамики.
Длинна конденсаторной секции вычисляется по формуле:
L=h-n + d-(n–1), (3.6)
где h – толщина пластины.
Общее количество пластин выбираю следующим образом: при большом числе пластин длинна конденсатора получается черезмерной, при малом – возрастают размеры каждой пластины, что понижает их жесткость, поэтому выбираю количество пластин таким образом, чтобы длина конденсаторной секции примерно была равна радиусу ротора или меньше, чтобы конденсатор не получился слишком высоким, так как конденсатор двухсекционный.
Количество пластин n = 4. Тогда:
Rф = , = 0,77 см = 7,7 мм.
L == 0,15*4+3*1= 3,6 мм
3.2 ВЫЧИСЛЕНИЕ ТЕМПЕРАТУРНОГО КОЭФФИЦИЕНТА ЕМКОСТИ
Влияние изменения температуры на параметры конденсатора сказывается в изменении свойств и объема материалов, из которых он изготовлен.Изменение емкости под влиянием температуры в основном вызываются изменениями линейных размеров оси, пластин и, как следствие, зазоров и изменением диелектрической проницаемости диэлектрика, находящегося в электрическом поле конденсатора.
Надо иметь в виду, что емкость КПЕ состоит из двух частей: постоянной части (представляет собой минимальную емкость, величина которой не зависит от положения ротора) и переменной части, величина которой изменяется при перемещении ротора.Каждая из этих емкостей имеет определенный ТКЕ, зависящий как от материалов, так и от последней.
Температурный коефициент переменной части емкости (ТКЕ ~) конденсатора определяется по формуле:
ТКЕ ~= ТКε
TKSA
+TKd
(3.7)
где ТКε - температурный коэффициент диэлектрической проницаемости диэлектрика (для керамики III-го класса группы д лежит в пределах (13 ÷ 53)*10-6
, для расчетов будем брать худшее значение: 53*10-6
1/град);
TKSA
и TKd
– температурные коефициенты активной площади пластин и зазора, соответственно, 1/град.
Температурный коефициент активной площади пластин обулавливается температурным коефициентом линейного расширения материала αмп
, из которого они изготовлены, и относительным перемещением секции ротора и статора, вызванным температурным коефициентом линейного расширения материала корпуса αмк
, т.е:
TKSA
= TKSS
TKSL,
(3.8)
где TKSS
и TKSL
- температурные коефициенты активной площади пластин;
TKSS
= 2 αмп
, (3.9)
где αмп
- температурный коефициент линейного расширения материала, из которого изготовлены пластины.
TKSL
= αмп
- αмк
, (3.10)
где αмк
- температурный коефициент линейного расширения материала, из которого изготовлен корпус (основание конденсатора).Материалом для оснований конденсатора выбрал установочную керамику: тип В, класс VII, применяется для производства мелких деталей, αмк
=6,5*10-6
1/град.
Ввиду того, что в конденсаторе пластины выполнены из разных материалов (роторные – из керамики, а статорные – металлические, из ковара) с неодинаковым (хоть и близким) ТКЛР, для расчетов буду брать худший вариант
Расчитаем TKSL
по формуле 3.10:
TKSL
= (8 - 6,5)*10-6
= 1,5*10-6
1/град
Расчитаем TKSS
по формуле 3.9:
TKSS
= 2*8*10-6
= 16*10-6
1/град
Подставляя полученные значения в (3.8) получим:
TKSA
= 17,5*10-6
1/град
В связи с тем, что у конденсатора толщина вводимой роторной керамической пластины равна расстоянию между статорными пластинами, особенностью данного конденсатора является то, что с увеличением температуры керамика ротора будет расширяться на (8-4,8)*10-6
1/град, то есть на 3,2*10-6
1/град быстрее, чем такой же по толщине участок материала, выполненный из ковара. И наоборот – с уменьшением температуры ковар сжимается на 3,2*10-6
1/град медленнее, чем керамика, значит с колебаниями температуры будут изменяться воздушные зазоры между пластинами, которые образуются как следствие погрешостей изготовления деталей конденсатора и его сборки, что повлечет за собой незначительные изменения емкости.
Так как пластины крепятся к оси ротора и стойкам пайкой, то температурный коефициент зазора между пластинами расчитывается по следующей формуле:
ТКd = (αмо
*l – 2* αмп
dп
)/(l – 2* dп
) , (3.11)
где αмо
- температурный коефициент линейного расширения, из которого изготовлена ось;
l – расстояние между пластинами ротора;
dп
– толщина пластин.
Если αмо
= αмп
= αковар
,то формула примет вид:
ТКd = αковар
(3.12)
Рассчитаем температурный коефициент зазора между пластинами по формуле 3.12.
ТКd = 4,8*10-6
1/град
Общий ТКЕ равен:
ТКЕ = 53*10-6
+ 17,5*10-6
+ 4,8*10-6
= 75,3 10-6
1/град
Расчетный ТКЕ конденсатора составил 75,3 10-6
1/град, а ТКЕ конденсатора заданное в техническом задании – 80*10-6
1/град, значит параметр данного конденсатора соответствует техническому заданию.
ПАСПОРТ
1.Рабочее напряжение, В....................................... 50
2.Максимальная емкость, Пф....................................50
3.Минимальная емкость, Пф.................................... 3,5
4.Количество секций............................................ 2
5.Температурная стабильность емкости, 1/град ................ 75,3*10-6
6.Среда эксплуатации............................. согласно УХЛ 4.1
7.Габаритные размеры, мм...............................30х30х36,3
7.Масса, г................................................... 24,9
ЗАКЛЮЧЕНИЕ
В данном курсовом проекте был произведен расчет переменного конденсатора с нейтральным ротором и прямоемкостной зависимостью. Данный конденсатор переменной емкости предназначен для использования в качестве регулировочного, для подстройки контуров в радиоприемной аппаратуре (в УКВ диапазоне).
В техническом задании для проектирования данного конденсатора были предъявлены противоречивые требования: минимальные размеры конструкции и сравнительно низкий температурный коэффициент емкости (80*10-6
1/град), значит выбираем материалы с максимально близкими ТКЕ и конструкцию, которая бы обеспечивала и достаточно низкий ТКЕ, и малые габариты конденсатора.
В качестве материала пластин ротора была выбрана керамика с достаточно высоким значением диэлектрической проницаемости (23,5), чтобы уменьшить габаритные размеры. Ось ротора и статор будем делать из одного материала, ТКЕ которого должно быть как можно ближе по своему значению к ТКЕ керамики, чтобы улучшить общее ТКЕ конденсатора. Для керамики с ТКЕ равным 8*10-6
1/град был выбран ковар с ТКЕ 4,8*10-6
1/град.
Все предпринятые меры оправдали себя, и при проведении расчетов был определен температурный коэффициент емкости, который составил 75,3*10-6
1/град.
Для реализации прямоемкостной зависимости данного КПЕ выбираем полукруглую форму пластин.
Был рассчитан радиус пластины ротора – 8 мм.
Масса спроектированного конденсатора оставила 24,9 грамма.
СПИСОК ИСПОЛЬЗОВАНЫХ ИСТОЧНИКОВ
1. Волгов В.А. Детали и узлы РЭА – М.: Энергия. 1977.- 656с.
2. Устройства функциональной радиоэлектроники и электрорадиоэлементы: Конспект лекций. Часть 1 М.Н.Мальков, В.Н. Свитенко. – Харьков: ХИРЭ 1992. – 140с.
3. Свитенко В.Н. Электрорадиоэлементы.- М.: Высшая школа, 1987.
4. Рычина Т.А. Электрорадиоэлементы.- М.: Советское радио, 1976.
5. Радиокерамика под. ред. Богородицкого и Пасынкова. – М.-Л.: ГосЭнергоИздат, 1963.
6. Белинский В.Т. и др. Практическое пособие по учебному конструированию РЭА. – К.: Вища школа, 1992.
7. Дэммер Дж. В.А. и Норденберг Г. М. Конденсаторы постоянной и переменной емкости. – М.-Л.: ГосЭнергоИздат, 1963, 315 с.
|