Банк рефератов содержит более 364 тысяч рефератов, курсовых и дипломных работ, шпаргалок и докладов по различным дисциплинам: истории, психологии, экономике, менеджменту, философии, праву, экологии. А также изложения, сочинения по литературе, отчеты по практике, топики по английскому.
Полнотекстовый поиск
Всего работ:
364139
Теги названий
Разделы
Авиация и космонавтика (304)
Административное право (123)
Арбитражный процесс (23)
Архитектура (113)
Астрология (4)
Астрономия (4814)
Банковское дело (5227)
Безопасность жизнедеятельности (2616)
Биографии (3423)
Биология (4214)
Биология и химия (1518)
Биржевое дело (68)
Ботаника и сельское хоз-во (2836)
Бухгалтерский учет и аудит (8269)
Валютные отношения (50)
Ветеринария (50)
Военная кафедра (762)
ГДЗ (2)
География (5275)
Геодезия (30)
Геология (1222)
Геополитика (43)
Государство и право (20403)
Гражданское право и процесс (465)
Делопроизводство (19)
Деньги и кредит (108)
ЕГЭ (173)
Естествознание (96)
Журналистика (899)
ЗНО (54)
Зоология (34)
Издательское дело и полиграфия (476)
Инвестиции (106)
Иностранный язык (62791)
Информатика (3562)
Информатика, программирование (6444)
Исторические личности (2165)
История (21319)
История техники (766)
Кибернетика (64)
Коммуникации и связь (3145)
Компьютерные науки (60)
Косметология (17)
Краеведение и этнография (588)
Краткое содержание произведений (1000)
Криминалистика (106)
Криминология (48)
Криптология (3)
Кулинария (1167)
Культура и искусство (8485)
Культурология (537)
Литература : зарубежная (2044)
Литература и русский язык (11657)
Логика (532)
Логистика (21)
Маркетинг (7985)
Математика (3721)
Медицина, здоровье (10549)
Медицинские науки (88)
Международное публичное право (58)
Международное частное право (36)
Международные отношения (2257)
Менеджмент (12491)
Металлургия (91)
Москвоведение (797)
Музыка (1338)
Муниципальное право (24)
Налоги, налогообложение (214)
Наука и техника (1141)
Начертательная геометрия (3)
Оккультизм и уфология (8)
Остальные рефераты (21692)
Педагогика (7850)
Политология (3801)
Право (682)
Право, юриспруденция (2881)
Предпринимательство (475)
Прикладные науки (1)
Промышленность, производство (7100)
Психология (8692)
психология, педагогика (4121)
Радиоэлектроника (443)
Реклама (952)
Религия и мифология (2967)
Риторика (23)
Сексология (748)
Социология (4876)
Статистика (95)
Страхование (107)
Строительные науки (7)
Строительство (2004)
Схемотехника (15)
Таможенная система (663)
Теория государства и права (240)
Теория организации (39)
Теплотехника (25)
Технология (624)
Товароведение (16)
Транспорт (2652)
Трудовое право (136)
Туризм (90)
Уголовное право и процесс (406)
Управление (95)
Управленческие науки (24)
Физика (3462)
Физкультура и спорт (4482)
Философия (7216)
Финансовые науки (4592)
Финансы (5386)
Фотография (3)
Химия (2244)
Хозяйственное право (23)
Цифровые устройства (29)
Экологическое право (35)
Экология (4517)
Экономика (20644)
Экономико-математическое моделирование (666)
Экономическая география (119)
Экономическая теория (2573)
Этика (889)
Юриспруденция (288)
Языковедение (148)
Языкознание, филология (1140)

Дипломная работа: Паливо для карбюраторних двигунів. Підвищення октанового числа бензину

Название: Паливо для карбюраторних двигунів. Підвищення октанового числа бензину
Раздел: Рефераты по транспорту
Тип: дипломная работа Добавлен 19:51:48 09 марта 2010 Похожие работы
Просмотров: 443 Комментариев: 20 Оценило: 2 человек Средний балл: 5 Оценка: неизвестно     Скачать

Зміст

Вступ

1. Аналіз виробничо-економічної діяльності

1.1 Загальні відомості про господарство

1.2 Розміри підприємства, спеціалізація і ефективність сільськогосподарського виробництва

2. Мета і задачі дослідження

3. Теоретичні передумови

3.1 Загальні умови

3.2 Розробка технології отримання сумішного бензину

4. Методика експериментального дослідження

4.1 Розрахунок гідродинамічного диспергатора для отримання сумішного бензину

4.2 Методика проведення випробувань

4.3 Програма проведення випробувань

5. Результати досліджень

5.1 Оцінка впливу змішаного бензину на безвідмовність роботи двигуна

5.2 Оцінка впливу використання сумішного бензину на вміст шкідливих домішків у повітрі кабіни автомобіля

5.3 Оцінка впливу сумішного бензину на довготривалість роботи двигуна

5.4 Результати впливу величини напрацювання двигунів на сумішному бензині на технічний стан паливної апаратури

5.6 Результати проведених випробувань сумішного бензину

5.7 Результати досліджень впливу високооктанової кисневмісної добавки

6. Охорона праці

6.1 Загальні положення

6.2 Технічні заходи при роботі установки

7. Бізнес-план на виробництво сумішного бензину

7.1 Резюме

7.2 Характеристика розробки

7.3 Оцінка ринку збуту

7.4 Конкуренція

7.5 Стратегія маркетингу

7.6 План виробництва

7.7 Організаційний план

7.8 Оцінка ризику і страхування.

7.9 Фінансовий план

7.10 Стратегія фінансування

Висновки

Рекомендації

Література

Додатки

Реферат

Об’єктом дослідження в дипломній роботі є паливо для карбюраторних двигунів.

Метою проведення дослідів є збільшення октанового числа бензина підвищення екологічності. Дослідження на якісних характеристиках та вплив змішаного палива на роботу та надійність двигунів проводили на підконтрольній групі автомобілів у різних умовах. В результаті проведених дослідів встановлено, що використання змішаного палива не погіршує роботу двигунів, потужність двигунів збільшується на 2,5%, витрата палива зменшується до 3%, зменшується вихід шкідливих газів в атмосферу.

Первинне змішування бензину відбувається в дозаторі ежекторного типу, а потім кінцеве змішування в гідродинамічному кавітаторі.

Описане пристосування в умовах малих та великих агровиробництв. Впровадження запропонованої технології є доцільним і обґрунтованим, про свідчать розрахунки економічної ефективності.

Виконана робота містить: сторінок розрахунково-пояснювальної записки, таблиць, формул, та 6 аркушів графічної частини формату А-1.

Ключові слова: Бензин, обладнання, диспергування, готова продукція, високооктановий кисневовмісний домішок, кавітатор

Перелік умовних позначень

ас - швидкість розповсюдження звуку, м2 ;

h- змінна, яка в подальшому полі може бути відображена у тиску, Па;

T- температура, 0 С;

S- ентропія пневмозвукового тиску, Па;

х - об’єм в середині струї, м3 ;

U0 - середня швидкість струменя, м/с;

r- радіус сопла, град;

l- відстань від сопла до перешкод, мм;

ρ - щільність рідини, кг/м3 .;

Q- витрата рідини, л/хв;

Кчт - коефіцієнт частоти травматизму;

Р - кількість працівників, люд;

Н-5 - акт нещасного випадку.

Вступ

Матеріально-технічна база підприємств дозволяє впровадженню і використанню палива із вмістом високооктанової кисневовмісної добавки. Це дозволить забезпечити використання високоякісного палива автомобілями які працюють на карбюраторних двигунах.

Параметри які впливають на процес змішування: фізико-хімічні властивості компонентів, що змішуються: конструктивні параметри установки; тиск під яким відбувається процес диспергування суміші.

Різноманіття приведених параметрів що впливають на процес змішування, визначає необхідність роздільного і комплексного вивчення їх впливу на процес змішування.

В Україні знаходиться близько 90 спиртових заводів загальною потужністю 970 млн. л спирту в рік. Щорічна потреба внутрішнього ринку складає не більше 300 млн. л спирту, причому працює тільки половина заводів, які освоїли виробництво ВКД і готові виробляти більш ефективну збагачену добавку до палива - етил третбутиловий ефір без капітальних вкладів. В результаті втілення запропонованої технології Україна може вирішити декілька задач: екологічну - знизити кількість викидів шкідливих газів у атмосферу, економічну, соціальну.

1. Аналіз виробничо-економічної діяльності

1.1 Загальні відомості про господарство

ПСП "Україна" с. Кинашів розташоване в центральній частині Тульчинського району Вінницької області. Відповідно до схеми агрокліматичного районування України територія господарства "Україна" с. Кинашів належить до помірно-вологої теплої зони, яка характеризується помірно-континентальним кліматом.

Середньорічна температура повітря у межах агрокліматичного району складає 7,0…7,60 С абсолютна мінімальна температура від мінус 23,0 до мінус 26,00 С, абсолютна максимальна +32 0 С. останні заморозки бувають у квітні місяці.

За даними метеорологічної служби середньорічна сума опадів становить 485-519 мм, з яких близько 80% припадає на період вегетації рослин, він складає 100-205 днів. Кліматичні умови сприятливі для вирощування сільськогосподарських культур. Найбільші площі займають сірі (55%), темно-сірі (35%) та лісові ґрунти, в яких вміст гумусу становить 1,85-2,77%. За реакцією ґрунти поділяються на середньо кислі, слабо кислі та нейтральні. Площа сільськогосподарських угідь 2184 га. Середньорічна чисельність працівників 50 чоловік.

Підприємство складається з трьох садиб, які розташовані в селі Нестерварка, с. Мазурівка, с. Кинашів. Центральною садибою вважається с. Кинашів. Відстань до найближчої залізничної дороги 15 км, яка знаходиться в с. Журавлівка, де знаходиться Журавлівське хлібоприймальне підприємство. До найближчого цукрозаводу в смт Кирнасівка - 15 км де знаходиться ВАТ “Кирнасівський цукрозавод", до Тульчинського маслозаводу відстань складає 2 км.

Тривалість без морозного періоду складає: повітря - 205 днів, поверхні

ґрунту 164 дня. Температурні умови району в загальному є сприятливими для сільського господарства.

Природно-кліматичні умови дозволяють вирощувати більшість районованих сільськогосподарських культур.

Склад і структура земельних угідь дозволяє господарству ефективно розвивати свою виробничу діяльність.

Впровадження комплексної механізації сільськогосподарського виробництва, сучасних інтенсивних технологій вирощування сільськогосподарських культур, застосування передових технічних засобів в ПСП “Україна” сприяє ефективному використанню виробничих ресурсів і підвищенню потенціалу підприємства.

1.2 Розміри підприємства, спеціалізація і ефективність сільськогосподарського виробництва

Розміри сільськогосподарського підприємства характеризуються наступними основними показниками:

площа сільськогосподарських угідь;

чисельність робітників, зайнятих у виробництві;

середньорічна вартість основних виробничих фондів;

Розміри підприємства оцінюють по вартості валової і товарної продукції.

Основні показники, які характеризують розміри підприємства приведені в таблиці 1.1

Таблиця 1.1 Розміри сільськогосподарського підприємства та забезпеченість виробничими ресурсами

Показники 2004 р. 2005 р. 2006 р. 2006р. у% до 2004 р.
1 2 3 4 5

1. Площа с. г. угідь, га

у т. ч. рілля

2310,13

2291,93

2157,68

2157,68

2183,89

2183,89

094,54

095,29

2. Валова продукція, тис. грн. 1484,00 1040,30 1370,10 092,32
3. Середньорічна чисельність працівників, зайнятих в с. г. виробництві, чол. 0096 0068 0050 052,08

4. Середньорічна вартість основних виробничих фондів, тис. грн.

в т. ч. на 100 га с. г. угідь

на 1 середньорічного працівника, зайнятого в с. г. виробництві

2370,00

0102,59

0024,69

2190,40

0101,52

0032,21

2334,00

0106,87

0046,68

098,48

104,17

189,08

5. Всього енергетичних ресурсів, к. с.

в т. ч. на 100 га с. г. угідь

на 1 середньорічного працівника зайнятого в с. г. виробництві

5631,01

0243,75

0058,66

4638,00

0214,95

0068,21

4443,10

0203,45

0088,86

078,90

083,47

151,50

6. Наявність в господарстві, шт:

тракторів

комбайнів

автомобілів

0019

0006

0014

0017

0005

0012

0017

0003

0010

089,47

050,00

071,43

Аналізуючи дані таблиці 1.1 ми бачимо, що господарство відноситься до середніх за розміром. Площа ріллі у 2006 р. склала 2183,89 га. Валова продукція господарства з року в рік зменшується. Так, в 2004 році вона складала 1484 тис. грн., а в 2006 році 1370 тис. грн., тобто зменшилась на 8,7%. В господарстві зменшується забезпеченість виробничими ресурсами. Так, за аналізуємий період середньорічна вартість основних виробничих фондів зменшилась на 1,5%, енергетичні ресурси зменшились на 11,1%. В господарстві зменшується забезпеченість тракторами, комбайнами та автомобілями внаслідок їх фізичного зношування.


Таблиця 1.2 Вартість та структура товарної продукції сільськогосподарського підприємства

Показники 2004 р. 2005 р. 2006 р. В середньому в 2004-2006 рр.
Тис. грн % Тис. грн % Тис. грн % Тис. грн %

Рослинництво разом

у т. ч. зерно

насіння соняшника

цукровий буряк

інша продукція

1137,4

0930,9

0111,7

0040,0

0054,8

083,95

068,71

008,24

002,95

004,04

0919,5

0757,8

0076,4

0085,3

083,88

069,13

006,97

007,78

1100,4

0911,0

0170,6

0009,8

088,05

072,89

014,37

000,78

1052,43

0866,57

0122,57

0013,33

0049,97

085,31

070,25

009,94

001,08

004,05

Тваринництво разом

Скотарство всього

у т. ч.

м'ясо ВРХ

молоко

м’ясо свиней

інша продукція

Разом

Продукція промислової переробки, роботи і послуги на сторону

Всього по господарству

0177,4

0154,2

0118,3

0035,9

0009,1

0014,1

1314,8

0040,0

1354,8

013,09

011,38

008,73

002,65

000,67

001,04

097,05

002,95

100,00

0118,7

0104,8

0077,3

0027,5

0008,9

0005,0

1038,2

0058,0

1096,2

010,83

009,56

007,05

002,51

000,81

000,46

094,71

005,29

100,00

0073,5

0066,2

0052,9

0013,3

0003,0

0004,3

1173,9

0075,9

1249,8

005,88

005,30

004,23

001,06

000,24

000,34

093,93

006,07

100,00

0123, 20

0108,40

0082,83

0025,57

0007,00

0007,80

1175,63

0057,97

1233,6

009,99

008,79

006,71

002,07

000,57

000,63

095,30

004,70

100,00

Аналізуючи показники таблиці 1.2, видно, що в господарстві суттєвим чином змінюється його спеціалізація. Так в 2004 році питома вага продукції тваринництва в структурі виручки від реалізованої продукції складала 13,09%, а у 2006 році - 5,88%. Це зниження відбувається внаслідок збитковості галузі тваринництва. Тому можна зробити висновок, що господарство спеціалізується на виробництві зерна, з розвинутим виробництвом соняшнику і продукції скотарства. Висока питома вага зерна (72,89%) говорить про високий рівень спеціалізації господарства.

Рівень ефективності виробничо-господарської діяльності підприємства характеризується показниками використання сільськогосподарських земель, виробничих фондів, трудових ресурсів, а так саме рентабельність виробництва приведено в таблиці 1.3

Таблиця 1.3 Економічна ефективність виробництва

Показники Роки

2006 р. до

2004 р.

2004 р. 2005 р. 2006 р. (+; -) %
1. Вироблено валової продукції, всього, тис. грн 1484,00 1040,30 1370,10 -113,90 092,32
- у т. ч. на 100 га с. г. угідь, тис. грн 0064,24 0048,21 0052,74 -001,50 097,66
- на 100 грн вартості ОВФ, грн 0062,62 0047,49 0058,70 -003,91 093,75
- на 1 середньорічного робітника зайнятого в с. г. виробництві, тис. грн 0015,46 0015,30 0027,40 -011,94 177,26
2. Отримано прибутку (+), збитку (-), всього, грн -012,50 0016,70 0205,70 218, 20 Х
- в т. ч. на 100 га с. г. угідь тис. грн -000,54 0000,77 0009,42 009,96 Х

Рівень рентабельності (+), збитковості (-), всього,%

у т. ч.: рослинництва

тваринництва

000,91

00-8,16

039,31

0001,55

0016,17

053,12

0019,70

0034,94

052,88

020,61

026,78

13,57

Х

Х

Х

Аналізуючи дані таблиці 1.3 видно, що досліджує мий період господарство суттєвим чином підвищило економічну ефективність виробництва продукції. Так, на 77,26% збільшилось виробництво валової продукції на одного працівника, що говорить про кращій рівень організації праці і високу ефективність використання робочої сили. Завдяки скороченню галузі тваринництва господарство почало працювати прибутково. Так, в 2004 році господарство отримало 12,5 тис. грн. збитку, а вже в 2005 році господарство отримало 16,7 тис. грн. прибутку. В 2006 році розмір прибутку вже складав 205,7 тис. грн. при рівні рентабельності 19,7%.

2. Мета і задачі дослідження

Об'єктом дослідження є паливо для карбюраторних двигунів.

Метою проведених дослідів є збільшення октанового числа бензину та зменшення загазованості оточуючого середовища.

Для цього розроблена технологія та установка отримання сумішного палива в умовах агровиробництва. Розроблена технологія та установка дає можливість отримувати якісне паливо з використанням у процентному співвідношенні домішку до товарного палива. Для експериментальної перевірки отриманих результатів необхідно розробиш методику проведення сумішного палива на підконтрольній групі автомобілів.

Мета експлуатаційних випробувань підконтрольної групи автомобілів на дослідній партії сумішевого бензину і товарних бензинах:

порівняння фактичних експлуатаційних властивостей сумішевого і товарних бензинів в умовах реальної експлуатації автомобілів;

оцінка впливу сумішевого бензину на тягово-швидкісні та динамічні властивості, екологічні показники та паливну економічність автомобілів в умовах реальної експлуатації;

оцінка впливу сумішевого бензину на надійність та безвідмовність роботи двигунів та інших агрегатів і систем автомобілів в умовах реальної експлуатації;

оцінка впливу довгострокового напрацювання автомобілів на сумішевому бензині на ресурсні показники двигунів ті їх систем, а також на фізико-хімічні властивості моторної оливи;

оцінка впливу сумішевого бензину на екологічну безпеку роботи водіїв та перевезення пасажирів;

визначення відповідності вмісту шкідливих речовин у повітрі кабіни або пасажирського салону автомобіля вимогам чинних стандартів;

визначення особливостей експлуатації автомобілів на сумішевому бензині.

Програма експлуатаційних випробувань підконтрольної групи автомобілів містить:

визначення фактичних витрат палива автомобілями при виконанні транспортної роботи на сумішевому і товарних бензинах;

оцінка фактичних антидетонаційних властивостей сумішевого палива в умовах експлуатації;

оцінка впливу сумішевого бензину на пускові властивості автомобілів при різному температурному стані двигунів та різних метеорологічних умовах (температурі, вологості, тиску атмосферного повітря);

оцінка впливу сумішевого бензину на безвідмовність роботи двигунів при різному температурному стані двигуна та різних метеорологічних умовах;

оцінка впливу сумішевого бензину на стабільність регулювань паливної апаратури двигунів при різному температурному стані двигунів та різних метеорологічних умовах;

оцінка впливу сумішевого бензину на вміст шкідливих речовин у картерних газах двигуна;

оцінка впливу сумішевого бензину на вміст шкідливих речовин у повітрі кабіни (пасажирського салону) автомобіля;

оцінка впливу довгострокового напрацювання двигуна на сумішевому бензині на технічний стан циліндро-поршневої групи;

оцінка впливу довгострокового напрацювання двигуна на сумішевому бензині на технічний стан паливної апаратури, в тому числі гумотехнічних виробів, що входять до її складу;

оцінка впливу довгострокового напрацювання двигуна на сумішевому бензині на стабільність регулювань паливної системи;

оцінка впливу довгострокового напрацювання двигуна на сумішевому бензині на фізико-хімічні властивості моторної оливи;

визначення особливостей експлуатації автомобілів на сумішевому бензині;

облік і аналіз відмов у роботі автомобілів під час підконтрольної експлуатації, які можуть бути пов'язані із застосуванням сумішевого бензину;

визначення фізико-хімічних властивостей (у тому числі антидетонаційних властивостей за моторним методом ГОСТ 511 і за дослідним методом ГОСТ 8226) всіх зразків сумішевого бензину та більшості зразків товарною бензину, з застосуванням яких виконуються експлуатаційні випробування автомобілів;

визначення відповідності фізико-хімічних властивостей зразків сумішевого та товарного бензину вимогам ТУ У 00149943.501-98 "Бензини автомобільні з підвищеним кінцем кипіння" та ГОСТ 2048-77 (тільки товарних бензинів). [4]

3. Теоретичні передумови

3.1 Загальні умови

Гідродинамічні випромінювачі - пристрої, перетворюючи частину енергії руху рідини в енергію акустичних хвиль. Робота гідродинамічного випромінювача обумовлена на генеруванні збурення в рідинному середовищі у вигляді деякого поля швидкості і тиску при взаємодії русі рідини з нерухомим або рухомим перешкод відповідної форми і розмірів. Найбільш близько для розв’язання поставленої задачі підходить теорія Лейтхилла. [7] Ця теорія була узагальнена для розгляду ефектів твердих меж, як спокійних так і рухомих довільним шляхом, конвективного підсилення і рідинного екранування у турбулентному потоці, таких, як не однократності температури, бульбашки в рідинах і частинки пилу в газах. Обумовлення цих і багато інших аспектів можна знайти за формулами (3.1, 3.2, 3.3; 3.4, 3.5). Для того, щоб передбачити звукові поля, випромінювані не стаціонарною течією на великій відстані від області течії, потрібно вирішувати неоднорідні рівняння.

Формула Лейтхилла:

q = (3.1)

де ас - швидкість розповсюдження звуку, м/с

h- змінна, яка в подальшому полі може бути відображена у тиску, Па;

- швидкість розповсюдження рідини, м/с.

Існує багато способів вибору акустичних аналогів. Наприклад, запропонованих Пауеллом - формула (3.6), Хау - формула (3.7) і Рібнером -

формула (3.8) і мають відповідний вигляд:


q = , (3.2)

q =, (3.3)

q = , (3.4)

Tij = ρui uj + pij - ρσij (3.5)

де Tij - тендор квадрапольних напруг у швидкості , напругах pij і щільності ρ, кг/м3 .

L = ωΛu- Tgrads, (3.6)

де ω - завихрення, с-1

Т - температура, t0 C

S- ентропія пневмозвукового тиску, Дж.

Р (0) Рібнера задовольняє рівняння:

, (3.7)

Рівняння (3.2), (3.3), (3.4) представляють відповідні розподілення джерел у вигляді квадруполів, диполів і монополій. Крапковий мультиполь (або мультиполь із джерела, окремих масштабів l, менше випромінюючої хвилі λ) мають ефективність випромінювання і діаграму направленості, ідеального від індивідуальних простих джерел, із яких він складається і тоді ці підходи можуть бути домовлені і тільки тоді коли інтегральний ефект цього розподілення вирахуваний з використанням функції Гріна.

Робота вихрових випромінювачів засновано на виникненні автоколивань в струї при її взаємодії з перешкодами у вигляді основного клина або резонуючої порожнини. Струя, витікаючи з великою швидкістю із конусно-циліндричного або щілинного сопла, потрапляє на пластину з клиновидним кінцем, вчасна частота яких обчислюється по формулі (3.8).

f = , (3.8)

де L- коефіцієнт пропорційності, який залежить від способу закріплення пластини;

l- її довжина, м;

t- товщина, м;

E- модуль пружності, Па;

ρ- пружність матеріалу.

Спектр чередуючих коливань може знаходитися в інтервалі 0,4…40 кГц. А звуковий тиск у ближчій зоні може досягати 2…4,5 МПа при швидкості струї 20…25 м/с. частоту головної гармонії генеруючих коливань можна оцінити за допомогою формули:

, (3.9)

де х - об’єм в середині струї, м3 ;

Р0 - абсолютне значення тиску в середовищі, Па;

0 - товщина струї на виході із сопла, м;

Ρ - щільність рідини, кг/м3 ;

U0 - середня швидкість струменю у торця сопла, м/с;

r- радіус сопла, м;

l- відстань від сопла до перешкоди, м:


К = (3.10)

де γ - кут розширення струменю, град.

3.2 Розробка технології отримання сумішного бензину

В сопло під тиском 0,6….1,0 МПа надходить компонент грубої емульсії. В наслідку перетискання струї за вихідною кромкою сопла встановлюється вакуум, який дорівнює тиску насищення одного із компонентів змішування при даній температурі. Потік середовища закипає і створює гідродисперсну емульсію 5….10 мкм.

Отримана груба емульсія направляється у форкамеру, де формується у стійку вузьконаправлену струю, яка займає весь переріз форкамери.

При витіканні цієї струї в камеру змішування, в наслідок збільшення площі поперечного перерізу каналу, потік емульсії відривається від стінок і утворюється вільне витікання з вільною зовнішньою межею. Між стіною канала і межею струменя утворюється складний інтенсивний вихровий рух рідини. У вихровій зоні відбуваються високоякісні продольні імпульси тиску від 0 до 10 тис. атмосфер, які роздрібнюють частинки емульсії. [3]

Середня інтегральна величина тиску дорівнює тиску насиченого легко випарюючого компонента, за рахунок цього в зоні відриву струї утворюється газова фаза в результаті безперервного обліку по всій камері змішування утворюється гомогенний двофазний газорідинний потік.

При наступному русі потоку по камері змішування, швидкість його зменшується і тиск підвищується, при досягненні величини тиску, більшої чим тиск насичення при даній температурі суміші, яка знаходиться у дворазному стані, утворюється лавиностворююча конденсація газів. При цьому утворюється спектр коливань різної фізичної природи, в тому числі і ультразвукових, сприяючих розриву нових газових пузирків, які в свою чергу вибухають і народжують нові коливання, тобто спостерігається лавиноутворюючий процес вибуху газових бульбашок, що викликає міцне ультразвукове поле, стрибок конденсації супроводжується стрибком тиску і щільності.

При цій обробці емульсії на виході апарату являє однорідну монодисперсну з розміром частин 0,1…0,4 мкм.

Підвищення або зниження тиску за апаратом не буде відмічатися на продуктивності апарату. Це пояснюється надзвуковим режимом витікання емульсії, так як максимальна швидкість переміщень малих збурень у середовищі неможливо бути швидкості звуку у ній і переміщуватися у верх по потоку.

Гідродинамічне випромінювання перетворює частину енергії турбулентної затопленої струї рідини в енергію акустичних хвиль. Робота гідродинамічного випромінювача обумовлена на генеруванні збуджень в рідкому середовищі у вигляді деякого поля швидкостей і типів при взаємодії витікаючої з сопла струї з перешкодою відповідної форми і розмірів, або при примусовому перемінному витіканні струї. Ці збудження утворюють зворотну дію на основу струї у сопла, за рахунок встановлення автоколивального режиму. Механізм випромінювання звуку збудженнями може бути різним залежно від конструкції гідродинамічного випромінювача, яка принципово відрізняється від конструкції газоструйних випромінювачів для повітряного середовища, хоча гідродинамічні випромінювачі називають рідинними свистками. [7]

Гідродинамічний випромінювач за рахунок пульсації кавітаційної області, який створився між соплом і перешкодою. Основні елементи такого випромінювача являється конусно-циліндричне сопло і перешкода - відбивач і резонансна коливна система у вигляді стержнів або у вигляді циліндра із профрезерованими вздовж пазами. Кращими в енергетичному відношенні являються вгнуті відбивачі у вигляді лунки, яка забезпечує утворення кавітаційної області, вміст якої з відповідною частотою виштовхується із зони сопло-відбивач. Для збудження інтенсивних коливань необхідно відповідне співвідношення між діаметром лунки відбивача і діаметром сопла.

Пульсування кавітаційної області створюють змінні поля швидкостей та тиску, які збуджують в стержнях згинаючи коливання на їх власній частоті, що робить внесок у випромінювання, збільшує його інтенсивність. [7]

Диспергування ультразвукове тонке роздрібнення твердих речовин або рідин, тобто перехід речовини в дисперсний стан з утворенням поля під впливом ультразвукових коливань. [3] Диспергуванням називають роздрібнення твердих тіл в рідинному середовищі. Диспергування рідини в газах (повітрі) називають розпиленням, а диспергірування рідини в рідині емульсією. Ультразвукове диспергірування дозволяє отримати високодисперсну (середній розмір частинок мкм і частина мкм), однорідна і хімічно чиста суспензія.

Для утворення ультразвукового диспергірування необхідна кавітація. Роздрібнення речовини відбувається під дією ударних хвиль, виникаючих при захлопуванні кавітаційних полостів. Диспергірування починається при інтенсивності ультразвуку, перемішуючий деяке порогове значення. Величина якого складає декілька Вт/см2 і залежить від кавітаційної міцності рідини, а також від характеру і величини сили взаємодії між окремими частинами.

Кавітація яка утворюється в кавітаторі супроводжується утворенням в рідині пульсуючих бульбашок заповнених паром, газом або їх сумішшю [7]. Розрізняють акустичну кавітацію і гідродинамічну, у нашому випадку гідродинамічна, яка обумовлена сильним локальним пониженням тиску в рідині в наслідок великих швидкостей течії. Для ідеально чистої рідини імовірність спонтанного утворення бульбашок стає помітною лише при достатньо великих розтягуючи навантаженнях для води теоретична величина 1,5-108 Па.

Кавітація виникає в результаті втрати стійкості зародишів потрапляючи в область пониженого тиску в звуковій хвилі, і швидкого їх росту. Процес розширення бульбашок зародишів обумовлений рядом ефектів:

тиском газа і пару в бульбашці;

перевищуючи тиск навколишньої рідини;

дифузії газу в бульбашці із рідини;

випаровуванням рідини і збільшення ваги пари в бульбашці;

коагуляції зародишів.

При підвищенні звукового тиску бульбашка стискається і відбувається дифузія газу із бульбашки в рідину. Кількість продифундіровавшогося газу пропорційна площі поверхні бульбашці, яка в стадії розширення більша, ніж в стадії стиску. В силу повної компенсації дифузійних потоків не відбувається: маса газуё, заповнюючого бульбашку заповнена в бульбашці в процесі її розширення, перевищує масу газу, звільнившогося із бульбашки при її стиску, так, що в цілому за період кількості газу в бульбашці збільшується. Це явище називається випрямленою дифузією (спрямованою дифузією), це викликає ріст бульбашки в полі змішаного тиску.

При пульсувані парових бульбашок внаслідок неадіабатичності процесу зміни стану речовини в бульбашках виникає енергія, яка приводить до нагріву і випаровуванню рідини в бульбашку.

Динаміка кавітаційних бульбашок. Виникаючи у звуковому полі кавітаційної порожнини інтенсивно пульсують. Пульсації порожнин можуть супроводжуватися сильними змінними сферичними формами і навіть подрібненням бульбашок, пульсуючи, бульбашки рухаються поступово і інколи зливаються одна з одною.

Ступінь розвитку кавітації, характерний його протіканням і вплив може змінитися при варійовуванні газових в рідинні, гідростатичний тиск, що відкриває здатність керування кавітаційними явищами.

В кавітаційній області виникають міцні гідродинамічні збудження у вигляді сильних імпульсів стиску (мікроударних хвиль) і мікропотоків створившимися пульсуючими бульбашками. Крім того, захлопування бульбашок супроводжується сильним локальним розігрівом речовини, а також виділення газів які містять атмосферні і іонізовані компоненти. В результаті цього речовина в кавітаційній області підлягає інтенсивним впливам.

Якщо ступінь розвитку кавітації такий, що у випадку моменту часу виникає і захлопується велика кількість бульбашок, то вибух ними акустичного випромінювання проявляється у вигляді сильного шуму із суцільним спектром в порожнині від декількох сотень Гц до сотень і тисяч кГц. На фоні суцільного спектру кавітаційного шуму спостерігається окрема дискретна субгармонійна відражаюча частина спектру поля, яка викликає кавітацію.

4. Методика експериментального дослідження

1. Установка призначена для отримання сумішних бензинів в умовах АЗС, АТП, у середині господарства, сховищах, фермерських господарств.

2. Установка може працювати як у закритих приміщеннях, так і на відкритих територіях. Існує варіант пересувної установки на базі автомобіля.

Загальні технічні дані:

тиск рідини при вході у дозатор, 7,20 м. рід. ст.;

допустима вакуумметрична висота втягування дозатора, 6,0 м. рід. ст.;

загальна подача домішку дозатором при трубопроводі для її підводу 0 11/2’’, м3 /с 0,6·10-3 ;

тиск рідини через кавітатор 95,0 м. рід. ст;

об’ємна подача рідини через кавітатор при трубопроводі 0 11/2’’, м3 /с 6,2·10-3 ;

режим працювання, безперервний;

вага дозатора, 12 кг;

вага кавітатора, 15 кг;

габаритні розміри дозатора, 95х183 мм;

габаритні розміри кавітатора, 164х190 мм;

з’єднання дозатора-ежектора насосом живлення здійснюється трубопроводом 021/2’’;

з’єднання дозатора із баком, який містить присадку, трубопроводом 011/2’’;

робоче положення кавітатора та дозатора горизонтальне.

Зміна продуктивності установки може досягтись завдяки додатково встановлених кавітаторів, паралельно підключених та двох розподільних баків. Будова установки.


Рисунок 4.1 Схема установки для приготування сумішевих бензинів

Установка для отримання сумішного бензину складається з двох баків 1, 2 для присадки та низько октанового бензину, насосу живлення 5, електродвигуна 3, муфти 4, дозатора ежекторного типу 9, гідродинамічного кавітатора 10, запірних кранів 6, 7, 12, 14, манометра 8,13 та ємкості для готової продукції 11.

Дозатор ежекторного типу, в якому рідина перемішується із зовнішнім потоком низькооктанового бензину.

Він складається: з корпусу1, сопла 3, розширювача 5, регулювальної гайки 2, штуцера 4. (рис.4.1)

Рисунок 4.1 Дозатор ежекторного типу

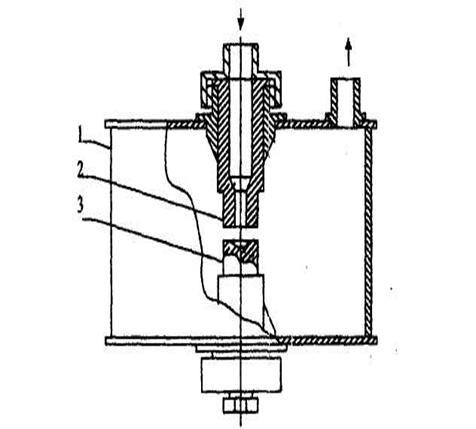
Кавітатор призначений для кінцевого змішування та диспергування рідинних присадок (ВКД). Конструкція кавітатора показана на рис.4.2

Кавітатор складається: корпус 1, в якому сосно розміщені сопло2. відбивач 3.

Відхилення вісі сопла від вісі відбивача не повинно перевищувати 0,05 мм.

Рисунок 4.2 Гідродинамічний кавітатор

Робота установки.

Низько октановий бензин з бака 2 за допомогою насоса 5 подається в магістраль α при відкритому 6,7,14, краном 6 регулюється необхідний тиск в магістралі α, сировина поступає в дозатор ежекторного типу, який встроєний в нагнітаючу магістраль α, проходячи через сопло 3 (мал.4.1) ввернуто в корпус 1 в зоні А між соплом і розширювачем 5, створюється розрідження в зв’язку з цим з ємкості 1 (лист 2) при відкритому крані 14 дозується ВКД, змішавшись в зоні А суміш бензину ВКД потрапляє через трубопровід до гідродинамічного кавітатора 10, рис. (4.2).

В кавітаторі під дією ультразвукових коливань проходить кінцева змішування компонентів (бензину та ВКД). Далі готовий продукт виходить до ємкості 11.

4.1 Розрахунок гідродинамічного диспергатора для отримання сумішного бензину

Результати модернізації:

витрата рідини Q = 30 л/хв (в СUQ = 30/6000 = 5,0·10-4 м3 /с);

тиск на вході Р = 15 атм. (в СU Р = 1,5 МПа).

Приводимо розрахунок диаметра сопла, мм:

d = , (3.11)

де ρ - щільність рідини, кг/м3 ;

φ - коефіцієнт витікання = 0,85.

d = ,

Довжина циліндричної частини сопла, мм

l = 5.4·d, (3.12)

l = 5.4·3,5 = 19 мм

Довжина кінцевої частини сопла, мм

l1 ≈ l, (3.13)

Вхідний діаметр конуса, мм [6]

d1 = 1,27·d1 (3.14)

d1 = 1,27·35 = 4,5 мм

Діаметр відбиваючої лунки [6], мм

D = 2·d1 (3.15)

D = 2·3,5 = 7 мм.

Як показано в [5] оптимальний профіль лунки близький до сегменту сфери, причому кут виходу струменя L = 350 …. .400 . з цих міркувань розрахунок глибини і радіус заокруглення лунки буде розраховуватися, мм.

R = , (3.16)

R =

Глибина заокруглення буде розраховуватися, мм

h = R (1-cos α), (3.17)

h = 7 (1-cos 400 ) = 7 (1 - 0,77) = 1,6 мм

Для стійкого звукоутворення потрібно об’єм робочої камери і яка розраховується за формулою [6], м3

Vм = 50000·d3 , (3.18)

Vм = 50000· (3,5·10-3 ) 3 = 0,002 м3


Конструкція випромінювача повинна задовольняти соосність сопла і відбивача у межах 0,02 мм, регулювання зазору L повинно проводитися у межах від 2 до 3 мм.

Частоту коливань, проводимо розрахунок за емпіричною формулою [4], кГц;

f = 3,3/d, (3.19)

f = 3,3/3,5 = 0,94 кГц

Рисунок 4.3 Гідродинамічний диспергатор

4.2 Методика проведення випробувань

При проведенні експлуатаційних випробувань визначають фізико-хімічні характеристики (в тому числі антидетонаційні властивості по двигунному методу ГОСТ511 і по досліджуваному методу ГОСТ 8226) всіх сортів змішаного бензину і більшого числа сортів товарного бензину, використання яких проводять випробовування автомобілів. При цьому визначають фізико-хімічні характеристики зразків змішаного і товарного бензинів згідно технічних умов ТУУ00149943.801-98. бензини автомобільні з підвищеним кінцем кипіння і ГОСТ2048-77 (тільки для товарних бензинів).

Фізико-хімічна характеристика сортів змішаного і товарного бензину А-80 і А-92 визначається стандартними методами згідно вимог ТУУ001149943.501-98 і ГОСТ2048.

Антидетонаційні властивості сортів змішаного і товарного бензину визначається з використанням аналізатора детонаційної стійкості бензину розробленого Державтотранстгідропроект і атестованого УКРЦСМ. Зміна детонаційної стійкості сортів палива використовується безмоторною установкою згідно методам ГОСТ511: ГОСТ8336 (по моторним і досліджувальним методами). Результати визначаються фізико-хімічними і антидетонаційними властивостями сортів змішаного і товарного бензинів А-80 і А-92 заносять в таблицю.

В процесі експлуатаційних випробувань періодично (через 2000 км пробігу) проводиться аналіз моторних мастил.

Аналіз моторних мастил проводять згідно стандартної методики спеціальної методики згідно з УКРНРИНП "Масла".

Перед кожним контрольним стендовим випробуванням автомобіля вимірюється компресія в циліндрах двигуна з використанням компреси метру 0-324 послідовно з 1-го по останній циліндр. Вимірювання в кожному циліндрі проводять 3 рази. Якщо відповіді вимірювань мають різницю більшу як ±0,02 МПа вимірювання повторяють.

За результати вимірювань застосовуються середньо арифметичне трьох вимірів, округленого до 0,01 МПа. Компресія визначається на холодному і гарячому двигуні при чіткому дотримані температури двигуна по температурі охолодженої рідини і моторного мастила при кожному наступному випробувані. [4]

Контрольні стендові випробування автомобілів при роботі на змішаному і товарному бензині проводять на стенді діагностики тягових характеристик автомобілів методом 4819. при цьому визначають тягові динамічні і економічні показники автомобілів. Тягові показники оцінюються по силі тяги на колесах на бігових барабанах стенда, Рк [кН]. Динамічні показники по часу розгону автомобіля Трозг, [с], від 40 до 70 км/час. Економічні показники по концентрації ВГ моноокису вуглецю СО%, і вуглеводів Сш Нn. В режимах максимального навантаження при швидкості автомобілів ЗИЛ-431410 Vа - 50км/год і ГАЗ-2410 Vа = 60км/год, визначається:

максимальна сила тяги Рк, кН;

рівень концентрації СО% Сш Нn.

Такі самі показники визначаються (крім Рк) в режимах часткового завантаження при Vа = 60км/год і Рк = 1,0 кН ЗИЛ - 431410, Рк = 0,4 кН ГАЗ-2410.

В режимах холостого ходу двигуна визначається концентрація СО% Сш НnРРТ в ШГ. При цьому визначається відповідні економічні показники вимогам ГОСТ12203-87.

Визначення переліку (вмісту) шкідливих речовин визначаються при регулювальній системі запалювання, які відповідають роботі змішаному і товарному бензину А-80 (ЗИЛ-431410) і А-92 (ГАЗ-2410).

Оцінка фактичних антидетонаційних характеристик змішаного бензину в умовах експлуатації, вплив змішаного палива на пускові характеристики автомобіля, безвідмовність роботи двигуна, стабільність регулювань паливної апаратури, технічний стан паливної апаратури, в тому числі гумово-технічних виробів, які входять до складу, проводиться по методам лабораторії ДЕЕЕПі СВ при проведені контрольно стендових випробувань автомобілів, а також при контрольних виїздах і шляхом статистичної обробки форм обліку роботи автомобілів, які повинні бути розроблені робочою групою.

Визначення фактичних затрат палива автомобілями підконтрольної групи при виконанні транспортних робіт на змішаному і товарному бензині виконується шляхом статистичного обробітку форм обліку роботи автомобілів, використання паливно-мастильних матеріалів і виконанні транспортних робіт.

Оцінка і аналіз відмов в роботі автомобілів, які можуть бути визвані використанням змішаного бензину, ведеться по формі, які повинні бути розроблені робітничою групою.

Оцінка впливу змішаного бензину на перелік шкідливих речовин в салоні водія або в пасажирському салоні автомобіля і визначення відповідно переліку шкідливих речовин вимогам діючих стандартам Міністерства охорони здоров’я України.

По аналізам результатів експлуатаційних випробувань підконтрольної групи автомобілів з використанням експериментальної групи змішаного бензину і товарних бензинів робляться висновки і пропозиції про можливості використання змішаного бензину для автомобілів замість товарних бензинів А-80 і А-92. [4]

Сорти палива:

змішаний високооктановий бензин згідно ТУУ00149943 501-98 "Бензини автомобільні з підвищеним кінцем закіпання", який містить 92% товарного бензину А-80 і 8% високооктанового кисневовмісного домішку (ВКД) згідно ТУУ18.475-98;

змішаний низько октановий бензин згідно ТУУ00149943,501-98 "Бензини автомобільні з підвищеним кінцем закіпання", який містить 50% товарного бензину А-80, 42% стабільного бензину (із газоконденсату) і 8% високооктанового кисневовмісного домішку (ВКД) згідно ТУУ18,475-98;

товарний бензин А-80 і А-92 згідно ГОСТ 2084-77 і ТУУ00149943.501-98 "Бензини автомобільні з підвищеним кінцем закіпання".

4.3 Програма проведення випробувань

Програма експлуатаційних випробувань підконтрольної групи автомобілів входить:

визначення фактичних затрат палива автомобілями при виконання транспортних робіт на змішаному і товарному бензинах;

оцінка фактичних антидетонаційних характеристик змішаного палива в умовах експлуатації;

оцінка впливу змішаного бензину на пускові якості автомобілів при різному температурному становищі двигунів і різних метеорологічних умов (температура, волога, тиск);

оцінка впливу змішаного бензину на безпечність роботи двигунів при різних температурних становищах двигуна і різних метеорологічних умов;

оцінка впливу змішаного бензину на безпечність роботи двигунів при різних температурних становищах двигуна і різних метеорологічних умов;

оцінка впливу на стабільність регулювань паливної системи двигуна при різних температурних станах двигунів;

оцінка впливу змішаного бензину на утримання шкідливих речовин в картерах двигунів;

оцінка впливу змішаного бензину на вміст шкідливих речовин в повітрі салону автомобіля;

оцінка впливу довготривалого напрацювання двигуна на змішаному бензині на технічний стан циліндрично-поршньової групи;

оцінка впливу довготривалого напрацювання двигуна на змішаному бензині на фізико-хімічні умови моторного масла.

Стендові випробування автомобілів проводять на стенді діагностики тягових характеристик автомобілів мод.4819. стенд вимірює силу тяги на колесах на бігучих барабанах Рк [кН], час розгону Трозг [с] від 40 км/год до 70 км/год.

Концентрація окису вуглецю СО% і легких Сш НnРРТ в ШГ визначається газоаналізатором "JKEX-201" (Японія) способом інфрачервоної спектроскопії.

Компресія двигуна вимірюється компресометром О-224.

Похибки вимірювань показників:

швидкість, Va = ±2,0% (головна приведена);

сила тяги на колесах, Рк = ±2,0%;

час розбігу, Т = ±0,1с;

концентрація СО в ШГ ±3,0%;

концентрація СшНп (л) в ШГ ± 3,0%;

температура ШГ±1,00 С;

компресія ± 0,025 МПа;

температура повітря ± 100 С;

температура масла ± 100 С;

температура палива ± 100 С;

барометричний тиск ± 200Па;

тиск масла ± 20кПа.

Основні характеристики аналізатора детонаційної стійкості бензину:

повторний результат виміру не менше 0,5 октанове число;

діагностика вимірювання октанового числа 50…110 одиниць.

Данні похибки вимірювань показників використовуємо у дослідженнях.

5. Результати досліджень

Для випробувань було взято бензин марок: А-80, А-92, АИ-93, А-95, А-98 по ГОСТ 2084-77 ТУУ00149943.501-98.

Опитні партії які отримали в промислових умовах, шляхом змішування бензинових фракцій, стабільного бензину, товарного бензину, (ВКД) по ТУУ18475-98. Приготування бензину по затвердженій технології і пройшла сертифікацію в системі Укр. Се. Про.

Підконтрольна група автомобілів випробувалась у відповідності до вимог Програмного методу випробувань.

Таблиця 5.1 Склад підконтрольної групи автомобілів

Марка автомобіля Рік випуску, [рік]

Вага автомобіля,

[кг]

Об’єм двигуна, [см3 ] Головний вид експлуатації Марка палива
ЗИЛ-131 1983 9500 6000

Паливо

заправник

А-80см

А-80

ГАЗ-5312 1968 9600 4250

Паливо

заправник

А-80см

А-80

ГАЗ-3307 1992 7400 4250 Платформа

А-80см

А-80

ГАЗ-2410 1990 1320 2445 Легковий

А-92см

АИ-93

ГАЗ-3102 1990 1370 2450 Легковий

А-92см

АИ-93

ВАЗ-2107 1991 1030 1458 Легковий

А-92см

АИ-93

ВАЗ-21061 1992 1046 1569 Легковий

А-92см

АИ-93

AUDI 1993 1400 1900 Легковий

А-95см

А-98

Використання підконтрольної групи автомобілів були проведені в умовах експлуатації відповідних категорій №ІІ відповідно ГОСТу 216224-76.

Динамічні характеристики визначалися на тормозних стендах, мод.4819, витікання картерних газів на стенді ELKOU 300SD. Стендові перевірки проводилися через кожні 2500 км пробігу. Результати експлуатаційних випробувань підконтрольної групи автомобілів наведені в додатку А.

Витрата експериментального палива в середньому складає економія 3% при низьких і середніх навантаженнях і 1,5…2,0% при високих навантаженнях.

Під час експлуатаційних випробувань, стендові перевірки технічного стану автомобілів підвищення температури охолоджуваної рідини і масла в двигунах більше, до 80…950 С не спостерігалась. Була відсутність різких металевих ударів і підвищення рівня шума вихлопів газів. Контроль виникнення детонації при стендовій перевірці двигуна проводилася шляхом встановлення пєзокерамічних датчиків із зворотнім зв’язком на свічі запалювання. При цьому було встановлено що двигуни працюють стабільно при зменшені кута випередження запалювання на 0,5…1,50 С порівняно з номінальною.

За період проведення випробувань автомобілів на змішаному паливі виявлені властивості:

пуск двигунів як вантажних так і легкових автомобілів при температурі навколишнього середовища 10…300 С не затруднений оскільки число спроб склали 1…2 протягом 10…20 с.

вплив зміни атмосферного тиску в межах від 740 до 770 мм. рт. ст. і вологості в діапазоні 80…95% на пускові якості автомобілів відсутній.

5 .1 Оцінка впливу змішаного бензину на безвідмовність роботи двигуна

За термін проведення випробувань на змішаному бензині середньоарифметичних параметрів двигуна підконтрольної групи автомобілів склав близько 16041 км. Загальне число відказів за період випробувань по всій групі автомобілів досягла 7 разів.

Проведений аналіз відказів розглянуто в таблиці 5.3. вплив змішаного бензину на безвідмовність двигунів при їх роботі в різних температурах у порівнянні експлуатації двигунів на товарних бензинах в аналогічних умовах на значне.

Таблиця 5.2 Відкази і несправності двигунів виявлені при випробуваннях автомобілів на змішаному бензині.

Марка автомобіля Назви відказів Причина відказів Пробіг з початку випробувань Система автомобіля Спосіб усунення
1 2 3 4 5 6
ЗИЛ - 130 Підвищений тиск масла Несправність редукційного клапана 7830 Система мащення Перевірка і заміна пружини
ГАЗ - 5312 Підвищена витрата палива Втрата герметичності клапана подачі палива 15856 Система мащення Заміна ущільнюючого елемента
ГАЗ - 3307 Перебої у роботі двигуна Окислення контактів преривателя 10005 Система запалення Зачистка контактів
ВАЗ - 2107 Недостатній тиск масла, шум розподільчого вала Спрацювання підшипників розподільчого вала 12560 Система мащення газорозподільчого механізму Заміна підшипників газорозподільчого вала
ВАЗ - 21061 Двигун не розвиває потужності Несправний прискорюючий насос 15720 Система живлення Заміна прискорю-ючого насоса
ГАЗ - 2410 Двигун не розвиває потужності Спрацювання підшипників преривателя 12500 Система запалення Заміна підшипників
ГАЗ - 3102 Двигун нерівномірно працює на високих обертах Великий розмір між контактами преривателя 15300 Система живлення Регулювання розмірів

Викиди картерних газів складають СО - 0,04%….0,32%. Таким чином, використання змішаного бензину приводить до незначного зменшення викидів СмНп і NOх при практичних незмінних викидах СО, у порівнянні з товарними бензинами.

5.2 Оцінка впливу використання сумішного бензину на вміст шкідливих домішків у повітрі кабіни автомобіля

Зміст шкідливих домішків у повітрі салону і кабіні автомобіля у середньому складав:

окису вуглецю (СО) - 1…2 мг/м3

вуглеводів (СмНп) - 0,5…1 мг/м3

окису азоту (NOх )

Цей показник співставлений і є декілька нижчим по вмісту шкідливих домі шків у кабіні і салоні автомобілів, працюючих на товарних бензинах.

5.3 Оцінка впливу сумішного бензину на довготривалість роботи двигуна

Оцінка проводилася на зменшеній компресії і величині витікання картерних газів, дані (за даними проблемної лабораторії Мінпромполітики України) занесені в таблицю 5.3.

За час випробувань компресія по всій групі знизилась у середньому на 3,8% у діапазоні від 3% до 5%, а витікання картерних газів підвищилося у середньому на 6% в діапазоні від 5,4% до 7,2%. Ці дані в середньому відповідають параметрам спрацювання циліндро-поршньової групи двигунів, працюючих на товарних бензинах.


Таблиця 5.3 Результати досліджень технічного стану циліндро-поршньової групи двигунів

Параметри Марки автомобілів
ЗИЛ-131 ГАЗ-5312 ГАЗ-3307 ВАЗ-2107 ВАЗ-21061 ГАЗ-2410 ГАЗ-3302 AUDI
Компресія [кгс/см2 ] До випробувань 07,50 08,50 08,45 12,05 08,35 08,42 12,00 14,00
Після випробувань 07,56 08,26 08, 20 11,55 08,00 08,00 11,30 13,00
Величина витікання картерних газів, % До випробувань ВМТ 17,50 18,50 18,50 19,50 19,50 18,50 18,00 18,00
НМТ 04,50 04,00 04,00 04,50 04,50 04,00 04,00 03,00
Після випробувань ВМТ 18,50 20,00 21,00 21,00 21,50 22,00 20,00 19,00
НМТ 05,50 06,50 06,00 06,00 06,50 06,50 05,00 04,00

5.4 Результати впливу величини напрацювання двигунів на сумішному бензині на технічний стан паливної апаратури

Відмови паливної апаратури підконтрольної групи автомобілів не спостерігалися. Стан гумових виробів не змінився за період випробувань.

Під час випробувань не було відмічено порушення регулювань паливної апаратури.

5.5 Оцінка впливу використання сумішного бензину на фізико-хімічний стан мастила

Заміна картерного масла в двигунах виконувалася: у вантажних автомобілях через 6000 км, у легкових через 9000 км, AUDI- через 16000 км пробігу.

У таблиці 5.4 наведені дані (за даними проблемної лабораторії Мінпромполітики України) про хімічний стан картерних масел автомобілів, працюючих на сумішному і товарному бензинах.

Таблиця 5.4 Фізико-хімічні показники моторних мастил

Показники Змішані бензини Товарні бензини
До випробувань Після випробувань До випробувань Після випробувань
Кінематична в’язкість, ССТ при 1000 С 010,000 011,50 010,000 011,400
Вміст механічних домі- шків,% 000,006 000,54 000,006 000,560
Вміст води,% сліди 000,03 сліди 000,036
Температура спалаху у відкритому тислі, 0 С 200,000 177,00 200,000 180,000
Лужність, мгкон/г 005,600 - 005,500 -
Кислотність, мгкон/г - 000,14 - 000,120

Із таблиці видно, що фізико-хімічний склад масла практично не відрізняється від масла двигун якого працював на товарному бензині.

5.6 Результати проведених випробувань сумішного бензину

У таблиці 5.5 наведені результати випробування зразків та співставлення на відповідність ТУ У00149943.501-98 для бензину марки А-92.

Таблиця 5.5 Результати проведених випробувань

Найменування показників Норма згідно з НД на продукцію Фактично одержані результати випробувань НТ на метод випробувань
1 2 3 4

1. Детонаційна стійкість:

октанове число за дослідним методом

0≥92,0 093,1 ГОСТ 8226
- октанове число за моторним методом 0≥82,0 085,0 ГОСТ 511 ГОСТ 2177-82
2. Фракційний склад: температура початку перегонки 0 С 0≥30,0 040,0
10% бензину переганяється при температурі 0 С, 0≤75,0 053,0
50% бензину переганяється при температурі 0 С ≤120,0 091,0
Кінець кипіння бензину, 0 С ≤215,0 200,0
Залишок в колбі,% 00≤1,5 000,8
Залишок та втрати,% 00≤4,0 001,5
3. Тиск насичених парів, кПа, 0≤79,9 060,2 ГОСТ 1756-52
4. Кількість, мг КОН на 100 мл бензину 00≤3,0 000,68

ГОСТ 5985-79 з доп. п.4.3

ГОСТ2084-85

5. Концентрація фактичних смол вмг на 100 см3 бензину:

на місці споживання

0010,0 004,3
6. Масова частка сірки,% 0≤00,05 000,05 ГОСТ19121-73
7. Випробування на мідній пластині Витримує Витримує ГОСТ 6321-69
8. Вміст водорозчинних кислот та лугів Відсутність Відсутність ГОСТ-6307-75 п.5.2 туу
9. Вміст механічних домі шків та води Відсутність Відсутність 00149943.501 98
10. Колір Безбарвний, блідо-жовтий Безбарвний, блідо-жовтий

п 5.2 туу

00149943.501 98

11. Густина при 200 С, кг/м3 Не нормується ≤746,0 ГОСТ 3900-85

Автомобільний сумішний бензин марки А-92 за контрольованими основними показниками якості відповідає вимогам ТУУ 00149943.501-98.

5.7 Результати досліджень впливу високооктанової кисневмісної добавки

Високооктанова кисневмісна добавка є домішком до основного палива. У таблиці 5.7 наведені показники, які характеризують його властивості.

Таблиця 5.6 Якісні характеристики високооктанової кисневовмісної добавки

Найменування сировини Номер Державного стандарту Показники якості, обов’язкові для перевірки Норма за ГОСТ, ОСТ, ТУ, СТП
1 2 3 4
Високооктанова кисневмісна добавка до бензинів ТУУ18.475-98 1. Зовнішній вигляд Прозора рідина без сторонніх домішок і без осаду
2. Густина при 2000 С, г/дм3 000≤00,790
3. Показник заломлення n20 000≥01,3613
4. Масова концентрація сухого залишку, мг/дм3 00≤010,0
5. Масова концентрація кислот в перерахунку на оцтову кислоту, мг/дм3 00≤020,0
6. Об’ємна частка води,% 000≤00,2
7. Вміст вищих спиртів, С3 - С5, мг/дм3 ≤12000
8. Об’ємна частка циклогексану,% 0000≤0,5

6. Охорона праці

6.1 Загальні положення

Охорона праці займає велике значення в сільськогосподарському виробництві. Кожний технологічний процес потребує великої уваги з додержанням правил безпеки, з метою запобігання нещасних випадків на виробництві.

Аналізуючи стан охорони праці в ПСП "Україна" зроблено висновки, що в даному господарстві дотримуються законодавчих актів з охорони праці, що видно у виконанні правових, технічних і санітарно-гігієнічних норм. Відповідальність за охорону праці покладено на керівництво, в майстернях-майстри, бригадах - бригадири і т.д. Щодо вимог безпеки при експлуатації електроустановок, котлових установок, та установок, які працюють під тиском, всі вони пройшли технічний огляд та допущені до експлуатації. Працівники, які працюють з даним устаткуванням мають відповідний допуск.

Керівництво розробляє і проводить заходи з охорони праці, а також контроль з додержанням трудового законодавства про режим робочого часу і часу відпочинку про охорону праці жінок та підлітків працюючих в господарстві.

Найбільш небезпечною ділянкою виробництва є будівельна бригада, де було зареєстровано два нещасних випадки, та машинно-тракторна бригада де було зареєстровано один нещасний випадок. Найбільш характерними порушеннями правил безпеки при вантажно-розвантажувальних роботах та переміщення вантажів.

В господарстві дотримуються вимог ДНАОП-4.03-93 "Положення про розслідування та облік нещасних випадків, отруєнь, гострих професійних

захворювань". Нещасний випадок в господарстві оформляють актом по формі Н-1 і реєструється в журналі, а також видається працівнику. В цю форму крім даних випадків також включають основні травматичні фактори та причини нещасного випадку. Всі нещасні випадки пов’язані з виробництвом і непов’язані зводять у форму 9-Т.

Основні показники виробничого травматизму показані у таблиці 6.1.

Таблиця 6.1 Основні показники виробничого травматизму

Показники Позначення Роки
2005 2006
1. Кількість працівників у господарстві Р 096 050
2. Кількість травм з втратою працездатності на 1 день і більше Т 002 003
3. Кількість днів непрацездатності втрачених в результаті нещасних випадків Д 038 054
4. Коефіцієнт частоти травматизму Кчт 019,2 031,2
5. Коефіцієнт важкості травматизму Квт 019 018
6. Коефіцієнт непрацездатності Кн 36,53 56,25

При розслідуванні кожного нещасного випадку складається слідча комісія. До її складу входять:

інженер з охорони праці господарства;

керівник структурного підрозділу;

керівник господарства;

представник профспілки;

представник фонду соціального страхування і при необхідності спеціаліст від служби санепідемстанції.

Комісія проводить розслідування протягом трьох днів, складається акт нещасного випадку за формою Н-5 у двох примірниках і акт про нещасний випадок на виробництві у формі Н-1 у шести примірниках.

6.2 Технічні заходи при роботі установки

В дипломному проекті основною операцією є технологічний процес, який включає в себе змішування товарного бензину з добавкою (високооктанова киснева добавка). Резервуари (баки) з товарним бензином знаходяться за межами споруди, а установка в приміщенні.

При даному технологічному процесі найголовнішими факторами, які можуть вплинути на здоров’я працівника та роботу агрегату, це - пари газу, робоча рідина (бензин та ВКД), які в разі втрати щільності або пошкодження обладнання, можуть утворитися в приміщенні де знаходиться установка та призвести до пожежі. Також одним з небезпечних факторів при роботі на даній установці являється електричний струм, який може заподіяти шкоду здоров’ю працівникам та обладнанню, яке встановлене в даному приміщенні.

Розроблені пропозиції щодо усунення цих факторів на працюючого:

обов’язково проводити планові та позапланові інструктажі з охорони праці;

проводити підвищення кваліфікації працівників з охорони праці;

суворо додержуватись вимог технологічного процесу, не використовувати несправне обладнання;

додержуватись та підвищувати трудову дисципліну;

дотримуватись санітарно-гігієнічних норм;

не допускати працівників, які знаходяться в алкогольному сп’яніні, а також ні в якому разі не палити.

Перед початком роботи, оператори які обслуговують установку повинні пройти медичний огляд, спеціальну підготовку. Не допускаються до роботи особи, яким не виповнилося 18 років і не мають відповідної кваліфікації.

Для забезпечення протипожежної безпеки і запобіганню отруєнню працівників, необхідно додержуватись таких правил безпеки:

приміщення повинне мати справну приточну та витяжну вентиляцію;

ділянка зберігання паливно-мастильних матеріалів повинна бути загороджена, знаходитись не менш як 10 м від споруд, або баки повинні знаходитися під землею;

ділянка повинна бути оснащена пожежним щитом;

все обладнання повинно бути пожежо-вибухобезпечним, вся апаратура, яка проводить електричний струм, резервуари з ПММ повинні бути заземлені;

відкриті механічні передачі, а також прилади, які нагріваються до високої температури повинні бути загороджені та ізольовані;

ремонтувати та обслуговувати електрообладнання дозволяється тільки при повному відключенні електромережі;

робота на установці дозволяється в чистому спеціальному одязі (незабрудненими нафтопродуктами);

очищення баків цистерн чи резервуарів дозволяється тільки після провітрювання і пропарювання;

слюсарний інструмент, совок, відро для очищення цистерн для запобігання утворенню іскри повинні бути обміднені.

Розрахунок забезпечення об’єкта первинними засобами пожежогасіння.

Первинні засоби пожежогасіння звичайно розташовують на спеціальних протипожежних щитах.

Пожежний щит встановлюють на території об’єкту з розрахунку один щит на площу 5000 м2 .

Наше господарство відноситься до категорії (А, Б, В) в кожній ділянці потрібно встановити один пожежний щит.

До комплексу протипожежного щита входить6

вогнегасники пінні ОХП-10х2 шт, порошкові ВП-10х1шт;

ящик з піском - 1 шт;

ковдра з негорючого матеріалу 2х2м - 1 шт;

багри - 3 шт;

лопати - 2 шт;

ломи - 2 шт;

сокири - 2 шт;

бак з водою - 1 шт.


6.3 Інструкція з охорони праці оператору установки для отримання сумішного палива

1. Загальні положення.

Оператор обслуговуючий установку повинен бути одягнений в спеціальний одяг, перед початком роботи пройти необхідний інструктаж.

Обладнання допускається до роботи в тому разі, якщо воно відповідає належному технічному стану та при цьому задовольняє стан здоров’я оператора.

2. Вимоги безпеки перед початком роботи.

Перевірити стан електрообладнання (всі з’єднані, надійно зажаті, обривів немає).

Підтікання рідини в місцях з’єднання не допускається.

Перевірити стан баків для бензину та ВКД.

3. Вимоги безпеки під час роботи.

Сторонні особи під час роботи установки не допускаються.

Забороняється змінювати тиск на різних ділянках агрегату, який при цьому буде перевищувати допустимі норми.

Під час роботи обладнання проводити заміну будь-яких комплектуючих забороняється.

Слід слідкувати за тиском на манометрах і не допускати його перевищення.

Приймати їжу, пити та палити на робочому місці заборонено.

Забороняється торкатися токоведучих проводів.

4. Вимоги безпеки після закінчення роботи.

після закінчення роботи вимкнути обладнання та вентиляцію.

Прибрати робоче місце.

Приготувати обладнання до наступної зміни.

Усунути несправності.

Скласти засоби індивідуального захисту у відповідне місце.

Прийняти душ.

Повідомити керівника про всі недоліки виявлені в процесі роботи.

5. Вимоги безпеки в аварійних ситуаціях.

Вразі будь-якої несправності (прориву трубопроводу чи розгерметизації ущільнення) оператор повинен негайно припинити роботу установки.

Вилитий нафтопродукт негайно засипати піском та вивезти, з установки усунути всі сліди нафтопродукту на провітрити приміщення.

При загорянні нафтопродукту негайно засипати місце загоряння піском та накрити вогнетривкою ковдрою, закрити доступ повітря. Тушити хімічно-пінним вогнегасником, ні в якому разі не дозволяти заливати водою.

Після усунення очагу згоряння приміщення провітрити.

Експлуатація установки після пожежі дозволяється проведення належного технічного огляду та усунення всіх несправностей.

В розділі охорони праці були розглянуті роботи, що виконуються по темі дипломного проекту, проведений аналіз небезпечних та шкідливих факторів, які можуть вплинути на здоров’я працівників та були внесені свої пропозиції, щодо поліпшення охорони праці при виконанні даних робіт персоналом. Розрахована кількість засобів пожежогасіння. При додержанні запропонованих правил безпеки даний процес змішування бензину в ПСП "Україна" Тульчинського району Вінницької області буде безпечним для задіяних працівників даного господарства.

7. Бізнес-план на виробництво сумішного бензину

7.1 Резюме

Матеріально-технічна база господарства дозволяє впровадити та використовувати паливо із вмістом високооктанової кисневовмісної добавки. Це дозволить забезпечити використання високоякісного палива автомобілями, які працюють на карбюраторних двигунах. Застосування даного технологічного процесу дозволяють зменшити викиди шкідливих речовини в навколишнє середовище, а також в зв’язку з зменшенням ресурсів нафтопродуктів більш економічно їх використовувати. Мета полягає в тому, щоб з низькооктанових бензинів отримувати високооктанові. При застуванні сумішного бензину, потужність двигуна збільшується на 2,5%, витрата палива зменшується до 3%, а також зменшується викиди шкідливих речовин в атмосферу, що показали результати випробовувань.

Даний товар буде реалізовуватись на АЗС, споживатись АТП та самим господарством. Щодо конкуренції в даному регіоні таких підприємств не існує. Показники, якості будуть використовуватись в рекламній кампанії.

Найбільш небезпечним ризиком є те, що буде знайдена більш економічна технологія.

Фінансування буде здійснюватися, як самим підприємством так і інвестором та кредитором, графік погашення кредиту наведений в табл.7.2.

Застосування установки дозволить господарству отримувати економічний ефект за рахунок зменшення затрат на сумішний бензин. Капітальні вкладення будуть складати 50000 грн., річний економічний ефект 53100,90 грн., строк окупності - 0,94 роки.

7.2 Характеристика розробки

Установка для отримання сумішного бензину буде впроваджуватись в господарство ПСП "Україна" в Вінницькій області

Цей товар користується великим попитом на ринку, з урахуванням цього установка може використовуватися не тільки в сільськогосподарських підприємствах але й в АТП та на АЗС. Впровадження установки для отримання сумішного бензину дасть змогу господарству відпрацювати технологію і з часом давати платні консультації іншим підприємствам по питанням впровадження цієї установки. Дана установка дає змогу отримати сумішний бензин з підвищеним октановим числом. Тобто з А-80 отримуємо А-92. Цей бензин буде екологічно чистішим та не буде поступатись до товарного. Процентне відношення товарного бензину до високооктанового кисневовмістного домішку складає А-80 - 92%, ВКД - 8%. Також зміною процентного відношення можна отримувати бензин з більшим октановим числом.

7.3 Оцінка ринку збуту

Установка буде впроваджуватись в власному господарстві, необхідну кількість виробленого товару буде споживати власне господарство, але головним ринком збуту виробленого товару будуть інші господарства, АТП, АЗС та приватні особи. З часом, господарство буде надавати послуги по встановленню, іншим господарствам, якщо це буде економічно вигідно.

Потенційними клієнтами є АТП 10135, АЗС "ТИТАН", АЗС " ТНК", АЗС "WOG", АЗС "АВИАС" з якими будуть складені договори на реалізацію, також паливо буде реалізовуватись на АЗС господарства.

Оцінивши ринок збуту, 1500 м3 реалізувати буде цілком реально.

7.4 Конкуренція

В даному регіоні конкурентно-спроможних підприємств не існує, тому в найближчий час конкуренції спостерігатися не буде.

Установка є ще новинкою на ринку. Конкурентами господарства будуть підприємства, які виробляють аналогічну продукцію або надають аналогічні послуги по виготовленню сумішних бензинів. Перевагами в конкурентній боротьбі будуть якість продукції і нижча собівартість.

7.5 Стратегія маркетингу

Як ми вже вказували, господарство буде в необхідній кількості споживати власну продукцію, тому буде потрібен ринок збуту. Продукцію, яку виробляє підприємство, реалізовується на ринку, тому саме для цієї продукції буде створюватись стратегія маркетингу. При цьому для кращого попиту буде запроваджена рекламна компанія в якій головну увагу будуть приділяти якості продукції. Рекламна кампанія включить в себе рекламу в газеті, на місцевому телебаченні та місцевій радіохвилі. Створення позитивного іміджу підприємства буде сприяти той факт, що робота працівників буде більш безпечна. Це дасть змогу підприємству запрошувати найкращих фахівців.

На реалізацію послуг по роботам в інших господарствах головна увага буде надаватись нижчій собівартості робіт на одиницю роботи.

7.6 План виробництва

План виробництва щодо отримання сумішного бензину буде здійснюватись залежності від обсягів ринку збуту. Тому господарство не відчує яких-небудь незручностей тому, що для своїх потреб завжди виробить

необхідну кількість палива. При впровадженні потрібно обов'язково підвищити кваліфікацію працівників працюючих з обладнанням.

При оцінці ринку збуту запланований обсяг палива складає 1500 м3 .

7.7 Організаційний план

Організація робіт буде здійснюватись на базі власного господарства кваліфікованими працівниками Монтаж обладнання буде проводитись у власній будівлі. Всі спеціалісти і матеріали є в достатній кількості.

7.8 Оцінка ризику і страхування.

При використанні установки для отримання сумішного бензину можуть виникнути такі види ризиків:

Ринковий ризик. Він пов'язаний з тим, що чи буде існувати ринок збуту (тобто попит) нашого товару і за темпами його росту, які будуть сприяти ризику нашого бізнесу. Цей ризик не існує, так як господарство буде реалізовувати паливо, на яке є постійний попит.

Ризик конкуренції підприємств. Він обумовлений можливістю наших конкурентів розробити нові технології, які будуть більш економічні, порівняно з нашими. Якщо в господарстві буде удосконалено чи впроваджено новий метод, то це піде лише користь господарства.

Зовнішній ризик. Він пов'язаний з тим, що хтось (уряд, профспілки, транспорт, партнер і т. ін) зупинить чи сповільнить роботу підприємства. Цей ризик теж не має свій

вплив, адже екологічні вимоги до продукції з року в рік будуть тільки збільшуватись.

Внутрішній ризик. Він визначається не достатністю персоналу, рівнем їх фаху для забезпечення нормального функціонування підприємств. Для запобігання впливу цього ризику в господарстві планують витрати на підвищення кваліфікації персоналу, використовують систему відбору кадрів, заохочують до навчання.

Ризик втрати майна. Виявляється можливістю втрати чи пошкодження майна (пожежа, крадіжка, стихійне лихо). На цей випадок в господарстві слід застрахувати майно.

Політичний ризик. Він пов'язаний з можливістю появи якої-небудь урядової постанови (закону), яка відповідає вузько-партійним інтересам окремих політичних партій і може суперечити успішному розвитку бізнесу. Цей ризик не має місця, адже виробників палива велика кількість, отже велика конкуренція.

Ресурсний ризик. Він обумовлений можливою відсутністю достатньої кількості власних ресурсів, ресурсів партнерів для повного завершення чи функціонування проекту. Наявні матеріально - технічна база та інше необхідне обладнання в господарстві дає змогу для запровадження цього обладнання.

7.9 Фінансовий план

Використання установки для отримання сумішних бензинів має велике економічне значення.

Таблиця 7.1 Розрахунок економічної ефективності та строку окупності впровадження даного обладнання. - будівлі

Показники Вартість

Відхилення

(+,-)

Закупівля 3 використанням установки
1 2 3 4
Обсяг палива, л 1500000,00 1500000,00 0,00
Продуктивність лінії за 1 годину, л 1800,00 1800,00
Трудомісткість на весь обсяг робіт, люд. - год. 833,33 833,33
Кількість обслуговуючого персоналу, грн.: 1,00 1,00
Витрати праці всього, люд-год.: 833,33 833,33
Тарифний розряд з оплати праці: 4,00 4,00
Годинна тарифна ставка, грн.: 4,44 4,44
Оплата праці по тарифу -всього, грн. .: 3700,00 3700,00
Витрати на оплату праці з нарахуваннями, грн. .: 5061,60 5061,60
Норма витрат електроенергії, кВт/год 7,50 7,50
Потреба електроенергії на весь обсяг робіт, кВт/год 6250,00 6250,00
Комплексна ціна електроенергії за 1 кВт, грн. 0,27 0,27
Витрати на електроенергію -всього, грн... 1687,50 1687,50
Потреба в бензині А-80 всього, л 1380000,00 1380000,00
Вартість 1л бензину, грн. /л. 4,58 4,58
Вартість бензину всього, грн... 6320400,00 6320400,00
Потреба в ВКД всього, л 120000,00 120000,00
Вартість 1л ВКД, грн... 5,90 5,90
Вартість ВКД всього, грн... 708000,00 708000,00
Балансова вартість всього, грн. .: 95000,00 95000,00
- будівлі 45000,00 45000,00
- обладнання 50000,00 50000,00
Нормативне навантаження на рік, год. 833,33 833,33
Норма амортизації,%
- будівлі 10,00 10,00
- обладнання 40,00 40,00
Сума амортизації всього, грн. 24500,00 24500,00
- будівлі 4500,00 4500,00
- обладнання 20000,00 20000,00
Норма витрат на поточний ремонт, технічне обслуговування та зберігання,%
- будівлі 5,00 5,00
- обладнання 20,00 20,00
Витрати на поточний ремонт, технічне обслуговування та зберігання всього, грн. 12250,00 12250,00
- будівлі 2250,00 2250,00
- обладнання 10000,00 10000,00
Всього прямих витрат, грн. 7071899,10 7071899,10
Витрати на організацію і управління, грн 150000,00 150000,00
Всього виробничих витрат, грн. 7275000,00 7221899,10 -53100,90
Собівартість 1л бензину А-92 грн. 4,85 4,81 -0,04
Капітальні вкладення, грн. Річний економічний ефект 50000,00 53100,90
Термін окупності, років 0,94

Отже, впровадження установки для отримання сумішного бензину дасть змогу господарству зменшити собівартість бензину. Загальний економічний ефект складе 53100,90 грн. Термін окупності обладнання складе 0,94.

7.10 Стратегія фінансування

Установка для отримання сумішного бензину буде впроваджена за короткий строк. Тому ми можемо розрахувати приблизну суму кредиту. Орієнтовно ця сума складе 50000.

Таблиця 7.2 Графік погашення кредиту

Період сплати Періодичність Сума основного боргу, грн До виплати, грн. Плата за кредит, грн. Разом до виплати, грн. Загальна економія
1 раз на рік 50000,00 10000,00 9000,00 19000,00 18563,40
2 раз на рік 40000,00 10000,00 7200,00 17200,00 18563,40
3 раз на рік 30000,00 10000,00 5400,00 15400,00 18563,40
4 раз на рік 20000,00 10000,00 3600,00 13600,00 18563,40
5 раз на рік 10000,00 10000,00 1800,00 11800,00 18563,40
Всього 50000,00 27000,00 77000,00 92817,00

Отже, строк окупності кредиту складе 5 років.

Висновки

В дипломній роботі представлена технологія отримання сумішного палива в умовах агровиробництва,

Розроблена технологія дає можливість отримувати якісне паливо з використанням у процентному співвідношенні домішку (ВКД) до товарного палива для використання у карбюраторних двигунах.

Проведені випробування сумішного палива на підконтрольній групі автомобілів при різних сезонах на різних режимах роботи двигуна. Встановлено, що використання палива із домішком (ВКД):

збільшує потужність двигуна на 2,5% і при цьому зменшується витрата палива до 3%;

викиди в атмосферу СО зменшується па 26,3%, СмНп - на 4,5%; NОх - на 5,7%;

надійний пуск двигуна при плюсовій температурі і нормальний при мінусовій температурі оточуючого середовища;

безвідмовність роботи двигуна не зменшується;

періодичність заміни моторного масла не зменшується, фізико-хімічні якості залишаються у межах норми.

Рекомендації

Рекомендується з метою виготовлення якісного палива чітко додержуватися процентного співвідношення домішку (ВКД) до товарного палива, що дає змогу отримувати паливо яке відповідає вимогам ТУУ 00149943.501-98.

Для досягнення однорідності суспензії, було проведено розрахунок гідродинамічного диспергатора, у розділі 4.1 "Розрахунок гідродинамічного диспергатора для отримання сумішного бензину".

Література

1. Андрійчук А.Г. “Економіка аграрних підприємств". - К. Вища школа 1996, 336 стор.

2. Б.Г. Анисимова "Выбор оптимальных условий для ультра звукового диспергирования суспензий", "Ультразвукова техніки" - М: Колос, 1965 - 351 с.

3. Б.А. Аграма, Ультразвуковая технология. - М., Метал, 1974, 152 с.

4. Бергман Л.П." Ультразвук и его применение в науке и технике". - М: Колос, 1957, 234 с.

5. Гуреев А.А., Гайенер Д.А. "Химия и технология топлив и масел", - М: Колос, 1967, 234 с.

6. Громыко Л.Г. "Статистический анализ в экономике". - М: МГУ, 1992, 256с.

7. Домников И.Ф. "Техническая диагностика машин". - М: Москв. рабочий, 1978 - 152 с.

8. Конфельд М.Н. "Упругость и прочность жидкостей". - М: Агропромиздат, 1951, 234 с.

9. .Л.Д. Ландау, Е.М. Лившиц - Гидродинамика, М., Наука. 1986, 4О9 с.

10. Назаренко А.Ф. Акустика и ультразвуковая техника, 1972, 367 с.

11. Перник А.Д. "Проблемы кавитации". - Л: Строймаш, 1966, 356 с.

12. Топилин Г.Е., УминскийС.М., Кедь И.А. “ Определение параметровгидродинамичного излучателя для аграрного оборудования” // Аграраний вісник Причорномор"я, збірник наукових праць. Вип.40. Одеса 2007, стор.92-96.

13. Топілін Г. Є., Умінський С.М., Сашко С.О., Мудраченко О.Л. “Синтез технології та розробка методики випробувань сумішного бензину" // Аграраний вісник Причорномор"я, збірник наукових праць. Вип.40. Одеса 2007, стор.129 - 135.

14. Топилин Г.Е. Малогабаритная установка для получения гидродинамически активной смеси.: Первая в Украине международная конференция "Энергия из биомассы", 2002, с.242-243.

15. Г. Топилин, Л. Талянкер (США): Биодизтопливо на основе рапсового масла: "Механизація і енергетика сільського господарства", 5 Ювілейна міжнародна науково-технічна конференція, Люблін-Одеса, 2005, с.23-26.

16. Фридман В.М. "Физико-химическое действие ультразвука на геторогенные процессы" - М: Колос, 1967, 475 с.

Додатки

СХЕМА УСТАНОВКИ ДЛЯ ПРИГОТУВАННЯ СУМІШЕВИХ БЕНЗИНІВ

1 - бак з бензином; 2 - бак з ВКД; 3 - електродвигун; 4 - муфта; 5 - насос; 6, 7, 8 - крани; 9 - ежектор; 10 - кавітатор; 11 - манометр.

СХЕМА ГІДРОДИНАМІЧНОГО ВИПРОМІНЮВАЧА

1 - корпус; 2 - сопло; 3 - відбивач; 4 - штуцер.

Додаток А

Результати проведених експлуатаційних випробувань

Марка автомобіля Пробіг автомобіля, км Витрати палива, л Витрати палива, л/100 км Контрольна втрата, л/100
сумарний По місту за містом Сумарний По місту За містом сумарний по місту за містом змішаний Товарн ий
1 2 3 4 5 6 7 8 9 10 11 12
1. ЗИЛ-131 16051 10112 5939 6896 4449 2447 42,96 44,00 41, 20 39,00 40,00
2. ГАЗ-5312 16016 09289 6727 5057 2982 2075 31,57 32,10 30,84 31,80 32,45
3. ГАЗ-3307 16072 09643 6429 5188 3163 2025 32,28 32,80 31,49 31,92 32,65
4. ГАЗ-2410 16030 09778 6252 1870 1233 0637 11,66 12,61 10,12 08,80 08,54
5. ГАЗ-3102 16012 10728 5284 1530 1094 0436 09,55 10, 20 08,25 08, 20 08,90
6. ВАЗ-21061 16016 09770 6246 1481 1014 0467 09,25 10,38 07,47 07,47 07,70
7. ВАЗ-2107 16050 09630 6420 1414 0953 0461 08,80 09,90 07,18 07,17 07,40
8. AUDI 16086 10456 5630 1629 1150 0479 10,18 11,00 08,50 08,00 08,10
Оценить/Добавить комментарий
Имя
Оценка
Комментарии:
Хватит париться. На сайте FAST-REFERAT.RU вам сделают любой реферат, курсовую или дипломную. Сам пользуюсь, и вам советую!
Никита17:24:43 02 ноября 2021
.
.17:24:42 02 ноября 2021
.
.17:24:41 02 ноября 2021
.
.17:24:41 02 ноября 2021
.
.17:24:40 02 ноября 2021

Смотреть все комментарии (20)
Работы, похожие на Дипломная работа: Паливо для карбюраторних двигунів. Підвищення октанового числа бензину

Назад
Меню
Главная
Рефераты
Благодарности
Опрос
Станете ли вы заказывать работу за деньги, если не найдете ее в Интернете?

Да, в любом случае.
Да, но только в случае крайней необходимости.
Возможно, в зависимости от цены.
Нет, напишу его сам.
Нет, забью.



Результаты(287966)
Комментарии (4159)
Copyright © 2005-2021 HEKIMA.RU [email protected] реклама на сайте