Банк рефератов содержит более 364 тысяч рефератов, курсовых и дипломных работ, шпаргалок и докладов по различным дисциплинам: истории, психологии, экономике, менеджменту, философии, праву, экологии. А также изложения, сочинения по литературе, отчеты по практике, топики по английскому.
Полнотекстовый поиск
Всего работ:
364139
Теги названий
Разделы
Авиация и космонавтика (304)
Административное право (123)
Арбитражный процесс (23)
Архитектура (113)
Астрология (4)
Астрономия (4814)
Банковское дело (5227)
Безопасность жизнедеятельности (2616)
Биографии (3423)
Биология (4214)
Биология и химия (1518)
Биржевое дело (68)
Ботаника и сельское хоз-во (2836)
Бухгалтерский учет и аудит (8269)
Валютные отношения (50)
Ветеринария (50)
Военная кафедра (762)
ГДЗ (2)
География (5275)
Геодезия (30)
Геология (1222)
Геополитика (43)
Государство и право (20403)
Гражданское право и процесс (465)
Делопроизводство (19)
Деньги и кредит (108)
ЕГЭ (173)
Естествознание (96)
Журналистика (899)
ЗНО (54)
Зоология (34)
Издательское дело и полиграфия (476)
Инвестиции (106)
Иностранный язык (62791)
Информатика (3562)
Информатика, программирование (6444)
Исторические личности (2165)
История (21319)
История техники (766)
Кибернетика (64)
Коммуникации и связь (3145)
Компьютерные науки (60)
Косметология (17)
Краеведение и этнография (588)
Краткое содержание произведений (1000)
Криминалистика (106)
Криминология (48)
Криптология (3)
Кулинария (1167)
Культура и искусство (8485)
Культурология (537)
Литература : зарубежная (2044)
Литература и русский язык (11657)
Логика (532)
Логистика (21)
Маркетинг (7985)
Математика (3721)
Медицина, здоровье (10549)
Медицинские науки (88)
Международное публичное право (58)
Международное частное право (36)
Международные отношения (2257)
Менеджмент (12491)
Металлургия (91)
Москвоведение (797)
Музыка (1338)
Муниципальное право (24)
Налоги, налогообложение (214)
Наука и техника (1141)
Начертательная геометрия (3)
Оккультизм и уфология (8)
Остальные рефераты (21692)
Педагогика (7850)
Политология (3801)
Право (682)
Право, юриспруденция (2881)
Предпринимательство (475)
Прикладные науки (1)
Промышленность, производство (7100)
Психология (8692)
психология, педагогика (4121)
Радиоэлектроника (443)
Реклама (952)
Религия и мифология (2967)
Риторика (23)
Сексология (748)
Социология (4876)
Статистика (95)
Страхование (107)
Строительные науки (7)
Строительство (2004)
Схемотехника (15)
Таможенная система (663)
Теория государства и права (240)
Теория организации (39)
Теплотехника (25)
Технология (624)
Товароведение (16)
Транспорт (2652)
Трудовое право (136)
Туризм (90)
Уголовное право и процесс (406)
Управление (95)
Управленческие науки (24)
Физика (3462)
Физкультура и спорт (4482)
Философия (7216)
Финансовые науки (4592)
Финансы (5386)
Фотография (3)
Химия (2244)
Хозяйственное право (23)
Цифровые устройства (29)
Экологическое право (35)
Экология (4517)
Экономика (20644)
Экономико-математическое моделирование (666)
Экономическая география (119)
Экономическая теория (2573)
Этика (889)
Юриспруденция (288)
Языковедение (148)
Языкознание, филология (1140)

Реферат: Принципы увязки диспетчерской централизации

Название: Принципы увязки диспетчерской централизации
Раздел: Рефераты по транспорту
Тип: реферат Добавлен 12:38:36 05 апреля 2009 Похожие работы
Просмотров: 881 Комментариев: 19 Оценило: 2 человек Средний балл: 5 Оценка: неизвестно     Скачать

1. Принципы увязки систем диспетчерской централизации с системами электрической централизации и автоблокировки

1.1 Особенности увязки контролируемых пунктов с системами электрической централизации

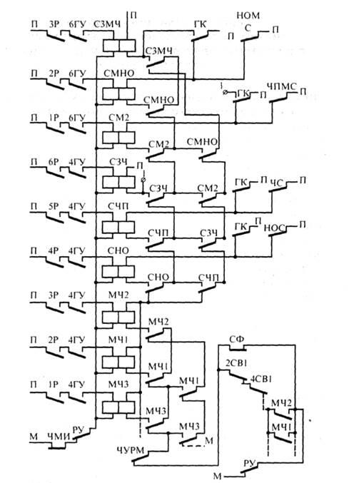
Как указывалось, станции, включаемые на диспетчерское управление, оборудуются устройствами электрической централизации. При увязке релейных систем ЭЦ и контролируемых пунктов систем ДЦ с "жесткой" (аппаратной) логикой элементной базой интерфейса являются реле. Особенность составляет импульсное включение реле дешифраторов (групповое управляющее ГУ и регистрирующее реле Р), что требует реализации дополнительных схем, обеспечивающих также согласование по времени функционирования различных алгоритмов управления объектами ЭЦ совместно с КП.

Например, предусматривается следующая последовательность установки поездных и маневровых маршрутов при диспетчерском управлении. При задании маршрута диспетчером на данную станцию поступает сигнал ТУ, который расшифровывается приемной аппаратурой, и срабатывают реле ГУ и Р. Приказы на перевод стрелок по маршруту и открытие сигнала приходят в одном сигнале ТУ. Так, при установке маршрута после поступления приказа на станцию в КП включаются реле ГУ и два реле Р (маршрута и открытия сигнала). Через их последовательно включенные контакты включаются управляющее маршрутное реле соответствующего пути четной или нечетной горловины станции (МЧ1, МЧ2. .) и управляющее сигнальное реле поездных или маневровых маршрутов четного и нечетного направлений (СЧП, СНО, СМНО и т.д.). При включении управляющих реле проверяется перевод станции на диспетчерское управление (РУ) и отсутствие местного управление стрелками (МИ).


Рис. Схема включения управляющих реле контролируемого пункта

Реле ГУ и Р включаются импульсно: время замыкания фронтовых контактов 150-200 мс, что недостаточно для срабатывания схем установки маршрутов, поэтому управляющие маршрутные и сигнальные реле имеют цепь самоблокировки. В этой цепи проверяется выключенное состояние аналогичных реле враждебных маршрутов, а фронтовым контактом реле ЧМИ - отсутствие местного управления стрелками. Цепь самоблокировки управляющих реле размыкается после перевода всех стрелок по маршруту (реле ГК под током) и срабатывания сигнального реле (реле С без тока), а при затянувшемся переводе стрелок - контактом реле НСС после выключения фрикционного реле СФ1.

При приеме приказа на закрытие сигнала (отмена маршрута диспетчером или установка маршрута без открытия сигнала) срабатывает реле СЗМН (СЗМЧ). При увязке с маршрутным набором релейной ЭЦ управляющие маршрутные и сигнальные реле включают специальную схему (коммутирующее устройство), которая обеспечивает последовательность срабатывания кнопочных реле начала, а затем с интервалом - конца маршрута. Схемы маршрутного набора не приходят в исходное состояние до открытия светофора, поэтому коммутирующим устройством также создается автоматическая задержка (до 0,5 мин) реализации поступившего на линейный пункт приказа.

В результате замыкания контактов наборных реле срабатывают соответствующие реле ПУ и МУ и устанавливают стрелки в заданное положение. После получения требуемого контроля положения стрелок включаются соответствующие реле ПК, МК и реле соответствия ГК.

Реле соответствия ГК предназначено для накопления уже установленных маршрутов. В этом случае из-за параллельного включения контактов реле С и ГК в цепи обмотки реле ГК его включение задерживается до закрытия светофора в первом маршруте.

Более просто выполнена увязка по реализации одиночных приказов. Для этого типа команд ТУ управляющие реле после включения самоблокируются до использования либо поступления приказа ТУ отмены.

При поступлении сигнала ТУ, содержащего приказ на передачу стрелок нечетной горловины на местное управление, после срабатывания реле ГУ, Р включается управляющее реле местного управления УРМ. Цепь его самоблокировки размыкается контактом исключающего реле МИ.

Схема включения реле разрешения отправления РОН1 (РОЧ1) (используется на станциях автономного управления для исключения отправлений поездов дежурным без согласия поездного диспетчера) реализована как повторитель управляющего реле РОН (РОЧ). Выключение реле РОН1 (РОЧ1) происходит при открытии сигнала после включения общего сигнального реле НОС (ЧОС). Однако для этого вида команд ТУ предусматриваются управляющие реле отмены. В рассматриваемом примере (рис.10.2) до тех пор, пока сигнал не открылся (реле ЧОС без тока), у диспетчера есть возможность отменить разрешение. Включаясь, реле ОРОЧ шунтирует обмотку реле РОЧ1, которое отпускает якорь.

Рис. Схема включения реле разрешения на отправление

Отдельные одиночные команды (ВАН, ВАЧ, ВАЦ, ВТ, PC, ВК) после выполнения функции выключаются автоматически (не требуют принудительного выключения). Продолжительность включенного состояния управляющего реле определяется замедлением на отпадание якоря реле СБ. Например, для вызова к телефону оперативных работников, выполняющих маневры в горловине, поступает сигнал ТУ с приказом ВАН (ВАЧ, ВАЦ) в зависимости от горловины (нечетная, четная или центральная), в результате чего включаются реле ГУ, Р и соответствующее реле ГВ.



Рис. Схема включения акустического вызова в горловине, вызова к телефону и радиостанции

1.2 Принципы увязки систем диспетчерской централизации с релейно-процессорными и микропроцессорными системами электрической централизации

Реализация кодового управления в компьютерных системах обеспечивается увязкой с каналом передачи данных технических средств вычислительного комплекса, который выполняет одновременно функции управления устройствами ЭЦ и контролируемого пункта ДЦ. Для включения КП в канал (кабельную, воздушную линии связи или тональный канал) устанавливаются модемы. Включение КП в волоконно-оптическую линию связи может осуществляться подключением управляющего вычислительного комплекса ЭЦ к аппаратуре выделения и маршрутизации каналов ВОЛС через коммутатор локальной вычислительной сети. Такая технология обеспечивает централизованное администрирование и единую информационную среду для станций участка с возможностями реконфигурации управления - передачи управления одной или несколькими станциями с опорной.

Для перехода на диспетчерское управление дежурный по станции на АРМе формирует команду переключения. Возможность переключения на диспетчерское управление проверяется программными средствами, куда включены следующие зависимости: отсутствие постановки стрелки на макет; отсутствие искусственной разделки секций; отсутствие хозяйственных поездов на перегоне.

При условии их соблюдения на экране монитора индикация режима управления с желтого изменяется на зеленый цвет - станция переведена на диспетчерское управление и исключена возможность управления с АРМа ДСП, но сохраняется возможность контроля. В соответствии с существующим порядком питание АРМа ДСП выключается.

На резервное управление станция переводится:

при выходе из строя канала связи или аппаратуры ДЦ;

при проведении на станции ремонтных работ (замена стрелочных электроприводов с необходимостью пользования макетом стрелки, ремонт верхнего строения пути и т.п.);

в случае отказов устройств СЦБ, требующих для организации перевозок дежурного персонала на станции;

при переходе станции на сезонное управление из-за увеличения объемов местной работы.

Переключение на резервное (сезонное) управление может выполняться после получения соответствующей команды ТУ от диспетчера либо ДСП. При нерегулярной работе дежурного АРМ ДСП может комплектоваться ноутбуком, в случаях необходимости резервного управления подключаемого к локальной вычислительной сети.

Смена режимов управления станцией не требует установки дополнительных реле и увязок в принципиальных электрических схемах. Кроме того, такой подход позволяет расширить функции диспетчерского управления без дополнительных затрат до объема задач ДСП, что особенно актуально при управлении с опорной станции.

2. Увязка системы диспетчерской централизации с системой контроля состояния перегонов и путевых участков станции на основе счета осей

Особенностью увязки ДЦ на малодеятельных участках, оборудованных полуавтоматической автоблокировкой (ПАБ), является требование контроля прибытия поезда в полном составе для разблокирования перегона. Из-за больших капитальных вложений и эксплуатационных расходов, как правило, перегоны в этом случае не оборудуются рельсовыми цепями. Контроль освобождения перегона при ПАБ возлагается на дежурного по станции, который визуально или по докладам оперативного персонала станции (стрелочников, дежурных по переездам) определяет целостность поезда. Поскольку при ДЦ сокращается дежурный персонал станции, перегоны, оборудованные ПАБ, должны быть дополнены устройствами контроля свободности, из которых наиболее экономичными являются системы счета осей. Кроме того, для разгрузки поездного диспетчера от рутинных операций по разблокированию перегона после проследования поезда необходима реализация функции автоматической дачи прибытия в ПАБ.

Наиболее простым принципом увязки КП ДЦ с устройствами ПАБ является логическая имитация действий дежурного по станции. Подключение управляющих выходов линейного пункта ДЦ выполняется нажатием соответствующих кнопок пульта с исключением возможности одновременного управления со стороны дежурного и диспетчера. Это упрощает монтаж и снижает требования к безопасности выходов. В качестве примера рассмотрим технические решения по увязке контролируемого пункта системы ДЦ-МПК с системой счета осей ЭССО (НПЦ "Промэлектроника", г. Екатеринбург). Ее особенностью в сравнении с аналогичными отечественными разработками является контроль состояния рельсовых участков не только на перегонах, но и на станциях.

Увязка систем выполнена с соблюдением следующих принципов:

минимальный объем работ по монтажу - разработано несколько типовых вариантов увязки, сокращающих объемы работ в зависимости от местных условий размещения аппаратуры;

расширенные информационные возможности: дистанционный сброс счетчиков, искусственное освобождение ложно занятых участков пути с соблюдением условий безопасности (для случая контроля состояния стрелочных и путевых участков также системой счета осей);

контроля состояния стрелочных и путевых участков также системой счета осей);

независимость работы системы ЭССО и схем ее увязки со станционными (перегонными) устройствами от системы ДЦ - сохраняются работоспособность указанных схем и возможность сброса счетчиков при резервном управлении станцией (выключенном контролируемом пункте ДЦ).


Увязка по телеконтролю осуществляется через контакты реле контроля свободности перегона П.

Возможно использование стандартного стыка (последовательный Рис. Схема съема информации о занятости интерфейс) с решающим контролируемых участков пути с контактов прибором системы счета путевого реле осей УСО. В последнем случае не требуется использование контактов путевых реле и открывается ряд дополнительных информационных возможностей: получение диагностической информации об отказах модулей, о числе осей поездов, находящихся на участке контроля. Эта информация может быть использована поездным диспетчером и диспетчером ШЧ при наличии у последнего соответствующего АРМа.

При ложной занятости участков контроля диспетчеру необходимо убедиться любым доступным способом (доклад дежурного персонала или локомотивной бригады) в свободности соответствующего станционного участка пути визуальной проверкой наличия хвостового вагона поезда. Далее для разблокирования перегона или снятия ложной занятости станционного рельсового участка используется ответственная команда "Сброс счетчиков", которая реализуется по специальному алгоритму безопасной схемой.

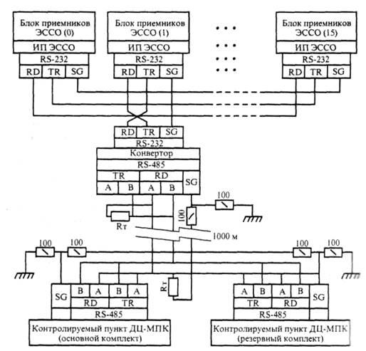
Система ЭССО построена по принципу "2 из 2" для обеспечения функций безопасности. Контроль одного разветвленного участка пути или двух неразветвленных (или перегонных) путей выполняет ячейка в блоке приемников, состоящая из двух приемопередающих устройств ППУ Каждое ППУ имеет свой собственный (независимый от парного канала) вход "Сброс" для каждого контролируемого участка. Таким образом, освобождение ложно занятого участка происходит в случае одновременного сброса обоих ППУ по соответствующим входам. Кроме того, вход "Сброс" ЭССО программно защищен от случайного воздействия: для сброса необходима последовательность из двух импульсов нулевого уровня (замкнутое состояние контактов) длительностью более 3 с с интервалом между ними, превышающим 0,8 с.

С учетом указанных защитных свойств системы ЭССО схема сброса может быть реализована на контактах реле не первого класса надежности. Основной и резервный контроллеры КП ДЦ-МПК работают как система "2 из 2": основной контроллер "сбрасывает" занятость участка в одном ППУ ячейки, а резервный - соответствующий участок в другом ППУ той же ячейки.


На рис. СУО1, СУО2 - выходы "Сброс занятости участка" основного комплекта КП; СУР1, СУР2 - выходы "Сброс занятости участка" резервного комплекта КП. Ячейка 1 настроена на контроль двух неразветвленных участков, ячейка 2 - одного разветвленного участка. Более подробная схема


сброса занятости одного участка контроля.

Рис. Схема сброса счетчиков

Для переключения цепей сброса от пульта-табло ДСП и КП ДЦ используются контакты реле РУ (резервное управление". При резервном управлении сброс осуществляется двукратным нажатием пломбируемой кнопки сброса (Сбр. уч) соответствующего участка на пульте-табло ДСП с оформлением соответствующей записи в журнале ДУ-46. При диспетчерском управлении (реле PУ выключено) к входу "Сброс" одного ППУ ячейки подключен выход основного комплекта КП ДЦ, а к другому ППУ ячейки - выход резервного комплекта.

Рис. Схема сброса занятости одного участка пути при увязке с ДЦ-МПК.


Ложная занятость сбрасывается ДНЦ двукратной посылкой ответственной команды "Сброс занятости участка". Первая посылка выключает участок из работы, занятость сохраняется, а в случае увязки с использованием последовательного интерфейса появляется индикация "Участок выключен". Вторая посылка включает участок в работу, фиксируется его свободность. Однократная посылка ответственной команды "Сброс участка" используется для включения участка в работу после профилактических и ремонтных работ с выключением питания.

Ответственные команды передаются двумя лицами (поездным диспетчером и старшим диспетчером) и состоят из двух команд ТУ (подготовительной и исполнительной). Получив подготовительную команду ТУ, КП ДЦ проводит самотестирование (проверку целостности кодового сегмента и защищенной структуры данных) и в случае успешного результата посылает сигнал ТС о готовности к приему исполнительной команды ТУ. В случае отсутствия этой команды в течение заданного времени КП выходит из состояния готовности к реализации команды "Сброс счетчиков". То же происходит и в случае несоответствия исполнительной и подготовительной команд ТУ.

При правильном приеме исполнительной команды сброса оба комплекта КП включают соответствующие выходы сброса занятости участка (СУО, СУР) на 3 с, после чего передается извещение о выполнении команды. Если увязка по ТС предусматривает связь КП с ЭССО через последовательный интерфейс, так же передается сигнал ТС о восприятии команды системой ЭССО. После квитирования прохождения первой команды сброса ложной занятости участка тем же порядком передается и выполняется вторая команда, участок освобождается, что сопровождается соответствующей индикацией у диспетчера. Если участок не освободился, например, при отказе аппаратуры, требуется вызов механика на станцию. При увязке КП с ЭССО через последовательный интерфейс по запросу причина отказа может быть выведена на монитор АРМа обслуживающего персонала.

Данная схема защищена от опасных отказов на аппаратном и программном уровнях систем ДЦ МПК и ЭССО. Константные неисправности выходов КП ДЦ-МПК (отказ интерфейсов управления) выявляются системой ЭССО и приводят к выключению путевого реле. Корректность программы КП проверяется на этапе отладки, испытаний и ввода в эксплуатацию ДЦ. Отсутствие искажений в программе и структуре данных определяется тестированием целостности кодового сегмента и проверкой корректности защищенной структуры данных при получении подготовительной команды ТУ "Сброс участка" и непосредственно перед включением соответствующего выхода. От аппаратных отказов контроллера, неконтролируемого тестами (например, отказы дешифраторов адреса в платах вывода), схема защищена использованием основного и резервного комплектов КП ДЦ как дублирующих каналов. Такого рода отказы (воздействие одного из комплектов КП на ППУ) выявляются сразу в случае использования последовательного интерфейса между КП ДЦ и ЭССО по диагностической информации, а при увязке через управляющие выходы КП - по ложному занятию участка контроля в случае его свободности. Если в момент отказа участок, к которому подключен неисправный выход, был занят и последовательного интерфейса между КП ДЦ и ЭССО не предусмотрено, отказ будет обнаружен после фактического освобождения участка и безуспешной попытки ДНЦ сбросить занятость с использованием ответственной команды.

В схеме подключения последовательного интерфейса (RS-232) используется трехпроводная линия связи длиной не более 30 м с сетевым подключением блоков приемников системы ЭССО к КП ДЦ-МПК (рис.10.7). В случае удаленного расположения блоков приемников от КП ДЦ применяется конвертор (преобразователь) интерфейсов RS-232 в RS-485, что позволяет увеличивать расстояние между КП ДЦ и блоками приемников до 1 км.


Рис. Схема соединения ЭССО и КП ДЦ-МПК через последовательный интерфейс при небольшом удалении ЭССО.

В сеть можно включить до 16 блоков приемников, что позволяет контролировать до 80 разветвленных или до 160 неразветвленных участков (аналогов рельсовых цепей). Порядок обмена информацией следующий: активный (основной) контроллер КП ДЦ формирует кадры опроса последовательно каждого блока приемников ЭССО. Пассивный (резервный) контроллер КП ДЦ только прослушивает линию. Блок приемников ЭССО, получив предназначенный ему кадр опроса, передает кадр ответа, в котором содержится информация о числе осей на участках контроля и диагностическая информация. Получив ответ, активный (основной) контроллер КП ДЦ формирует кадр опроса следующего блока. Время цикла опроса блоков составляет 2 с.


Рис. Схема соединения ЭССО и КП ДЦ-МПК через последовательный интерфейс при удаленном расположении ЭССО

3. Организация движения поездов при неисправности устройств СЦБ на участках диспетчерской централизации

На участке, оборудованном устройствами ДЦ, в случае отказов устройств СЦБ станции, на которых возникли эти неисправности, передаются, как правило, на резервное управление. Однако в некоторых случаях поездному диспетчеру предоставляется право продолжить прием и отправление поездов с соблюдением определенного регламента действий, переговоров и использованием технических средств вспомогательного управления. Техническая поддержка управления в этом случае предоставляется ДНЦ в объеме функций вспомогательных режимов передачей ответственных команд.

При отказах в системе электрической централизации, связанных с невозможностью открытия светофоров, ДНЦ принимает решение о возможности передвижений, руководствуясь индикацией на мониторе (табло). При этом выполняется проверка соответствия положения стрелок по трассе и свободности пути при приеме поезда, а при неисправности выходного светофора - свободность от поездов встречного направления. После чего поезд вводится на станцию по регистрируемому приказу поездного диспетчера, передаваемому машинисту локомотива. Приказ фиксируется ДНЦ в журнале диспетчерских распоряжений ДУ-58 (возможно использование штампа для сокращения затрат времени на записи).

Кроме того, все переговоры диспетчера записываются либо на магнитофоне, либо на многоканальном компьютерном цифровом регистраторе сигналов (МКСР). По этой причине отпадает необходимость пользования пригласительными сигналами.

При передвижении по приказу диспетчера машинист должен вести поезд со скоростью не более 20 км/ч с особой бдительностью и готовностью немедленно остановиться при возникновении препятствий для дальнейшего движения. В маршрутах отправления это требование должно выполняться до проследования первого проходного светофора, далее машинисту следует руководствоваться сигналами автоблокировки.

При невозможности перевода стрелки ДНЦ вызывает работника, выполняющего очистку стрелок, или другого работника станции, который устраняет причину нарушения управления (например, убирает посторонний предмет или напрессовку снега между остряком и рамным рельсом). Если внешним осмотром не удается обнаружить причину отказа, ДНЦ прекращает пропуск поездов по маршрутам, для которых требуется перевод стрелок в другое положение, вызывает электромеханика для ремонта, а стрелка переводится с пульта местного управления или станция передается на резервное управление. Если же и в этом случае стрелка не переводится, она передается на ручное управление (курбельной рукояткой). На раздельных пунктах, в случае отсутствия дежурного персонала для осмотра, а при необходимости и перевода стрелок, могут привлекаться локомотивные бригады поездов.

При ложной занятости стрелочно-путевой секции, как и в предыдущем случае, выполняется визуальный осмотр рельсового участка. После доклада о фактической ложной занятости ДНЦ переводит стрелки, входящие в эту рельсовую цепь, с передачей ответственных команд. При невозможности перевода стрелок во вспомогательном режиме станция передается на резервное управление.

Если по индикации приемо-отправочный путь показывает ложную занятость, ДНЦ по возможности не должен принимать поезд на этот путь до устранения отказа. В случае необходимости использования данного пути поезд принимается по запрещающему сигналу с передачей локомотивной бригаде регистрируемого приказа диспетчера после проверки через работников станции (или локомотивную бригаду) фактической свободности пути.

Для разделки неразомкнувшихся секций при нарушениях алгоритма размыкания маршрута или ложной занятости одной из секций после прохода поезда диспетчер передает ответственные команды искусственного размыкания. Восприятие этих команд устройствами ЭЦ на станции и запуск комплекта выдержки времени контролируются ДНЦ по индикации на мониторе.

В случае нарушения условий работы переездных устройств (например, при передвижениях по запрещающим показаниям светофоров) поездной диспетчер, руководствуясь индикацией на мониторах, формирует ответственные команды для вспомогательного открытия переезда. При ложной занятости переездных рельсовых цепей ответственными командами пользуются после доклада дежурного персонала (локомотивной бригады) о фактической свободности переезда.

При отказах автоблокировки на станциях, ограничивающих перегон, на дежурство вступают дежурные или начальники станций. Приказом диспетчера действие автоблокировки прекращается, а движение поездов устанавливается по телефонным средствам связи, станции передаются на резервное управление.

Если на станциях дежурный персонал отсутствует, при наличии у поездного диспетчера контроля положения путей и стрелок поезд может быть отправлен на свободный перегон по регистрируемому приказу, передаваемому машинисту.

В случае ложной занятости блок-участка двусторонней автоблокировки при необходимости диспетчером выполняется вспомогательная смена направления с проверкой фактической свободности перегона. При затруднениях диспетчер для вспомогательной смены направления вызывает дежурный персонал обоих раздельных пунктов, ограничивающих перегон.

При невозможности изменить направление пользование автоблокировкой прекращается.

На малодеятельных линиях при нарушениях автоматического разблокирования перегонов вследствие сбоев в системе счета осей, дополняющей ПАБ, поездной диспетчер после получения доклада работников станции (дежурного по переезду или локомотивной бригады) о проследовании поезда в полном составе передает ответственную команду для приведения устройств в исходное состояние (сброс счетчиков).

При неисправности кодового управления одной или несколькими станциями поездной диспетчер должен перевести их на резервное управление. В этих случаях диспетчеру запрещается руководствоваться индикацией поездного положения (состояния путей, стрелок, сигналов) на этих станциях. Поэтому на центральном посту через 1-2 мин после прекращения поступления известительных сигналов системой ДЦ прекращается индикация положения контролируемых объектов во избежание ошибок при принятии управленческих решений из-за отображения неправильной информации.

3.1 Устройства автоматического задания маршрутов на промежуточных станциях

Назначение. Устройства автоматической установки маршрутов.

(АУМ) появились в 60-е годы прошлого века и первоначально использовались для автоматизации пропуска поездов для постов

примыкания на двухпутных вставках. Позднее появились устройства АУМ на простейших разъездах и промежуточных станциях (устройства АУМ-76). Устройства АУМ располагаются на раздельных пунктах и проектируются при диспетчерском управлении как дополнительный элемент к постовым устройствам ЭЦ.

Устройства АУМ предназначены для освобождения диспетчера от выполнения повторяющихся операций по установке маршрутов на раздельных пунктах, а также для обеспечения непрерывности движения поездов в случаях повреждений кодовой линии или устройств ДЦ.

Наибольшую эффективность обеспечивало применение АУМ на промежуточных станциях с незначительной маневровой работой на участках с диспетчерской централизацией. В этом случае маршруты, задаваемые автоматически, составляют 60-80% общего числа маршрутов. Экономия рабочего времени диспетчера при оборудовании станций участка устройствами АУМ составляет почти 25%.

Оптимальное число путей, оборудуемых АУМ:

три на разъездах и станциях с поперечной схемой путевого развития, на однопутных участках;

по два на разъездах и станциях с продольной схемой, расположенных на однопутных участках;

по одному для каждого направления движения на станциях с двухпутным подходом.

Включение или выключение устройств АУМ может происходить передачей приказов поездного диспетчера или нажатием специальных кнопок на пульте резервного управления дежурным по станции. В последнем случае обеспечивается снижение загрузки дежурных на станции.

Приказы на установку маршрутов персоналом имеют преимущества перед АУМ. Диспетчер может заранее задать необходимый маршрут или отменить установленный, что приведет к отключению устройств АУМ в соответствующей горловине до прохода первого поезда. Устройства АУМ выключаются при передаче стрелок на местное управление или задании маневровых маршрутов, а также после искусственной разделки в любой горловине. Восстановление работы устройств АУМ возможно после повторного их включения диспетчером или дежурным по станции.

Устройства АУМ имеют два режима для каждого направления движения: без ограничения попутного отправления на перегон (режим "Пакет") и с автоматическим отправлением на перегон только одного поезда с предоставлением преимущества отправления с соседней станции встречного поезда на этот перегон после его освобождения (режим "Один поезд"). На каждом раздельном пункте в четном и нечетном направлениях диспетчер может устанавливать соответствующий режим работы устройств. При повреждении устройств ДЦ автоматически включается режим "Один поезд", обеспечивающий более рациональное в таких условиях регулирование движения поездов.

Автоматическая установка маршрута приема начинается с вступления поезда на третий блок-участок приближения к станции, чем исключается снижение скорости поезда на подходе к станции до открытия входного светофора. Если бы маршрут устанавливался при занятии второго участка приближения, поезд до открытия входного светофора в соответствии с желтым сигналом предупредительного светофора снизил бы скорость движения. При нахождении поезда на третьем участке приближения в случае занятости горловины или отсутствии свободных станционных путей маршрут устанавливается автоматически с выполнением условий безопасности при движении по второму или первому блок-участку. Если на прилегающем перегоне менее трех блок-участков, автоматическая установка маршрутов начинается с момента фактического нахождения поезда на предыдущем раздельном пункте или перед ним, так чтобы обеспечивались три блок-участка.

Автоматическая установка маршрутов отправления с какого-либо пути начинается с открытия входного или маршрутного светофора на этот путь, причем при условии, что маршрут приема на этот путь также задавался устройствами АУМ. Маршрут отправления автоматически не устанавливается в случаях: установки маршрута приема диспетчером; открытия выходного светофора с пути встречного направления по отношению к автоматически установленному маршруту приема.

Выбор путей приема и очередность маршрутов отправления определяются на основании программы АУМ.

Программы автоматической установки маршрутов. Программа АУМ устанавливает последовательность включения управляющих маршрутных и сигнальных реле в зависимости от поездной ситуации на станции. Программа АУМ приема составляется в зависимости от наличия поездов на впередилежащем перегоне и направления их движения с учетом свободности путей приема.

При свободности перегона Р (рис.10.9) и главного пути 1П маршрут нечетного приема автоматически задается на этот путь для проследования поезда через станцию без остановки по главному пути. Если главный путь занят поездом попутного направления, то в режиме "Пакет" маршрут приема не будет задаваться до освобождения главного пути, так как нецелесообразно принимать поезд на боковой путь при свободном впередилежащем перегоне, поскольку главный путь должен освободиться от уходящего с него поезда. Если же установлен режим "Один поезд", маршрут отправления другого поезда не будет задаваться вслед за отправляющимся попутным поездом. Этот поезд будет приниматься не на главный, а на правый по ходу движения боковой путь 3П, а если он занят, то на путь 2П.

После того как отправившийся со станции попутный поезд освободит перегон, встречному поезду предоставляется преимущество. Главный путь используется для организации скрещения поездов на данной станции. Если главный путь занят поездом встречного направления или подвижным составом, направление движения которого не зафиксировано ("поезд без направления"), маршрут приема автоматически задается на путь 3П, а если он занят, то на путь 2П.

При занятии перегона Р встречным поездом маршруты задаются с учетом обеспечения скрещения поездов. Работа устройств АУМ в этом случае должна исключать образование "пробки", что следует учитывать при составлении программ маршрутов приема и отправления. В случае безостановочного скрещения поездов первый из подходящих к станции поездов должен приниматься на боковой путь, а встречный поезд - пропускаться по главному пути.

Если перегон Р занят поездом встречного направления и все пути свободны, маршрут приема автоматически устанавливается на боковой путь 3П, а если он занят поездом встречного направления при свободных двух других путях, - на главный путь 1П. Если же путь 3П занят поездом попутного направления или "поездом без направления", в случае свободности двух других путей маршрут приема автоматически устанавливается на второй боковой путь 2П. Если путь 2П занят поездом встречного направления, а пути 1П и 3П свободны, маршрут приема будет автоматически задаваться на главный путь 1П. Этот же маршрут будет устанавливаться, если пути 2П и 3П будут заняты поездами встречного направления.

Программа АУМ отправления (рис.) составляется в зависимости от свободности перегона и первого блок-участка удаления. Маршруты нескольких поездов одного направления задаются автоматически с преимуществом отправления поезда с главного пути, затем с правого по ходу движения поезда и т.д.

Для автоматического задания маршрутов в устройствах АУМ используются те же управляющие маршрутные и сигнальные реле, которые служат для задания маршрутов диспетчером и воспринимают сигналы ТУ на линейном пункте. Поэтому работа устройств ЭЦ на станциях не зависит от того, оборудуется ли эта станция устройствами АУМ или нет. В устройствах АУМ применяются также реле, реализующие программы автоматической установки маршрутов, воздействуя на управляющие реле ДЦ, и выполняют другие вспомогательные функции.

На участке ДЦ с компьютерными контролируемыми пунктами функции АУМ реализуются без дополнительных аппаратных средств (стативов) на программном уровне. На основе рассмотренных алгоритмов обеспечивается возможность включения в АУМ всех путей на станции. Принципиально новая задача АУМ может быть решена при условии передачи с центрального поста массива данных прогнозного графика диспетчера с периодическим его обновлением при изменении планирования пропуска поездов. Такой подход обеспечивает реализацию режима АУМ по согласованному диспетчером машинному плану в отличие от существующего подхода, когда прием и отправление поездов осуществляются по упрощенным алгоритмам.

Кроме того, в режиме автоматического управления на основе прогнозного графика достигается сокращение рутинных операций, оптимизируется загрузка канала тракта телеуп-равления, возрастает временной интервал обеспечения непрерывности перевозочного процесса по запланированной диспетчером схеме в случае нарушений передачи данных между центральным постом и КП. Эффективность реализации этой функции возрастает при вводе устройств автоматической идентификации номеров поездов с возможностью прогноза не только поездной, но и местной работы станции.

Оценить/Добавить комментарий
Имя
Оценка
Комментарии:
Хватит париться. На сайте FAST-REFERAT.RU вам сделают любой реферат, курсовую или дипломную. Сам пользуюсь, и вам советую!
Никита17:25:38 02 ноября 2021
.
.17:25:37 02 ноября 2021
.
.17:25:36 02 ноября 2021
.
.17:25:36 02 ноября 2021
.
.17:25:35 02 ноября 2021

Смотреть все комментарии (19)
Работы, похожие на Реферат: Принципы увязки диспетчерской централизации

Назад
Меню
Главная
Рефераты
Благодарности
Опрос
Станете ли вы заказывать работу за деньги, если не найдете ее в Интернете?

Да, в любом случае.
Да, но только в случае крайней необходимости.
Возможно, в зависимости от цены.
Нет, напишу его сам.
Нет, забью.



Результаты(287967)
Комментарии (4159)
Copyright © 2005-2021 HEKIMA.RU [email protected] реклама на сайте