| Федеральное агентство по образованию
ГОУ СПО Октябрьский нефтяной колледж им. С. И. Кувыкина
ОПРЕДЕЛЕНИЕ УДЕЛЬНОГО ЭЛЕКТРИЧЕСКОГО СОПРОТИВЛЕНИЯ МЕТОДОМ БОКОВОГО КАРОТАЖА
Выполнил студент группы
4ПР2-07: И. И. Сидоров
Принял: Х. З. Марьиванна
2010
СОДЕРЖАНИЕ
Введение
1. Геологическая часть
1.1 Физико-географический очерк района
1.2 История изучения района
1.3 Стратиграфия и литология
1.4 Тектоника
1.5 Нефтегазоносность и газоносность
2. Техническая часть
2.1 Обоснование метода БК для решения поставленной задачи
2.2 Физические основы метода БК
2.3 Выбор аппаратуры, её характеристики и принцип работы
3. Расчётная часть
3.1 Расчёт коэффициента зонда
3.2 Определение границ и мощностей пластов
3.3 Снятие отсчета рк
в пласте и вмещающих породах
3.4 Введение поправок за мощность пласта и влияние скважины
4. Организационная часть
4.1 Организация промыслово-геофизических работ
4.2 Подготовка аппаратуры и методика измерений
4.3 Охрана труда
4.4 Охрана недр
Заключение
Список использованной литературы
ВВЕДЕНИЕ
В настоящее время геофизика является одной из востребованных в области сервиса услуг нефтяной промышленности.
Геофизические методы исследования скважин (каротаж) – это методы геологической и технической документации проходки скважин, основанные на изучении в них различных геофизических полей. Наиболее широкое применение геофизические методы получили при изучении нефтяных и газовых скважин в процессе их бурения, опробования и эксплуатации.
Исследование скважин геофизическими методами проводится в четырех направлениях:
1. изучение геологических разрезов скважин;
2. изучение технического состояния скважин;
3. контроль разработки месторождений нефти и газа;
4. проведение прострелочно-взрывных и других работ в скважинах геофизической службой.
1. Изучение геологических разрезов скважин – самое важное направление. В нём используются электрические, магнитные, радиоактивные, термические, акустические и другие методы. Применение их основано на изучении физических естественных и искусственных полей разной природой. Интенсивность этих излучений зависит от физических свойств горной породы.
В этом направлении решаются следующие задачи:
1) Литологическое расчленение пород
2) Выделение пород коллекторов
3) Определение пород коллекторов
2. Изучение технического состояния скважины. Решает следующие задачи:
1) Измерение диаметра скважины (кавернометрия и профилеметрия)
2) Измерение искривления скважин – инклинометрия
3) Оценка качества цементирования и другие.
3. Контроль за разработкой месторождений. Решает следующие задачи:
1) Исследование процесса вытеснения нефти и газа в пласте
2) Определение состава флюида в стволе скважины
3) Изучение эксплуатационных характеристик пластов
4. Проведение ПВР и других работ в скважине – это перфорация обсадных труб для сообщения скважины с пластом, отбор образцов пород из стенок скважины и т.д.
Геофизические методы изучения скважин применяются для решения геологических и технических задач, связанных с поисками, разведкой и разработкой месторождений полезных ископаемых, а также с изучением гидрогеологических и других особенностей исследуемых районов.
Геофизические методы изучения скважин являются важнейшим и неотъемлемым звеном в геологических, буровых и эксплуатационных работах, проводимых на нефтяных и газовых, угольных и рудных месторождениях, в гидрогеологических и инженерно-геологических изысканиях.
Интенсивность применения ГИС объясняется тем, что эти методы позволяют более эффективно организовывать разведку и эксплуатацию месторождений, уменьшают стоимость и время бурения.
В данной курсовой работе будет рассмотрена тема «Определение удельного электрического сопротивления горных пород методом бокового каротажа».
1. ГЕОЛОГИЧЕСКАЯ ЧАСТЬ
1.1
ФИЗИКО-ГЕОГРАФИЧЕСКИЙ ОЧЕРК РАЙОНА
Туймазинская площадь расположена в западной части Башкортостана и в административном отношении находится на территории Туймазинского района РБ и Бавлинского района Республики Татарстан.
В регионально-тектоническом плане Туймазинская площадь расположена на южной вершине Татарского свода.
Месторождение открыто в 1937 году по карбону, а в 1944 году получен первый промышленный приток нефти из терригенных отложений девона. На месторождении пробурено большое количество скважин.
Главный населенный пункт – город Октябрьский с населением 114 тыс. чел. Кроме города Октябрьского, основными населенными пунктами являются город Туймазы, районный поселок Серафимовский, Уруссу, деревни Япрык и др.
Площадь расположена в лесостепной полосе Башкортостана, представляющей собой холмистую равнину, расчлененную речной и овражной сетью на отдельные гряды.
Водораздельные пространства имеют форму плато и спускаются к речным долинам уступами в виде террас. Эти террасы особенно отчетливо выражены на северных склонах водоразделов. Склоны гряд и отдельных высот, обращенные на юг и юго-запад, крутые, на север и северо-восток – пологие.
Максимальные абсолютные отметки рельефа наблюдаются в центральной части района (правобережье р.Ик) и равны +340-+350м.
В северо-восточном и юго-западном направлениях наблюдается плавное понижение абсолютных отметок соответственно до +165м. и +300м. Минимальные абсолютные отметки, характеризующие долины рек, равны +100м. (р.Ик) и +102,5м. (р.Дымка). Таким образом, Общая амплитуда колебаний рельефа в пределах района составляет величину в 250м.
Основной водной артерией района является р.Ик, протекающая с юга на север. Она имеет широкую и глубокую долину с плоским дном. Долина р.Ик становится особенно широкой в местах впадения в нее притоков, где ширина ее доходит до 7-8км. Долина р.Ик обладает явно выраженной меридиональной ассиметрией с крутым и высоким восточным склоном и более пологим западным.
Река Ик имеет ряд небольших притоков, из которых заслуживает упоминание р.Дымка, протекающая в юго-западной части района в северо-западном направлении.
Притоки р.Ик имеют широкие и глубокие ассиметричные долины, ориентированные в направлении близком к широтному. Северные склоны их, обращенные на юг, обычно бывают круты и обнажены, а южные, обращенные на север пологи, залесены и почти совершенно лишены обнажений.
Прирусловые части долин нередко заболочены. В правобережье р. Ик широким развитием пользуются карстовые явления, обязанные своим происхождением неглубокому залеганию кунгурских гипсов.
Отдельные неглубокие блюдцеобразные, часто задернованные или заполненные водой воронки наблюдаются почти вдоль всей долины р. Ик и в устьевых частей ее притоков.
Важнейшая железная дорога Уфа – Ульяновск. Ближайший магистральный нефтепровод Усть-Балык – Уфа – Альметьевск.
Климат района континентальный, с коротким, то сухим, то дождливым летом и продолжительной, с большими снежными заносами и метелью зимой.
Снежный покров держится с ноября до апреля месяца включительно и в среднем равен 1,5м. Преобладают западные и северо-западные ветры. Верхний слой земли промерзает на 1,5-2м. в зависимости от суровости зимы и толщины снежного покрова. Средняя продолжительность отопительного сезона составляет 198 дней. Максимальное среднегодовое количество осадков 480мм. Температура воздуха летом достигает 25-400
С тепла, а зимой 20-350
С, а иногда и 400
С мороза.
1.2 ИСТОРИЯ ИЗУЧЕНИЯ РАЙОНА
Детальное изучение геологического строения Туймазинского района было начато в 1934 году по рекомендации К. Р. Чепикова и Е. И. Тихвинской. Специальная структурно-геологическая партия выявила обширную пологую брахиантиклинальную складку названную Муллинской.
С осени 1934 года начали крелиусное бурение скважин глубиной 350 м, что обеспечило вскрытие кровли артинских отложений. Одновременно были начаты геофизические исследования района с применением электроразведки. Крелиусные скважины выявили обильные нефтепроявления в облитовых известняках кунгура, были получены притоки метанового газа из верхней части артинских отложений.
Хотя притока нефти из кунгурских известняков не было получено, выявленные газонефтепроявления значительно повысили интерес к Туймазинскому району. На основании данных геологической съемки, электроразведки, структурного (крелиусного) бурения, выявившего строение структуры по кровле артинских отложений в августе 1936 года. На Туймазинской структуре начато бурение трех поисковых скважин с целью разведки нефтеносности каменно - угольных отложений. 9 июня 1937 года скважина 148 на глубине 1108 м вскрыла насыщенные нефтью песчаники угленосной свиты. Скважина фонтанным способом давала до 50 т/сутки нефти. Обе другие скважины вскрыли нефтенасыщенные песчаники. Расположены они были треугольником с расстоянием 6-7 км.
Была установлена огромная площадь нефтеносности, при этом структура по верхним горизонтам (артинским) хорошо совпадала со структурой выявленного нефтяного пласта. Вопрос о разведке более глубоких горизонтов был впервые поставлен геологом В.И. Бочковым. В 1938 году скважину 148 решили углубить до девона, попытки не увенчались успехом. При глубине 1500м по техническим причинам бурение было остановлено, обнаружив признак нефти в фаменском ярусе.
В 1940 году на соседней - Ардатовской площади скважина 2 вскрыла в отложениях верхнего девона пачку аргиллитов и песчаников в кровле, насыщенной нефтью.
При опробовании получили приток воды с пленкой нефти. Однако эта скважина имела большое значение - наличие хороших коллекторов в девоне послужило поводом для возобновления разведки девона на Туймазинской площади. Начатая бурением в конце 1941 года скважина 152 также по техническим причинам не доведена до проектной глубины. И только в сентябре 1944 года разведочная скважина 100 вскрыла девонские отложения. На глубине 1750 м были вскрыты два пласта нефтенасыщенных песчаников. При опробовании нижнего пласта получен мощный фонтан нефти до 250 т/сутки.
С целью скорейшего получения новых данных о строении пластов и размерах залежи в первые годы практиковалось углубление скважин, пробуренных на карбон. Это дало значительный выигрыш во времени. Способствовало быстрому оконтуриванию девонских залежей и совпадение структурных планов района.
Имеющиеся данные о строении месторождения позволили в 1945-1946 годах произвести подсчет запасов и составить генеральную схему разработки.
В процессе оконтуривания месторождения были выявлены Александровское поднятие, являющееся юго-западным продолжением Туймазинской складки, на юго-восточном крыле Октябрьское, В. Заитовское и Юго-Муллинское поднятие.
1.3 СТРАТИГРАФИЯ И ЛИТОЛОГИЯ
На Туймазинском месторождении скважинами вскрыты пермские, каменноугольные, девонские, бавлинские отложения и породы кристаллического фундамента.
Отложения кристаллического фундамента рифейской системы (R) докембрия представлены биошитовыми парагнейсами и гранитами.
На биошитовых гнейсах кристаллического фундамента несогласно залегают зеленовато-серые гидрослюдистые аргиллиты, которые
переслаиваются кварцево-полевошпатовыми алевролитами, присутствуют редкие прослои кварцево-полевошпатовых и полимиктовых зеленовато-серых песчаников.
В нижней части горизонта (кальцеоловый DRcv и такатинский DItk) верхнего подъяруса эмского яруса среднего девона (DII) девонской системы залегает песчано-гравийный пласт DV кварцевого состава, мощность от 0 до 9 метров. Песчаники перекрываются аргиллитами и глинистыми алевролитами, мощность горизонта от 1 до 12 метров.
Бийский горизонт (D2bs) нижнего подъяруса (D2ef1) эйфельского яруса (D2ef) представлен известняками серыми с редкими прослоями мергелей, аргиллитов и алевролитов глинистых и известковистых. В промысловой практике они получили название «нижний известняк», мощность горизонта от 6 до 12 метров.
Афонинская свита (D2af) верхнего подъяруса (D2ef2) выделяется несколько условно, так как руководящей фауны в разрезах толщи не найдено. Эти отложения можно выделять в некоторых скважинах над репером «нижний известняк» в виде маломощной пачки глинисто-карбонатных темноокрашенных пород мощностью от 0 до 4 метров.
Воробьевский горизонт (D2vr) старооскольского надгоризонта (D2st) живетского яруса (D2g) имеет не повсеместное развитие, представлен алевролитами и аргиллитами. Мощность горизонта от 0 до 3 метров.
Рдатовский горизонт (D2ar) сложен преимущественно терригенными породами. В его составе выделяются нижний песчанистый пласт DIV, песчаный пласт DIII и карбонатная пачка «средний известняк». В большинстве разрезов известняки перекрываются мергельно-аргиллитовой пачкой, в породах которых встречаются включения сидерита. Мощность горизонта 20-40 метров.
К муллинскому (D2ml) горизонту относят песчаный пласт DII. Он частично размыт, а местами произошел полный размыв. В местах полного размыва отмечается слияние песчанистых пластов DII и DI. Мощность горизонта составляет 19-33 метра.
Пашийский горизонт (D3ps) надгоризонта Коми (D3kom) нижнего подъяруса (D3f1) франского яруса (D3f) верхнего девона (DIII) представлен песчанистыми и песчано-алевролитовыми породами с прослоями аргиллитов. Его граница совпадает с границами промыслового объекта - пласта DI.
Песчаники DI кварцевые, мелкозернистые с незначительным количеством кварцевого, глинистого и карбонатного цемента. Алевролиты по составу кварцевые с различной степенью примеси глинистого материала. Мощность 15 - 50 метров.
Кыновский горизонт (D3kn) сложен аргиллитами зеленовато- серыми и коричневыми, сланцеватыми и оскольчатыми. В основании горизонта прослеживается прослой известняка репер «верхний известняк». Мощность отложений кыновского горизонта составляет от 25 до 35 метров.
Саргаевский горизонт (D3sr) российского надгоризонта (D3ros) среднего подъяруса (D3f2) представлен известняками серыми, зеленовато-серыми, кристаллическими, политоморфными, иногда тонкозернистыми, глинистыми, трещиноватыми, прослоями битуминозными с прослойками аргиллитов темно- и зеленовато-серых, известковистых. Мощность 2-6 метров.
Доманиковый горизонт (D3dm) представлен переслаиваниемтемно-серых глинистых битуминозных известняков с зеленовато-серыми и черными мергелями, встречаются глинистые сланцы. Мощность отложений доманикового горизонта 28-32 метра.
Горизонты (мендымский D3md, орловский D3or и аскынский D3ask) донского надгоризонта (D3don) верхнего подъяруса (D3f3) слагаются известняками светло-серыми, реже коричневато-серыми, кристаллическими, сульфатизированными, участками глинистыми. Также имеются известняки органогенные, сгустковые, перекристаллизованные, пористо-кавернозные, с редкими прослоями доломитов мелкокристаллических, сульфатизированных, глинистых. В мендымском горизонте встречаются известняки с прослоями мергеля черного, битуминозного. Мощность – 60 метров.
Нижнефаменский подъярус (D3fm1) фаменского яруса (D3fm) верхнего девона (DIII) представлен плотными кристаллическими доломитами с подчиненными прослоями известняков, ангидритов и глин. Мощность отложений 105-155 метров.
Данковский (D3dn) и лебединский (D3lb) горизонты среднего подъяруса (D3fm2) сложены темно-серыми, пелитоморфными и органогенно-обломочными водорослевыми известняками. Последние играют подчинительную роль.
Мощность подъяруса – 60-70 метров.
Заволжский надгоризонт (D3zv) верхнего подъяруса (D3fm3) представлен известняками светло-серыми со слабым коричневатым оттенком, тонкокристаллическими, сульфатизированными, неравномерно глинистыми, прослоями брекчевидными и пористо-кавернозными. Мощность отложений заволжского надгоризонта 55-60 метров.
Малево-упинский горизонт (упинский C1up и малевский C1ml) нижнего подъяруса (C1t1) турнейского яруса (C1t) нижнекаменноугольного отдела (C1) каменноугольной системы (C) сложен серыми и светло-серыми известняками органогенными обломочными, пелитоморфными, в нижней части серые и коричневато-серые известняки доломитизированные. Мощность горизонта от 30 до 35 метров.
Кизеловский (C1kls) и черепетский (C1crp) горизонты верхнего подъяруса (C1t2) сложены известняками серыми, светло-серыми, органогенными, редко окременелыми тонкокавернозно-пористыми, участками нефтенасыщенными известняками с мелкокристаллической структурой, с прослойками доломита. Мощность – от 45 до 50 метров/
Бобриковский горизонт (C1bb) кожимского надгоризонта (C1kzh) нижнего подъяруса (С1vl) визейского яруса (C1v) представлен терригенными отложениями песчаника, алевролита с прослоями углистого материала. По литологическому составу толща расчленяется на две пачки: нижнюю пачку – аргиллито-глинистую и верхнюю – песчано – алевролито – глинистую. Мощность – 10 – 16 метров.
Подошве тульского горизонта (C1tl) окского надгоризонта (C1ok) верхнего подъяруса (C1v2) наблюдаются прослои мергелей, аргиллитов. Выше залегают темно –серые известняки. Прослоями сильно глинистые, алевритовые.
Мощность горизонта – 20 – 40 метров.
Алексинский (C1al), Михайловский (C1mh) и веневский (C1vn) горизонты представлены темно–серыми доломитами. В кровле залегают известняки.
Прослоями они органогенные и доломитизированные. Мощность отложений – 110-125 метров.
Серпуховский ярус (С1s) представлен доломитами светло – серыми и белыми, серыми, пористо – кавернозными, прослоями плотные, редко участками глинистые, с включениями ангидрита голубовато – серого, кристаллические, участками органогенные, частично доломитизированные, глинистые. Мощность – 130 – 135 метров.
Башкирский ярус (С2b) среднекаменноугольного отдела СII представлен известняками органогенными со стиллалитовыми швами. Мощность отложений яруса – 15 – 25 метров.
В подошве верейского горизонта (С2vr) нижнего подъяруса (С2ml) московского яруса (C2m) залегают темно – серые мергели. Выше идет чередование алевролитов и аргиллитов с маломощными прослоями мелкозернистых песчаников. Известняки органогенные, прослоями оолитовые. Мощность – 45 – 55 метров.
Каширский горизонт (С2ks) сложен серыми доломитами, слабо глинистыми, известняками доломитизированными, редко органогенными. Мощность – 55 – 68 метров.
Подольский горизонт (С2pd) верхнего подъяруса (С2m2) представлен доломитами с включениями гипса и ангидрита. В кровле залегают известняки светло – серые и органогенные. Мощность горизонта – 50 – 64 метров.
Мячковский горизонт (С2mc) сложен известняками и доломитами, слегка глинистыми. Существует прослой зеленовато – серой глины. Мощность горизонта 100 – 125 метров.
Касимовский ярус (С3k) и гжельский ярус (С3g) верхнекаменноугольного отдела представлен доломитами и сильно доломитизированными известняками с включением гипса и ангидрита. Мощность – 150 – 170 метров.
Сакмарский ярус (P1s) и ассельский ярус (P1a) нижнепермского отдела пермской системы представлены светлыми и светло – серыми известняками, кристаллическими и органогенно – обломочными серыми доломитами, а также доломитами реликтово – органогенно – обломочными. Мощность – 150 – 170 метров.
Артинский ярус (P1ar) представлен известняками и серыми доломитами.
В верхней части этот ярус представлен ангидритом. Мощность – 8 – 25 метров.
Кунгурский ярус (P1k) в нижней части представлен доломитами глинистыми. Выше ангидрит голубовато – серый с включениями и прослоями серых доломитов и темно – серых глин. В кровле яруса залегают гипсы, известняки и доломиты с прослоями глин, песчаников, а участками брекчий. Мощность – 80 – 140 метров.
Уфимский ярус (P2u) верхнепермского отдела РII представлен чередованием песков и буровато – красных глин. Мощность отложений от 90 до 100 метров.
Спириферовый подъярус (P2kz1) и конхиферовый подъярус (P2kz2) казанского яруса (P2kz) представлены светло – серыми и зеленовато – серыми песчаниками, крепкими и известковыми. Глины – зеленовато – серые. Мощность – 25 – 30 метров.
Четвертичная система Q. Эти отложения развиты по долинам рек и у подножья склонов. Литологически эти отложения представлены песками, суглинками и глинами, редко галечников. Мощность – 8 – 10 метров.
1.4 ТЕКТОНИКА
Туймазинское нефтяное месторождение приурочено к Туймазинской и Александровской складкам, образующим с Бавлинским поднятием Туймазинский вал северо-восточного простирания. Туймазинский вал осложняет юго-восточную часть южной вершины Татарского свода.
Сопоставление структурных карт по отдельным стратиграфическим горизонтам показывает, что структурный план площади в целом сохраняется от девонских отложений до пермских.
Амплитуда поднятия по различным горизонтам также мало отличается. Наблюдается лишь некоторое усиление структуры с глубиной. В пределах замкнутых изогипс амплитуда поднятия в карбоне колеблется от 45 до 50 м, а по кровле репера "Верхний известняк" составляет 60 м.
Туймазинская структура вырисовывается в виде обширной (36 км х 20 км) асимметричной брахиантиклинальной складки северо-восточного простирания, оконтуривающейся стратоизогипсой - 1480м. Северо-западное крыло ее пологое - угол падения порядка 0-12', 0-14'. В присводовой части и на переклиналях углы падения увеличиваются от 0-17' до 0-20'.
Юго-восточное крыло складки осложнено резким изгибом слоев в районе первого ряда эксплуатационных скважин. Углы падения здесь достигают - 4-30'. В юго-западном направлении наблюдается выполаживание этого резкого склона. В районе седловины, отделяющей Туймазинское поднятие от Александровского, углы падения не превышают 2-10', а на юго-восточном крыле Александровского поднятия - 1-25'.
К юго-востоку одноименное крутое крыло переходит в обширную террасу. Эта терраса протягивается вдоль всего Туймазинского поднятия и на юго-западе в районе Александровской площади переходит в неглубокий прогиб. Последний отделяет Александровское поднятие от Южно-Александровского поднятия. С юго-востока терраса окаймляется крутым склоном прогиба, отделяющего Туймазинскую структуру от структур Серафимовско - Балтаевского вала.
Северо-западное крыло Туймазинского поднятия и указанная терраса осложнены целым рядом небольших куполовидных вздутий и понижений типа седловин, ориентированных преимущественно в широтном и северо-восточном направлениях. Сводовая часть собственно Туймазинского поднятия окон оконтуривается изогипсой - 1454м и осложнена большим количеством мелких пологих куполов. Александровская площадь на этих отметках представляется в виде двух небольших куполов с амплитудой не более 5-8 м, разделенных неглубокой седловиной.
1.5 НЕФТЕГАЗОНОСНОСТЬ И ВОДОНОСНОСТЬ
Признаки нефти выявлены в разрезе от девонских до пермских отложений включительно. Самым нижним нефтеносным горизонтом является песчаный пласт Д-IV, в котором обнаружена небольшая залежь нефти на Александровской площади. Следующим нефтеносным горизонтом выше по разрезу является песчаный пласт Д-III, в котором небольшие залежи обнаружены в наиболее повышенных участках структуры на Туймазинской площади.
Одним из основных нефтеносных горизонтов являются песчаники пласта Д-II, которые на Туймазинской площади содержат крупную залежь нефти (12*8 км).
Основной объект разработки Туймазинского месторождения приурочен к песчаникам, пласта Д-I пашийского горизонта, нефтенасыщенным на Туймазинском и Александровском площадях.
Нефтепроявления промышленного значения выявлены в карбонатных осадках фаменского яруса, в основном в отложениях верхне-фаменского подъяруса.
Промышленная нефть имеется в верхней части пористых известняков турнейского яруса. Нефть турнейского яруса удельного веса 0,894 г/см3
, содержание серы - 3%.
К песчаникам бобриковского горизонта на Туймазинской и Александровской площадях приурочены залежи нефти, которые являются самостоятельными объектами разработки. Песчаники этого горизонта имеют линзовидное распространение. Нефть имеет удельный вес 0,885 г/см3
, содержание серы до 3,81%.
Признаки нефти обнаружены в верхней части турнейских тонкопористых и кавернозных известняков, в артинских отложениях тонкозернистых и кавернозных известняков, местами содержится газ. Залежи газа имеют локальный характер, отличаются небольшим дебитом и весьма ограниченными запасами.
В основании кунгурского яруса залегают оолитовые известняки, насыщенные жидкой газированной нефтью. Однако, получить промышленный приток нефти из этих известняков не удалось.
Следует отметить, что нефтеносность карбонатных отложений, мощность которых составляет почти 80% разреза осадочной толщи палеозоя, изучена слабо.
В настоящее время эксплуатируются пласты Д-I, Д-II, Д-III, Д-IV, песчаники бобриковского горизонта, известняки верхне-фаменского подъяруса и турнейского яруса.
Водоносные горизонты в девонских отложениях приурочены к живетскому, франскому, фаменскому ярусам.
Воды всех девонских пластов от Д-V до Д-I характеризуются одним и тем же составом. Воды хлоркальциевые сильно минерализованные, практически бессульфатные. Характерной особенностью девонских вод является значительное содержание в них окисного железа и повышенное содержание брома.
Общая минерализация пластовых вод девона достигает 815 мг/экв/100г. Удельный вес колеблется в пределах 1,187 - 1,19 г/см3
. По классификации Пальмера состав вод выражается:
первая соленость - 62-65%
вторая соленость - 35-38%
вторая щелочность - 0,01-0,09%экв.
Среди анионов преобладает содержание ионов хлора 407 мг/экв/100г. Из катионов значительно содержание 259 мг/экв/100г.
Воды фаменского яруса представляют собой также высокоминерализованные рассолы. Характерной особенностью является повышенное содержание иона. Установлено содержание сероводорода.
Воды турнейских, бобриковских, тульских отложений нижнего карбона характеризуются по сравнению с девонскими водами меньшей степенью метаморфизма. Они также высокоминерализованы и по солевому составу относятся к хлоркальциевому типу, а по преобладанию составляющих компонентов к хлорнатриевому. Обнаруживается наличие сероводорода.
В процессе проводки скважин отмечается наличие водоносных горизонтов в окском и сорпуховском подъярусов нижнего карбона. Для этих вод характерно резкое увеличение концентрации сульфатных ионов.
Воды артинских отложений всюду проявляют себя интенсивно.
В скважинах с низкими отметками рельефа наблюдается переливание воды через устье. Воды относятся к типу сульфатонатриевых.
Воды кунгурского яруса относятся также к типу сульфатонатриевых вод.
Водоносные горизонты встречаются также выше по разрезу в отложениях Уфимской свиты, Казанского и Татарского ярусов.
2. ТЕХНИЧЕСКАЯ ЧАСТЬ
2.1 ОБОСНОВАНИЕ МЕТОДА БК ДЛЯ РЕШЕНИЯ ПОСТАВЛЕННОЙ ЗАДАЧИ
Метод БК предназначен для изучения высокого сопротивления разрезов скважин, заполненных солёной промывочной жидкостью (рр
=0,1 – 0,5 Ом*м). При проникновении в пласт жидкости высокой минерализации сопротивление прискважинной части пласта понижается, что практически не влияет на показания, зарегистрированное зондами БК. В случае проникновения фильтрата промывочной жидкости, повышающего сопротивление пласта, использование показаний для определения истинного удельного сопротивления пласта становится малоэффективным.
Весьма удовлетворительные результаты получают при исследовании зондами БК малопористых пород, например карбонатов, для которых отмечаются высокие значения pп
/pр
. В таких разрезах фокусированные зонды позволяют получить достаточную дифференцированную кривую pк
, а кажущееся сопротивление линейно зависит от истинных значений рп
в достаточно широком диапазоне их изменения. Это позволяет определять истинное удельное сопротивление пласта в таких разрезах более точно, чем, например, по данным БКЗ градиент-зондами.
Девятиэлектронные фокусированные зонды с повышенным радиусом исследования предназначены для изучения пластов с большой зоной проникновения фильтрата промывочной жидкости. С помощью девятиэлектродного псевдоэкранного зонда можно определять параметры зоны проникновения.
Данные метода БК позволяют более детально расчленить геологический разрез, установить его литологию, выделить пласты-коллекторы и уточнить их строение, определить параметры зоны проникновения фильтрата промывочной жидкости и истинное удельное сопротивление пластов.
2.2 ФИЗИЧЕСКИЕ ОСНОВЫ МЕТОДА БК
Боковой каротаж является разновидностью электрического каротажа по методу сопротивления. Он входит в группу модификаций электрического каротажа, в которых используются зонды с управляемым электрическим полем. Боковой каротаж называют еще каротажем зондами с фокусировкой тока.
Боковой каротаж проводят многоэлектродными (семь, девять электродов) и трехэлектродными зондами. Применяют многоэлектродные зонды с электродами небольшого размера (точечными) и с кольцевыми электродами, устанавливаемыми на изолированной трубе.
Трехэлектродный зонд бокового каротажа (см. рис. 1, а) представляет собой длинный цилиндрический электрод, разделенный изоляционными прослойками на три части: небольшой по длине центральный (основной) электрод А0
и два расположенных симметрично по отношению к нему и соединенных между собой накоротко экранных электрода A1
и А2
. Через основной и экранные электроды пропускается ток одной полярности и обеспечивается равенство их потенциалов. Это может быть достигнуто одним из следующих способов.
1. Сила тока через экранные электроды автоматически регулируется так, чтобы разность потенциалов основного и экранных электродов была равна нулю.
2. Основной электрод накоротко соединяется с экранными электродами.

Рис. 1. Схемы зондов бокового каротажа: а — трехэлектродного (БК-3); б —семиэлектродного (БК-7); в — девятиэлектродного (псевдобокового) каротажа (БКМ
)
Практически в последнем случае основной электрод соединяют с экранным через небольшой резистор r, который используется для измерения силы тока через основной электрод. Величина резистора r берется такой, чтобы вносимая в результате введения этого резистора погрешность не вызывала заметного искажения результатов.
Когда достигается равенство потенциалов, в результате влияния поля экранирующих электродов ток, выходящий из основного электрода, на значительном расстоянии распространяется слоем, перпендикулярным к оси скважины, с толщиной, приблизительно равной длине основного электрода. Вследствие этого влияние скважины и вмещающих пород сказывается на результатах измерений значительно меньше, чем при обычных зондах.

Рис. 2. Распределение токовых линий зондов БК в однородной среде:
а — трехэлектродного, б — семиэлектродного, в —- многоэлектродного, I0
— токовый слой центрального электрода A0
Для определения кажущегося удельного сопротивления необходимо знать потенциал основного электрода — разность потенциалов ∆Uкс
между основным токовым, который является одновременно измерительным М, и удаленным на достаточно большое расстояние от зонда электродом N, находящегося в скважине. Фактически измеряют потенциал экранного электрода; результат получается тот же самый, так как потенциал экранных и основного электродов одинаков.

Рис. 3. Схемы измерения методом БК с применением трехэлектродного зонда с автокомпенсатором (а) и с шунтирующим сопротивлением R0
(б). I0
, Iэ
—токи, питающие соответственно центральный электрод А0
и экранные электроды A1
и A2
; РУ — регулирующее устройство силы тока, протекающего через экранные электроды
Кажущееся удельное сопротивление для трехэлектродного зонда подсчитывается по формуле (1).
рк
=
K
∆
U
кс
/
I
0
(1)
где I0
— сила тока через основной электрод A0
;
К — коэффициент зонда; он берется таким, чтобы в однородной среде кажущееся удельное сопротивление получалось равным удельному.
Если сила тока питания основного электрода I0
поддерживается постоянной, то, записывая изменение ∆Uкс
, получают кривую сопротивления.
Характерными размерами трёхэлектродного зонда являются длина зонда L – расстояние между серединами интервалов, изолирующих центральный электрод от экранных электродов, общий размер зонда Lобщ
– расстояние между внешними концами электродов А1
и А2
, диаметр зонда dз
. За точку записи кривой условно принимается середина центрального электрода А0
.
Электроды трехэлектродного зонда в отличие от электродов обычных зондов представляют собой объёмные тела, поэтому расчёты электрического поля такого зонда более сложные, чем в случае точечных электродов. Общая длина трёхэлектродного зонда выбирается примерно 3,2 м; минимальная мощность пласта, которая выделяется этим зондом – 0,5 м, при длине центрального электрода 0,15 м. Диаметр зонда исходя из условия проходимости прибора по стволу скважины принят равным 70 мм.
Кривые трёхэлектродного зонда обладают высокой расчленяющей способностью, по ним достаточно уверенно выделяют пласты мощностью 0,5 -1,0 м. Применение трёхэлектродного зонда исключает экранные эффекты одного пласта другим. В связи с этим метод БК с трёхэлектродным зондом весьма эффективен при изучении тонкослоистых разрезов и неоднородных пластов, а также высокоомных разрезов.
Радиус исследования трёэлектродного фокусированного зонда сравнительно небольшой и составляет 1-2 м. Недостаток трёхэлектродного зонда: невозможно увеличить радиус исследования путём изменения его размеров.
Зонд семиэлектродного бокового каротажа (рис. 1 и 2, б) состоит из центрального электрода А0
и трех пар симметрично расположенных относительно него электродов M1
и М2
, N1
и N2
, A1
и A2.
Симметричные одноименные электроды попарно соединены между собой. Через электрод А0
пропускают ток I0
, сохраняемый постоянным по величине в процессе записи кривой. Электроды А1
и А2
являются экранными; через них пропускается ток, сила которого автоматически регулируется так, чтобы напряжение между электродами M1
и N1
или, что все равно (так как соответствующие электроды закорочены), между электродами М2
и N2
, было равно нулю.
Так как выполняется условие, что напряжение между измерительными электродами М1
и N1
(а также между М2
и N2
) равно нулю, то сила тока на участке скважины M1
N1
и M2
N2
также равна нулю. Получается, что будто бы скважина и прилегающие к ней участки пласта над электродом А0
и под ним были замещены изолятором (рис. 2, б). Ток, выходящий из электрода А0
, распространяется на значительное расстояние в радиальном направлении (от скважины) слоем, перпендикулярным к оси скважины (горизонтально). Измеряемое напряжение ∆Uкс
представляет собой падение потенциала по указанному слою от скважины до удаленной точки. Естественно, что на это падение потенциала скважина и вмещающие породы оказывают небольшое влияние. Это позволяет во многих случаях получить кажущееся удельное сопротивление, значительно более близкое к удельному, чем при обычных зондах; в частности, обеспечивается лучшая оценка удельного сопротивления тонких пластов.
Разность потенциалов измеряют между измерительными электродами зонда и достаточно далеко удаленным от зонда электродом N. В результате измерений получают кажущееся удельное сопротивление рк
, оно также определяется по формуле (1)
рк
= K∆Uкс
/I0
где I0
— сила тока через основной электрод A0
; К — коэффициент зонда; он берется таким, чтобы в однородной среде кажущееся удельное сопротивление получалось равным удельному.
Результат измерений зондом бокового каротажа относят к точке А0
; за длину L зонда принимают расстояние между точками О1
и О2
(серединами интервалов M1
N1
и M2
N2
). За точку записи условно принимают электрод А0
. Характерными для зонда являются также расстояние Lo
бщ
=A1
A2
, называемое общим размером зонда, и параметр фокусировки зонда q=(Lo
б
-L)/L. Параметр фокусировки влияет на форму слоя токовых линий, выходящих из основного электрода. В случае однородной среды с увеличением q, т.е. с приближением электродов к основному, слой выходящих из электрода А0
токовых линий по мере удаления от оси скважины сжимается, а при уменьшении величины q – расширяется.
Влияние скважины и зоны проникновения на рк
можно исключить в том случае, если общий размер семиэлектродного зонда значительно больше диаметра скважины (Lобщ
>>dc
). Однако увеличение длины зонда ухудшает выделение тонких пластов. Обычно выбирается зонд общим размером 2-3 м. Для неоднородной среды в зависимости от скважинных условий измерения выбирается зонд с Lобщ
=2 м и q=1,5 либо с Lобщ
=3 м и q=4. На практике используются два зонда - с большим радиусом исследования (A1
1,1N1
0,2М1
0,2А0
0,2хМ2
0,2N2
1,1А2
) и с малым (А1
0,5N1
0,2М1
0,3А0
0,3М2
0,2N2
0,5А2
).
Преимущество зонда бокового каротажа перед обычными зондами особенно наглядно иллюстрируется на рис. 3, где показано распределение токовых линий, выходящих из расположенного в середине тонкого пласта большого сопротивления токового электрода, в случае обычного зонда (а), когда экранные электроды отсутствуют, и при зонде бокового каротажа (б), когда имеются экранные электроды, сила тока через которые регулируется так, как указано выше. Как видно, при обычном зонде токовые линии в пределах пласта в основном идут вверх и вниз по скважине, пока не выйдут во вмещающие породы низкого сопротивления; поэтому кажущееся удельное сопротивление много меньше удельного. Наоборот, при боковом каротаже токовые линии распространяются по пласту так, что полученное сопротивление, пропорциональное падению потенциала между электродом А0
и бесконечностью по пласту, будет близко к удельному сопротивлению пласта.

Рис. 3. Распределение токовых линий, выходящих из расположенного против середины пласта большого сопротивления электрода А обычного зонда (а) и электрода А0
зонда бокового каротажа (б).
Для увеличения радиуса исследования в методе БК применяются девятиэлектродные фокусированные зонды, в которых между основными экранными А1
и А2
и измерительными N1
и N2
электродами установлены дополнительные экранные электроды В1
и В2
.
Фокусировка тока центрального электрода в этом зонде может производиться двумя способами:
1) через электроды В1
и В2
пропускают ток обратной полярности и постоянной силы, в несколько десятков раз превышающей силу тока, проходящего через электрод А0
; ток, протекающий через электроды А1
и А2
, регулируют так, чтобы разность потенциалов между измерительными электродами М1
и N1
(M2
и N2
) равнялась нулю;
2) поддерживают постоянной амплитуду тока, проходящего через электроды А1
и А2
, а равенство нулю разности потенциалов между M1
и N1
(M2
и N2
) обеспечивается регулировкой силы и направления тока, протекающего через электроды В1
и В2
.
При первом способе фокусировки тока I0
радиус исследования девятиэлектродного зонда заметно увеличивается по сравнению с семиэлектродным зондом в пластах большой мощности, при втором способе фокусировки девятиэлектродный зонд приобретает более благоприятные характеристики и радиус его исследования в пластах большой мощности еще больше возрастает. Этот зонд предложен венгерскими геофизиками и назван нормализованным. Он позволяет регистрировать величину рк
, близкую к истинному удельному сопротивлению пород до очень больших значений.
Существует также девятиэлектродный так называемый псевдоэкранный зонд, который отличается от семиэлектродного фокусированного зонда тем, что обратный токовый электрод В в нем приближен к зонду и расположен в виде раздвоенных электродов В1
и В2
с внешней стороны электродов А1
и А2
, симметрично относительно центрального электрода А0
(см. рис. 1 и 2, в). Через электроды А0
, А1
и А2
замыкается токовая цепь. В связи с малым расстоянием от обратных токовых электродов до зонда создается такое распределение токовых линий центрального электрода, при котором значительная часть потенциала падает в непосредственной близости от скважины. В связи с этим радиус исследований девятиэлектродного псевдоэкранного зонда значительно меньше, чем семиэлектродного, и с его помощью можно изучать удельное сопротивление только ближней к скважине зоны пласта. По принципу работы этот зонд аналогичен семиэлектродному и к нему применимы те же теоретические расчеты. Условием фокусировки тока центрального электрода является также равенство потенциалов на электродах M1
и N1
(M2
и N2
). Характерные размеры зонда: Lобщ(А)
— расстояние А1
А2
, Lобщ(В)
— расстояние В1
В2
, L — расстояние О1
О2
. Параметр фокусировки q=(Lобщ(А)
—L)/L.
2.3. ВЫБОР АППАРАТУРЫ, ЕЕ ХАРАКТЕРИСТИКИ И ПРИНЦИП РАБОТЫ
В серийной аппаратуре БК наибольшее распространение получили трехэлектродные зонды с двумя закороченными между собой экранными электродами АЭ1
и Аэ2
.
При конструировании трехэлектродных зондов БК учитывают следующие обстоятельства:
1) уменьшение L снижает влияние вмещающих пород, однако при L<0,3dc
(где dc
— диаметр скважины) резко возрастает погрешность измерений;
2) с увеличением Lo
бщ
улучшается фокусировка тока и возрастает радиус исследования;
3) с уменьшением dз
возрастает влияние скважины, поэтому dз
>0,25dc
. В приборах АБКТ, Э1, К1А-723М применен зонд, для которого L = 0,15 м; Lo
бщ
= 3,2 м; d3
= 0,07—0,073 м. Коэффициент К такого зонда 0,24.
В приборах БК с трехэлектродными зондами равенство потенциалов А0
и Аэ
достигается одним из следующих способов питания электродов; 1) автоматическим изменением тока через электрод Аэ
, при котором ток I0
сохраняется постоянным; 2) соединением между собой всех трех электродов, при котором I0
изменяется при измерении. В аппаратуре АБКТ соединение электрода А0
с Аэ
выполнено с помощью небольшого резистора R, который одновременно используется для измерения I0
. Сопротивление резистора (примерно 0,01 Ом) достаточно мало, чтобы не нарушить эквипотенциальность зонда, но достаточно велико для измерения I0
. В аппаратуре серии Э роль резистора выполняет вторичная обмотка трансформатора, сопротивление R которой по переменному току питания примерно равно 0,01 Ом и рассчитано как R = R*/n2
, где R* — сопротивление подстроечного резистора, подключенного параллельно первичной обмотке , а n — коэффициент трансформации. При n = 1000 значение R* равно 10 кОм, что облегчает его подбор.
Более сложные семи- и девятиэлектродный зонды БК использованы в аппаратуре БКС-2. В них применена стабилизация тока I0
с помощью автокомпенсатора.
Аппаратура электрического каротажа типа K1A-723
Прибор предназначен для проведения ГИС в нефтяных и газовых скважинах. Прибор обеспечивает возможность за один проход по интервалу исследования выполнить измерения комплексом зондов БКЗ, зондом БК-3, зондом ИК, резистивиметром и ПС. Применяется для исследования в не обсаженных скважинах заполненных промывочной жидкостью. Отличается малыми габаритами, что позволяет использовать его при проведений измерений через буровой инструмент. Обладает высокой производительностью и надёжностью.
В приборе применена ТИС с времяимпульсной модуляцией сигнала и временным разделением каналов.
Аппаратура работает на трёхжильном бронированном кабеле длинной 5000 метров.
Длина прибора с зондом БКЗ - 20,4 метра.
Диаметр – 73 мм, вес – 80кг.
Питание 400 Гц, 400мА.
Максимальная рабочая температура – 1200
С.
Давление – 80 мПа
Скорость каротажа – 2000 м/ч.

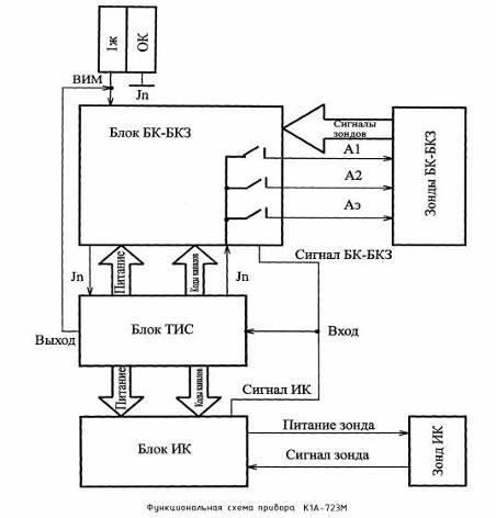
Рис 4. Функциональная схема прибора K1A-723M
При проведении измерений ток питания скважинного прибора подаётся по первой жиле кабеля и оплётке кабеля. Ток питания – переменный, частота – 400Гц, сила тока – 400мА. Ток питания поступает в блок БК-БКЗ, блок ТИС и блок ИК.
Питание токовых электродов А1
, А2
,Аэ
поступает для питания зондов БК-БКЗ. Измеряемые сигналы, поступающие с зондов БК и БКЗ, поступают в блок БК-БКЗ, который обеспечивает питание зондов, приём, усиление, согласование со входом ТИС сигналов от зондов. Измеряемые сигналы с блока БК-БКЗ поступают на вход блока ТИС.
Питание зонда ИК происходит от блока ИК, а измеряемый сигнал поступает в блок ИК, где происходит усиление сигнала и согласование со входом ТелеИзмерительной системы (ТИС). С выхода блока ИК измеряемый сигнал поступает на вход блока ТИС. С выхода блока ТИС измеряемые сигналы зондов БК-БКЗ и ИК во времяимпульсной модуляции по первой жиле и оплётке кабеля поступает на поверхность. В скважинном приборе также имеется возможность включать нуль-сигнал и стандарт сигнал.
3. РАСЧЁТНАЯ ЧАСТЬ
3.1 РАСЧЕТ КОЭФФИЦИЕНТА ЗОНДА
Коэффициент трёхэлектродного зонда К рассчитывают, определяя потенциал поля удлинённого эллипсоида вращения в однородной среде:
(2)
где L — длина основного электрода А0
;
Lo
б
— общая длина зонда;
dз
— диаметр зонда;
С2
= Lоб
— d2
3.
Определим коэффициент зонда аппаратуры К1А-723М, у которой L=0,18м, Lобщ
= 3,2 м и d3
= 0,07 м. Из формулы (2)
получаем

3.2 ОПРЕДЕЛЕНИЕ ГРАНИЦ И МОЩНОСТЕЙ ПЛАСТОВ
На рис. 5 показаны характерные кривые сопротивления трехэлектродного бокового каротажа. Как видно, при одинаковом удельном сопротивлении вмещающих пород кривые КС против однородных пластов высокого сопротивления отмечаются максимумами, которые принимают формы острой пики против тонких пластов (h≤4dc
); против мощных пластов (h>8dc
) наблюдается горизонтальный интервал в средней части (рис. 4,а). Если породы, подстилающая пласт и перекрывающая его, имеют различное сопротивление, то максимум против пласта высокого сопротивления становится асимметричным, наблюдается снижение сопротивления со стороны породы меньшего сопротивления (рис. 4,б). При постепенном изменении сопротивлений отдельных пластов форма кривой принимает ступенчатый вид (рис. 4, в). Против пачки пластов, представленной породами разного сопротивления, кривая характеризуется чередованием симметричных максимумов и минимумов (рис. 4, г). Против проницаемых пластов с проникновением ПЖ форма кривых КС почти соответствует форме кривых для однородных пластов. С увеличением диаметра зоны повышающего проникновения наблюдается заметное увеличение сопротивления (рис. 4,д).
Форма кривых КС для одиночных пластов, зарегистрированных многоэлектродными зондами, в основном такая же, как и в случае БК-3.
Границы пласта отмечают следующим образом. Проводят наклонную прямую по наиболее крутому участку кривой и находят её пересечение с прямой, соответствующей кажущемуся удельному сопротивлению вмещающих пород. Для трёхэлектродного зонда граница пласта будет соответствовать полученной точке; для семиэлектродного зонда границу пласта получают, сместившись от указанной точки вниз (при определении подошвы) или вверх (при определении кровли) на расстояние до 0,3L.

Рис. 5. Кривые сопротивления бокового каротажа для зонда БК-3, dc
= 0,165 м: а и б — однородные пласты; в — неоднородный пласт; г—пачка пластов, dc
=0,235 м; д — проницаемые пласты с повышающим проникновением ПЖ.
3.3 СНЯТИЕ ОТСЧЕТА рк
В ПЛАСТЕ И ВМЕЩАЮЩИХ ПОРОДАХ
Рассмотрим пласт на глубине 1412-1413 метров.
Снимаем отсчет рк
в пласте и вмещающих породах. Отсчёт существенных значений производится по точкам экстремумов pк max
или pк min
.
рк
= 200 Ом*м
рвм
=17 Ом*м
Снятое с диаграммы значение pк
исправляется сначала за влияние скважины по номограмме, затем за влияние мощности пласта.
3.4 ВВЕДЕНИЕ ПОПРАВОК ЗА МОЩНОСТЬ ПЛАСТА И ВЛИЯНИЕ СКВАЖИНЫ
Определение удельного сопротивления пласта рп
производят по рк
с внесением поправок за диаметр скважины dc
. Исправление рк
за влияние скважины dc
производят с помощью палетки (рис. 6, а).
Известно: рк
= 200 Ом*м, рс
= 0,5 Ом*м, pк
/pc
= 100, d=0,2 м. Получаем: рк1
/рк
=1,13; pK
1
= 1,13*200= 226 Ом*м.
Исправленное pK
1
за влияние dc
против пласта большой мощности pK
1=
pп
.
В случае ограниченной мощности пласта h<4dc
па показания зонда БК оказывают влияние вмещающие породы рвм
. Вычисление поправки за ограниченную мощность пласта и влияния рвм
производится с помощью палетки (рис. 40,б). Палетка рассчитана для зависимостей рк2
/рк1
от h при различных значениях отношений рк1
/рвм
, рк2
—исправленное рк1
за влияние рВМ
и h. При отсутствии проникновения ПЖ в пласт pK
1=
pп
.
Известно:рK1
=226 Ом*м, рвм
=17 Ом*м, рК1
/рвм
=13,29 ; h = 1 м. Получаем: рк2
/рк1
= 1,2. рк2
= 1,2*226 = 188,3 Ом*м.


Рис. 6.
Поправки к кривым КС, зарегистрированным аппаратурой трехэлектродного БК-3
При расчете палетки исходили из условий, что зонд БК расположен против середины пласта, рвм
подстилающих и покрывающих пород равны, их мощности значительны.
Палетки для введения поправок за dc
, h и рвм
рассчитаны для однородных пластов мощностью более 1 м, но применимы и для приближенных расчетов к неоднородным пластам мощностью более 1 м. В тех случаях, когда поправки становятся большими (50—100 %), достоверность результатов интерпретации резко снижается.
При наличии проникновения фильтрата ПЖ в пласт для того, чтобы определить определение рп
проницаемого пласта БК применяется совместно с БКЗ или в комплексе с двумя градиент-зондами длиной 1—4 м.
Итак, истинное удельное электрическое сопротивление пласта 188,3 Ом*м.
4. ОРГАНИЗАЦИОННАЯ ЧАСТЬ
4.1 ОРГАНИЗАЦИЯ ПРОМЫСЛОВО-ГЕОФИЗИЧЕСКИХ РАБОТ
Выполнение промыслово-геофизических работ (ПГР) организуется на договорных началах. Договоры заключаются между геофизическими предприятиями (подрядчик) и предприятиями, производящими бурение скважин (заказчик).
Буровые предприятия ежегодно, не позже третьего квартала, представляют геофизическим предприятиям заявки на планируемые в следующем году ПГР. На основе этих заявок составляют проекты, сметы затрат и договоры на производство геофизических работ в скважинах. В заявке указывают номер скважины, ее глубину, характер работ, интервал, подлежащий исследованию, время начала работ и т. д. Заказчик обязан до приезда промыслово-геофизической партии подготовить скважину для проведения работ. Подготовка заключается в проведении мероприятий, обеспечивающих беспрепятственный спуск до забоя и подъем геофизических приборов в скважине в течение времени, необходимого для осуществления комплекса заказанных геофизических исследований.
Подготовленность скважины оформляется актом за подписями бурового мастера и геолога. Начальник промыслово-геофизической партии приступает к производству работ на скважине только после получения такого акта.
Основная производственная единица для проведения геофизических работ - партия. Партии, как правило, специализированны по видам
выполняемых работ: каротажные партии, обслуживающие глубокие разведочные скважины, каротажные партии, обслуживающие структурно-картировочные скважины; перфораторные партии; партии радиоактивного каротажа; инклинометрические партии. В некоторых случаях организуются комплексные каротажно-перфораторные партии. От специализации партии зависят состав ее работников и техническая вооруженность.
Комплекс ПГР, выполняемых партиями, включает подготовительные работы к выезду на скважину и заключительные работы на скважине, собственно промыслово-геофизические исследования, спуско-подъемные операции, пересоединение скважинных приборов, разметку кабеля, переезды на скважину и обратно.
Порядок проведения ПГР партиями следующий. Перед выездом на буровую начальнику партии вручается наряд-маршрут, в котором указывается объем работ, вид исследований, данные о времени производства работ и тому подобное. После этого начальник партии знакомит персонал с объектом предстоящих работ, обеспечивает проверку и погрузку оборудования и получает при необходимости (для перфорации и торпедирования) взрывчатые вещества и средства взрывания. Для проезда партии на буровую заранее устанавливается кратчайший маршрут. По приезде на буровую начальник партии уточняет данные о скважине, записанные в наряде-маршруте, проверяет подготовленность скважины для промыслово-геофизических исследований и организует выполнение заданного объема работ. По требованию заказчика объем работ может быть увеличен по сравнению с предусмотренным в наряде-маршруте.
После выполнения заданного объема работ на буровых партия возвращается на базу. Начальник партии в день прибытия на базу сдает дежурному диспетчеру документацию, подтверждающую выполнение исследований, указанных в наряде - маршруте, и организует осмотр, чистку и смазку оборудования и аппаратуры. Обо всех замеченных дефектах в оборудовании и аппаратуре, выявленных в процессе работ, он сообщает в ремонтный цех.
Первичные материалы промыслово-геофизических исследований представляются заказчику непосредственно на буровой или не позднее трех дней после выполнения работ по заданию. Основные данные о результатах замеров кривизны в скважинах (угол наклона и азимут) сообщаются заказчику непосредственно по окончании замера и необходимых вычислений. Оформленные графические материалы исследований с их интерпретацией представляются заказчику в сроки, установленные договором.
После оформления результатов промыслово-геофизических исследований, выполненных по наряду – маршруту, составляется акт, определяющий объем производственных работ. Акты являются документами, на основе которых учитываются и оплачиваются выполненные работы.
4.2 ПОДГОТОВКА АППАРАТУРЫ И МЕТОДИКА ИЗМЕРЕНИЙ
Подготовительные работы перед проведением ГИС проводят в стационарных условиях на базе геофизического предприятия (производителя работ) и непосредственно на скважине.
Перечень работ каротажной партии (отряда) на базе геофизического предприятия включает:
- получение наряд-заказа на геофизические исследования и работы, форма и содержание которого согласованы между геофизическим предприятием и недропользователем;
- ознакомление с геофизическими и геологическими материалами по исследуемой скважине и получение файлов и твёрдых копий данных, необходимых для выполнения ряда работ, например, привязки к разрезу интервалов отбора керна, опробований, перфорации и др.;
- получение скважинных приборов, расходных деталей, материалов и источников радиоактивных излучений, проверку их комплектности и исправности;
- запись файлов периодических калибровок и сведений об исследуемом объекте, включая файлы априорных данных, в базу данных каротажного регистратора.
По прибытию на скважину персонал каротажной партии (отряда) выполняет следующие подготовительные операции:
- проверяет подготовленность бурящейся либо действующей скважины к исследованиям и работам согласно техническим условиям на их подготовку для проведения ГИС и подписывает акт о готовности скважины к проведению исследований и работ;
- проверяет правильность задания, указанного в наряд-заказе, и при необходимости уточняет его с представителем недропользователя;
- устанавливает каротажный подъёмник в 25-40 м от устья скважины так, чтобы ось лебёдки была горизонтальной и перпендикулярной направлению на устье скважины; затормаживает и надежно закрепляет подъёмник, подкладывая клинья под его колеса; крепит датчики натяжения и глубины на выносной консоли (в зависимости от конструкции подъёмника);
- устанавливает лабораторию в 5-10 м от подъёмника таким образом, чтобы из её окон и двери просматривались подъёмник и устье скважины;
- заземляет лабораторию и подъёмник с помощью отдельных заземлений (сопротивление заземления лаборатории, подъёмника и контура буровой должно быть не более 4 Ом);
- выполняет внешние соединения лаборатории и подъёмника между собой силовым и информационными кабелями;
- подключает станцию к сети переменного тока, действующей на скважине, а при её отсутствии — к генератору автономной силовой установки, перевозимой подъёмником;
- сматывает с барабана лебёдки вручную или с помощью привода лебёдки, установив задний ход в коробке передач автомобиля, первые витки геофизического кабеля так, чтобы выпущенного конца кабеля хватило для подключения к кабельному наконечнику приборов, уложенных на мостках или на полу буровой;
заводит кабель в направляющий и подвесной ролики (блок-баланс) и устанавливает последние на свои штатные места;
- крепит направляющий ролик (блок) на специальном узле крепления, который постоянно закреплён на основании буровой на расстоянии не более 2 м от ротора таким образом, чтобы средняя плоскость его ролика визуально проходила через середину барабана лебёдки каротажного подъёмника;
- устанавливает на направляющем ролике (блоке) датчик глубины, если он не установлен на консоли подъёмника. Узел крепления направляющего ролика (блока) должен быть испытан на нагрузку, в 3 раза превышающую номинальное разрывное усилие кабеля;
- вместо направляющего блока по согласованию с недропользователем можно устанавливать «роторный блок», закрепляя его установку массой ведущей трубы («квадрата») или бурильной трубы. На «роторном блоке» устанавливают датчики глубины и магнитных меток. В противном случае датчик магнитных меток устанавливают на столе ротора самостоятельно;
- подвешивает подвесной блок и датчик натяжения, если он не установлен на консоли подъёмника, к вертлюгу через штропы и элеватор или непосредственно на крюк через накидное кольцо на высоте не менее 15-20 м от пола буровой установки. Узел крепления подвесного блока должен быть испытан на нагрузку, превышающую номинальное разрывное усилие кабеля в 4 раза;
- подсоединяет к кабельному наконечнику первый скважинный прибор (сборку приборов, шаблон), проверяет его работоспособность на мостках, опускает прибор в скважину. Подъём прибора над столом ротора и спуск в устье скважины производят с помощью каротажного подъёмника, легкости (якоря), имеющейся на буровой, или другого грузоподъёмного механизма. Для захвата прибора применяют штопор, закреплённый на вилке, которую вставляют в пазы кабельного наконечника;
-устанавливает на счётчиках регистратора и панели контроля каротажа в подъёмнике нулевые показания глубин с учётом расстояния от точки отсчёта глубин (стола ротора буровой установки, планшайбы эксплуатационной скважины) до скважинного прибора.
В целях поддержания аппаратуры в рабочем состоянии и предотвращения выхода ее из строя необходимо после каждого ее подъема из скважины произвести текущее обслуживание:
1) обмыть аппаратуру струей воды
2) произвести ее разборку
3) протереть резьбы и посадочные места ветошью
4) демонтировать все уплотнительные резиновые кольца
5) очистить канавки под уплотнительные кольца, посадочные места и резьбы от грязи и смазать их смазкой
7) установить уплотнительные кольца
8) собрать аппаратуру
9) проверить крепление электронных плат
Примечания:
- не допускается установка резиновых уплотнительных колец с дефектами поверхности и в скрученном виде.
- на сочленяемых поверхностях, посадочных местах и в канавках под уплотнительные кольца не допускается наличие грязи, песка, металлической стружки и заусенцев.
- запасные уплотнительные кольца следует хранить в заводской упаковке в темном прохладном месте.
- при перерывах в применении аппаратуры более 5 дней полевая калибровка в 1 – 2 точках диапазона измерений производится еред спуском ее в скважину.
4.3 ОХРАНА ТРУДА
Правила техники безопасности при выполнении промыслово-геофизических работ включают в себя общие правила по работе с механизмами и электрооборудованием, положение по перемещению тяжелого оборудования и приборов, правила по использованию транспорта и перевозке людей, противопожарные мероприятия, а также правила техники безопасности при проведении исследований в скважинах и специальные мероприятия и правила при радиоактивном каротаже и прострелочно-взрывных работах. Ответственность за безопасность труда по геофизическому предприятию (управлению, тресту, конторе) возлагается на главного инженера, в геофизических партиях (отрядах) за выполнение требований по технике безопасности отвечает начальник партии (отряда).
Основные правила техники безопасности при производстве промыслово-геофизических работ:
При работе на буровой требуется надежно закрепить подъемник, подложив под колеса специальные упоры, проверить исправность тормозных механизмов лебедки, убрать посторонние предметы и очистить площадку между подъемником (станцией) и устьем скважины.
Во время работы подъемника запрещается его ремонтировать, производить заправку двигателя, укладывать кабель руками, касаться его и поправлять на нем метки.
Измерения в работающих скважинах при наличии на их устье давления должны производиться через специальный сальник лубрикатора, обеспечивающий герметичность скважины во время проведения ГИС.
При сильном натяжении кабеля, а также во время ликвидации прихватов в скважине, запрещается находиться между лебедкой и устьем скважины.
При работах на буровой запрещается пользоваться силовой сетью напряжением выше 380 В. Корпуса автомобилей, измерительных стендов, лебедки должны быть заземлены. Подключение станции к электросети должно производиться электромонтером или специально проинструктированным инженерно-техническим работником партии.
Собирать и разбирать схемы и производить ремонтные работы на станции разрешается только при выключенном источнике напряжения.
Работа со взрывчатыми материалами может производиться только при условии полного и твердого знания «Единых правил безопасности при взрывных работах».
Лица, производящие взрывы и прострелочные работы в скважинах, а также зарядку и разрядку стреляющих аппаратов, должны иметь «Единую книжку взрывника», удостоверяющую право на производство этих работ.
Все работы, связанные с применением радиоактивных веществ в закрытом или открытом виде, проводятся с соблюдением «Основных санитарных правил работы с радиоактивными веществами и другими источниками ионизирующих излучений».
Все работающие с радиоактивными веществами и источниками ионизирующих излучений должны проходить периодически медицинский осмотр, должны быть обучены безопасным приемам работы, знать правила пользования санитарно-техническими устройствами, защитными приспособлениями, сдать администрации соответствующий техминимум.
4.4 ОХРАНА НЕДР
Вопросы охраны недр при эксплуатации нефтяных и газовых месторождений регламентируются Основами законодательства о недрах и Правилами разработки нефтяных месторождений и эксплуатации скважин.
Ввод нефтяного и газового месторождения в разработку допускается при наличии отчета о результатах разведочного бурения, разведанных запасов, утвержденных ГКЗ РФ, технологической схемы или проекта разработки этого месторождения, проектов горного и земельного отводов, оформленных и утвержденных органами Госгортехнадзора. Горный отвод - это часть земельных недр, предоставляемая предприятию для промышленной разработки содержащихся в ней полезных ископаемых. Размеры горного отвода определяются границами разведанного месторождения.
Земельный отвод - это земельный участок, предоставляемый нефтегазодобывающему предприятию для строительства промысловых объектов в размерах установленных техническими нормами.
Основное условие предоставления горного и земельных отводов - обеспечение комплексного использования всех полезных ископаемых, охрана недр и окружающей среды на территориях выделенных и смежных земельных участков.
В соответствии с Основами законодательства о недрах правила разработки нефтяных и газовых месторождений предусматривают следующие основные требования охраны недр: применение наиболее рациональных и эффективных методов добычи нефти, газа и сопутствующих компонентов, имеющих промышленное значение; недопущение сверхнормативных потерь полезных ископаемых, а также выборочной отработки наиболее продуктивных и легкодоступных участков залежи, приводящей к необоснованным потерям балансовых запасов и ухудшению показателей разработки залежи в целом; осуществление доразведки месторождений и иных геологических работ, проведение маркшейдерских работ и ведение необходимой, предусмотренной правилами геолого-технологической документации; учет состояния, движения запасов и потерь полезных ископаемых; недопущение порчи запасов разрабатываемых и рядом расположенных месторождений, а также сохранение полезных ископаемых, консервируемых в недрах; сохранение и учет попутно добываемых, но временно не используемых полезных ископаемых, а также отходов производства, содержащих полезные ископаемые; соблюдение правил по безопасному ведению работ и охраны окружающей среды. Эти требования выполняются при соблюдении тех же правил, что и при разбуривании месторождений.
Основные методы охраны подземных вод следующие: использование подземных вод по замкнутому циклу (оборотное водоснабжение); пополнение запасов подземных вод; барражи - создание барьера повышенного давления, преграждающего путь загрязненным водам к водозабору; подземное захоронение стоков; изоляция водоносных горизонтов в скважинах; установление санитарно-охранных зон.
Основной метод охраны подземных вод нефтяных и газовых месторождений от загрязнения - изоляция соответствующих пластов в скважинах. Если загрязнение уже произошло, можно применить дренажи и барражи на участках между скважинами-загрязнителями и водозаборами. Защита поверхностных водоемов от стоков промышленных предприятий предусмотрена Правилами охраны поверхностных водоемов от загрязнения сточными водами. К важнейшим мероприятиям, предотвращающим загрязнение вод, относятся: широкое внедрение в районах добычи нефти замкнутых систем водоснабжения с ограниченным забором свежей пресной воды; внедрение эффективных методов подготовки нефти, газа и пластовых вод с целью снижения потери У В; использование передвижных металлических емкостей для сбора нефти при освоении, глушении и подземном ремонте скважин; использование эффективных диспергирующих средств для удаления нефти и нефтепродуктов с поверхности водоемов.
В процессе эксплуатации месторождений нефти и газа актуальное значение имеет и охрана атмосферы на нефтяных и газовых промыслах. Вредные выбросы веществ в атмосферу загрязняют окружающую среду, изменяя, в частности, физические, химические и биологические характеристики воздушного бассейна. К наиболее массовым загрязнителям атмосферы при добыче нефти и газа относятся сернистый газ (СОз), оксиды азота, углерода (угарный газ), нефтяные газы, летучие вещества (ароматические углеводороды, спирты, эфиры, кетоны и другие).
Особое внимание к природоохранным мероприятиям должно проявляться при применении новых методов воздействия на пласт. В частности, необходимо неукоснительно соблюдать правила работы с химическими реагентами, не допускать неуправляемого течения термических реакций при использовании тепловых методов.
Ввиду многообразия и сложности вопросов охраны недр и окружающей среды в нефтегазовой промышленности особенную актуальность приобретают своевременное выявление ситуации возможного нанесения вреда недрам и окружающей среде, выбор и осуществление конкретных природоохранных мероприятий.
ЗАКЛЮЧЕНИЕ
В данной курсовой работе я рассмотрел применение бокового каротажа для определения удельного электрического сопротивления горных пород на Туймазинской площади.
Преимуществом бокового каротажа является возможность его применения в скважинах, заполненных высокоминерализованной промывочной жидкостью. Применение обычных градиент и потенциал зондов в таких скважинах не эффективно.
При проникновении в пласт жидкости высокой минерализации сопротивление прискважинной части пласта понижается, что практически не влияет на показания, зарегистрированное зондами БК, т.е. кажущееся удельное электрическое сопротивление близко к истинному. В случае проникновения фильтрата промывочной жидкости, повышающего сопротивление пласта, использование показаний для определения истинного удельного сопротивления пласта становится малоэффективным.
Также хорошие результаты получаются при применении бокового каротажа в разрезах, представленных малопористыми породами, для которых наблюдается большее отношение удельного сопротивления пород к удельному сопротивлению бурового раствора.
Была рассмотрена методика снятия отсчёта и введение поправок за мощность пласта и за влияние скважины, рассчитан коэффициент трехэлектродного зонда, рассмотрена аппаратура, применяемая при боковом каротаже.
СПИСОК ИСПОЛЬЗОВАННОЙ ЛИТЕРАТУРЫ
1. Дьяконов Д. И., Леонтьев Е. И., Кузнецов Г. С. «Общий курс геофизических исследований скважин» М., Недра 1977
2. С. Г. Комаров. Геофизические методы исследования скважин. М., Недра
3. Итенберг И. И. «Интерпретация результатов ГИС» М., Недра 1987
4. Латышова М. Г., Вендельштейн Б. Ю., Тузов В. П. « Обработка и интерпретация ГИС» М., Недра 1975
5. Огородников С. Г. « ГИС» Екатеринбург 2005
|