|
Самый перспективный бизнес на рынке техники — автосервис. Спрос на автосервис постоянно увеличивается. Парк автомашин будет расти еще много лет, так как развивающаяся экономика требует все больше техники. Сотни тысяч новых предприятий, приобретающих технику, не обзаводятся ремонтной базой, рассчитывая на сервис производителей. Потребители новейших моделей не могут ремонтировать их сами, не желая затрат на специальное оборудование и обучение ремонтников.
Срочная организация сервисных инфраструктур для обеспечения подъема экономики исправной техникой — задача стратегическая. Темпы подъема экономики зависят и от сроков ремонта эксплуатируемой предприятиями техники. Более того, развитие сервисной инфраструктуры — это подъем одной из отраслей экономики, которая будет приносить налоговые отчисления.
На этапе становления и развития рыночных отношений в России автомобильный транспорт и автосервис получили новый импульс для своего развития и являются одной из наиболее быстроменяющихся и растущих подотраслей национальной экономики.
Основными факторами, влияющими на эффективность работы автосервиса, являются правильная организация технологического процесса и наличие необходимого (и, что не менее важно) достаточного количества квалифицированных специалистов для проведения как непосредственно авторемонтных операций, так и вспомогательных. Это необходимые условия, без выполнения которых рентабельность автосервиса окажется обязательно ниже ожидаемой. Само собой разумеется, что к числу необходимых условий следует обязательно добавить оснащенность каждого поста обязательным инструментом и оборудованием.
Теперь о менее очевидном, но влияющим на выработку автосервиса в огромной степени. Имеется в виду грамотная планировка рабочей площадки. Правильная планировка мастерской и организация работ в ней способны (без дополнительных затрат!) повысить прибыльность предприятия минимум на 50%.
Автосервис должен производить благоприятное впечатление на клиентов. Рынок автосервиса расширяется с каждым днем и потребители уже могут выбирать между сервисными станциями. Впервые прибывший клиент оценивает, прежде всего, удобство подъезда, наличие четко обозначенной указателями стоянки и ее минимальную удаленность от приемной зоны автосервиса. Чистота, обозримость и некоторый шик уже на подходе к предприятию обычно отмечаются клиентами. Оказавшись в приемной зоне, клиент уже чувствует доброжелательность или некомфортную атмосферу. Привлекательные здания, интерьер, удобные рабочие места, комфортные социальные помещения — это весьма ценные "основные средства", серьезные факторы для привлечения кадров и клиентов. Хорошие помещения и энергичная маркетинговая политика способствуют успешному бизнесу. Помещения должны рассматриваться с точки зрения и заказчиков, и служащих, и управленцев. Многие выбирают автосервис из-за более удобного расположения. Идеальное расположение автосервис, по мнению клиентов — либо близко от их дома, либо от работы. Важно, чтобы общественным транспортом можно было легко добраться от него домой и до него за получением отремонтированной машины. Возле крупных торговых центров автосервисные мастерские удобны для таких работ, которые можно выполнить, пока клиент ходит за многочисленными покупками, т. е. в течение 1—2 часов.
Приоритетные задачи современного автосервиса формулируются следующим образом:
· неукоснительное выполнение персоналом обязанностей и функций, зафиксированных в должностных инструкциях;
· постоянная забота об улучшении внешнего вида и интерьеров предприятия;
· периодическая модернизация всех зданий, сооружений и оборудования с целью максимального удовлетворения потребностей клиентов и сотрудников предприятия;
· приведение количества рабочих мест и кадровых возможностей в соответствие с фактическим наличием заказов;
· увеличение прибыли посредством рационального управления предприятием и непрерывного контроля за показателями его эффективности.
· учет и контроль рабочего времени по организационно-экономическим критериям;
· сокращение количества послеремонтных рекламаций путем повышения качества работы и контроля, использование специальных программ для регулярного выборочного контроля;
· оказание действенной помощи во всех аварийных случаях;
· организация технической помощи на дороге и эвакуации неисправных автомобилей силами предприятия;
· применение рекомендованных изготовителем машин нестандартных инструментов и приспособлений, аппаратуры и оборудования;
· проверка, пополнение и эффективное использование всех имеющихся информационных материалов;
· целенаправленное повышение квалификации работников в курсовых и семинарских и других учебных мероприятиях.
Автосервисы ориентированы на выполнение следующих задач:
· коммерческое регламентное обслуживание техники;
· коммерческое предупредительное обслуживание (регулировки и т. п.);
· коммерческое реабилитационное обслуживание (ремонт);
· гарантийный ремонт машин (если заключен договор с фирмой-продавцом;
· установка дополнительного оборудования (тюнинг);
· ремонт подержанных узлов и агрегатов для фонда восстановленных запасных частей;
· уход за машинами (мойка, полировка, чистка салона и т. д.).
В дипломной работе проводится анализ сервисных характеристик АТП 10 г. Новомосковска. Предлагается для повышения конкурентоспособности этого предприятия создать на его территории поста технического обслуживания и ремонта карбюраторов двигателей легковых автомобилей.
Хорошо известно, что основные эксплуатационные характеристики бензинового двигателя - мощность, экономичность, экологичность - в значительной степени определяются применяемой системой топливоподачи. В системе топливоподачи важное место занимает карбюратор.
Целью дипломного проекта являются создание на базе АТП 10 поста технического обслуживания и ремонта карбюраторов двигателей легковых автомобилей. На этом посту могут не только проверить работоспособность карбюратора двигателя легкового автомобиля, но и провести комплекс работ по восстановлению нормального функционирования этого важного узла в автомобиле. В аналитической части дипломного проекта производится анализ существующих конструкций карбюраторов, который предполагает детальное и углубленное ознакомление с агрегатами и узлами этого важного узла автомобиля. Здесь же большое внимание уделяется систематизации приемов поиска неисправностей в работе карбюратора и способов их устранения.
В дипломном проекте предложено современное оборудование для оснащения поста технического обслуживания и ремонта карбюраторов двигателей легковых автомобилей и предложены новые формы эффективной организации работ по техническому обслуживанию и ремонту карбюраторов двигателей легковых автомобилей.
Дипломный проект состоит из введения, аналитической и проектной частей, раздела по безопасности жизнедеятельности и организации труда, заключения и списка использованной литературы.
В заключении дипломного проекта обобщены результаты проведенной работы, сформулированы выводы и предложения.
Рассмотрим сервисные характеристики ЗАО «Автотранспортное предприятие № 10» (АТП10) г. Новомосковска, проведем анализ его конкурентоспособности и ознакомимся с технологиями выполнения работ по техническому обслуживанию и ремонту автомобилей, в том числе по техническому обслуживанию и ремонту карбюраторов двигателей легковых автомобилей.
1.1 Сервисные характеристики АТП 10
Одной из важных проблем, стоящих перед автомобильным транспортом, является повышение эксплуатационной надежности автомобилей и, в первую очередь – легковых, количество и разнообразные марки которых с каждым годом существенно возрастают. На дорогах страны эксплуатируются как отечественные марки автомобилей, так и иностранные.
Для повышения эксплуатационной надежности автомобилей применяются прогрессивные технологические процессы технического обслуживания и ремонта. Первоочередным для автопредприятия является участок диагностики машин.
Изучение теории и практики ведения ТО и ремонта, а также обзор опыта работы АТП 10 позволяют сформулировать следующие основные требования к новому, многофункциональному предприятию по обслуживанию, ремонту и оказанию различных видов услуг владельцам легковых автомобилей индивидуального пользования:
· многофункциональное предприятие наряду с функцией обслуживания и восстановления технического состояния автомобиля должна обеспечивать возможность оказания различных видов услуг как автомобилю, так и его владельцу;
· предприятие (одновременно являясь малым) должно иметь соответствующую производственную площадь для размещения функциональных блоков по реализации ряда необходимых видов услуг, ТО и ремонта, полностью соответствовать требованиям нормативно-законодательных документов, касающихся охраны труда и техники безопасности;
· для качественного и быстрого выполнения ремонтных работ производственные блоки должны быть оснащены современным технологическим оборудованием и компьютерными стендами для диагностики;
· оптимальный объем необходимых запасных частей должен быль рассчитан на основе анализа статистических данных по отказам деталей и своевременно пополняться;
· предприятие не должно иметь ограничений по маркам ремонтируемых автомобилей (отечественные легковые автомобили, микроавтобусы, иностранные);
· для качественного выполнения видов работ с высокой надежностью изделий предприятие должно на основании требований методик профотбора подобрать соответствующих специалистов (автослесарей-ремонтников) с высокими профессиональными знаниями;
· для организации досуга владельцев ремонтируемых автомобилей помимо посещения магазина должны быть предусмотрены различные интеллектуальные и бытовые услуги.
Изложенные требования обуславливают ряд специфических особенностей организации и ведения различных видов услуг, диагностики и ремонта. Наиболее полно этому будет отвечать предприятие, комплексно решающее вопросы: диагностики, услуг, ремонта, оценки эффективности, надежности и экологической безопасности различных легковых автомобилей индивидуального пользования.
На производственных площадях АТП 10 предлагается организовать пост технического обслуживания и ремонта карданной передачи легковых автомобилей населения. Это существенным образом улучшит сервисные характеристики АТП 10.
Эффективность реконструированного предприятия во многом будет зависеть от выбора выполняемых работ, внедрения в производство современного технологического оборудования, средств диагностики и совершенствования организации обслуживания граждан.
1.1.1 Расположение АТП 10
АТП 10 находится по адресу: Тульская область, г. Новомосковск, ул. Космонавтов. Подъезды к комплексу осуществляются с ул. Техническая, заезд на территорию комплекса осуществляется с пер. Южный через контрольно-пропускной пункт. Рядом с автотранспортным предприятием имеются асфальтированные места стоянки автомобилей, размеры которых позволяют водителям свободно маневрировать. Для удобства клиентов и для обслуживающего персонала парковка расположена напротив и внутри предприятия.

Рисунок 1.1 – Расположение АТП 10
1.1.2 Виды оказываемых услуг
АТП 10 оказывает следующие услуги:
· ремонт и диагностика ходовой части автомобиля;
· ремонт и замена сцепления;
· ремонт тормозной системы;
· замена масла;
· ремонт двигателя;
· регулировка сход - развала;
· ремонт коробки передач;
· регулировка инжектора;
· ремонт и регулировка карбюратора;
· диагностика и устранение неполадок в электрической системе автомобиля.
На все виды оказываемых услуг имеются сертификаты соответствия.
Накопленный на АТП 10 опыт позволяет предполагать, что развернутый на его территории пост по техническому обслуживанию и ремонту карданных передач легковых автомобилей сможет быстро стать конкурентоспособным и приносить предприятию ощутимую прибыль.
Для этого нужно, прежде всего, провести анализ работ, выполняемых при техническом обслуживании и ремонте карданных передач и выбрать те из них, которые смогут принести наибольшую прибыль. После этого провести анализ присутствующего на рынке оборудования и выбрать для оснащения поста наиболее производительное и не дорогое. Продумать технологию выполнения работ. Не многие автосервисы города предоставляют эту услугу, поэтому можно считать, что данное предприятие с уже существующей базой имеет ощутимые преимущества, по сравнению с конкурентами.
1.1.3 Характеристика персонала
На предприятии работают специалисты разной квалификации. Среди них:
· производственные рабочие по ТО и ТР – 26 человек;
· ИТР и служащие – 28 человек;
· административно-управленческий персонал – 1 человек.
Квалификация персонала достаточно высокая. Каждый из работников компетентен в своей области и постоянно расширяет круг своих знаний и навыков. Сотрудники проходят дополнительное обучение, занимаются самообразованием, повышают свою квалификацию.
Внешний вид персонала не сильно отличается от внешнего вида сотрудников других автосервисов – все одеты в форменную рабочую одежду (комбинезоны, либо костюмы).
При желании, клиент может пообщаться с персоналом, ремонтирующим его автомобиль – мастера ответят на все интересующие вопросы, касающиеся выполняемых работ, вежливо и в удобной для восприятия форме.
1.1.4 Доступность и удобство пользования сервисом. Работа с клиентами
Режим работы АТП 10: ежедневно с 9:00 до 19:00, выходной – воскресенье. В праздничные дни предприятие не работает.
Реклама АТП 10 практически нигде не встречается. Однако предприятие хорошо известно в городе. Имеется указатель на ул. Космонавтов (на подъезде к предприятию), а также адрес, телефон и обозначение на схеме города в справочнике «Деловой посредник» (рекламно-информационный справочник-указатель).
Основной же рекламой, являются отзывы клиентов, передающиеся устно от человека к человеку, а также, встречающиеся на форумах региональных сайтов.
Прием клиентов осуществляется непосредственно на территории предприятия. По поводу выполнения работ, оплаты, стоимости услуг и другим организационным вопросам клиент должен обратиться к старшему мастеру. Цены зависят от сложности выполняемых работ. В среднем, они не сильно отличаются от цен основных конкурентов.
При оформлении договора фиксируются регистрационный номер автомобиля, а также номер телефона его владельца на случай оперативной связи с клиентом, во время долгосрочного ремонта.
Нахождение клиента в ремонтной зоне неприемлемо, так как это может угрожать его безопасности. Специального места ожидания для клиентов не предусмотрено, что является существенным минусом для имиджа предприятия. Клиент вынужден, зачастую, ждать «на улице» или находиться в ремонтной зоне, подвергая себя различным опасностям. Оплата выполненных услуг производится после их выполнения.
Покупку запасных частей клиент осуществляет сам. Однако, по договоренности, это могут сделать и сами мастера, при условии, что клиентом будет оставлен аванс.
На все виды работ, кроме регулировки углов установки колес, существует гарантийный срок. В среднем, он составляет 6 месяцев. На ремонт двигателя гарантия – 1000 км, при регулярном ТО, выполняемом на этом же предприятии.
Въезд и выезд автомобилей из боксов (постов ремонта) и с территории предприятия осуществляется с разрешения мастера и под руководством специалиста, осуществляющего ремонт, поскольку пространство для маневрирования на стоянке зачастую бывает сильно ограничено из-за скопления автомобилей, находящихся на ремонте или наоборот, ожидающих своей очереди.
1.1.5 Конкурентоспособность АТП 10
На сегодняшний день российский рынок услуг автосервиса находится на стадии развития. В первую очередь на его развитие влияет растущий большими темпами отечественный рынок автомобилей, который является одним из наиболее перспективных в Европе и имеет шансы через несколько лет выйти на лидирующие позиции. В России пока существует только одна сеть автосервисов федерального масштаба, хотя данный вид услуг с каждым становятся все более востребованными, а число автомобилей в России стремительно растёт.
Чтобы быть конкурентоспособным, предприятие должно обладать конкурентными преимуществами перед другими субъектами рынка.
Под конкурентными преимуществами предприятия следует понимать реальные или потенциальные возможности, характеристики его производственной, финансовой, маркетинговой и иной деятельности, позволяющей предприятию в условиях конкурентной борьбы реализовать свои экономические интересы с большей эффективностью, чем его конкуренты.
Уровень автосервисного обслуживания должен отражать объем и структуру услуг (количественные показатели) и качества предоставления этих услуг населению (качественные показатели).
Уровень конкурентоспособности в основном определяется уровнем конкурентоспособности выполняемых услуг, которая в свою очередь обеспечивается степенью привлекательности услуг для конкретного потребителя. Кроме того конкурентоспособность зависит от изменений во внешней среде, включая конкурентов, а также от изменений в самой фирме, способствующих росту ее эффективности по сравнению с другими фирмами. Известно, например, что уровень производительности труда, качество услуг в значительной мере зависят от применяемых способов мотивации труда работников предприятия и других внутрифирменных факторов.
Основными направлениями повышения уровня конкурентоспособности предприятия являются:
· повышение качества выполняемых услуг;
· сокращение времени выполнения заказов;
· диверсификация производства (услуг);
· применение гибкой ценовой политики, в основе которой лежат скидки и льготные цены за услуги;
· применение мер, направленных на повышение общей культуры и репутации предприятия, вежливого и уважительного отношения к клиентам, создания удобств для клиентов.
Основная роль в создании клиентоориентированной культуры в компании принадлежит менеджменту. Персонал компании хорошо понимает значение и задачи сервиса. Для создания и продвижения клиентоориентированной культуры менеджмент предприятия предпринимает следующие действия:
· доносит до персонала подразделений цели, которых компания пытается достичь;
· вовлекает сотрудников конкретных подразделений в разработку соответствующих стандартов обслуживания;
· регулярно включает вопросы обслуживания клиентов в повестку встреч рабочих групп;
· создает систему стимулирования для сотрудников, оказывающих лучший сервис;
· поощряет улучшения в сфере обслуживания клиентов;
· демонстрирует этичное поведение;
· периодически осуществляет контакт с клиентами с целью выяснения их потребностей и проблем в обслуживании;
· создает атмосферу, направленную на постоянное улучшение сервиса;
· создает систему измерения качества обслуживания и сделать результаты доступными для всех сотрудников;
· перенимает лучшую практику обслуживания внутри и вне компании;
· обучает новых сотрудников и посвящать их в идеологию клиентоориентированного бизнеса с момента найма;
· упрощает процедуры, правила, инструкции и прививать сотрудникам философию заботы о клиенте, которая будет реализовываться в соответствующие поступки, так как понимание чаще приводят к правильным действиям, чем формальные инструкции;
· отстраняет сотрудника от контактов с клиентами, если он не обслуживает их должным образом.
Сервис на предприятии организован таким образом, чтобы предоставлять клиентам возможность:
· инициировать запрос в удобное для них время;
· покупать (заказывать) товары или услуг;
· изменять информацию о себе и заказываемых услугах, например адрес доставки, удобное проведение работ;
· просматривать и оплачивать свои счета;
· проверять состояние заказчика;
· вносить изменения в текущий заказ на некоторых стадиях его выполнения;
· контактировать с представителем компании в любой момент процесса обслуживания.
Важную роль в привлечении клиентов имеет представление им информации о предприятии и его услугах через рекламу. Рекламы недостаточно. О данном предприятии можно узнать преимущественно от людей, ремонтировавших там свой автомобиль, а также из рекламно-информационного справочника-указателя «Деловой посредник». Рекламный щит-указатель, расположенный на повороте к автосервису, недостаточно больших размеров, чтобы его можно было легко заметить, кроме того, он недостаточно информативен.
АТП 10 находится непосредственно вблизи оживленной улицы. Удобный подъезд. Можно легко добраться на общественном транспорте практически из любого района города.
АТП 10 предоставляет достаточно полный перечень услуг по ремонту и обслуживанию автомобилей.
Квалификация персонала высокая, что подтверждается хорошим качеством оказания услуг. Также об этом свидетельствуют, преимущественно, положительные отзывы клиентов.
Размеры стоянки, находящейся на территории и рядом с предприятием, достаточно для размещения большого числа автомобилей. На ней можно свободно маневрировать.
Наличие собственных запасных частей на предприятии не предусмотрено, как не предусмотрено и магазина на территории предприятия. Предполагается, что комплектующие клиент приобретет сам, после согласования (или без него) со специалистом, ремонтирующим его автомобиль.
В автосервисе отсутствует комната ожидания, где клиенты могут провести время, в ожидании своего автомобиля при ремонте или ТО.
Предприятие является одним из старейших в городе, то соответственно, и оборудование (подъёмники, некоторое диагностическое оборудование и прочее) нуждаются в обновлении или замене на более современные, что может существенно повысить скорость и качество выполнения работ, а, соответственно, и доход предприятия.
Поднять конкурентоспособность предприятия помогло бы заключение договоренности с ГИБДД. Так как на территории АТП-10 находится станция технического осмотра, клиенты не прошедшие ТО имели бы возможность устранять неполадки на месте. Но, к сожалению, такая договоренность еще не заключена. Не меньшую роль может сыграть открытие поста технического обслуживания и ремонта карданной передачи легковых автомобилей для населения.
1.1.6 План автотранспортного предприятия № 10
Предприятие занимает большую площадь. На этой площади расположено два цеха по ремонту грузовых и легковых транспортных средств и центральный склад по хранению запасных частей. В помещениях предприятия имеется освещение, отопление и вентиляция. Также на территории предприятия расположено здание административно-управленческого персонала. На территории АТП-10 располагается станция технического обслуживания с прилегающими к ней стоянкой ожидающих ТО и стоянкой прошедших ТО.

Рисунок 1.2 – Схема движения транспортных средств по территории «АТП-10»: 1 - проходная, 2 - цех №1,3- агрегатный цех, 4 - административное здание, 5-пункт технического осмотра, 6 - стоянка транспортных средств «АТП-10», 7 -склад металла, 8 - стоянка транспортных средств ожидающих ТО, 9 - стоянка транспортных средств, прошедших ТО, 10 - служебная стоянка.
1.2 Принципиальное устройство системы питания легкового автомобиля
Система питания предназначена для хранения запаса топлива на автомобиле, очистки топлива и воздуха, образования горючей смеси, подвода ее в цилиндры двигателя и отвода от них отработавших газов. Система питания карбюраторного двигателя должна обеспечивать высокую надежность работы двигателя в различных условиях эксплуатации автомобиля, заданный расход топлива, минимальное загрязнение окружающего воздуха отработавшими газами, безопасность в пожарном отношении, удобство диагностики и технического обслуживания.

Рисунок 1.3 – Принципиальная схема системы питания карбюраторного двигателя: 1 - указатель уровня топлива; 2 - датчик указателя уровня топлива; 3 - крышка горловины топливного бака; 4 - топливный бак; 5 - глушитель; 6 - фильтр отстойник; 7 - приемная труба; 8 - двигатель; 9 - топливный насос; 10 - фильтр тонкой очистки топлива; 11 -выпускной трубопровод; 12 - впускной трубопровод; 13 - воздушный фильтр; 14 -карбюратор.
При работе двигателя топливо (бензин) из бака закачивается насосом и, проходя через трубопроводы и топливные фильтры, подается в карбюратор, где распыливается и смешивается в определенной пропорции с воздухом, который поступает в карбюратор через воздушный фильтр. Такая смесь топлива и воздуха приготовленная в карбюраторе называется горючей смесью
, которая по впускному трубопроводу подводится в каждый цилиндр двигателя при такте впуска. В цилиндре горючая смесь смешивается с продуктами сгорания, оставшимися после предыдущего такта, и образует рабочую смесь
. Далее при такте сжатия рабочая смесь сжимается. В конце такта сжатия она воспламеняется от искрового разряда свечи зажигания и сгорает, увеличиваясь в объеме и совершая полезную работу на перемещение поршня. Образовавшиеся при такте рабочего хода отработавшие газы при такте выпуска отводятся через глушитель в атмосферу. В системах питания различных карбюраторных двигателей могут быть некоторые конструктивные отличия. Так, для уменьшения шума при впуске воздуха в карбюратор между воздушным фильтром и карбюратором могут быть установлены глушители шума впуска.
Топливные фильтры для двигателей легковых автомобилей иногда выполняют совместно с карбюратором или топливным насосом. Отдельное исполнение этих фильтров, как правило, принимают для двигателей грузовых автомобилей и автобусов. Для защиты двигателя от чрезмерного повышения частоты вращения коленчатого вала, что может быть при работе двигателя без нагрузки, в системе питания предусматривают ограничитель частоты вращения. Обычно такие ограничители устанавливают на карбюраторах двигателей грузовых автомобилей (например, автомобиль ЗИЛ-130). Приборы системы питания двигателя соединены между собой металлическими топливопроводами, а также шлангами из маслобензостойкой резины или пластмассы.
1.2.1 Устройство и работа простейшего карбюратора
Для грамотной эксплуатации карбюратора необходимо изучить прежде всего конструктивные его особенности и понять принципы работы систем на различных режимах, знать возможные неисправности и разрегулировки, причины возникновения, а также методы их обнаружения и устранения.

Рисунок 1.4 – Принципиальная схема простейшего карбюратора: 1 - поплавковая камера; 2 – рычаг; 3 – поплавок; 4 – игла; 5 - топливный клапан; 6 - топливный канал; 7 - распылитель; 8 - главный воздушный канал; 9 – диффузор; 10 - дроссельная заслонка; 11 - топливный жиклер.
В поплавковой камере за счет поплавка с иглой и топливного клапана поддерживается постоянный уровень топлива h, поступающего из бензинового бака. Главный воздушный канал обеспечивает подачу воздуха в карбюратор. В средней части он сужается, образуя диффузор, предназначенный для увеличения скорости воздушного потока и обеспечивающий улучшение условий испарения топлива и смесеобразования. Дроссельная заслонка 10 предназначена для изменения количества горючей смеси, поступающей в цилиндры двигателя в соответствии с требуемой мощностью.
Истечение из жиклера топлива сопровождается затратой энергии на его поднятие к распылителю 7. Распад струи топлива начинается при разности скоростей движения топлива и воздушного потока равной 4—6 м/с. В современном карбюраторе размер капель составляет 20—120 мкм. Оптимальной является величина капель равная 50 мкм. При этом мелкость распыливания (дробления) топлива уменьшается с повышением температуры топлива за счет снижения коэффициента поверхностного натяжения и увеличения разности относительной скорости топлива и воздушного потока.
Скорость истечения топлива в 25 раз меньше скорости воздушного потока. Работа карбюратора осуществляется в соответствии с эжекционным (пульверизационным) принципом. Под действием разрежения, представляющим разность между давлением в поплавковой камере и в диффузоре карбюратора, топливо из поплавковой камеры через топливный жиклер и распылитель поступает в диффузор, а затем в главный воздушный канал. В современных карбюраторах истечение топлива начинается при достижении разрежения 100 Па (10 мм вод. ст.). При меньших значениях через карбюратор поступает только чистый воздух.
Уменьшение давления в зоне распылителя обусловлено ростом скорости воздушного потока в диффузоре и местного сопротивления. При неработающем двигателе давление в поплавковой камере и в зоне распылителя в диффузоре одинаковое. При пуске двигателя разрежение, возникающее в цилиндре при ходе всасывания, передается через впускной трубопровод и главный воздушный жиклер в зону распылителя. В результате за счет возникшей разности давления в поплавковой камере и диффузоре топливо поступает из поплавковой камеры к распылителю и вытекает из него в главный воздушный канал, смешивается с воздухом и поступает в цилиндры.
Повышение скорости потока воздуха при его прохождении через диффузор приводит к дальнейшему снижению давления в зоне распылителя. Уменьшать сечение диффузора можно только до определенного предела, так как в дальнейшем это вызывает повышенное сопротивление для прохода воздуха, что сопровождается снижением мощности двигателя из-за уменьшения коэффициента наполнения цилиндров.
Образование горючей смеси в смесительной камере карбюратора происходит не в полном объеме. Часть топлива в виде капелек не успевает испариться и перемешаться с воздухом. Неиспарившиеся капельки топлива движутся в потоке воздуха и оседают на стенках смесительной камеры и впускного трубопровода. Топливо, осевшее на стенки, образует пленку, которая движется с малой скоростью. Чтобы испарить пленку топлива, впускной трубопровод при работе двигателя подогревается.
Чаще всего используется жидкостный подогрев (от системы охлаждения двигателя) или подогрев теплом отработавших газов. Таким образом, можно считать, что образование горючей смеси заканчивается в конце впускного трубопровода двигателя. В зависимости от направления потока воздуха в смесеобразующем устройстве карбюраторы подразделяются на несколько типов. Наиболее широко применяют карбюраторы, в которых горючая смесь движется сверху вниз.
Такие карбюраторы называют карбюраторами с падающим потоком смеси. Они обеспечивают высокие мощностные и экономические показатели и удобное для обслуживания расположение на двигателе. Карбюраторы с движением горючей смеси вверх называют карбюраторами с восходящим потоком. Они относятся к устаревшим конструкциям, и поэтому нами рассматриваться не будут. Для современных многоцилиндровых двигателей стали применять двухкамерные карбюраторы с параллельным и последовательным открытием дроссельных заслонок. Название «двухкамерные» карбюраторы получили по числу имеющихся в них смесительных устройств, или смесительных камер.
Двухкамерный карбюратор с параллельным открытием дроссельных заслонок имеет две смесительные камеры 2, одну поплавковую камеру 1 и две дроссельные заслонки 3, закрепленные на одной оси. При повороте оси дроссельные заслонки будут открывать сечение выпускных патрубков 4 карбюратора синхронно, обеспечивая параллельное действие смесительных камер. Каждая смесительная камера карбюратора отдельным трубопроводом соединяется с группой цилиндров и питает их горючей смесью.
Двухкамерный карбюратор с последовательным открытием дроссельных заслонок имеет примерно такое же устройство. Разница заключается лишь в приводе дроссельных заслонок и конструкции выпускного патрубка, который делается общим для обеих смесительных камер. При работе этого карбюратора вначале открывается дроссельнаязаслонка одной камеры (основной). Как только первая заслонка откроется на 70—80% от полного открытия, начинает открываться дроссельная заслонка второй камеры (дополнительной). При этом вступает в работу дополнительная смесительная камера, обеспечивая поступление в цилиндры большого количества горючей смеси.

Рисунок 1.5 – Двухкамерный карбюратор с параллельным открытием дроссельных заслонок: 1— поплавковая камера; 2 — смесительные камеры; 3 — дроссельные заслонки; 4 — выпускные патрубки карбюратора.
Число камер в карбюраторах не ограничивается двумя, но определяется числом и расположением цилиндров двигателя. Так на двигателе БМВ 740 установлен карбюратор, имеющий 4 камеры, причем работающий как два двухкамерных карбюратора с последовательным открытием дроссельных заслонок. Использование многокамерных (двухкамерных) карбюраторов позволяет улучшить наполнение цилиндров двигателя горючей смесью, так как уменьшаются потери напора смеси во впускных трубопроводах. Это объясняется тем, что смесь движется постоянно в одном направлении. Особенно хорошие результаты дают такие карбюраторы в V-образных двигателях, где каждая камера карбюратора снабжает горючей смесью один ряд цилиндров. Применение многокамерных карбюраторов обеспечивает увеличение мощности двигателя, снижение расхода топлива и токсичности отработавших газов. Это преимущество многокамерных карбюраторов наиболее полно проявляется у карбюраторов с последовательным открытием дроссельных заслонок.
1.2.2 Поплавковая камера
Поплавковая камера предназначена для аккумулирования (хранения) топлива, размещения средств его дозирования и поддержания уровня топлива в заданных пределах. Ее вместимость составляет в среднем 75—150 см3. Поплавковые камеры изготавливают заодно целое с корпусом. В качестве средств поддержания заданного уровня топлива применяют поплавковый механизм. Поплавковая камера современных карбюраторов выполнена с качающимся поплавком и гидравлически сообщена со всеми топливоподающими системами. Она содержит каналы подачи топлива, топливный канал и поплавок. Запорная игла топливного клапана выполнена с верхним или нижним вертикальным расположением. Конструкция с верхним расположением запорной иглы обеспечивает удобство в эксплуатации. Поплавок может быть выполнен одиночным или сдвоенным. В качестве материала поплавка используют металл или пористый материал. При нижнем расположении запорной иглы происходит накопление грязевого осадка, снижающего надежность работы клапана.
Преимущественное распространение получили поплавковые камеры с верхним подводом топлива. При верхнем расположении запорной иглы топливный клапан расположен в крышке карбюратора. Такая конструкция обеспечивает удобство в эксплуатации. Уровень топлива в поплавковой камере не сохраняется постоянным при различных режимах работы двигателя. На режимах XX он максимальный и уменьшается на несколько миллиметров на полной мощности двигателя. Для обеспечения большого расхода запорная игла с поплавком должна смещаться вниз, увеличивая проходное сечение у запорного конуса иглы. Последнее не оказывает отрицательного влияния на работу карбюратора, так как учитывается при подборе регулировок дозирующих систем. В период пуска горячего двигателя в его впускной системе образуется богатая горючая смесь, что резко затрудняет пуск, а иногда делает его совсем невозможным. Чтобы устранить это явление следует "проветрить" впускную систему и поплавковую камеру. Для этого ее необходимо соединить с зоной более низкого давления, т. е. с адсорбером. В этом случае давление внутри системы будет снято, а часть паров поступит в адсорбер.
Размещение поплавковой камеры по отношению к диффузору карбюратора играет важную роль. Оно может быть боковым или концентричным. Боковое размещение может сопровождаться самопроизвольной остановкой двигателя при движении автомобиля по кругу с левым поворотом. Наиболее заметное влияние поплавковая камера оказывает на работу форкамерного карбюратора. Отличие форкамерного карбюратора от обычного заключается в том, что форкамерная секция при линейном расположении всех трех камер оказывается заметно удаленной от центра объема поплавковой камеры. Принципиальная схема форкамерной секции содержит поплавковую камеру, сообщенную через ГТЖ форкамерной секции, эмульсионную трубку с воздушным жиклером и через распылитель с главным воздушным каналом, жиклер и канал СХХ. Наиболее рациональным является приближение расположения поплавковой камеры к главному воздушному каналу, так как в этом случае наблюдаются меньшие колебания уровня топлива. Изменение положения уровня топлива в поплавковой камере при боковом ускорении, возникающем при повороте автомобиля, сопровождается снижением уровня топлива в эмульсионной трубке относительно горизонтального уровня.
Через жиклер в СХХ поступает воздух из эмульсионной трубки. При этом нарушается устойчивая работа двигателя или происходит самопроизвольная его остановка. Положение уровня топлива зависит от интенсивности бокового ускорения автомобиля. Наиболее эффективно это решается путем использования в форкамерной секции собственной поплавковой камеры, расположенной непосредственно с главным воздушным каналом. Подобное техническое решение несколько усложняет конструкцию карбюратора. ОАО "ПеКАР" применена поплавковая камера сливного типа, расположенная в непосредственной близости к форкамерной секции и питаемой топливом от топливного клапана основной камеры. Схема дополнительной топливной камеры снабжена перегородкой с образованием дополнительной камеры, сообщенной через топливный жиклер с эмульсионной трубкой и через жиклер с системой XX. В крышке выполнен канал и размещен топливный клапан с каналами. Отдельная камера сливного типа расположена в непосредственной близости к главному воздушному каналу. При горизонтальном положении карбюратора и отсутствии боковых ускорений уровень топлива устанавливается общим для основной и сливной камер.
Уровень топлива при действии бокового ускорения или наклона автомобиля соответствует наклонной линии, не ухудшающей подачу топлива в СХХ. Для обеспечения надежной работы поплавкового механизма большинство карбюраторов снабжено устройством перепуска топлива в бензобак. Поплавковый механизм предназначен для поддержания постоянного уровня топлива в поплавковой камере независимо от количества топлива в бензобаке и значения давления, развиваемого бензонасосом. Уровень топлива автоматически устанавливается путем изменения проходного сечения отверстия клапана, перекрываемого запорной иглой с демпфирующим подпружиненным шариком на хвостовике, перемещаемой язычком кронштейна-держателя латунного поплавка. Когда топливо поступает к камере в небольшом количестве, поплавок поднимается вверх, язычок перемещает иглу и прижимает ее к седлу клапана, прекращая подачу топлива. При понижении уровня топлива топливный клапан снова откроется. Конструктивно поплавок может быть выполнен одиночным или сдвоенным. В качестве материала используют металл, пластмассу или пористые композиции. Все схемы карбюраторов типа "Озон" снабжены качающимися поплавками. Запорная игла топливного клапана выполнена с верхним расположением. Конструктивное выполнение поплавкового механизма карбюраторов типа "Озон" содержит входной штуцер с фильтром, топливные каналы, выполненные в крышке поплавковой камеры, топливный клапан с запорной иглой, подвешенной на оси и кинематически связанной с поплавком через язычок.
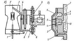
Конструктивное выполнение поплавкового механизма карбюраторов ДААЗ показано на рис. 1. Механизм содержит входной штуцер 1, фильтр 9, топливные каналы, выполненные в крышке 2 поплавковой камеры, прокладку 3, топливный клапан 4 с игольчатым клапаном 5, подвешенным на оси 8 и кинематически связанным с поплавком 6 через язычок 7.

Рисунок 1.6 – Поплавковый механизм
После остановки двигателя в поплавковой камере может происходить интенсивное испарение топлива. Излишнее количество паров в поплавковой камере приводит к переобогащению горючей смеси и, как правило, к ухудшению пуска горячего двигателя. Наиболее эффективным средством улучшения пусковых качеств горячего двигателя является вентиляция поплавковой камеры.
Остановка горячего двигателя сопровождается интенсивным испарением топлива в поплавковой камере. Повышенное количество паров топлива поступает во впускной тракт и сопровождается заметным переобогащением горючей смеси. Эффективным средством улучшения пусковых качеств горячего двигателя является применение системы внутренней и внешней вентиляции поплавковой камеры. Система внутренней вентиляции карбюратора сообщена через балансировочную трубку с главным впускным каналом, а внешняя — с атмосферой. Система внешней вентиляции получила название разбалансированной поплавковой камеры и реализована в конструкциях карбюраторов ВАЗ-2101, -2103 и -2106. В последующих конструкциях карбюраторов производства ДААЗ клапан разбалансировки поплавковой камеры исключен. В некоторых конструкциях карбюраторов топливные испарения, образующиеся после выключения двигателя, поступают в систему вентиляции через фильтр с активированным углем. Такое устройство дополнительно содержит пневматический клапан, сообщенный через термостат, управляющую и регенерирующую линию с главным воздушным каналом карбюратора. Пневматический клапан через соединительный канал сообщен с вентиляционным клапаном карбюратора, а через другой канал с фильтром, заполненным активированным углем. При температуре охлаждающей жидкости выше 50 °С накопленные топливные испарения из фильтра с активированным углем поступают в двигатель для их сжигания. По мере открытия дросселя пары бензина из задроссельного пространства поступают в двигатель. Современные конструкции многих карбюраторов оснащены системами улавливания паров бензина, содержащими емкости с угольным абсорбентом. Часть паров бензина при неработающем двигателе поглощается из поплавковой камеры и ВТ адсорбирующим элементом воздушного фильтра. Блок управления смесеобразованием обеспечивает включение соленоидного клапана, а разрежением из впускного трубопровода открывается пневмоклапан. При этом через патрубок и жиклер происходит продувка адсорбера.
Проверка системы заключается в определении исправности узлов и при необходимости замене их новыми. При негерметичности шлангов необходимо подтянуть хомуты крепления или заменить поврежденные шланги. Клапан адсорбера при подаче разрежения под диафрагму должен быть закрыт, а клапан продувки адсорбера при подаче разрежения — открыт. Гравитационный клапан в вертикальном положении должен быть открыт, а при наклоне его более чем на 90° — закрыт. Прогрессивные конструкции современных карбюраторов оснащены системами улавливания паров бензина, содержащими емкости с угольным абсорбентом Ограничитель разрежения Данное устройство представляет собой систему впуска дополнительного воздуха во впускной тракт двигателя. Эта система предназначена для устранения хлопков в выпускной системе при работе двигателя на режимах ПХХ. Принципиальная схема системы впуска воздуха во впускной тракт двигателя (рис. 2) состоит из электронного блока 2 управления, вакуумного выключателя 12 и электромагнитных клапанов 3 и 5, снабженных седлами 14 и 7 с различными проходными сечениями. Электронный блок 2 управления представляет собой устройство, электронная схема которого в зависимости от частоты вращения — частоты электрических импульсов, поступающих от системы зажигания, обеспечивает включение ЭМК 3 и 5 при разомкнутых контактах вакуумного выключателя 12. Последний имеет конструкцию неразборного типа и состоит из корпуса, диафрагмы 11 с закрепленной на ней контактной пластиной, регулировочного винта 13, крышки 10 диафрагменного механизма, пружины и электрических выводов. Вакуумный выключатель предназначен для блокирования открывания электромагнитных воздушных клапанов при небольшом разрежении в ВТ. При этом пружина прижимает диафрагму 11 к крышке 10, и контактная пластина замыкает контакты крышки. При увеличении разрежения во впускном трубопроводе диафрагма сжимает пружину, и контакты размыкаются. Один из контактов соединен с корпусом автомобиля, а другой с электрической схемой автомобиля.

Рисунок 1.7 – Система впуска воздуха в ВТ
Клапаны 3 и 5 объединены в отдельный блок и размещены на ВТ 8 двигателя 9. Штуцер этого блока при помощи резиновой трубки 4 сообщен с воздушным фильтром. Клапаны нормально закрытые. Во включенном состоянии они пневматически связывают впускной трубопровод 8 через воздушный фильтр с атмосферой. Электромагниты обоих клапанов снабжены электрическими выводами для подключения к электронному блоку 2 управления. Запорные элементы 15 и 6 клапанов перекрывают седла 14 и 7. Блок управления имеет 6 выводов и соединен с электропроводкой автомобиля с помощью шестиконтактного разъема. Первый контакт (сверху вниз) предназначен для подключения блока питания с номинальным напряжением 12 В, второй — с "массой" автомобиля, третий обеспечивает связь с клапаном 5, четвертый — с клапаном 3, пятый — с выключателем 12, а шестой — с катушкой 1 зажигания.
1.2.3 Дополнительные системы карбюратора
Простейший карбюратор на двигателях автомобилей практически не используется, так как имеет серьезные недостатки, главный из которых заключается в том, что этот карбюратор не может изменять состав приготовляемой смеси при изменении режимов работы двигателя. Для оценки работы карбюраторов используют функциональную зависимость между коэффициентом избытка воздуха и степенью открытия дроссельной заслонки. На рис. 4 приведены зависимости изменения составов смеси от ее количества, поступающего в двигатель. Из рассмотрения этих зависимостей можно заключить, что коэффициент избытка воздуха, обеспечиваемый простейшим карбюратором, уменьшается по мере роста расхода смеси. Это означает обогащение горючей смеси при увеличении ее поступления в двигатель. Обогащение горючей смеси в простейшем карбюраторе при увеличении ее подачи в двигатель объясняется тем, что в этом случае дроссельная заслонка открывается на больший угол и увеличивается поток воздуха через диффузор карбюратора. Это вызывает увеличение разрежения в диффузоре и более интенсивное истечение топлива из распылителя, в результате чего смесь обогащается.
Для нормальной работы двигателя необходимо, наоборот, при увеличении подачи смеси в двигатель обеднять ее, при полной подаче—обогащать (кривая 2). Следовательно, характеристика простейшего карбюратора и требуемая характеристика совершенно противоположны. Совпадение их в точке А говорит о том, что простейший карбюратор может обеспечить требуемый состав смеси лишь для какого-то ограниченного режима двигателя. В случае меньшего открытия дроссельной заслонки карбюратор будет давать переобедненную смесь, при большом открытии—переобогащённую. Причиной переобеднения смеси при малом открытии дроссельной заслонки является уменьшение разрежения в диффузоре, так как скорость потока воздуха падает. Малое разрежение не обеспечивает поднятия топлива до устья распылителя и преодоления его поверхностного натяжения. Вследствие этого поступление топлива в диффузор прекращается и двигатель в режиме холостого хода при малом открытии дроссельной заслонки перестает работать. Из рассмотрения характеристики простейшего карбюратора (кривая 1) также видно, что карбюратор не обеспечивает необходимого обогащения смеси в случае разгона автомобиля при резком открытии дроссельной заслонки. В начальный момент при этом произойдет обеднение смеси, так как воздух имеет большую подвижность, чем топливо, и устремится в смесительную камеру в большом количестве. Вместо увеличения частоты вращения коленчатого вала двигателя может произойти «провал» в его работе или полная остановка.

Рисунок 1.8 – Изменение коэффициента избытка воздуха от количества смеси, поступающей в двигатель: 1 – характеристика простейшего карбюратора; 2 – требуемая характеристика.
При пуске холодного двигателя в цилиндр должно поступать большое количество горючей смеси, образующейся из легкоиспаряющихся фракций топлива. Это достигается очень сильным обогащением смеси подачей в смесительную камеру карбюратора большого количества топлива. Однако простейший карбюратор не может обеспечить этого требования, так как на малой частоте вращения коленчатого вала при пуске в диффузоре будет недостаточное разрежение. Чтобы обеспечить работу двигателя во всех режимах эксплуатации, в простейший карбюратор вводят дополнительные устройства. Такими устройствами являются:
1. система холостого хода,
2. система компенсации смеси или главная дозирующая система,
3. экономайзер и эконостат,
4. ускорительный насос,
5. пусковые приспособления.
Все приспособления и устройства, обеспечивающие необходимый состав смеси дляразличных режимов работы двигателя, называют дозирующими. Кроме дозирующих устройств карбюраторы имеют различные вспомогательные приспособления, автоматизирующие управление карбюратором и двигателем.
1.2.4 Система холостого хода
Система холостого хода (СХХ
) обеспечивает работу двигателя без нагрузки на холостом ходу, например при остановке автомобиля. Чтобы перевести двигатель на холостой ход, дроссельную заслонку закрывают и этим уменьшают количество горючей смеси, которая поступает в цилиндры. При этом разрежение в диффузоре и устья распылителя падает, что приводит к прекращению работы главного дозирующего устройства. На рис. 9 приведена схема системы холостого хода, в которую топливо поступает из главного жиклера 11. При малой частоте вращения коленчатого вала дроссельная заслонка закрыта и за ней образуется большое разрежение. Под действием этого разрежения топливо проходит через главный жиклер 11 в горизонтальный канал 10 и через топливный жиклер 3 холостого хода попадает в эмульсионный канал 4. В начале эмульсионного канала установлен воздушный жиклер 2 холостого хода, через который подается воздух в систему холостого хода. Воздух, пройдя через жиклер 2, смешивается с топливом и образует эмульсию, которая по эмульсионному каналу подводится к отверстиям 5 и 7 в стенке смесительной камеры. Точное расположение отверстий относительно дроссельной заслонки играет важную роль в образовании горючей смеси. При полностью закрытой дроссельной заслонке отверстие 7 находится несколько ниже, а отверстие 5 несколько выше ее края.
Поэтому при работе двигателя на холостом ходу эмульсия будет поступать в зону наибольшего разрежения, т. е. под дроссельную заслонку и через отверстие 7. Через отверстие 5 в эмульсионный канал примешивается воздух, уменьшающий разрежение в системе холостого хода. Как только дроссельную заслонку приоткрывают, через отверстие 5 эмульсия начинает поступать в смесительную камеру, тем самым не допускается переобеднение смеси в первые моменты открытия дроссельной заслонки и обеспечивается плавный перевод работы двигателя с малой частоты вращения коленчатого вала при холостом ходе на режим средних нагрузок. Количество эмульсии, поступающей под дроссельную заслонку, регулируют винтом 6, установленным в канале 4. При завертывании винта его конус уменьшает проходное сечение отверстия 7, изменяя состав смеси. Регулировочный винт 6 обычно называют винтом качества смеси. Количество поступающей в цилиндры горючей смеси регулируют также винтом 9, при вращении которого изменяется положение дроссельной заслонки 8. Регулировочный винт 9 называют винтом количества смеси.

Рисунок 1.9 – Схема системы холостого хода: 1 — поплавковая камера; 2 — воздушный жиклер холостого хода; 3 — топливный жиклер холостого хода, 4 — эмульсионный канал; 5 — верхнее отверстие в стенке смесительной камеры; 6 — винт регулировки качества смеси; 7 — нижнее отверстие в стенке смесительной камеры; 8 — дроссельная заслонка; 9 — винт регулировки количества смеси; 10 — горизонтальный канал системы холостого хода; 11 — главный жиклер.
Система XX предназначена для приготовления и подачи горючей смеси при работе двигателя на режимах полностью закрытой или приоткрытой дроссельной заслонки. Система XX выполнена только в первичной камере и снабжена элементами ограничения содержания вредных веществ в ОГ.

Рисунок 1.10 – Схема размещения регулировочных винтов карбюратора
Система XX на рисунке 1.10, а содержит вертикальный эмульсионный канал 4, регулировочный винт 1 качества, канал 5 переходной системы, выходящий в задроссельное пространство 7. Переходная система выполнена в виде нескольких последовательно соединенных отверстий или в виде прямоугольной щели. Традиционный винт 1 качества снабжен головкой 2 со шлицем, на которую напрессован упор 3, и конусом, размещенным в регулировочном отверстии 6. Диапазон регулирования состава смеси винтом качества 1 чрезмерно высок: от смеси переобедненной, вызывающей неустойчивую работу двигателя, и характеризующейся повышенным содержанием СН в ОГ, до переобогащенной, при которой содержание СО в ОГ может достигать 9 % и более. Конструкция карбюратора не исключает возможности самопроизвольного или случайного изменения положения винта качества 1, на головку которого напрессовывают упор, фиксирующий головку 2. Для сужения возможного диапазона изменения состава горючей смеси винтом качества вводят дополнительные дросселирующие винты (например, карбюраторы типа "Солекс"). Винт 8 (рисунок 1.10, б) с регулировочным отверстием 9 обеспечивает предельное обеднение горючей смеси карбюраторов при полностью ввернутом винте качества. В выходном отверстии находится регулировочный винт 8 (рис. 9, в) токсичности для обеспечения регулировки содержания СО в ОГ при наличии сответствующего оборудования. После этой регулировки у карбюраторов винтом качества 7 устанавливается максимально возможное обеднение смеси. Эти смеси далее обедняются винтом 8 до заданной величины. Винт 10 заводской подстройки с регулировочным отверстием 11 предназначен для компенсации технологических погрешностей при изготовлении дозирующих отверстий. Система XX на рис. 10, б ограничивается зазором между цилиндрической частью винта 9 качества и стенкой смесительной камеры.
Современные карбюраторы, кроме винта качества 1 (см. рисунок 1.10, а и в), содержат винт упора, обеспечивающий приоткрывание дроссельной заслонки и регулирование количества смеси на холостом ходу и тем самым устанавливающий величину минимальной частоты вращения коленчатого вала. При регулировке СХХ с помощью упорного винта содержание СО в ОГ также несколько уменьшится, хотя и существенно меньше по сравнению с винтом качества, так как состав горючей смеси зависит от положения кромки дроссельной заслонки относительно переходных отверстий 5 (см. рис. 10, a). Карбюраторы с дополнительной СХХ исключают такой недостаток. В таких карбюраторах на предприятии-изготовителе винтом упора устанавливают заданное положение дроссельной заслонки относительно переходных отверстий, а винтом качества — требуемый состав горючей смеси. Регулирование частоты вращения коленчатого вала на режимах XX двигателя с таким карбюратором осуществляют путем изменения количества горючей смеси постоянного состава. Регулировка СХХ оказывает заметное влияние на токсичность ОГ при работе двигателя практически на любых режимах, встречающихся в городских условиях.
Вывертывание винта качества сопровождается увеличением расхода топлива и повышенным содержанием СО в ОГ. Винт вывертывают на один оборот при неработающем двигателе с последующим медленным его ввертыванием, пока снижение частоты вращения коленчатого вала не достигнет максимума. При дальнейшем ввертывании винта еще на 1/8 оборота частота вращения уменьшается на 20—30 мин -1. Содержание СО в ОГ для различных экземпляров составляет 2— 4 %. Дальнейшее ввертывание винта качества, хотя и сопровождается дополнительным уменьшением содержания СО в ОГ, нежелательно, так как это приведет к неустойчивой работе двигателя и к увеличению содержания СО в ОГ. Неустойчивая работа двигателя при регулировке карбюратора связана не только с переобогащением горючей смеси, но и с различными неисправностями или неправильной регулировкой приборов системы зажигания. Поэтому регулировку карбюратора на обороты XX двигателя следует проводить после устранения неисправности и правильной регулировки приборов системы зажигания, а также установления правильных тепловых зазоров в приводе клапанов.
Кроме того, регулировку следует проводить при полностью прогретом двигателе, так как по мере последующего после регулировки прогрева двигателя частота вращения увеличивается по сравнению с ранее установленной. Винт характеризует предельное обеднение горючей смеси. В карбюраторах применяют две типовые схемы СХХ. Первая схема представляет собой традиционную СХХ с задроссельным, а вторая — до-дроссельным смесеобразованием, представляющим собой АСХХ. Для питания двигателя горючей смесью в случае прикрытой дроссельной заслонки в современных карбюраторах предусмотрена СХХ. Различают два вида СХХ: с задроссельным смесеобразованием и автономную. Система холостого хода с задроссельным смесеобразованием (рис. 11) содержит топливный жиклер 4, сообщенный через канал 6 с топливным жиклером 7 главной дозирующей системы (ГДС), воздушный жиклер 5 и эмульсионный канал 2 с размещенными в нем подстроечным винтом 3 и винтом 7 регулировки качества (состава) горючей смеси. Подстроечный винт 3 (получил распространение в карбюраторах семейства ДААЗ) предназначен для уменьшения разброса характеристик холостого хода карбюратора в условиях массового производства. Он позволяет компенсировать производственные неточности расположения переходных отверстий 11 по высоте относительно верхней кромки дроссельной заслонки. С помощью винта 3 регулируют подачу воздуха из диффузорного пространства в эмульсионный канал 2. Такую операцию выполняют при настройке карбюратора на заводе-изготовителе. В дальнейшем винт 3 пломбируют и вскрывать его нельзя, так как на регулировку СХХ в эксплуатации он не влияет
. 
Рисунок 1.11 – Система холостого хода с задроссельным смесеобразованием
Количество горючей смеси, подаваемой в двигатель, регулируют с помощью регулировочного (упорного) винта 9, размещенного на корпусе карбюратора. Наличие средств регулирования состава и количества горючей смеси обусловлено тем, что различные двигатели имеют неодинаковые механические потери, на преодоление которых затрачивается и различное количество топлива на режимах холостого хода. При работе двигателя на режимах XX дроссельная заслонка полностью прикрыта, и разрежение из задроссельного пространства 8 через выходное отверстие 10 и каналы передается к топливному жиклеру 7 дозирующей системы. Под действием этого разрежения топливо через жиклер 7, канал 6 и топливный жиклер 4 холостого хода поступает в эмульсионный канал 2 и через выходное отверстие 10 в задроссельное пространство. Скорость движения воздуха в задроссельном пространстве невысокая, поэтому топливо здесь распыляется неэффективно и, следовательно, возможно неравномерное его распределение по цилиндрам двигателя. Это требует обогащения горючей смеси, сопровождающегося неизбежным увеличением содержания СО и СmНn в ОГ. Ужесточение экологических требований привело к созданию элементов, препятствующих неквалифицированному вмешательству в работу СХХ.
В карбюраторах производства ДААЗ для этой цели на винт 7 качества смеси устанавливают пластмассовую ограничительную втулку, которая позволяет вращать винт только в пределах одного оборота, а на карбюраторах производства "ПеКАР" в эмульсионные каналы СХХ устанавливают винты токсичности. Приведенная принципиальная схема СХХ является наиболее распространенной и реализована в современных карбюраторах производства ДААЗ и ОАО "ПеКАР". Система холостого хода карбюратора ВАЗ-2101 (Рисунок 1.12, а) имеется только в первичной камере карбюратора. Она обеспечивает переход двигателя с режима XX к работе его под нагрузкой. СХХ содержит подстроечный регулировочный винт 5, топливный жиклер 9 с винтом 7, сообщенный через топливный канал 10 и главный топливный жиклер 12 с поплавковой камерой 11. Эмульсионный канал 3 через нерегулируемое отверстие 2 переходной системы и регулируемое выходное отверстие 15 сообщен с задроссельным пространством. Регулировочный винт 1 обеспечивает необходимый состав горючей смеси. Питание СХХ осуществляется от ГДС и выполнено после жиклера 12. В корпусе поплавковой камеры выполнено вентиляционное отверстие и размещен клапан, кинематически связанный через шток с дроссельной заслонкой 14. В случае прикрытия дроссельной заслонки клапан обеспечивает сообщение поплавковой камеры 11 с атмосферой. С помощью винта 5 обеспечивают дополнительную подачу воздуха в эмульсионный канал 3 из главного воздушного канала б в корпусе 4. Воздушный жиклер 8 располагается в зоне устойчивого воздушного потока.
Для улучшения испарения, смешивания и распределения топлива но цилиндрам двигателя корпус смесительной камеры в зоне регулируемого отверстия 15 СХХ обогревается теплом охлаждающей жидкости двигателя, поступающей через канал 16. Количество горючей смеси, поступающей в двигатель, регулируют с помощью винта 13.

Рисунок 1.12 – Система холостого хода карбюратора ВАЗ-2101 (а), -2103 и -2106 (6)
Под действием разрежения, создаваемого работающим двигателем, топливо из поплавковой камеры 11 через жиклер 12, топливный канал 10 и топливный жиклер 9 поступает в эмульсионный канал 3, где смешивается с воздухом, проходящим через воздушный жиклер 8. Образовавшаяся горючая смесь поступает в задроссельное пространство карбюратора. При полном открытии дросселя 14 СХХ работает как дополнительный воздушный жиклер ГДС. Система холостого хода карбюратора ВАЗ-2103 и –2106 (Рисунок 1.12, б) отличается от аналогичной системы карбюратора ВАЗ-2101 наличием электромагнитного клапана 17. Клапан состоит из электромагнита с подвижным стержнем, нажимной пружины и корпуса. На работающем двигателе на клапан 17 подается напряжение, и стержень перемещается, открывая клапан. Клапан при выключенном зажигании перекрывает канал 10 подачи топлива и его паров и тем самым исключает возможность самовоспламенения горючей смеси (калильного зажигания) в горячем двигателе после его остановки. Рассмотренные СХХ включены последовательно после топливного жиклера ГДС. Такое включение обеспечивает плавный переход от режимов XX к режимам с нагрузкой. Вместе с тем в подобных системах наблюдается неудовлетворительное перемешивание топлива с воздухом. Автономные системы холостого хода (АСХХ) (Рисунок 1.13), представляющие по существу автономный карбюратор, реализованы в карбюраторах "Озон", ДААЗ-2108,-2141, К-131, -151, -156 и др. Они содержат топливный жиклер 4, сообщенный через топливный канал б, топливный жиклер 7 ГДС с поплавковой камерой, и эмульсионный канал 2 с подстроечным винтом 3, обводной воздушный канал 12 с размещенным в нем профильным дозирующим винтом 11 и выходное регулируемое отверстие 9, сообщенное с задроссельным пространством 8. В эмульсионном канале 2 размещены воздушный жиклер 5 и регулировочные винты 1 и 11 соответственно состава и количества горючей смеси.

Рисунок 1.13 – Автономная система холостого хода
Под действием разрежения, создаваемого в задроссельном пространстве работающим двигателем, топливо через канал 6 поступает к жиклеру 4, смешивается с воздухом, поступающим через воздушный жиклер 5. При этом основная часть воздуха проходит через обводной канал 12 и кольцевой распылитель 10 со скоростями, близкими к звуковым. Одновременно с этим к кольцевому распылителю по эмульсионному каналу 2 поступает горючая смесь, где она дополнительно испаряется и равномерно перемешивается с воздухом, а затем через регулируемое отверстие 9 поступает в задроссельное пространство. Конструкция профиля дозирующего винта 11 в зоне кольцевого распылителя 10 обеспечивает стабильный состав горючей смеси независимо от величины проходного сечения регулируемого отверстия 9. Особенность смесеобразования АСХХ заключается в том, что в задроссельное пространство 8 поступает хорошо испаренная и перемешанная горючая смесь. Равномерное ее распределение по цилиндрам двигателя позволяет снизить концентрации СО и СmНn, повысить топливную экономичность и устойчивость работы двигателя на режимах XX. В многокамерных карбюраторах система холостого хода предусмотрена только в первичной камере. Во вторичной камере вместо СХХ предусмотрена переходная система, которая вступает в работу в момент открывания вторичной заслонки карбюратора. Система холостого хода карбюратора ДААЗ-21081 (Рисунок 1.14) содержит топливный жиклер 4 с электромагнитным клапаном 3, сообщенный через канал 7 с поплавковой камерой, воздушный жиклер 5, выходящий в главный воздушный канал 6, винты качества и количества 11 и 7 соответственно и каналы 9 и 10 выхода горючей смеси в главный воздушный канал. Жиклер 8 не связан с системой АСХХ.

Рисунок 1.14 – Система холостого хода карбюратора ДААЗ-21081
Под воздействием разрежения в задроссельном пространстве топливо поступает по каналам 7, через топливный жиклер 4 электромагнитного клапана 3 и эмульсионный канал 2 и каналы 9 и 10 в главный воздушный канал 6. Винт 11 качества горючей смеси не подлежит регулировке в эксплуатации. Его регулируют на предприятиях-изготовителях или на специализированных станциях, а затем пломбируют. В эксплуатации в таких карбюраторах регулируют только минимальную частоту вращения коленчатого вала с помощью винта 1 упора дроссельной заслонки. Винт 1 не позволяет обогащать горючую смесь, поступающую в цилиндры двигателя. Система холостого хода карбюратора К-151 (Рисунок 1.15) содержит блок 1 с воздушным 3 и эмульсионным 2 жиклерами соответственно, эмульсионный канал 4, обводной канал 21, винты 22 и 13 качества горючей смеси, диффузор 17 обводного канала и винт 15 количества (эксплуатационной настройки).

Рисунок 1.15 – Система холостого хода карбюратора К-151
СХХ тесно взаимодействует с ЭПХХ, содержащим блок 16 с винтом 15 и выходным отверстием 14, запорный элемент 12. Пневмоклапан имеет мембрану 9, нагруженную пружиной 10, и отверстие 11. ЭПК 6 через трубопровод 7 сообщен с задроссельным пространством 20 вторичной камеры и шланг 5 и трубку 8 с наддиафрагменной полостью пневмоклапана. Под действием разрежения при закрытой дроссельной заслонке 19 первичной камеры эмульсия поступает через обводной канал и его диффузор 17, отверстие 14 и выходит в задроссельное пространство первичной камеры. При открывании дроссельной заслонки 19 эмульсия из канала 4 через переходные отверстия 18 поступает в задроссельное пространство. Система холостого хода карбюратора К-156 снабжена дополнительной СХХ в дополнительной секции. Обе системы соединены с эмульсионным колодцем главной дозирующей системы. Топливные жиклеры выполнены в блоке с воздушными и представляют собой трубки с калиброванными отверстиями. Система XX имеет двойное эмульсирование, обеспечивающее улучшение смесеобразования и обеднение горючей смеси. В современных карбюраторах (К-88, К-126 и др.) система холостого хода работает не только в режиме холостого хода. Она играет важную роль в исправлении характеристики простейшего карбюратора на режимах средних нагрузок и полной мощности. Достигается это благодаря тому, что система холостого хода постепенно включается в работу главной дозирующей системы по мере открытия дроссельной заслонки. При этом расход топлива через систему уменьшается. На холостом ходу расход топлива, поступающего через систему холостого хода, составляет от 100 до 40% общего расхода топлива. С увеличением частоты вращения коленчатого вала основная масса топлива подается главным дозирующим устройством, а на долю системы холостого хода приходится не более 20%. При полностью открытой дроссельной заслонке система холостого хода подает по своим каналам воздух в главное дозирующее устройство. Благодаря такому влиянию системы холостого хода характеристика карбюратора приближается к требуемой, которая обеспечивает наиболее выгодные условия работы двигателя на всех режимах.
Обогатительные устройства карбюраторов Карбюраторы, имеющие главное дозирующее устройство с компенсацией смеси и систему холостого хода, обеспечивают экономичную и надежную работу двигателя на малых и средних нагрузках. Однако, чтобы обеспечить все режимы работы двигателя, карбюратор должен иметь обогатительные устройства. Такими устройствами в современных карбюраторах являются экономайзер, эконостат, ускорительный насос и пусковое обогатительное устройство.
1.2.5 Экономайзер мощностных режимов
Экономайзер служит для обогащения горючей смеси при полной нагрузке двигателя или при плавном разгоне. Чаще всего экономайзер работает совместно с главной дозирующей системой, увеличивая поступление топлива для смесеобразования. Дополнительное топливо подается в распылитель главного жиклера через специальный клапан с механическим или пневматическим приводом. Экономайзер с механическим приводом от дроссельной заслонки.

Рисунок 1.16 – Схема экономайзера с механическим приводом: 1— поплавковая камера; 2 — планка привода клапана экономайзера; 3— толкатель клапана экономайзера; 4— дроссельная заслонка; 5 — рычаг дроссельной заслонки; 6 — жиклер экономайзера; 7 — шток привода клапана экономайзера; 8 — клапан экономайзера.

Рисунок 1.17 – Экономайзер с механическим (а)
и пневматическим (б)
приводами
Экономайзер обеспечивает обогащение горючей смеси при нагрузках, близких к полной, при резком открытии дросселя. Конструктивно экономайзеры могут быть выполнены с механическим, пневматическим или инерционным приводом. Экономайзер с механическим приводом (Рисунок 1.17, а) кинематически связан с дроссельной заслонкой 1 и содержит подпружиненный шток 5 привода, клапан б с пружиной 7, топливный канал 8, топливный жиклер 4 и распылитель 3, выходящий в главный воздушный канал 2. При полном открывании дроссельной заслонки шток 5 воздействует на клапан б, и топливо под действием разрежения через канал 8, топливный жиклер 4 и распылитель 3 поступает в главный воздушный канал карбюратора.
Для упрощения конструкции привод экономайзера и ускорительного насоса объединены. По этой схеме выполнены карбюратор К-126П, -126Н, -133М и -126ГМ производства ОАО "ПеКАР". Экономайзеры с пневматическим приводом реализованы в карбюраторах производства ДААЗ (Рисунок 1.17, б). Он содержит мембрану со штоком 5, надмембранную полость 3 с пружиной 4, подмембранную полость, сообщенную через канал 8 с распылителем карбюратора и через центральный канал с поплавковой камерой 7. Надмембранная полость 3 через канал 2 в крышке 6 и корпусе I карбюратора сообщена с задроссельным пространством. По мере открытия дроссельной заслонки разрежение в задроссельном пространстве уменьшается. Мембрана под действием пружины перемещается вправо и открывает центральный канал, перекрываемый запорным элементом 10.
Топливо из поплавковой камеры 7 поступает в подмембранную полость и по каналу 8 и 9 к распылителю. Экономайзер, включенный в ГДС, содержит корпус, крышку, запорный элемент, нагруженный пружиной, соединительный канал, топливный жиклер и эмульсионный колодец, с воздушным и топливным жиклерами. При закрытой дроссельной заслонке разрежение из задроссельного пространства передается по каналу в наддиафрагменную полость, сжимает пружину и удерживает клапан в закрытом положении. При снижении разрежения под действием пружины клапан открывается. Топливо из поплавковой камеры поступает в главный воздушный канал. Применение дополнительного воздушного канала обеспечивает улучшение эмульсирования топлива в ГДС.

Рисунок 1.18 – Экономайзер мощностных режимов карбюраторов ВАЗ-2108 и –21081
Экономайзер карбюраторов ДААЗ-2108, -21081 для двигателей автомобилей ВАЗ-2108, -2109 и ЗАЗ-1102 (рис. 18) представляет собой отдельную дозирующую систему, подключенную параллельно ГТЖ первичной камеры непосредственно к поплавковой камере 8 через клапан 5 с запорным элементом (шариком) и каналом 6. Основным узлом экономайзера рабочих режимов является мембрана 4 с толкателем, взаимодействующая с шариковым клапаном. Мембрана 4 нагружена пружиной 2. Надмембранная полость 3 сообщена с задроссельным пространством при помощи канала 1, заканчивающегося демпфирующим жиклером 76, предназначенным для сглаживания пульсаций разрежения и размещенным в выемке выходящей к стенке первичной камеры у края привалочного фланца.
Подмембранная полость, выполненная в корпусе 7 карбюратора, через топливный жиклер 14 подключена к главной дозирующей системе, содержащей топливный жиклер 13, эмульсионный колодец 12 с трубкой, воздушный жиклер 9 и распылитель 11 в малом диффузоре 10. При больших открытиях дроссельной заслонки 15 под действием пружины мембрана 4 с толкателем воздействует на шарик и открывает доступ топлива через канал 6 в подмембранную полость, а затем и в эмульсионный колодец 12. Запорный элемент (шарик) при работающем двигателе с закрытой дроссельной заслонкой удерживается в закрытом положении под действием пружины. В этом случае разрежение из задроссельного пространства не передается по каналу в надмембранную полость.
На режимах XX и малых нагрузок разрежение над мембраной 11 достаточно велико, что обеспечивает преодоление усилия надмембранной пружины и удаление толкателя от запорного шарикового клапана. При полной нагрузке разрежение в надмембранной полости не обеспечивает удержание мембраны. Запорный элемент под действием пружины мембраны через толкатель открывает запорный клапан. Пружина перемещает мембрану 4. Топливо из поплавковой камеры поступает по каналу и через открытый канал заполняет подмембранную полость. Затем под действием разрежения топливо через жиклер экономайзера поступает в эмульсионный колодец параллельно топливному потоку, проходящему через ГТЖ, к распылителю и в главный воздушный канал, обогащая горючую смесь.
Порог срабатывания клапана выбирают таким образом, чтобы его открытие происходило при достижении более низких величин разрежений за дросселем. Топливный клапан экономайзера начинает открываться, когда дроссельная заслонка второй камеры и разрежение составляют примерно 16,0 кПа (120 мм рт. ст.). Расход топлива через экономайзер 0,6—0,8 кг/ч.
В экономайзере применяют топливный жиклер с маркировкой 40 и демпфирующий жиклер 16 с маркировкой 30. Экономайзер с пневматическим приводом реализован преимущественно в карбюраторах производства ДААЗ. Применение экономайзера сопровождается ступенчатым протеканием нагрузочной характеристики.
Применение экономайзера с механическим или пневматическим приводом сопровождается ступенчатым протеканием нагрузочной характеристики, что ведет к повышенному расходу топлива и ВВ. В некоторых конструкциях, например в карбюраторе ДААЗ-1111-1107010 автомобиля ВАЗ-1111 "Ока", применяют одновременно эконостат с пневматическим приводом и инерционный экономайзер (Рисунок 1.19).

Рисунок 1.19 – Эконостат карбюратора ВАЗ-1111
Устройство содержит трубку 3, сообщенную с поплавковой камерой ниже уровня топлива, и распылитель эконостата 2, размещенный перед малым диффузором вторичной камеры. Эконостат обогащает горючую смесь второй камеры на режимах, близких к максимальным, при полностью открытых дроссельных заслонках.
Инерционный экономайзер содержит трубку 4, размещенную в поплавковой камере над уровнем топлива, и распылитель 7 с косым срезом, размещенный в малом диффузоре. Распылитель выполнен в виде прямоугольной щели высотой 4,0 и 5,25 мм и шириной 2,4 мм соответственно в первой и второй камерах карбюратора. Площади прямоугольных щелей эквивалентны площади круга диаметром 3,5 и 4,0 мм, которые приняты в качестве маркировки распылителей 3,5 и 4,0. Данный экономайзер обеспечивает обогащение горючей смеси при движении автомобиля на подъеме, при резких ускорениях, а также для обеспечения устойчивой работы двигателя на левом вираже автомобиля.
Применение экономайзера с механическим или пневматическим приводом сопровождается ступенчатым протеканием нагрузочной характеристики, что ведет к повышенному расходу топлива и выбросу вредных веществ. В двухкамерных карбюраторах с последовательным открыванием дроссельных заслонок очень часто подобный экономайзер не применяют. В этом случае его функции выполняет вторичная камера, отрегулированная на обогащенную горючую смесь, а первичная — на обедненную. В таких карбюраторах обогащение происходит не при полном открывании дроссельной заслонки вторичной камеры, а в момент вступления ее в работу карбюратора. Подобная конструкция обеспечивает снижение расхода топлива в эксплуатации, поскольку карбюратор преимущественно работает в первичной камере.
1.2.6 Экономайзер принудительного холостого хода
Режим ПХХ представляет собой вынужденное вращение коленчатого вала двигателя при движении автомобиля по инерции с отпущенной педалью управления дросселем и выключенной передачей. ЭПХХ обеспечивает отключение подачи топлива через систему холостого хода во время движения автомобиля под уклон, во время торможения автомобиля двигателем, при переключении передач, а также при остановке двигателя.
Порог срабатывания ЭПХХ является одним из важнейших его параметров, характеризуемых величиной открытия дросселя и частотой вращения коленчатого вала, сущность установления которого заключается в следующем. Во время режима ПХХ впускной тракт очищается от ТП. В этом случае цилиндры остывают, а топливо в каналах XX отсутствует. Если нажать на педаль управления дроссельной заслонкой и открыть клапан ЭПХХ, то в каналах автономной СХХ и в ВТ новый поток эмульсии образует ТП, поступающие в цилиндры двигателя с некоторой задержкой.
На восстановление нормальной топливоподачи необходимо определенное время, поэтому подачу топлива необходимо возобновить до снижения частоты вращения коленчатого вала выше минимально устойчивой. Частоту вращения, при которой происходит включение АСХХ, называют порогом срабатывания. При разомкнутой трансмиссии его целесообразно выбирать высоким, а при замкнутой — низким. Различают два типа ЭПХХ: с электронной системой, устанавливаемой на карбюраторах "Солекс" мод. 2108, и электронно-пневматической системой, устанавливаемой практически на всех моделях карбюраторов легковых автомобилей. Этими системами оснащены карбюраторы типа "Озон" моделей ВАЗ-2105, -2107, К-151 для двигателей; ЗМЗ-402,10, -4021.10, карбюраторы ДААЗ-2140, -2141 для автомобилей "Москвич"; карбюратор К-133 для двигателя МеМЗ-245.

Рисунок 1.20 – Принципиальная схема ЭПХХ
Принципиальная схема ЭПХХ легковых автомобилей представлена на рис. 20. ЭПХХ содержит запорный ЭМК 3, концевой выключатель 2, закрепленный на карбюраторе, и электронный блок 5, управляемый от частоты импульсов системы зажигания и расположенный в моторном отсеке автомобиля. Система управления ЭПХХ карбюратора серии 2108 содержит ЭМК 3 с запорным пластмассовым элементом, датчик положения дроссельной заслонки, представляющий собой контактную пару на упорном винте 2 (концевой выключатель) дроссельной заслонки и механически замыкаемый на "массу" при полностью закрытой заслонке, и электронный блок 5 типа 50.3761, управляемый по частоте электрических импульсов от катушки 4 зажигания. Электронный блок 5, содержащий семь штекеров, обеспечивает непрерывный контроль частоты вращения коленчатого вала путем измерения периода повторения импульсов системы зажигания, снимаемых с катушки 4 зажигания и подаваемых на вывод блока 5, подключенного через один из своих выводов к подводу источника питания 12 В от блока предохранителей. Блок 5 размещен в моторном отсеке автомобиля. При отпущенной педали дроссельных заслонок контакты электрической связи изолированного винта 2 и МП должны быть разомкнуты.
Монтажный блок 6 содержит монтажные колодки Ш1—Ш11, к которым подключены выключатель 1 системы зажигания, катушка 4 зажигания через блок управления, МП и ЭМК. Электрический провод датчика закрытого положения дроссельной заслонки соединен двумя пружинящими усиками с металлической головкой винта 1 дроссельной заслонки и блоком управления 5. ЭМК 3 выполнен в виде нормально закрытого элемента. В момент замыкания электрической цепи игла с наконечником втягивается во внутрь клапана, открывая топливный жиклер. ЭМК 3 имеет неразборную конструкцию и ремонту в эксплуатации не подлежит, поэтому в случае неисправности его необходимо заменить новым элементом.
При отпущенной педали привода дроссельных заслонок выключатель 1 отключает питание ЭМК. Отключение топливоподачи на режимах ПХХ производится при помощи установленного на топливном жиклере системы XX ЭМК 3. Блок управления 5 обеспечивает подачу тока в обмотку ЭМК 3 путем соединения электрической цепи с элементами управления системы топливоподачи. Электрические импульсы тока от катушки зажигания 4 дают информацию о частоте вращения коленчатого вала, а МП дроссельной заслонки сигнализирует о переходе карбюратора на режим XX. Электронный блок 5 отключает через ЭМК 3 подачу топлива при снижении частоты вращения до 2100 мин -1 и снова включает, когда обороты снизятся до 1900 мин -1.
Управляющие импульсы (пропорциональные частоте вращения) подаются на блок 5 управления с конца первичной обмотки катушки 4 зажигания. Блок 5 управления отключает ЭМК 3 только в том случае, если будет замкнут на "массу" концевой выключатель 1 карбюратора, т. e. не нажата педаль дроссельной заслонки. Если нажать на педаль дросселя, то клапан открываться не будет (или включаться, если был отключен). На режиме ПХХ обмотка ЭМК 3 обесточена, и подача топлива через СХХ прекращается. Выключение подачи топлива является результатом одновременной регистрации блоком 5 упр коленчатого вала (более 2000 мин -1) и положения полного закрытия дроссельной заслонки.
Пластмассовый наконечник иглы закрывает топливный жиклер системы XX, напрессованный на втулку корпуса. При отпущенной педали привода дроссельных заслонок концевой выключатель отключает питание на ЭМК 3. На режиме ПХХ при частоте вращения коленчатого вала свыше 2100 мин -1 и при замкнутом на "массу" концевом выключателе карбюратора (педаль отпущена) запорный ЭМК 3 выключается, подача топлива прекращается. При снижении частоты вращения на ПХХ до 1900 мин -1 блок управления 5 включает ЭМК 3 (хотя МП включен на "массу"), начинается подача топлива через жиклер СХХ, двигатель постепенно выходит на режим XX. При выключенном зажигании происходит обесточивание ЭМК, подача топлива прекращается, что исключает возможность самовоспламенения горючей смеси. Система управления ЭПХХ не оказывает влияния на работу двигателя на других режимах.
1.2.7 Эконостат
Эконостат обеспечивает необходимое обогащение горючей смеси при повышенной частоте вращения коленчатого вала при полностью открытых дроссельных заслонках. Конструктивно эконостат представляет собой вертикальный топливный канал, начинающийся над уровнем топлива в поплавковой камере и поднимающийся практически на максимально возможную высоту в пределах габаритов карбюратора. В отечественных карбюраторах различают два типа эконостатов. Эконостат производства ОАО "ПеКАР" (Рисунок 1.21) содержит вертикальный топливный канал 1 и распылитель в виде трубки со срезом 2, выходящий в главный воздушный канал карбюратора над малым диффузором.

Рисунок 1.21 – Схема эконостата карбюратора ОАО "ПеКАР" давления двух факторов: повышенной частоты вращения

Рисунок 1.22 – Схема эконостата карбюратора ДААЗ
В эконостатах производства ДААЗ распылитель 6 размещен в корпусе малого диффузора над распылителем главной дозирующей системы. Эконостат содержит топливный канал 3 с топливным жиклером 7, эмульсионный канал 4 с воздушным 2 и эмульсионным 5 жиклерами.
Принцип действия эконостатов обеих конструкций одинаков. По мере увеличения расхода воздуха (увеличивается разрежение в диффузорах) происходит увеличение столба топлива в вертикальном топливном канале. После заполнения топливом этого канала дальнейшее увеличение расхода воздуха приводит к пропорциональному возрастанию расхода топлива через распылитель. Наибольшее распространение в конструкциях карбюраторов автомобилей семейства ВАЗ получил эконостат, конструктивно совмещенный с ГДС (Рисунок 1.23).
Он содержит топливный 8, воздушный 7 и эмульсионный 5 жиклеры, канал б и эмульсионный канал 4 распылителя 1, выходящего в малый 2 и большой / диффузоры. Воздушный жиклер 7 размещен над уровнем топлива в поплавковой камере 14, подача топлива в которую осуществляется через штуцер 11, топливный фильтр 10, топливный клапан 9 с иглой 12. Необходимый уровень топлива поддерживается с помощью поплавка 13. По мере открытия дросселя 18 под действием разрежения топливо через топливный жиклер 15 ГДС поступает в эмульсионный колодец 16, эмульсионную трубку 17 и распылитель 3 в главный воздушный канал.

Рисунок 1.23 – Схема эконостата, совмещенного с ГДС
Разрежение в эмульсионном канале 4 уменьшается за счет поступления воздуха через воздушный жиклер 7. Поэтому вступление в работу эконостата происходит при больших расходах воздуха через главный воздушный канал карбюратора. Отсутствие в эко-ностате подвижных элементов обеспечивает надежную и стабильную его работу.
Система эконостата карбюратора ВАЗ-2105, -2108 (Рисунок 1.24) содержит топливный жиклер 8, сообщенный через топливный канал 9 с поплавковой камерой 10, воздушный жиклер 7, размещенный в крышке 4 поплавковой камеры и сообщенный через канал б с эмульсионным жиклером 5, и распылитель 3 с каналом 2, выходящим в главный воздушный канал 1.

Рисунок 1.24 – Схема эконостата карбюратора ВАЗ-2105 и-2108
Под действием разрежения топливо из поплавковой камеры через топливный канал 9, топливный жиклер 8 перетекает в канал 6, где смешивается с воздухом, поступающим через воздушный жиклер 7, проходит через эмульсионный жиклер 5 и эмульсионный канал 2 в главный воздушный канал. Эконостат не может обеспечить быстрый переход на обогащенную горючую смесь при полном открывании дросселя. Для этой цели применяют специальную дозирующую систему, получившую название экономайзера.
1.2.8 Ускорительный насос
Ускорительный насос служит для обогащения смеси при резком открытии дроссельной заслонки и увеличении нагрузки на двигатель. Ускорительные насосы имеют механический или вакуумный, привод. На рисунке 1.25 приведена схема ускорительного насоса с механическим приводом. При закрытой дроссельной заслонке 9 поршень 13 ускорительного насоса через жесткую связь устанавливается в верхнее положение. Топливо через шариковый обратный клапан 12 заполняет цилиндр насоса. Нагнетательный клапан 7 в этом положении под действием собственной силы тяжести закрывает седло, перекрывая тем самым доступ воздуха через распылитель 6 насоса в поплавковую камеру 1.
При резком открытии дроссельной заслонки рычаг 10 дроссельной заслонки через шток 11 и планку 2 воздействует на пружину 14, которая сжимается, и поршень 13 под действием ее силы движется вниз. При этом в цилиндре насоса под поршнем создается давление, в результате чего закрывается обратный клапан. Вследствие этого топливо перетекает по каналу 8 и открывает нагнетательный клапан 7, затем через жиклер 5 впрыскивается в смесительную камеру карбюратора и смесь обогащается. В рассмотренной конструкции ускорительного насоса привод выполняют так, чтобы в начальные моменты открытия дроссельной заслонки ход поршня был больше, чем в середине открытия. Это делается для компенсации обеднения смеси в начальный период. Кроме того, в большинстве насосов усилие от планки 2 на поршень насоса передается не непосредственно, а через пружину. Этим увеличивается время впрыска топлива (затяжной впрыск), и предохраняются детали привода от поломки, так как из-за малого диаметра жиклера 5, при очень резком нажатии на педаль управления дроссельной заслонкой противодавление в цилиндре насоса может возрасти до такой величины, что тяги могут погнуться. В некоторых конструкциях ускорительных насосов предусмотрена перестановка закрепления штока 11 на меньшее плечо действия. Этим обеспечивается сезонная регулировка производительности насоса.

Рисунок 1.25 – Схема эконостата и ускорительного насоса: 1 – поплавковая камера; 2 – планка привода ускорительного насоса; 3 – жиклер эконостата; 4 – распылитель эконостата; 5 – жиклер ускорительного насоса; 6 – распылитель ускорительного насоса; 7 – нагнетательный клапан; 8 – топливный канал; 9 - дроссельная заслонка; 10 – рычаг дроссельной заслонки; 11 – шток привода ускорительного насоса; 12 – обратный клапан; 13 – поршень ускорительного насоса; 14 – пружина поршня.
Летом устанавливают меньшую производительность, зимой — большую. С этой целью на конце рычага 10 делают не одно, а два или три отверстия для закрепления штока 11. Чем ближе это отверстие к оси дроссельной заслонки, тем меньше ход поршня и производительность насоса. При резком открывании дроссельных заслонок происходит обеднение горючей смеси, обусловленное различной плотностью топлива и воздуха, а следовательно, и скоростью поступления их в цилиндры двигателя. Ускорительный насос предназначен для увеличения подачи топлива в зону диффузора карбюратора и обеспечивает обогащение горючей смеси. Его относят к числу наиболее важных обогатительных систем. Конструктивно насос может быть выполнен плунжерным или диафрагменным (Рисунок 1.26). Он имеет полости изменяемого объема с определенным запасом в них топлива. Способ изменения объема полости определяет конструктивные особенности насоса.
Насос поршневого типа (см. рисунок 1.26, а) содержит полость изменяемого объема, сообщенную через обратный клапан 9 и канал с поплавковой камерой, а через нагнетательный канал с нагнетательным клапаном 3. Поршень 2 жестко закреплен на штоке 4 и снабжен манжетой 1, изготовленной из эластичного материала (кожа, резина и др.). В некоторых конструкциях манжета 1 отсутствует. Привод УН состоит из тяги 8, нажимной планки 7 и демпфирующей пружины 6, предотвращающей повреждение деталей ускорительного насоса при резком открывании дроссельной заслонки или при засорении распылителя УН. Производительность УН регулируют путем изменения хода штока ускорительного насоса при помощи регулировочной гайки 5. В процессе заполнения полости изменяемого объема обратный клапан 9 открыт, а нагнетательный закрыт. При рабочем ходе усилие через планку 7 передается на пружину б и сжимает ее. Пружина в дальнейшем, выпрямляясь, обеспечивает затяжное впрыскивание топлива через распылитель в главный воздушный канал первичной камеры. Привод УН поршневого типа конструктивно объединен в один узел с приводом экономайзера.

Рисунок 1.26 – Ускорительный насос поршневого (а) и диафрагменного (б) типов Конструкция УН поршневого типа реализована в карбюраторах К-126П, -126Н, -126ГМ, -133, -133М и др.
Насос диафрагменного типа с механическим приводом (см. рисунок 1.26, б) содержит полость переменного объема с возвратной пружиной 13, перепускной жиклер 10, обратный клапан 11, канал 12, мембрану 14, нагруженную демпфирующей пружиной 15, и кулачок 19 привода, жестко посаженный на ось дроссельной заслонки. Перепускной жиклер выполнен в корпусе насоса и обеспечивает перепуск топлива при случайных колебаниях дроссельной заслонки из-за неровности дороги. Насос монтируют на фланце поплавковой камеры карбюратора. Он снабжен диафрагмой 14 с жестким центром, выполненным в виде двух тарелок, демпфирующей пружиной 15, толкателем 16 и роликом, размещенным на конце рычага 18. Диафрагма 14 нагружена пружиной 13, размещенной в рабочей полости переменного объема. Всасывающий клапан 11 выполнен в виде шарика, размещен в вертикальном канале и сообщен через канал с поплавковой камерой. Впускной клапан обеспечивает свободное пропускание топлива из поплавковой камеры в рабочую полость при ходе всасывания. Клапан 11 препятствует выходу топлива обратно при ходе нагнетания в период открытия дроссельной заслонки.
Нагнетательная линия 12 насоса содержит распылитель с калиброванным отверстием и нагнетательный шариковый клапан, размещенный в полости топливоподающего винта и препятствующий подаче воздуха в полость при ходе всасывания. Он пропускает топливо к распылителю только при ходе нагнетания. Наличие подобного отверстия исключает мгновенный выброс топлива через распылитель в зону малого диффузора первичной камеры. Топливо из УН поступает в основную камеру через распылитель с калиброванным отверстием, препятствующим быстрому впрыскиванию топлива. В головке диафрагмы 14 между подпятником, контактирующим с рычагом 17, и жестким центром размещена жесткая демпфирующая пружина 15. Наличие такой пружины 15 обеспечивает затяжное впрыскивание топлива УН, предотвращающее провалы в работе двигателя. Насос снабжен также дренажным каналом с перепускным жиклером 10, соединяющим рабочую полость насоса с поплавковой камерой. Выходное отверстие дренажного канала выполнено в стенке поплавковой камеры недалеко от топливозаборного отверстия. Дренажный канал с жиклером и регулировочным винтом предназначен для корректировки (уменьшения) подачи топлива УН при медленном открытии дроссельных заслонок, когда нет необходимости подачи дополнительного топлива. Жиклер 10 выполнен в корпусе насоса и обеспечивает перепуск топлива при случайных колебаниях дроссельной заслонки из-за неровности дороги. Топливо из поплавковой камеры забирается через канал в ее стенке и проходит через впускной клапан 11 и поступает в полость. Ход всасывания происходит за счет упругости пружины 13 диафрагмы, а ход нагнетания за счет пружины 15. При повороте дроссельной заслонки по часовой стрелке кулачок 19 через рычаги 18 и 17, толкатель 16 воздействует на пружину 15 и сжимает ее. Выпрямляясь, пружина 15 через мембрану 14 вытесняет топливо по каналу 12 через шариковый клапан и распылитель, препятствующий быстрому впрыскиванию топлива. Вытесненное мембраной 14 топливо по каналам через выпускной шариковый клапан с упором и через канал 12 и распылитель обеспечивает затяжное впрыскивание топлива в главный воздушный канал.
Распылитель, выведенный в главный воздушный канал между малым диффузором и стенкой, крепится при помощи полого винта крепления 8 с шариковым нагнетательным клапаном. Кулачок 19 УН исполнен плоским стальным с креплением путем расклепки конца оси дроссельной заслонки. Конструкция УН диафрагменного типа реализована на всех модификациях карбюраторов семейства ДААЗ и ОАО “ПеКАР”(типа К-151). Наиболее важными характеристиками УН являются закон подачи топлива и его производительность. При резком открытии дроссельной заслонки, когда диафрагма УН удерживается относительно медленно удаляемым топливом, не может быстро переместиться на расстояние, определяемое ходом рычага, пружина 13 сжимается и затем, по мере удаления топлива из полости насоса, медленно распрямляется, обеспечивая, во-первых, защиту диафрагмы от разрыва большим давлением топлива, а во-вторых, растягивание процесса впрыскивания на 1,0—1,2 с, что требуется для обеспечения устойчивой работы двигателя. Ускорительный насос диафрагменного типа с механическим приводом обладает более высокой стабильностью в работе и благоприятными характеристиками, что обеспечило преимущественное его распространение. Его конструкция может быть представлена двумя наиболее типичными схемами. Ускорительный насос карбюраторов ВАЗ-2105, ДААЗ-2140, -2141, К-151 и К-156 (рис. 27, а) содержит полость 15 изменяемого объема, сообщенную через канал 17, обратный клапан 4 с седлом 2 и перепускной жиклер 3 с поплавковой камерой 1 и через канал 7 с клапаном 9 топливного жиклера 8 с распылителем 10, мембрану 14, нагруженную пружинами 16 и 11, наконечник, размещенный в крышке 13, и рычаг 12. Впрыскивание топлива осуществляется только в первичную камеру карбюратора. Насос содержит регулировочный винт 5 и упор 6.

Рисунок 1.27 – Схема УН диафрагменного типа карбюраторов ВАЗ-2105 (а) и ВАЗ-2108 (б)
Ускорительный насос карбюраторов 2108, 2109 и 21081 содержит полость 6 изменяемого объема с пружиной 15, сообщенную через канал 11, обратный клапан 13 с седлом 12, нагнетательный клапан 10 с корпусом 7, распылителями 9 и 8, выведенными в каждую камеру карбюратора, мембрану 5, нагруженную пружиной 1. При рабочем ходе усилие через рычаги 14 и 3, наконечник 2, размещенный в крышке 4, воздействует на мембрану 5 и обеспечивает затяжное впрыскивание топлива в каждую камеру карбюратора. Из рассмотренных характеристик УН наиболее важными являются производительность и закон подачи топлива. Насосы поршневого типа снабжены средствами регулирования производительности, а у диафрагменных они имеются только на карбюраторах ДААЗ первых выпусков. Ускорительный насос, устанавливаемый на автомобилях ВАЗ-2101, снабжен подвижным роликом, размещенным на конце рычага 13 и кинематически связанным с кулачком 12 привода. Профиль кулачка выбран таким, что обеспечивает максимальную подачу топлива в начальный момент открывания дросселя. Диафрагма 1 кинематически связана через демпфирующую пружину (на рисунке не показана) с толкателем 15 и нагружена со стороны первичной камеры цилиндрической пружиной 14, размещенной в полости переменного объема.

Рисунок 1.28 – Схема УН карбюратора ВАЗ-2101
Нагнетательная линия насоса содержит впускной шариковый клапан 2, перепускной клапан 3, камеру 4 паров топлива, нагнетательный клапан, размещенный в топливоподающем винте 6, и распылитель 5 с калиброванным отверстием. Кулачок 12 привода также связан кинематически через рычаг 11 и шток 10 с клапаном 8 разбалансировки поплавковой камеры 9, перекрывающим выход 7 канала разбалансировки. Калиброванное отверстие исключает мгновенный выброс топлива через распылитель 5 в зону диффузора первичной камеры. Одновременно с этим наличие демпфирующей пружины обеспечивает затяжное впрыскивание топлива УН, предотвращая провалы в работе двигателя. Впускной клапан выполнен в виде шарика 2 и ограничителя его хода, запрессованного в стенке поплавковой камеры.
Клапан 2 обеспечивает свободное пропускание топлива из поплавковой камеры через отверстие в ее стенке со стороны УН в полость переменного объема при закрытой дроссельной заслонке и препятствует выходу топлива при начале ее движения. Для обеспечения надежной работы насоса предусмотрена камера 4 паров топлива. Нагнетательная линия насоса содержит нагнетательный шариковый клапан, размещенный в полости топливоподающего винта 6, пропускающий топливо к распылителю и препятствующий подаче воздуха в полость при всасывании топлива, и распылитель 5. Распылитель выполнен в виде удлиненного носика, выведенного в главный воздушный канал первичной камеры и закрепленного с помощью полого винта. Он снабжен калиброванным каналом, препятствующим быстрому впрыскиванию топлива. Одновременно с этим наличие демпфирующей пружины обеспечивает затяжное впрыскивание топлива УН, предотвращающим провалы в работе двигателя. Перепускной жиклер 3 выполнен в корпусе насоса и обеспечивает перепуск топлива в поплавковую камеру 9 при случайных колебаниях дроссельной заслонки из-за неровности дороги. Насос снабжен дренажным каналом с жиклером диаметром 0,4 мм, соединяющим рабочую полость переменного объема с поплавковой камерой. Выходное отверстие канала расположено в стенке поплавковой камеры.
Дренажный канал с жиклером предназначен для корректировки (уменьшения) подачи топлива УН при медленном открытии дроссельной заслонки, когда отсутствует необходимость подачи дополнительного топлива. Ход всасывания топлива происходит за счет упругости пружины 14 диафрагмы, а нагнетание топлива — за счет силового воздействия рычага привода на торец толкателя 15 диафрагмы. При повороте дроссельной заслонки по часовой стрелке кулачок через рычаги и толкатель 15 воздействует на демпфирующую пружину и сжимает ее. Выпрямляясь, демпфирующая пружина через диафрагму 1 вытесняет топливо по каналу, через шариковый клапан и распылитель 5 в главный воздушный канал. Увеличение общего количества топлива, подаваемого УН, не всегда устраняет дефекты при разгоне автомобиля. Важным параметром является бесперебойная и эффективная подача топлива при небольших открытиях дросселя, характерных для реальных условий эксплуатации автомобиля и особенно в момент открытия второй камеры карбюратора.
В последующих конструкциях карбюраторов ДААЗ применено двойное впрыскивание топлива в каждую камеру и изменена конструкция кулачка привода.

Рисунок 1.29 – Схема УН карбюратора ВАЗ-2108
Ускорительный насос карбюратора ДААЗ-2108 содержит диафрагму 3, топливный жиклер с обратным клапаном 8, топливоподающий полый винт с шариковым нагнетательным клапаном 2, двуплечий рычаг 5 механического привода, кинематически связанный с толкателем 4, нагруженным пружиной со стороны диафрагмы 3, и распылители 1, размещенные в первичной и вторичной камере соответственно. Рычаг 5 кинематически связан с профильным кулачком 6, размещенным на оси дроссельной заслонки первичной камеры. Основные элементы насоса размещены во фланце, закрепленном на корпусе поплавковой камеры 2 карбюратора. Распылители 1 установлены в длинных трубках на держателе, в котором размещен шариковый нагнетательный клапан. Держатель распылителей 1 размещен в гнезде корпуса карбюратора, уплотнен резиновым кольцом и зафиксирован только его крышкой. Всасывающий клапан 2 УН размещен в нижней части вертикального канала под распылителем и свободно пропускает топливо из поплавковой камеры в полость под диафрагмой при ходе всасывания (в период закрытия дроссельной заслонки).
Клапан препятствует выводу топлива обратно при ходе всасывания и пропускает топливо к распылителям 1 при ходе нагнетания. В головке между диафрагмой 3 и подпятником, контактирующим с рычагом 5, размещена жесткая пружина. При резком открывании дроссельных заслонок 7 и 9 демпфирующая пружина привода сжимается, а затем, разжимаясь, обеспечивает затяжное впрыскивание топлива, гарантируя беспровальную работу двигателя. Забор топлива из поплавковой камеры осуществляется через горизонтальный канал 1, сообщенный с вертикальным каналом перед всасывающим клапаном 8. Ход всасывания происходит за счет упругости пружины диафрагмы, а ход нагнетания — за счет силового воздействия рычага привода на торец головки диафрагмы. Эффективность работы УН в значительной мере определяется профилем кулачка привода, реализующим заданный закон впрыскивания топлива. В конструкции карбюратора автомобиля "Ока" ВАЗ-1111 применен УН с двойным впрыскиванием топлива. Многопрофильный кулачок обеспечивает впрыскивание топлива при разгоне автомобиля при частичном открывании дросселя (Рисунок 1.30). УН содержит диафрагму 3, обратный клапан 4, регулировочный винт 5 и регулируемый топливный жиклер 10, толкатель 2, кинематически связанный с мембраной, рычаг привода 1, кинематически связанный с кулачком 9 и дроссельной заслонкой 8, шариковый клапан 7 и распылитель 6 с выходом струи в первичную и вторичную камеры. При закрытой дроссельной заслонке пружина отводит диафрагму влево, обеспечивая заполнение объема камеры насоса топливом через шариковый обратный клапан 4. При открывании дроссельной заслонки кулачок действует на рычаг, а диафрагма обеспечивает через клапан и распылитель подачу топлива в смесительные камеры, обогащая горючую смесь.

Рисунок 1.30 – Схема УН карбюратора ВАЗ-1111
Сезонная регулировка подачи топлива УН не предусмотрена, поэтому она определяется только профилем кулачка. При резком открытии дроссельной заслонки 8 кулачок 9 через двуплечий рычаг 1 и толкатель 2 воздействует на диафрагму 3 и перемещает ее. Топливо под действием диафрагмы 3 вытесняется из камеры и поступает через шариковый клапан 7 к распылителю 6 первичной и вторичной камер. Заданный профиль кулачка 9 позволяет осуществлять впрыскивание топлива в каждую камеру карбюратора в зависимости от исходного режима разгона автомобиля. Наличие в системе УН пружины обеспечивает затяжную подачу топлива, исключающую провалы в работе двигателя. При закрытии дросселя под действием пружины диафрагма отводится влево, и освободившийся объем камеры заполняется топливом через шариковый клапан 4. Производительность УН является наиболее важной его характеристикой. Ее влияние на ВВ при испытании легкового автомобиля по ездовому циклу показывает, что уменьшение производительности УН 14 до 3 см3 за 10 полных ходов мембраны снижает содержание СО и СmНn в ОГ в 1,8 раза. Минимальное содержание СО и СmНn в ОГ достигается при производительности УН 3 см3 за 10 полных ходов поршня УН. При такой производительности УН сохраняются динамические качества автомобиля и резко снижается содержание вредных веществ в ОГ.
1.2.9 Пусковое устройство
Пусковое устройство служит для обогащения смеси при пуске холодного двигателя. Оно представляет собой воздушную заслонку 1, установленную в воздушном патрубке карбюратора, которая в закрытом положении не пропускает воздух в смесительную камеру. Управление воздушной заслонкой осуществляется, как правило, с помощью троса, выведенного в кабину водителя на панель. При пуске холодного двигателя и полном закрытии воздушной заслонки в диффузоре карбюратора создается большое разрежение. Оно способствует интенсивному вытеканию топлива из распылителя Главного дозирующего устройства, и смесь сильно обогащается. Чтобы предотвратить излишнее обогащение смеси при пуске двигателя, умело подбирают степень закрытия заслонки. Обычно она зависит от температуры двигателя, марки топлива и состояния двигателя. Увеличение разрежения в смесительной камере карбюратора зависит не только от степени закрытия воздушной заслонки, но и от величины открытия дроссельной заслонки. Самое малое разрежение будет при положении дроссельной заслонки, обеспечивающем холостой ход двигателя. Но для пуска холодного двигателя этого может оказаться недостаточно. Чтобы увеличить разрежение, дроссельную заслонку слегка приоткрывают. Во многих карбюраторах для этого воздушную заслонку соединяют тягами и рычажками с дроссельной заслонкой. Благодаря такой связи при полном закрытии воздушной заслонки будет обеспечиваться открытие дроссельной заслонки на некоторый угол. Обычно для каждого типа карбюратора величина открытия дроссельной заслонки подбирается заводом-изготовителем и изменять ее при эксплуатации не рекомендуется.

Рисунок 1.31 – Схема пускового устройства карбюратора: 1 — воздушная заслонка; 2— пружина клапана; 3— предохранительный клапан; 4 — дроссельная заслонка.
Как только произойдет пуск холодного двигателя при полностью закрытой воздушной заслонке, смесь может очень сильно обогатиться. Поэтому воздушную заслонку рекомендуется приоткрывать сразу после начала работы двигателя. Если водитель не успевает сделать это в начальный момент работы двигателя, уменьшение разрежения в карбюраторе происходит автоматически благодаря срабатыванию предохранительного клапана 3, который установлен на воздушной заслонке и удерживается в закрытом положении пружиной 2. При значительном увеличении разрежения и возрастания давления воздуха на заслонку пружина предохранительного клапана сжимается и воздух проходит в смесительную камеру. Сам клапан в это время начинает издавать характерный шум, сигнализируя о необходимости ручного открытия воздушной заслонки. В некоторых карбюраторах для исключения излишнего переобогащения горючей смеси при увеличении открытия дроссельной заслонки во время прогрева воздушную заслонку устанавливают несимметрично относительно потока воздуха.
Под действием разности давлений потока воздуха на обе части такой заслонки она стремится открыться, уменьшая обогащение смеси. Приготовление горючей смеси при пуске двигателя основано на использовании пусковых фракций бензина. Их количество в бензине невелико и составляет не более 10 % общего его расхода. С понижением температуры окружающего воздуха, условия испарения бензина во впускном тракте заметно ухудшаются и 90—95 % топлива оседает в виде топливных продуктов (ТП) на стенках впускного тракта, карбюратора и камеры сгорания двигателя. Одновременно с появлением первых вспышек ТП достигает цилиндра и практически полностью испаряется. Заметное переобогащение горючей смеси в период пуска сопровождается повышенным содержанием СmНn в ОГ. Эффективность процесса пуска холодного двигателя оценивают по величине и характеру изменения различных ВВ. Характерной особенностью режимов пуска является высокий уровень концентраций СmНn в ОГ. После 10 циклов содержание СmНn достигает 35 000 ppm (3,5 %) и более, а затем оно резко сокращается, достигая постоянного значения после 40—50 циклов. Повышенное содержание кислорода в ОГ при первых циклах после пуска холодного двигателя является следствием большого коэффициента а и неполного сгорания горючей смеси.
Основные причины перебоев воспламенения рабочей смеси связаны с ее переобогащением и неоптимальным углом опережения зажигания. Подача дополнительной части топлива пусковой системой во время первых 2—3 рабочих циклов является достаточной для создания горючей смеси нормального состава (?
= 1) для 12—15 рабочих циклов двигателя. Первые рабочие циклы происходят в диапазоне изменения ?
от 1,75 до 1,0. Для обеспечения воспламенения горючей смеси при первых циклах целесообразно подавать в цилиндры относительно бедную горючую смесь, так как в начальный период пуска в камере сгорания количество остаточных газов незначительно, а коэффициент наполнения горючей смесью достигает значительной величины. Содержание СО в ОГ при пуске по мере обеднения горючей смеси снижается. Содержание N0х из-за невысокой температуры в цилиндре при пуске также незначительно.
Пусковая характеристика является одним из важнейших параметров карбюратора. Она представляет собой зависимость массового расхода топлива от массового расхода воздуха, поступающего в карбюратор при закрытой воздушной заслонке. Характер протекания процессов пуска и прогрева холодного двигателя зависит от внешних условий. В условиях низких температур они имеют ряд особенностей. Во время пуска двигателя частота вpaщения коленчатого вала составляет лишь 50—75 мин-1. Поэтому скорость потока воздуха во впускном трубопроводе в 8—10 раз меньше, чем на режимах холостого хода, когда частота вращения 800 - 1000 мин-1. Понижение температуры окружающего воздуха, отсутствие подогрева и плохое распыливание топлива заметно ухудшают условия его испарения. В результате этого 90—95 % топлива не испаряется и оседает на стенках ВТ и цилиндров в виде жидкой пленки. В результате образующаяся горючая смесь чрезвычайно обедняется, и пуск двигателя затруднен. Поэтому для обеспечения холодного пуска необходимо подавать обогащенную смесь с ? = 0,04-0,05 (хотя предел воспламенения горючей смеси наступает при ? = 0,5), так как в этом случае в цилиндры двигателя поступают лишь легкие фракции бензина, а остальная его часть выбрасывается вместе с ОГ в глушитель.
В общем виде пусковая система представляет собой воздушную заслонку с приводом, конструктивное выполнение которого является критерием для их классификации. По типу привода пусковые системы можно разделить на четыре группы: воздушная заслонка с ручным приводом, полуавтоматическая воздушная заслонка, автоматическая воздушная заслонка и специальный пусковой карбюратор. До недавнего времени наибольшее распространение получали механические пусковые устройства в виде воздушной заслонки, снабженной подпружиненным тарельчатым клапаном и системой рычагов, обеспечивающих приоткрытие дроссельной заслонки при закрытой воздушной заслонке. Подобные конструкции пусковых систем пока еще находятся в эксплуатации. Воздушную заслонку 4 (рис. 2) размещают эксцентрично во входном патрубке 3 первичной камеры карбюратора. Для предотвращения переобогащения горючей смеси при полностью закрытой воздушной заслонке в ней предусмотрен тарельчатый клапан 1 с пружиной 2, открывающийся автоматически под действием перепада давлений и обеспечивающий перепуск воздуха через отверстия в заслонке во впускной тракт. Воздушная заслонка кинематически связана с дроссельной заслонкой 8 первичной камеры с помощью рычага 5 привода воздушной заслонки, тяги 6, связанной с двуплечим рычагом 7 привода дроссельной заслонки, и рычага 9 привода дроссельной заслонки, связанной с педалью управления карбюратором.
Следует отметить, что при полностью закрытой воздушной заслонке дроссельная должна быть приоткрыта на определенный угол. Необходимый угол обеспечивают с помощью регулировочного винта, установленного на корпусе смесительной камеры. Обогащение горючей смеси при пуске холодного двигателя или его прогреве достигается путем полного закрытия воздушной заслонки. В этом случае разрежение в диффузоре резко возрастает, увеличивая количество топлива, вытекающего через распылитель. Разрежение в диффузоре можно регулировать изменением силы натяжения пружины 2 клапана 1 пускового устройства. При закрытой воздушной заслонке доступ воздуха в главный воздушный канал прекращается, что приводит к резкому повышению в нем разрежения и, как следствие, к значительному переобогащению горючей смеси. При перепуске воздуха через клапан 1 постигаются уменьшение разрежения в главном воздушном канале и увеличение поступления воздуха в него. Горючая смесь становится более пригодной к воспламенению. После пуска двигателя в первый момент водитель должен приоткрыть воздушную заслонку, иначе может произойти забрызгивание свечей топливом, а затем и остановка двигателя. По мере прогрева двигателя воздушную заслонку необходимо постепенно открывать, а затем необходимо открыть ее полностью.

Рисунок 1.32 – Механическое пусковое устройство
Рассмотренная конструкция, хотя и обеспечивает пуск холодного двигателя, но лишь частично исправляет пусковую характеристику и не исключает значительное переобогащение горючей смеси. Для устранения указанных недостатков последние модели карбюраторов оснащают преимущественно полуавтоматическими пусковыми устройствами, обеспечивающими эффективное управление процессами топливоподачи на режимах пуска и прогрева холодного двигателя. В качестве исполнительного механизма в таких пусковых устройствах используют диафрагменный механизм, автоматически приоткрывающий воздушную заслонку на определенный угол после пуска двигателя. В отечественной практике пусковые устройства с полуавтоматическими системами управления воздушной заслонкой (рис. 3) впервые были применены на карбюраторах автомобилей ВАЗ-2101 и ВАЗ-2103.

Рисунок 1.33 – Полуавтоматическое пусковое устройство
Пусковое устройство содержит воздушную заслонку 2, размещенную во входном патрубке 1 первичной камеры, дроссельную заслонку 15 и диафрагменный механизм. Последний содержит корпус 7 и крышку 9, разделенные между собой мембраной 8 с образованием подмембранной 13 и надмембранной 12 полостей. В крышке 9 размещены регулировочный винт 10 и пружина 11, опирающаяся на тарелку мембраны 8, кинематически связанную через шток 6, тягу 4 и рычаг 3 привода с воздушной заслонкой 2. Надмембранная полость 12 через жиклер 5 и канал 14 соединена с задроссельным пространством 16 карбюратора. Перед пуском холодного двигателя воздушная заслонка 2 закрывается. (Подкачивать топливо УН в карбюраторах с такими устройствами крайне нежелательно. Это особенно важно в случае засорения дренажного канала во впускном трубопроводе.)
В момент пуска двигателя в задроссельном пространстве 16 разрежение резко возрастает и передается по каналу 14 через жиклер 5 в надмембранную полость 12. Под действием разрежения мембрана 8 прогибается, и ее тарелка доходит до винта 10, перемещая при этом тягу 4 через шток 6. Воздушная заслонка 2 под, действием рычага 3 поворачивается в результате на определенный угол. Дальнейшим шагом в развитии конструкции карбюратора явилось создание автоматических систем управления пуском и прогревом холодного двигателя (Рисунок 1.34). Такие системы были использованы в некоторых модификациях карбюраторов типа "Озон", маркируемых индексами ВАЗ-2105 и ВАЗ-2107. Это устройство отличается от полуавтоматического наличием термосилового элемента, снабженного температурным датчиком 12 с твердым наполнителем по аналогии с датчиком термостата системы охлаждения двигателя.

Рисунок 1.34 – Автоматическая система пуска и прогрева
После пуска холодного двигателя разрежение из задроссельного пространства по каналу 18 передается в наддиафрагменную полость 14, воздействует на диафрагму 15 и через тягу 16 и рычаг 5 приоткрывает воздушную заслонку 4, размещенную на оси 7. Одновременно с этим дроссельная заслонка 1 через рычаги 3 и 2 при полностью закрытой воздушной заслонке 4 несколько приоткрывается. Подвод и отвод жидкости из системы охлаждения осуществляются через входной и выходной штуцеры 13 и 11 соответственно. Температурный датчик 12 нагревается и расширяется, преодолевает усилие пружины 9, размещенной в корпусе 10, и через шток 8, рычаги 6 и 5 обеспечивает дополнительное открывание воздушной заслонки 4. Промежуточное положение воздушной заслонки 4 обеспечивается с помощью телескопической тяги 17, снабженной пружиной. Параметры открытия воздушной заслонки определяются подбором характеристик температурного датчика. Однако из-за недостаточной надежности работы автоматические системы холодного пуска двигателя в отечественных карбюраторах не получили широкого применения. Система пуска карбюраторов ДААЗ-21081 и -1111 (Рисунок 1.35) применяется на автомобилях соответственно ЗАЗ-1102 "Таврия" и ВАЗ-1111 "Ока". Система пуска снабжена рычагом с тремя рабочими профилями.

Рисунок 1.35 – Системы пуска и прогрева карбюраторов ВАЗ-21081 и -111
Наружная кромка 12 рычага 6 управления воздушной заслонкой 8 воздействует через регулировочный винт 15 на рычаг 16 управления дроссельными заслонками 17 и обеспечивает эффективный запуск холодного двигателя. Внутренняя 7 и внешняя 9 поверхности рычага 6 воздействуют на рычаг 10 воздушной заслонки 8 и обеспечивают ее открывание при промежуточных положениях рычага 6 на определенный угол. На корпусе закреплен шарнир для фиксации тросика 13 управления воздушной заслонкой, причем ось воздушной заслонки 8 смещена относительно оси горловины воздушного патрубка, поэтому после пуска она может приоткрываться на определенный угол. При пуске двигателя разрежение из задроссельного пространства через жиклер 2 воздействует на мембрану 1, нагруженную пружиной 4, и через шток 5, преодолевая усилие пружины 11, приоткрывает воздушную заслонку 8 на определенный угол. Регулировочный винт 3 позволяет регулировать величину приоткрывания воздушной заслонки. Максимальная величина приоткрывания воздушной заслонки определяется положением рычага 6 и шириной его паза 7. Аналогичные полуавтоматические пусковые устройства применяют на карбюраторах типа "Солекс", устанавливаемых с 1988 г. на двигателях ВАЗ-2105, -2108, -2109, МеМЗ-245, УЗАМ-331. Карбюраторы К-126ГМ, -151, -156, разработанные "ПеКАР" для двигателей ЗМЗ-402.10, - 4021.10, -4022.10, оснащены устройствами пуска и прогрева полуавтоматического типа. Карбюратор К-151 снабжен воздушной заслонкой, системой рычагов и мембранным механизмом управления воздушной заслонкой. В воздушной заслонке отсутствует клапан перепуска воздуха. Воздушная заслонка с полуавтоматическим приводом содержит диафрагменный механизм (пневмокорректор) и привод, представляющий собой систему кинематически связанных между собой рычагов. Закрытие воздушной заслонки перед пуском холодного двигателя проводится водителем при помощи ручного привода.

Рисунок 1.36 – Пусковое устройство карбюратора К-151
Карбюраторы типа К-151 также оснащены устройствами пуска и прогрева полуавтоматического типа. Система пуска карбюратора К-151 (рис. 6) содержит пневмокорректор, воздушную 20 и дроссельную 25 заслонки. Пневмокорректор 6 снабжен мембраной 7, размещенной с образованием надмембранной и подмембранной полостей, сообщенных соответственно через жиклер с атмосферой и через жиклер 8 и соединительный канал 27 с задроссельным пространством. Мембрана 7 со стороны подмембранной полости нагружена пружиной 5. Воздушная заслонка 20 размещена асимметрично в крышке 21 карбюратора. На ее оси размещен секторный рычаг 17 и рычаг 16 воздушной заслонки, кинематически связанный через двуплечий (промежуточный) рычаг 11, снабженный стяжным болтом 13, и тягу 10 с жестким центром мембраны 7, а через секторный рычаг 19 и тягу 18 с уплотнительным элементом с профильным рычагом 2, снабженным упором со штифтом 3. Резьбовая часть 22 тяги 18, связанной с рычагом 19, применялась на карбюраторах первых выпусков. Между рычагом 16 на переднем конце воздушной оси и выступом 14 рычага образован регулировочный зазор А.
Профильный рычаг 2 через винт 1 с роликом связан с дроссельной заслонкой 25. Минимальное ее открытие регулируют с помощью упорного винта 23, снабженного пружиной 24, размещенной на корпусе 26. Натяжение пусковой пружины 12 регулируют с помощью рычага 9. В момент пуска холодного двигателя пневмокорректор под действием разрежения работающего двигателя автоматически приоткрывает воздушную заслонку 20 на необходимую величину угла, обеспечивая устойчивую его работу при прогреве. При появлении разрежения в диафрагменном механизме в период пуска диафрагма 7 и ее шток перемещаются вниз, поворачивая связанный со штоком составной двуплечий рычаг 11 против часовой стрелки. При этом усик 15 на правом плече рычага контактирует с нижним (левым) плечом рычага 16 на оси воздушной заслонки, приоткрывая ее на определенный угол и обеспечивая снижение степени обогащения горючей смеси в заключительной стадии пуска. Привод воздушной заслонки содержит рукоятку, закрепленную на щитке управления и связанную с рычагом 4. Управление воздушной заслонкой осуществляется с помощью ручки и тяги с места водителя. Когда рукоятка находится в исходном положении, т. е. прижата к панели приборов, воздушная заслонка должна быть полностью открыта. В момент пуска двигателя пневмокорректор под действием разрежения, созданного работающим двигателем за карбюратором, автоматически приоткрывает воздушную заслонку на необходимый угол, обеспечивая устойчивую работу двигателя при его прогреве. Карбюратор К-126ГМ снабжен воздушной заслонкой, расположенной эксцентрично во впускном патрубке, и системой рычагов и приводом.
1.2.10 Устройство популярных карбюраторов
Карбюраторы автомобилей ВАЗ-2105 и ВАЗ-2107
двухкамерные, двухдиффузорные с падающим потоком горючей смеси, сбалансированной поплавковой камерой, последовательным открытием дроссельных заслонок, пневмоприводом дроссельной заслонки вторичной камеры, закрытой регулируемой системой вентиляции картера, диафрагменным УН, полуавтоматическим пусковым устройством с пневмокорректором, патрубком отбора разрежения для вакуум-корректора прерывателя-распределителя, латунным поплавком и поплавковым механизмом с верхним подводом топлива. Карбюратор состоит из крышки 2, корпуса 29 дроссельных заслонок 26 и 28 и корпуса 27 поплавковой камеры, автоматического пускового устройства 36 и пневмопривода 35 дроссельной заслонки вторичной камеры. В корпусе 27 поплавковой камеры размещен главный топливный жиклер 22 первичной камеры, сообщенный с распылителем малого диффузора через эмульсионную трубку с главным воздушным жиклером 14 первичной камеры. В главном воздушном канале первичной камеры размещена воздушная заслонка 13, кинематически связанная с пусковым устройством 36, сообщенным через канал с жиклером 15 с задроссельным пространством, дроссельная заслонка 26, малый диффузор с нагнетательным клапаном 11 и распылителем 12 УН, а также топливный жиклер 31 ГДС вторичной камеры.

Рисунок 1.37 – Карбюратор ДААЗ-2105
Насос 12 содержит рычаг 34 привода с вращающимся роликом, впускной и перепускной клапаны 33 и 32 соответственно и винт 1 регулировки хода впускного клапана 33 УН. В главном воздушном канале вторичной камеры размещен малый диффузор 9 с эмульсионным жиклером 8 эконостата, главным воздушным жиклером 7, топливный жиклер 6 эконостата, воздушный жиклер 5 эконостата, топливный 3 и воздушный 4 жиклеры переходной системы первичной камеры. К корпусу на кронштейнах двумя винтами крепится мембранный блок пневмопривода 35 дроссельной заслонки вторичной камеры. Наддиафрагменная полость через жиклеры 10 сообщена с главными воздушными каналами первичной и вторичной камер. В поплавковой камере размещены штуцер 37 подвода топлива, топливный фильтр 19, клапан 18 подачи топлива, поплавок 20, главный топливный жиклер 31 вторичной камеры и эмульсионная трубка 30. Система холостого хода содержит топливный и воздушный жиклеры 17 и 16 соответственно, винт 21 заводской подстройки, регулировочный винт 23 состава горючей смеси и регулировочный винт 24 количества горючей смеси, размещенный в бобышке 25 и выполняющий функции запорного элемента ЭПХХ.
Карбюратор автомобиля ВАЗ-2108 выпускается с 1985 г. по лицензии фирмы "Солекс" в нескольких модификациях и предназначен для автомобилей ВАЗ-2108, -2109 и ЗАЗ-1102. Карбюратор двухкамерный, двухдиффузорный, с падающим потоком, сбалансированной поплавковой камерой, последовательным открытием дроссельных заслонок, закрытой системой вентиляции картера, диафрагменным УН, эконостатом, системой подогрева системы холостого хода, полуавтоматическим пусковым устройством с пневмокорректором, с патрубком отбора разрежения для вакуум-корректора прерывателя-распределителя, поплавковым механизмом с верхним игольчатым клапаном и ЭПХХ.

Рисунок 1.38 – Карбюратор ДААЗ-2108
В первичной камере размещена дроссельная заслонка с винтом 19 регулировки количества горючей смеси, малый диффузор с распылителем главной дозирующей системы, воздушный жиклер 1 главной дозирующей системы, воздушный жиклер 8 системы холостого хода, винт 20 качества горючей смеси, трубка 22 отвода вакуума к вакуумкорректору распределителя зажигания и трубка 23 отбора управляющего вакуума к антитоксичным устройствам. Поплавковая камера снабжена поплавком 2 и сообщена через каналы с УН 3 и клапаном 4 разбалансировки, сообщенным с ЭМК 7 СХХ. Поплавковая камера содержит штуцер 12 подачи и перепуска топлива и клапан 13 подачи топлива. Пневмоэкономайзер 14 мощностных режимов выполнен в виде пневмоклапана, связанного с задроссельным пространством и с трубкой 23 антитоксичного устройства через жиклер 15.

Рисунок 1.39 – Карбюратор К-126Н
Карбюратор К-126Н
— двухкамерный, двухдиффузорный, с падающим потоком, сбалансированной поплавковой камерой, последовательным включением камер, механическим приводом вторичной камеры, СХХ в первичной камере и переходной во вторичной, УН поршневого типа, поплавковым механизмом с верхним подводом топлива, пусковым поплавком. Карбюраторы устанавливали на автомобилях "Москвич" до 1985 г., и они находятся в эксплуатации в большей своей части до настоящего времени.
Карбюратор имеет две смесительные камеры с последовательным открыванием дроссельных заслонок. Такая конструкция обеспечивает лучшие показатели. При этом первичная камера работает на частичных нагрузках (характерных для реальных условий эксплуатации), а вторичная — при полной нагрузке (при разгоне, преодолении подъема, езде с максимальной скоростью). Корпус состоит из трех частей: крышки 11, поплавковой 27 и смесительной 23 камер. В крышке 11 размещена воздушная заслонка 8, снабженная телескопическим механизмом, обеспечивающим эффективный пуск и прогрев двигателя, топливный штуцер с фильтром 13, распылители 4 эконостата 9 экономайзера и УН. Поддержание постоянного уровня топлива в поплавковой камере обеспечивается с помощью поплавка 14, топливного клапана 16 с иглой 17. Смотровое окно 15 позволяет контролировать уровень топлива в поплавковой камере без разборки карбюратора. Приготовление горючей смеси на различных режимах обеспечивается ГДС, СХХ, переходной системой, эконостатом, экономайзером и УН. Главная дозирующая система выполнена в каждой камере карбюратора. Она включает главный топливный жиклер 2, эмульсионную трубку 3 с отверстиями, главный воздушный жиклер 12, малый 5 и большой 18 диффузоры, размещенные в главном воздушном канале, и дроссельную заслонку 22.
Карбюратор К-126ГМ
предназначен для автомобилей "Волга" ГАЗ-2401. Карбюратор — двухкамерный, двухдиффузорный, с последовательным открыванием камер, с падающим потоком горючей смеси. Карбюратор имеет общую поплавковую камеру, экономайзер с механическим приводом, УН поршневого типа, винт токсичности и поплавковый механизм с верхним подводом топлива.
Поплавок карбюратора латунный, паяный. Система пуска холодного двигателя содержит воздушную заслонку 8 и систему рычагов, образующих полуавтоматическое пусковое устройство. Система XX размещена только в первичной камере. Она состоит из топливного и воздушного 9 жиклеров и имеет три отверстия в смесительной камере. В нижнем отверстии находится регулировочный винт 18 для регулирования состава горючей смеси на режимах XX. В канале системы XX имеется винт 19 для регулировки двигателя на содержание окиси углерода в ОГ.
В каждой камере карбюратора имеется ГДС, которая состоит из большого 17 и малого 4 диффузоров и двух главных жиклеров: топливных 2 и воздушных 3 и 11. Через главные воздушные жиклеры воздух поступает в эмульсионные трубки, в которых имеется ряд отверстий. Переходная система включает в себя топливный 5, воздушный жиклеры и отверстие в смесительной камере. При открытии дроссельных заслонок 21, близкому к полному, под действием разрежения дополнительное количество топлива через жиклер эконостата и его распылитель 6 поступает во вторичную камеру, обогащая горючую смесь. Ускорительный насос включает в себя обратный шариковый клапан 24 и нагнетательный клапан 20. Топливо из ускорительного насоса 23 поступает в первичную камеру через распылитель 7.

Рисунок 1.40 – Карбюратор К-126Г
Положение поршня УН регулируется изменением зазора между регулировочной гайкой поршня и планкой привода. Тяга 1 привода снабжена балансировочным каналом. В корпусе поплавковой камеры находится топливный клапан 15 с иглой 16, поплавок 13 и смотровое окно 14. Во входном штуцере расположен топливный фильтр 12. Между смесительной камерой 22 и корпусом поплавковой камеры размещена прокладка.
Карбюратор К-151
предназначен для двигателей ЗМЗ-402.10, -4021 автомобилей "Волга" ГАЗ-24-10, ГАЗ-3110. Карбюратор — двухкамерный, двухдиффузорный, с падающим потоком и последовательным механическим открыванием дроссельных заслонок вторичной камеры, сбалансированной поплавковой камерой, поплавковым механизмом с нижним подводом топлива, АСХХ, ЭПХХ, закрытой регулируемой системой вентиляции картера, системой рециркуляции ОГ, полуавтоматическим пусковым устройством, переходной системой, УН диафрагменного типа, эконостатом и латунным паяным поплавком.

Рисунок 1.41 – Карбюратор К-151
В первичной камере размещены: воздушная заслонка 12 с полуавтоматическим диафрагменным приводом и ручным управлением; главный топливный жиклер 18, сообщенный с эмульсионной трубкой 17, в которую через главный воздушный жиклер 13 поступает воздух; воздушные жиклеры 14 и 16 СХХ; эмульсионный жиклер 15 системы холостого хода; нагнетательный клапан 11 с распылителем УН, а также винт 26 качества горючей смеси.
Ускорительный насос содержит рычаг привода 24, кинематически связанный с мембраной 23, обратный клапан 22 с ограничителем 19 и перепускной жиклер 21 с ограничителем (винтом регулировки) 20. Экономайзер ПХХ 25 снабжен винтом 27 качества и винтом 28 количества горючей смеси. Во вторичной камере размещены воздушный 5 и топливный 6 жиклеры переходной системы, эмульсионная трубка 7 с главным воздушным жиклером 9, связанная с главным топливным жиклером 32 вторичной камеры, распылитель 8 и малый диффузор 10. Поплавковый механизм выполнен с нижним подводом топлива и снабжен штуцером подвода топлива 1, клапаном подачи топлива 3 с эластичным запирающим элементом, топливным фильтром 2 и поплавком 4. СХХ выполнена автономной, с двойным эмульсированием топлива в канал карбюратора. В корпусе смесительной камеры карбюратора размещены трубка 29 подвода разрежения к пневматическому электроклапану, трубка 30 отбора вакуума к вакуум-корректору распределителя зажигания, а также трубка 33 отбора вакуума к клапану рециркуляции ОГ.
1.3 Поиск и устранение неисправностей
Поиск и устранение причин нарушения нормальной работы двигателя, связанных с системой питания, всегда вызывают серьезные трудности не только у владельцев индивидуального транспорта, но и у работников предприятий автосервиса, так как требуют исполнителя более высокой квалификации, чем для выполнения других типовых работ по ремонту и техническому обслуживанию узлов автомобиля. Тем не менее, многие автолюбители, выполняя приведенные рекомендации, будут вполне в состоянии устранить' неисправности карбюратора, составляющие не менее 90% числа дефектов.
При поиске неисправностей карбюратора очень важно сразу исключить возможность наличия неполадок в топливоподающей системе карбюратора. А также в системе зажигания. Иными словами, предпринимать какое-либо вмешательство в карбюратор нужно в последнюю очередь, убедившись в исправности других систем.
Различные нарушения работы карбюратора чаще всего проявляются в ухудщении ездовых качеств автомобиля. Под ездовыми качествами следует понимать совокупность факторов, определяющих ощущения водителя при воздействии на педаль управления дроссельной заслонкой и которые он субъективно связывает с ускорением автомобиля. Организм человека очень чувствителен к ускорению и реагирует на небольшие его изменения. О нарушениях нормальных ездовых качеств, предположительно являющихся следствием дефекта карбюратора, можно говорить, если при изменении положения дроссельной заслонки не происходит ожидаемого привычного изменения движения, т.е. ускорения.
Характер нарушения нормальных ездовых качеств может весьма точно свидетельствовать о причине неисправности. Владельцу индивидуального автомобиля полезно знать об основных разновидностях этих нарушений, известных под названиями: провал, рывок, подергивание, раскачивание, вялый разгон.
Провал -
это хорошо воспринимаемое, достаточно продолжительное (от 0,5 до 5 с и более) уменьшение ускорения вплоть до перехода в замедление, несмотря на открытие дроссельных заслонок. Степень его проявления характеризуется термином "глубина" по аналогии с провалом, ямой на дороге.
Рывок -
это, по сути, тот же провал, но более ограниченный во времени (0,1...0,4с).
Подергивание
- это серия следующих один за другом легких коротких рывков.
Раскачивание -
это серия следующих один за другим провалов.
Под вялым разгоном
понимают низкую интенсивность увеличения скорости движения автомобиля.
Типичными нарушениями работы двигателя и ездовых качеств автомобиля из-за различных неисправностей карбюраторов являются
следующие:
· неустойчивая работа, остановка двигателя на холостом ходу;
· провал при открытии дроссельных заслонок, иногда с одновременным нарушением работы двигателя на холостом ходу;
· подергивание автомобиля при движении с небольшой скоростью, при открытии дроссельной заслонки вторичной камеры, вялый разгон при нормальной работе двигателя на холостом ходу;
· провал при открытии дроссельной заслонки вторичной камеры;
· глубокий провал, рывки и раскачивание автомобиля после непродолжительной работы двигателя с большим открытием дроссельных заслонок и особенно при повышении частоты вращения;
· провалы при любом резком открытии дроссельных заслонок;
· затрудненный пуск прогретого двигателя;
· затрудненный пуск холодного двигателя;
· повышенный расход топлива;
· вялый разгон.
Еще раз напоминаем, что перед тем как предпринимать серьезное вмешательство в карбюратор с целью поиска причин и устранения упомянутых неисправностей, нужно убедиться, что они связаны с дефектами именно карбюратора, а не системы топливоподачи до карбюратора или системы зажигания. Так, в системе питания могут быть засорены топливозаборник, фильтр тонкой очистки топлива или сетка в топливном насосе, негерметичны клапаны топливного насоса. Все эти неисправности могут приводить к нарушению нормальной работы двигателя, появлению провалов в первую очередь при движении с полной нагрузкой, в то время как на малой нагрузке или холостом ходу потребление двигателем топлива невелико и даже при нарушенной топливоподаче его может хватить для нормальной работы в этих режимах.
Фильтр тонкой очистки топлива, предварительно освобожденный от топлива, должен свободно продуваться воздухом под минимальным давлением (таким, какое можно создать ртом). При сомнениях в чистоте фильтра и отсутствии запасного можно эксплуатировать автомобиль и без него (но лучше так не делать).
Магистраль подачи топлива к бензонасосу должна легко продуваться с хорошо слышимым интенсивным бурлением топлива в баке. Перед этой проверкой нужно обязательно снять пробку с бензобака, иначе возможно
его повреждение!
Сетчатый фильтр топливного насоса и наличие загрязнений полости в корпусе под сеткой проверяют, отвернув болт с головкой 10 мм и сняв крышку.
Оценить работоспособность клапанов топливного насоса проще всего на двигателе, установив коленчатый вал в пределах двух оборотов в такое положение, чтобы рычаг ручной подкачки топлива не был блокирован кулачком привода. (Причем, при перемещении рычага ручной подкачки, должно ощущаться сопротивление сжимаемой при ходе всасывания пружины диафрагмы насоса.) Для этого снимите топливоподводящий шланг со штуцера на карбюраторе, вручную подкачайте топливо до его появления в отверстии шланга, отворачивая болт крепления крышки бензонасоса, снимите крышку и сетку. Затем плотно перекройте отверстие шланга (можно пальцем), отведите до упора рычаг ручной подкачки насоса в направлении его хода всасывания и затем отпустите, внимательно следя за появлением воздушных пузырей и струек топлива в отверстии выпускного клапана насоса.
Состояние клапана насоса, а, следовательно, и его работоспособность можно считать удовлетворительными, если из-под клапана выходят лишь отдельные пузырьки и струйки топлива, причем они видны в течение, по крайней мере, 1,5 с после того, как отпущен рычаг ручной подкачки. Это свидетельствует о достаточной герметичности клапана насоса. Такую проверку можно повторить несколько раз подряд, пока в полости насоса имеется достаточное количество топлива.
Если выход пузырей из клапана бурный и короткий (менее 0,5 с), то значит он негерметичен, что может указывать на неработоспособность всего насоса. Однако не следует удивляться полному отсутствию пузырей в клапане, если в течение 2...3 с после того, как отпущен рычаг ручной подкачки, в момент, когда открыто ранее перекрытое отверстие шланга от бензонасоса, из него появляются струи топлива: значит клапан герметичен и утечек практически нет.
При установке крышки насоса после его проверки обратите внимание, правильно ли сориентирована сетка: ее круглое отверстие диаметром 7,5 мм должно совпадать с отверстием впускного клапана, причем кольцевая выступающая закраина этого отверстия на сетке должна быть обращена вниз. Затягивать болт крепления крышки следует весьма осторожно, чтобы не продавить ее и не повредить резьбу в корпусе насоса.
Приступая к поиску причин ухудшения динамики разгона, рывков, провалов, учтите, что в этом, возможно, виновата система зажигания.
Вялый разгон может быть связан с неправильной, чаще всего слишком поздней, установкой момента зажигания, а повышенный расход топлива - с не герметичностью трубки подвода разрежения к вакуумному регулятору. Проверить работоспособность вакуумного регулятора проще всего на работающем на холостом ходу двигателе, отсоединив его вакуумную трубку от карбюратора и создав в ней разрежение:
если частота вращения коленчатого вала увеличилась, то явных нарушений в работе регулятора нет.
Частые короткие и резкие рывки (частое резкое подергивание) могут быть следствием нарушения нормального искрообразования, чаще всего при дефектных свечах, значительно повышенной по сравнению с нормой величине искрового промежутка, загрязненных проводах и крышке распределителя, слишком малого зазора между контактами прерывателя (если система зажигания контактная).
Слабое мягкое подергивание может быть вызвано слишком малым (менее 0,6 мм) искровым промежутком свечей зажигания.
На автомобилях АЗЛК-2141, ВАЗ-2104, ВАЗ-2105 провалы и подергивания
могут происходить из-за нарушения контакта в гибком проводнике, соединяющем входную клемму на прерывателе-распределителе зажигания с подвижным контактом (молоточком). Вы убедитесь в этом, отсоединив и пережав трубку подвода разрежения к вакуумному регулятору опережения зажигания: характер нарушений в работе двигателя в этом случае обычно резко меняется, так как пластина с контактами прерывателя перестает перемещаться, шевелить и перегибать провод.
Общая неустойчивость работы двигателя на всех режимах и особенно на холостом ходу часто бывает следствием повреждения помехоподавительного резистора в бегунке распределителя. Чтобы этот дефект не влиял на работу двигателя, достаточно поместить рядом с резистором отрезок одножильного медного провода, вводя его концы в хотя бы условное (не обязательно надежное в смысле электрического контакта) соприкосновение с металлическими контактами на бегунке.
Следует отметить, что в любом случае перед вмешательством в систему питания сначала всегда целесообразно проверить техническое состояние системы зажигания и найти явные дефекты и нарушения регулировок в отношении: зазоров между контактами прерывателя и электродами свечей, установки угла опережения зажигания, чистоты высоковольтных проводов, катушки зажигания и крышки-распределителя, исправности вакуумного регулятора, шарикового подшипника пластины контактов прерывателя. При этом нет необходимости тщательно устанавливать зазор между контактами прерывателя: прерыватель будет удовлетворительно работать при зазоре, по крайней мере, от 0,3 до 0.5мм. По существу при проверке необходимо только убедиться, что имеется достаточный для надежного прерывания тока зазор. Попытки с высокой точностью установить этот зазор всегда требуют последующей установки момента зажигания, так как любое изменение зазора между контактами прерывателя влияет на угол опережения.
Убедившись, что причина нарушения работы двигателя по всей вероятности в карбюраторе, целесообразно визуально оценить состояние его узлов и элементов с целью выявить дефекты до опробования на двигателе. Это особенно важно, если карбюратор был снят с автомобиля и еще не проверен в движении. После устранения выявленных таким образом дефектов во всех случаях гарантируется возможность запуска двигателя и движения хотя бы с прикрытой воздушной заслонкой.
Чтобы детально осмотреть элементы карбюратора, частично разберите его, сняв с корпуса крышку. Далее проверяйте состояние элементов карбюратора отдельно по двум основным частям: крышке и корпусу.
Вворачиваемый топливоподводящий и запрессованный топливо отводящий штуцеры должны плотно сидеть в соответствующих бобышках крышки карбюратора. Сетка топливного фильтра, фиксируемая пробкой в полости крышки перед игольчатым запорным клапаном, не должна иметь разрывов, а ее ячейки - сплошного загрязнения отложениями. Корпус игольчатого клапана должен быть плотно затянут на крышке. Шарик иглы при легком нажиме должен свободно утапливаться в ее тело и возвращаться обратно. Поплавки должны без малейшего заедания вращаться на оси и не иметь заметного перекоса.
Жиклеры на двух длинных топливо заборных трубках, запрессованных в нижнюю плоскость крышки, не должны иметь засорений.
Воздушная заслонка должна максимально плотно (без неравномерных у кромок зазоров и косых щелей) перекрывать входную горловину и без заедания поворачиваться на оси. Рычаг на оси воздушной заслонки не должен иметь люфта в месте заделки.
Шток диафрагменного механизма пускового устройства при принудительном утапливании должен легко перемещаться и при освобождении под действием сжатой пружины возвращаться в исходное положение.
В заключение проверьте герметичность иглы, поворачивая крышку поплавком вверх и, создавая разрежение в штуцере хотя бы резиновой грушей: в течение 30 с сжатая груша не должна хоть сколько-нибудь заметно менять свою форму.
Внимание! В карбюраторах, имеющих возврат топлива в бак при проверке герметичности иглы топдивовозвратный штуцер следует плотно закрывать!
Электромагнитный клапан должен иметь иглу с наконечником и жиклером требуемой маркировки. Клапан должен быть плотно, до полного вдавливания резинового уплотнительного кольца в дистанционную втулку, завернут в крышку.
При осмотре корпуса убедитесь в наличии и соответствии требуемым маркировкам резьбовых жиклеров: двух топливных в колодцах и двух воздушных с эмульсионными трубками.
Держатель распылителей ускорительного насоса должен быть плотно посажен в корпус карбюратора на резиновом уплотнительном кольце. Шарик нагнетательного клапана ускорительного насоса должен свободно перемещаться в канале держателя распылителей (проверяется по стуку).
Ось рычага ускорительного насоса должна быть плотно запрессована в кронштейны, винты крепления крышки затянуты. Когда вы оттягиваете рычаг привода ускорительного насоса, должно ощущаться сопротивление сжимаемой пружины диафрагмы.
Теперь проверьте ускорительный насос, заливая в поплавковую камеру бензин на половину ее глубины и вручную перемещая приводной рычаг. При этом после нескольких качков, необходимых для заполнения полости диафрагмы насоса, при каждом перемещении рычага из распылителей должны выходить ровные не попадающие на стенки большого и малого диффузоров струи топлива. Нарушение формы и направления струй свидетельствует о частичном засорении или изгибе распылителя.
При отсутствии струй топлива из распылителя убедитесь в исправности нагнетательного клапана и чистоте отверстий распылителя, а затем (при отсутствии положительного результата) разберите диафрагменный механизм ускорительного насоса, промойте его полость и продуйте все отверстия каналов ускорительного насоса сильной струёй воздуха.
Малые диффузоры должны быть вставлены до упора в гнезда корпуса. При этом входные отверстия их каналов должны быть обращены к главным воздушным жиклерам.
Привалочная плоскость корпуса не должна иметь выступающих забоин.
Оси
дроссельных заслонок должны свободно поворачиваться и не заклиниваться в крайних положениях. Если оси проворачиваются туго, размочите их бензином или другим растворителем.
Винт-упор на вторичной дроссельной заслонке должен быть отрегулирован таким образом, чтобы обеспечивать тонкую (0,1 мм) щель у кромок закрытой заслонки (Если у Вас ускорительный насос от Нивы или второй распылитель штатного насоса загнут в первую камеру, то этого зазора не должно быть).
Каналы системы вентиляции картера, включая входной штуцер, должны быть очищены от отложений и легко продуваться.
В соответствующем приливе корпуса должен быть установлен винт регулировки состава смеси на холостом ходу (так называемый винт качества), фиксируемый резиновым кольцом. На верхней плоскости корпуса на топливо заборной трубке системы холостого хода также должно иметься неповрежденное резиновое кольцо.
Провод датчика закрытого положения дроссельной заслонки должен быть соединен двумя пружинящими усиками с металлической головкой винта-упора дроссельной заслонки.
Устранив визуально обнаруженные неисправности и в случае, если не удалось добиться нормальной работы карбюратора, приступайте к проверке его систем, причем в первую очередь тех, которые потенциально могут вызвать отмеченные дефекты. Рассмотрим их в приведенном выше порядке.
Неустойчивая, вплоть до остановки, работа двигателя на холостом ходу может быть следствием слишком обедненной регулировкой смеси,
засорения топливного жиклера холостого хода, а также неисправностей либо клапана ЭПХХ на карбюраторе, либо системы управления ЭПХХ.
Выясняя причину дефекта, прежде всего убедитесь в чистоте жиклера (при необходимости восстановите ее), отвернув держатель и выдернув из него пассатижами жиклер. (Предварительно снимите воздушный фильтр.) Торцевое отверстие жиклера диаметром около 0,4 мм должно быть совершенно чистым: топливоподачу нарушит даже одна едва видимая ворсинка в отверстии. Очистите также и каналы в карбюраторе, для чего двигатель запустите без жиклера и держателя в карбюраторе и, поддерживая средние обороты коленчатого вала, на 10... 15 с закройте пальцем отверстие под жиклер.
Когда клапан снят, и жиклер из него выдернут, следует убедится в исправности его электрической обмотки и отсутствии заклинивания находящейся внутри запорной иглы, которая должна иметь выступающий черный пластмассовый наконечник (Этот наконечник на предприятиях автосервиса нередко выдергивают, обеспечивая внешне нормальную работу двигателя с неисправной системой ЭПХХ). Для этого соедините корпус клапана с одним выводом аккумуляторной батареи, а клемму на торце клапана - с другим. В момент замыкания электрической цепи запорная игла должна втягиваться внутрь клапана. Если игла остается неподвижной, убеждаются в легкости ее перемещения от руки и затем омметром проверяют обмотку клапана на обрыв.
Если однозначно установлен обрыв обмотки, временно (до замены клапана) можно применить уже упомянутый прием - выдернуть наконечник иглы, имея в виду, что в этом случае автомобиль будет расходовать в городе на 0,5...0,8 л/100 км больше топлива и не исключено появление самопроизвольных вспышек в цилиндрах двигателя после выключения зажигания.
Проделав эти операции, устанавливают клапан с жиклером на место, осторожно затянув его ключом и надев на контакт электрический провод. При отсутствии изменений в работе двигателя, отдельным проводом соединяют клемму на корпусе клапана непосредственно с "плюсом" аккумулятора: восстановление нормальной работы двигателя свидетельствуют о неисправности системы управления ЭПХХ.
Функционирование системы управления ЭПХХ проверяется на работающем двигателе путем подключения вольтметра одним выводом к проводу, соединяющему электромагнитный клапан с электронным блоком, а другим - к "массе". На холостом ходу и при работе двигателя с открытой дроссельной заслонкой на проводе электромагнита должно быть не менее 10 В. Затем открывают дроссельную заслонку и повышают частоту вращения коленчатого вала до 4000...5000 мин-1
, после чего резко полностью закрывают дроссельную заслонку. В момент закрытия заслонки и до падения частоты вращения примерно до 1900 мин-1
напряжение на обмотке клапана должно быть не более 0,5 В. Наличие этих признаков свидетельствует о непричастности системы управления ЭПХХ к нарушениям работы двигателя на холостом ходу.
Если в результате проверки установлено, что напряжение на обмотке электромагнита при отпускании дроссельной заслонки остается неизменным, то отсоединяют разъем на карбюраторе, соединяющий датчик положения дроссельной заслонки и блок управления и соединяют освободившийся провод от блока управления с "массой". Если при повторной проверке при частоте вращения коленчатого вала более 2100...2300 об/мин напряжение на проводе клапана уменьшается до 0,5 В и менее, неисправность заключается в нарушении контакта датчика положения заслонки с массой, или обрыве провода датчика. В противном случае неисправность связана с электронным блоком или его проводкой. Следует иметь в виду, что вторая неисправность ЭПХХ (отсутствие отключения питания обмотки клапана) приводит только к некоторому повышению расхода топлива и возможному появлению самовоспламенения после выключения зажигания.
Только проделав все изложенное выше, и, тем не менее, не достигнув восстановления нормальной работы двигателя на холостом ходу, следуйте в соответствии с ранее приведенными рекомендациями попытаться заново отрегулировать состав смеси на холостом ходу. Такая последовательность проведения работ позволит избежать усугубления дефекта вследствие разрегулировки исправной системы холостого хода.
Провал даже при самом медленном открытии дроссельной заслонки. Если он наблюдается одновременно с крайне неустойчивой работой двигателя на холостом ходу, может быть связан с засорением жиклера холостого хода. В противном случае (при нормальной работе двигателя на холостом ходу) следует прежде всего проверить регулировку уровня топлива и отсутствие засорения главных топливных жиклеров.
Глубокий, вплоть до остановки двигателя, провал при попытке открыть дроссельную заслонку, первичной или вторичной камер, кроме засорения главных топливных жиклеров, особенно если он возник после чистки карбюратора с его полной разборкой, может быть вызван неправильной установкой малых диффузоров в гнезда.
Внимание! Входные отверстия каналов на плоскости одной из ножек распылителей должны быть обращены в сторону эмульсионных колодцев.
Легкие подергивания автомобиля при малой и средней скорости движения, вялый разгон чаще всего бывают вызваны слишком низким уровнем топлива в поплавковой камере вследствие неправильной регулировки поплавкового механизма. Еще раз обращаем внимание, что зазор между прокладкой крышки и верхним выступом поплавков при перевернутой крышке должен быть 1 мм.
Провалы, рывки и раскачивания автомобиля, внезапно возникающие после непродолжительной работы двигателя с повышенной нагрузкой и устраняемые прикрытием дроссельной заслонки и переходом на малые нагрузки, чаще всего бывают вызваны нарушением нормальной топливоподачи в поплавковую камеру. При уверенности в чистоте топливоподводящей магистрали и исправности бензонасоса причину дефекта следует искать в загрязнении сетчатого фильтра карбюратора на входе в поплавковую камеру.
Провалы, возникающие при любом резком открытии дроссельных заслонок и исчезающие после работы двигателя в том же режиме в течение 2...5 с указывают на неисправность ускорительного насоса.
Основной признак неисправности ускорительного насоса - отсутствие или искривление бензиновых струй из распылителя (хотя бы одной из них), впрыскиваемых в смесительные камеры при повороте дроссельных заслонок. Отметим, что нормальным направлением струи считается такое, при котором она свободно падает вниз, не касаясь никаких деталей - диффузоров, осей, заслонок.
Затрудненный пуск прогретого двигателя, особенно если он заметно облегчается при полностью открытых дроссельных заслонках, чаще всего бывает связан с повышением уровня топлива в поплавковой камере, либо вследствие неправильной регулировки поплавкового механизма, или негерметичности запорного игольчатого клапана. Вторая неисправность на карбюраторах ДААЗ- 2108 крайне редка, хотя запорный клапан, разумеется, со временем может терять герметичность. Проверять это лучше всего резиновой грушей плотно надетой на входной штуцер в крышке поплавковой камеры. Когда крышка снята и положена разъемом вверх, закрывают (хотя бы пальцем) штуцер перепуска топлива (его диаметр меньше, чем у входного) и снимают грушу. Если видно, что она набирает воздух - клапан неисправен. Чтобы отвернуть его, нужно сначала снять поплавки для чего легкими ударами молотка по оправке диаметром 3,5...3,9 мм выбивают ось держателя. Вполне вероятно, что причина дефекта - грязь, попавшая в зону контакта иглы и ее седла. Поэтому, прежде всего, следует тщательно промывать и сам клапан и каналы в крышке, а также, конечно, сетчатый фильтр под пробкой. Если в результате этого герметичность не восстановилась, клапан требует замены или ремонта.
Неразборный клапан можно притереть, осторожно (через бумажную прокладку) зажав хвостовик иглы в патроне ручной дрели и вводя абразив (пасту ГОИ с маслом или подобную ей) через входное отверстие. Ну а если это не помогло и никакого другого выхода нет, остается одно: попытаться разобрать клапан. Понадобится плоская подставка (рис. 13) высотой 15 мм со сквозным отверстием диаметром 9,5 мм, а также оправка диаметром 1,5мм и длиной 15...20 мм. На одном из ее торцов должна быть зенковка, позволяющая центрировать оправку на острие иглы. Клапан устанавливают хвостовиком в отверстие подставки и вводят оправку (зенковкой вниз) в его входной канал. Легкими ударами по оправке выпрессовывают направляющую вместе с иглой. При аккуратном выполнении работы только чуть притупляется вершина иглы, что не имеет практического значения. Для облегчения выхода направляющей можно осторожно подпилить удерживающую ее завальцовку на торце корпуса иглы.
Один из способов ремонта сильно изношенного клапана заключается в рассверливании входного отверстия до диаметра 2,2...2,3 мм (не больше!) с последующей притиркой иглы по нему. Притирку выполняют после сборки клапана, так, как указано выше. Для запрессовки направляющей при сборке пользуются трубчатой оправкой, у которой наружный диаметр равен 7 мм, а диаметр отверстия - 5,5 мм. Перед запрессовкой направляющую ориентируют в то же положение, в каком она была до разборки. После сборки для надежности ее крепления можно слегка обжать край завальцовки.
Затрудненный пуск холодного двигателя,
неустойчивый выход на повышенную частоту вращения коленчатого вала чаще всего бывает вызван неправильной регулировкой пускового устройства.
Затрудненный пуск двигателя может также быть следствием неполного прикрытия воздушной заслонки. Его контролируют на просвет, сняв крышку карбюратора и повернув рычаг до упора против часовой стрелки. Если щели у краев заслонки велики, отпускают два винта ее крепления на оси и добиваются наиболее плотного прилегания. При этом нужно убедиться, что между штифтом на рычаге воздушной заслонки и верхним профилем рычага есть зазор, то есть рычаг не препятствует полному закрытию заслонки. В противном случае слегка подпиливают прилив, в который упирается ограничитель хода на обратной стороне рычага.
Если диафрагма пускового устройства негерметична, воздушная заслонка приоткрывается недостаточно и запушенный двигатель работает с перебоями из-за переобогащения смеси, требуя утапливания кнопки "подсоса". Диафрагму проверяют, прижав шланг диаметром 10...12 мм к пазу на крышке, куда выходит отверстие для подвода вакуума к пусковому устройству и создавая в этом шланге разрежение. Следует также проверить чистоту канала, который идет от отверстия на нижнем фланце карбюратора к диафрагменному устройству.
Повышенный расход топлива - наиболее сложный с точки зрения поиска возможных причин дефект карбюратора. Основные, чаще всего встречающиеся причины этого могут быть следующим:
· неправильная регулировка привода пускового устройства, при которой воздушная заслонка остается в частично закрытом положении при полностью утопленной кнопке управления;
· неплотно завернутый корпус клапана ЭПХХ, в связи с чем топливный жиклер холостого хода неплотно прилегает к седлу в корпусе карбюратора;
· установка несоответствующих модели карбюратора жиклеров, включая топливный жиклер холостого хода, перепутывание местами главных воздушных жиклеров;
· засорение отложениями воздушных жиклеров;
· неисправность системы управления ЭПХХ, отсутствие пластмассового наконечника на запорной игле электромагнитного клапана;
· негерметичность экономайзера;
· неправильный водитель.
Кроме того, не стоит забывать, что низкая экономичность может быть вызвана и другими, не зависящими от карбюратора причинами: износом цилиндропоршневой группы и механизма газораспределения, нарушенными углами опережения зажигания и установки колес, состоянием шин, наличием багажника на крыше и т. п.
Практика показывает, что размеры калиброванных отверстий в жиклерах при изготовлении выдерживаются точно и при правильной эксплуатации по существу с течением времени не изменяются. Поэтому обычно нет нужды проверять их действительную пропускную способность, достаточно ориентироваться на заводскую маркировку. Но если такая необходимость все же возникла (например, есть подозрение, что кто-то грубо чистил жиклеры стальной проволокой), то следует иметь в виду, что цифры маркировки показывают количество кубических сантиметров изооктана, протекающего через жиклер за минуту при высоте напора 500 мм. Но изооктан автолюбителю взять негде, и для точного контроля можно применять воду с высотой напора 1000 мм, а для пересчета пользоваться приведенным здесь графиком (а вот графика пока и нет... Обязуюсь найти). Кроме того, надо отметить, что проливка изооктаном дает результат, в численном выражении близкий к диаметру отверстия, обозначенному сотыми долями миллиметра (как у прежних моделей карбюраторов ДААЗ). Приблизительно, для общей ориентировки, эти маркировки можно считать идентичными.
Проверку экономайзера начинают с контроля диафрагменного узла. Для этого к демпфирующему жиклеру (разумеется при снятом карбюраторе) приставляют встык толстостенную резиновую трубку с наружным диаметром 6 мм и создают в ней разрежение - грушей или, в крайнем случае, ртом (если автомобиль заправлен неэтилированным бензином). Когда в системе обнаруживается утечка, вначале проверяют затяжку винтов крышки экономайзера; при негерметичной крышке разрежение под ней не достигает требуемого уровня. К снижению мощности двигателя приводит и засорение демпфирующего жиклера. Чтобы оценить его состояние, нужно снять крышку экономайзера и подуть в трубку, приставленную к жиклеру. Ну а в случае, когда поводом для беспокойства послужило не ухудшение динамики, а возросший расход топлива, следует сразу снять крышку и осматривать диафрагму: если в ней есть разрывы, то через них бензин подсасывается в задроссельное пространство.
Другой возможный, хотя и крайне редкий источник неисправности - несъемный, запрессованный в корпус карбюратора шариковый клапан экономайзера. Его герметичность можно проверить, прижав к выходному отверстию клапана (при снятой диафрагме) резиновую трубку и создав в ней разрежение. Но не исключен и, так сказать, противоположный дефект: засорение выходного отверстия клапана или подводящего канала. Проверяется это так. При помощи тонкого стержня отжимают шарик клапана, а затем между ним и седлом помещают кусочек тонкой медной проволоки длиной 15...20 мм, следя, чтобы он не проскочил внутрь. К отверстию клапана вновь прижимают резиновую трубку, но так, чтобы торчащая проволока вошла внутрь нее. Свободный проход воздуха по трубке свидетельствует об отсутствии засорения. Вынимая проволоку из клапана, отжимают шарик от седла иглой. Здесь нужна особая осторожность, чтобы не обломить ее и не повредить клапан.
И, наконец, контролируют наличие жиклера экономайзера, размещенного под диафрагмой. Он съемный, на резьбе, поэтому может быть легко потерян.
В дополнение, после выполнения всех вышеописанных работ по устранению возможных причин повышенного расхода топлива можно рекомендовать увеличить сечение воздушного жиклера главной дозирующей системы первичной камеры, имеющего маркировку "165" (В 21083 изначально стоял жиклер "155", а позднее завод заменил его на "165", наверное с той же целью экономии топлива. Но динамика точно пострадает!). С этой целью жиклер осторожно рассверливают, зажав хвостовик сверла диаметром 1,6 мм в ручные тиски, и вращая жиклер с эмульсионной трубкой пальцами. Как показывает опыт эксплуатации такое увеличение сечения воздушного жиклера и связанное с этим обеднение состава смеси на подавляющем большинстве экземпляров карбюраторов не приводит к ухудшению ездовых качеств автомобиля и способствует дополнительному снижению расхода топлива на 0,2...0,4 л/100 км.
Выводы из аналитической части
В аналитической части дипломной работы проведен анализ сервисных характеристик АТП 10 г. Новомосковска. Предложено для повышения конкурентоспособности этого предприятия создать на его территории пост технического обслуживания и ремонта карбюраторов двигателей легковых автомобилей.
Пост следует организовать и укомплектовать современным оборудованием так, что бы на нем смогли не только проверить работоспособность карбюратора двигателя легкового автомобиля, но и провести комплекс работ по восстановлению нормального функционирования этого важного узла в автомобиле. Для этого в аналитической части дипломного проекта производен анализ существующих конструкций карбюраторов, который предполагает детальное и углубленное ознакомление с агрегатами и узлами этого важного узла автомобиля. Здесь же большое внимание уделяется систематизации приемов поиска неисправностей в работе карбюратора и способов их устранения.
Для успешной работы поста по техническому обслуживанию и ремонту карбюраторов двигателей легковых автомобилей необходимо правильно выбрать виды работ, которые целесообразно выполнять на автосервисе, а также подобрать высокоэффективное оборудование, продумать план его размещения на имеющихся площадях для реализации наилучшего способа организации технологических работ.
2.1 Стенд компьютерный вакуумный для диагностики карбюраторов «СтеКВИКарб - 2»
На сегодняшний день проблема ремонта карбюраторов стоит очень остро.
Некачественный бензин, нерадивые работники автосервиса, уязвимость механизма приводят к тому, что капризный агрегат выходит из строя очень часто. Кроме того, при появлении различных неполадок, повышенного расхода топлива и неудовлетворительных ездовых качествах автомобиля водитель психологически склонен винить в этом карбюратор.
Главная задача специалиста - правильно выявить неисправности в системах карбюратора и убедиться, что ремонт дал положительные результаты. Стенд компьютерный вакуумный для диагностики карбюраторов «СтеКВИКарб - 2» позволяет решить эту задачу в считанные минуты.

Рисунок 2.1 - Стенд компьютерный вакуумный для диагностики карбюраторов «СтеКВИКарб - 2»
Даже неопытный, но добросовестный карбюраторщик точно и быстро диагностирует карбюратор, выявляет неисправности, контролирует результаты своей работы.
Как правило, неисправен не только карбюратор, но и другие системы автомобиля, что в комплексе приводит к крайне плохой работе двигателя. После ремонта карбюратора на стенде, мастер уверен в его исправности, и если после этого двигатель работает плохо, то поиск неисправностей продолжают в других системах автомобиля.
Очевидно и то, что в условиях конкурентной борьбы, надо двигаться вперед, надо чем-то отличаться от соседних СТО. Компьютерный карбюраторный стенд позволяет этого добиться. Окупаемость стенда составляет от 0,5 до 1 года.
Стенд иммитирует работу карбюратора на двигателе. У него есть вакуумная установка, которая создает расход воздуха такой же, как на двигателе, также имеется топливная система, подающая топливо в карбюратор с таким же давлением как бензонасос автомобиля.
Измерительная система стенда позволяет измерить количество воздуха и количество топлива проходящего через карбюратор и рассчитать состав смеси (так называемый коэффициент «альфа») на всех режимах работы карбюратора. Оператор постепенно открывает дроссельную заслонку, в карбюраторе по очереди срабатывают все системы от холостого хода до максимальной нагрузки, и на основе полученной информации о составе смеси строится график на экране монитора.
В память компьютера заложены эталонные характеристики всех типов отечественных карбюраторов. По отклонению реальной характеристики от эталонной оператор видит, в какой из систем карбюратора имеется неисправность и каков ее характер – смесь бедная либо богатая (либо карбюратор исправен).
Стенд измеряет конечный результат работы всех пневмогидравлических систем карбюратора – состав топливно-воздушной смеси, приготавливаемой во всем диапазоне работы, от холостого хода до режима максимальной мощности двигателя.
Оптимальный состав смеси для любых двигателей с искровым зажиганием одинаков – на 14,7 кг воздуха, необходимо подать 1 кг топлива – от «Запорожца» до «БМВ».
Цена стенда 92 000 руб
2.1.1 Назначение стенда диагностики карбюраторов
Стенд должен использоваться совместно с датчиками расхода воздуха и топлива и предназначен для:
· измерения расхода воздуха;
· измерения расхода топлива;
· измерения состава смеси a (соотношение воздух / топливо) на различных углах открытия дроссельных заслонок.
Стенд предназначен для испытаний карбюраторов, снятых с автомобилей при ремонте карбюраторов на станциях технического обслуживания, путем воспроизведения разрежения и расхода подаваемого воздуха, а также давления и расхода подаваемой технической жидкости с последующим сравнением результатов работы проверяемого карбюратора с исправным штатным карбюратором.
Стенд позволяет без разборки карбюратора определить правильность работы:
· клапана поплавковой камеры;
· насоса ускоритель;
· системы холостого хода;
· главной дозирующей системы первой и второй камеры;
· пневматического устройства привода второй камеры;
· пневматического устройства пусковой системы;
· экономайзера;
· эконостата.
Условия эксплуатации стенда – закрытые помещения, оборудованные принудительной вентиляцией, без резких изменений температуры, не содержащих в окружающей среде агрессивных и взрывоопасных веществ. Температура в помещении, где находится стенд, должна находиться в пределах от +15 до + 35˚С, и относительной влажности не более 80% при температуре 25º С. При этом в холодное время года температура ночью не должна опускаться ниже +10°С, в противном случае требуется выдержка перед включением в течение 2 часов при температуре не ниже +20°С.
2.1.2 Основные технические характеристики стенда
Основные технические характеристики стенда приведены в таблице 1.
Таблица 1 - Основные технические характеристики стенда
| № п/п
|
Наименование показателя, единицы измерения
|
Норма
|
| СтеКВИКарб-1
|
СтеКВИКарб-2
|
| 1.
|
Тип
|
Стационарный
|
Стационарный
|
| 2.
|
Диапазон воспроизведения:
- давления топлива, МПа (кгс/см2
)
- расхода топлива, л/ч, не менее
- разрежения воздуха, -МПа (-кгс/см2
)
|
0,02…0,06 (0,2…0,6)
0…30
0,02±0,002 (0,2±0,02)
|
0,02…0,06 (0,2…0,6)
0…30
0,02±0,002 (0,2±0,02)
|
| 3.
|
Вместимость топливного бака, л, не менее
|
8
|
8
|
| 4.
|
Потребляемая мощность, кВт, не более
|
1,6
|
2,7
|
| 5.
|
Габаритные размеры, мм, не более
|
1400х700х800
|
1400х700х800
|
| 6.
|
Сухая масса стенда, кг, не более
|
90
|
100
|
Стенд позволяет производить испытания следующих карбюраторов:
· автомобильные карбюраторы легковых и грузовых автомобилей производства СНГ (ЗАЗ, ВАЗ, ИЖ, АЗЛК, ГАЗ, ЗИЛ);
· автомобильные карбюраторы импортного производства (за исключением карбюраторов, имеющих электронные системы).
2.1.3 Устройство и принцип работы стенда
Конструкция стенда обеспечивает имитацию работы карбюратора на двигателе, и его испытание по дроссельной характеристике (метод испытания для контроля карбюраторов на заводах-изготовителях).
Конструктивно стенд состоит из следующих составных частей:
· вакуумная установка – обеспечивает достаточный расход воздуха и разрежение во время испытаний карбюратора;
· пульт управления (корпус) – является основанием для монтажа других составляющих стенда и рабочим местом карбюраторщика;
· топливоотделитель – предназначен для сбора топлива из смеси приготовленной карбюратором во время испытаний;
· пневматический топливный бак – обеспечивает подачу топлива к карбюратору посредством сжатого воздуха из централизованной магистрали;
· датчик расхода топлива – предназначен для постоянного измерения количества топлива, поступающего в карбюратор при испытаниях;
· датчик расхода воздуха – предназначен для постоянного измерения количества воздуха, потребляемого карбюратором во время испытаний;
· блок электроники – выполняет роль адаптера для подключения датчиков расхода топлива и воздуха к компьютеру.
Работой стенда посредством программы управляет компьютер, в память которого записаны эталонные характеристики карбюраторов.
Принцип работы стенда. Для испытания карбюратора, его необходимо снять с двигателя автомобиля и установить на специальное место на пульте стенда. Крепить карбюратор не требуется. Подсоединить топливопровод, установить датчик расхода воздуха. Топливная система стенда подает топливо в поплавковую камеру. При включении вакуумной установки разрежение подается в диффузоры карбюратора. В зависимости от режима работы карбюратора (угла открытия дроссельных заслонок) приготавливается смесь определенного состава, именно эту величину и призван определить стенд. На монитор компьютера выводятся значения расхода воздуха и топлива, а также вычисленный состав смеси в условных единицах. При изменении угла открытия дроссельных заслонок (соответственно – изменении расхода воздуха и топлива), показания автоматически изменяются, показывая фактические параметры карбюратора в заданном режиме.
Смесь, образованная в карбюраторе улавливается, проходя через топливоотделитель. В топливоотделителе топливо отделяется от воздуха и стекает в топливный бак.
Рабочая панель появляется на экране автоматически, сразу после загрузки компьютера. По центру вверху расположен график, на котором по оси Х откладывается процент открытия дроссельной заслонки, а по оси Y откладывается значение состава смеси (коэффициент избытка воздуха - a). Под графиком располагается диалоговое окно оператора, в котором индицируется текущий процесс. В правой части рабочей панели располагается меню выбора проверяемого карбюратора. В левой части расположены окна индикаторов. В нижней части – кнопки меню, с помощью этих кнопок и двух кнопок панели управления «ВЫБОР» и «ВВОД» осуществляется выбор операций.
Кнопки меню. Три кнопки меню расположены в нижней части рабочей панели: «Начать проверку», «Тип карбюратора» и «Выход в DOS». Кнопка меню «Тип карбюратора» используется для выбора типа карбюратора и соответствующей ему идеальной характеристики. Кнопка меню «Начать проверку» применяется после выбора типа карбюратора для начала работы программы.
Индикаторы.
В левой части рабочей панели располагаются индикаторы состояния расхода воздуха и топлива:
· Окно индикатора «Смесь», отображает текущее значение состава смеси (коэффициент избытка воздуха a).
· Окно индикатора «Воздух, %», отображает степень открытия дроссельной заслонки в процентах.
· Окно индикатора «100% воздух», отображает значение максимального расхода воздуха для данного карбюратора (м3), которое принято за 100% открытия дроссельной заслонки.
· Окно индикатора «Воздух, м3/ч», отображает текущее значение расхода воздуха.
· Окно индикатора «Топливо, л/ч», отображает текущее значение расхода топлива.
· Окно индикатора «Всего, л», отображает суммарный расход топлива за полный цикл проверки карбюратора (сбрасывается при начале следующего цикла).
· Окно индикатора «Таймер», отображает продолжительность проверки игольчатого клапана в секундах.
· Окно индикатора «Период», отображает текущее значение периода сигнала топлива в секундах.
· Два квадрата по обе стороны индикаторов «Таймер» и «Период» являются сигнализаторами датчика расхода топлива.
График.
Вверху в центре экрана находится координатная сетка. На ней линией изображается график идеальной характеристики карбюратора данного типа. В процессе снятия реальной характеристики, наносится реальный график зависимости состава смеси от степени открытия дроссельной заслонки.
Диалоговое окно оператора.
В диалоговом окне оператора отображается информация о текущем состоянии системы, а также с его помощью оператор осуществляет управление процессом проверки, посредством выполнения тех или иных действий в ответ на запрос.
Меню «Тип карбюратора».
В меню «Тип карбюратора» имеется список типов карбюраторов и с помощью кнопок меню и кнопок, расположенных на рабочем столе оператора необходимо в начале работы осуществить выбор типа карбюратора. При выборе типа карбюратора на графике отображается идеальная характеристика выбранного карбюратора.
Устройство для включения и проверки электромагнитного клапана холостого хода карбюратора.
Из передней панели выходят два провода со штекером и «крокодилом», которые подключаются к электромагнитному клапану холостого хода проверяемого карбюратора. На передней панели имеется контрольный светодиод: «Электромагнитный клапан». При подключении к исправному электромагнитному клапану контрольный светодиод должен загореться в полнакала. При обрыве обмотки клапана светодиод не горит, а при коротком замыкании он горит в полный накал.
Данное устройство работает при включении клавиши «Подача топлива».
Режим «Перекачка».
Пневматический топливный бак состоит из двух секций, приемной и расходной, и может работать в трех режимах:
· Обеспечивает подачу топлива из расходной секции в карбюратор посредством сжатого воздуха из внешней магистрали;
· Обеспечивает режим «Перекачка», когда топливо из приемной секции перекачивается в расходную секцию посредством сжатого воздуха из внешней магистрали;
· Обеспечивает режим заполнения приемного бака из двух источников – заливного отверстия на столешнице стенда и возврат топлива из топливоотделителя.
Для реализации этих режимов стенд имеет следующие элементы – 3 электромагнитных клапана, один клапан для подачи сжатого воздуха в расходную секцию для реализации первого режима, два клапана для подачи сжатого воздуха в приемную секцию и стравливания воздуха из расходной секции для реализации второго режима. Кроме этого имеется два обратных шариковых клапана – сливной, включен между топливоотделителем и приемной секцией, через него керосин сливается из топливоотделителя в приемную секцию при выключении турбин, он же перекрывает выход воздуха из приемной секции при перекачке. Второй обратный клапан – перекачивающий, включен между приемной и расходной секцией. Через него керосин перекачивается из приемной секции в расходную при перекачке он же перекрывает выход воздуха из расходной секции в первом режиме работы топливного бака.
Перекачку рекомендуется выполнять в начале рабочего дня, чтобы дать возможность керосину за ночь отстояться.
Для перекачки необходимо включить стенд, перекрыть кран, находящийся под столом в левом дальнем углу и нажать кнопку «Перекачка» на панели управления, при этом воздух начнет вытеснять керосин из приемного бака в расходный, с характерным звуком работы обратного клапана. Когда керосин в приемном баке закончится, характерный звук сменится простым шипением воздуха, при этом копку нужно отпустить, а кран плавно открывать, пока давление в приемном баке не сравняется с атмосферным, после этого кран открыть полностью.
Не забывайте открыть кран после перекачки
Заливка керосина
осуществляется через сливное отверстие, расположенное на столе, при этом кран должен находиться в положении «Открыто». После заливки керосина, необходимо осуществить перекачку, см. п. 4.12. Количество заливаемого керосина определяется по показаниям указателя уровня топлива после перекачки, например, если уровень топлива ½ бака, то залить три литра керосина.
Завершение работы.
После окончания работы на стенде, во избежание выхода из строя компьютера, перед отключением питания, необходимо, с помощью кнопок управления нажать на кнопку меню «Выход в DOS» и только после этого отключать питание стенда.
В конце рабочего дня после выключения стенда, необходимо вынуть вилки питания из розетки, либо обесточить розетку другими способами.
В случае если компьютер «завис» и не реагирует ни на какие воздействия, необходимо его перезагрузить.
Работа с файлами.
Для внесения изменений в информацию, хранящуюся в памяти компьютера, необходимо выйти из программы с помощью кнопки меню <ВЫХОД В DOS>, на экране появится оболочка Volkov Commander, далее необходимо установить курсор на искомый файл при помощи клавиш управления курсором, которые находятся в правом нижнем углу основной клавиатуры и помечены стрелками и нажать клавишу F4 (редактирование текстовых файлов, помеченных символами txt) или F3 (просмотр текстовых файлов). Пользователь может работать со следующими файлами:
· folders.txt - содержание первичной таблицы с названиями карбюраторов;
· engies.txt - файл, в котором содержаться идеальные характеристики, находящиеся в пункте меню ПЕКАР;
· ozon.txt, solex.txt, pierburg.txt и veber.txt - содержат идеальные характеристики;
· varinit.txt - настроечный файл;
· testlog.txt - файл, в который автоматически записываются снятые характеристики.
Файл folders.txt имеет следующую структуру:
· _[СОЛЕКСЫ] #solex.txt
· _[ОЗОНЫ] #ozon.txt
· _[ВЕБЕРЫ] #veber.txt
· _[ПЕКАР] #engies.txt
При желании ввести новый тип карбюраторов, необходимо иметь ввиду следующее: каждая строчка должна начинаться с символа "_", который набирается <Shift>+<-> (данное обозначение подразумевает удержание клавиши <Shift> и нажатие клавиши <->). Далее следует наименование карбюратора набранное заглавными буквами, которые получаются при удержании во время набора клавиши <Shift>. Наименование карбюратора должно быть заключено в квадратные скобки, которые набираются латинским шрифтом, для перехода на который необходимо нажать правый и левый Shift одновременно. После этого пробел (самая большая клавиша), решетка в латинском шрифте <Shift>+<#>, произвольное, но связанное по смыслу название нового файла (следует иметь ввиду, что количество символов в названии файла не должно превышать 8) в котором будут содержаться идеальные характеристики, точка и расширение txt. Точка набирается, в латинским шрифте точкой в нижнем ряду, в русском шрифте точкой в верхнем ряду <Shift>+<.>. Для перехода на новую строку, необходимо установить курсор в конец предыдущей строки и нажать клавишу <Enter>.Если же внесенные изменения по каким-либо причинам сохранять не следует, то нажать клавишу <Esc>, появится окно меню:
с помощью клавиш управления курсором установить курсор на слово "Don't save" и нажать <Enter>. При этом изменения не сохранятся, и мы окажемся опять в оболочке Volkov Commander. После создания новой строки с типом карбюратора в файле folders.txt, необходимо нажать клавишу F2 для сохранения этих изменений и выйти из этого файла с помощью клавиши <Esc>. После этого нажать <Shift>+F4 и набрать в появившейся строке название того файла, который был указан в folders.txt, например: zaz.txt. И уже в этот файл записывать идеальную характеристику нового карбюратора.
Файлы engies.txt, ozon.txt, solex.txt, veber.txt имеют следующую структуру:
· _НАЗАД #folders.txt
· _ОЗОН 2105
· 3:0.75
· 10:1.06
· 16:1.15
· 20:1.17
· 55:1.06
· 60:0.97
· 70:0.98
· 85:1.00
· 100:1.00
· _ОЗОН 2107
· 3:0.75
· 10:1.1
· 16:1.15
· 20:1.18
· 55:1.1
· 60:0.98
· 70:1.02
· 85:1.0
· 100:1.0
Вновь созданный файл необходимо начать со строки:_[НАЗАД] #folders.txt. После этого с новой строки после символа <_> написать название карбюратора, которому будет принадлежать характеристика, и которое будет отображаться во вторичной таблице карбюраторов. Затем с новой строки вводить собственно характеристику: "процент открытия дроссельной заслонки": "состав смеси".
Для добавления новой характеристики в существующий файл, необходимо в конце существующего текста написать название нового карбюратора и саму характеристику.
Файл varinit.txt предназначен для изменения характеристик измерительной системы стенда и имеет следующую структуру:
· 3000 -1
· 1.2 -2
· 0.7 -3
· 0.0022 -4
· 60 -5
· 25 -6
· 50 -7
· 4 -8
· 5 -9
· 2 -10
· 2.7 -11
· 40.0 -12
· 50 -13
· 3 -14
· 18.37 -15 коэффициент К
· 1.42 -16 коэффициент А
· 2.57 -17
· -18
· 0.5 -19
o -20
· folders.txt -21
Для подъема всей характеристики карбюратора надо увеличить коэффициент К, для опускания - уменьшить. В коэффициенте К изменение делать по одной единице младшего разряда целой части, а в коэффициенте А по одной единице младшего разряда дробной части числа. Для увеличения наклона характеристики по часовой стрелке надо уменьшить коэффициент А, а против часовой стрелки - увеличить.
Система учета количества проверенных карбюраторов.
Для определения количества проверенных карбюраторов необходимо выйти из программы с помощью кнопки меню "Выход в DOS", на экране появится оболочка Volkov Comander, далее необходимо установить курсор на файл testlog.txt при помощи клавиш управления курсором. После этого необходимо нажать кнопку F3 (просмотр), появится список проверенных карбюраторов в следующем виде:
13.9.2001, 6:49:42 - Testing СОЛЕКС 2108 тип проверяемого карбюратора
13.9.2001, 6:51:10 - 3.000 0.8
13.9.2001, 6:51:13 - 9.000 1.0 Заголовок, определяющий начало тестирования карбюратора
13.9.2001, 6:51:16 - 18.000 1.2
13.9.2001, 6:51:19 - 27.000 1.1
13.9.2001, 6:51:22 - 36.000 1.1
13.9.2001, 6:51:25 - 45.000 1.0
13.9.2001, 6:51:28 - 54.000 1.1
13.9.2001, 6:51:31 - 63.000 1.0
13.9.2001, 6:51:35 - 72.000 1.0
13.9.2001, 6:51:38 - 81.000 1.0
13.9.2001, 6:51:41 - 90.000 0.9 Состав смеси
   13.9.2001, 6:51:44 - 99.000 1.0
Дата Время Процент открытия дроссельной заслонки
И представляет собой собственно характеристику карбюратора, снятую на стенде. Параметры времени, процентов и смеси представляют собой параметры каждой нанесенной компьютером точки в процессе снятия характеристики.
Каждый заголовок 13.9.2001, 6:49:42 - Testing СОЛЕКС 2108, отделяет одну характеристику от другой, таким образом, количество таких заголовков определяется количеством проверенных карбюраторов. Необходимо помнить, что при проверке одного карбюратора, карбюраторщик, как правило, снимает не одну характеристику, а более, поэтому при определении количества проверенных карбюраторов необходимо учитывать не только тип карбюратора, но и время его проверки, если промежуток времени между соседними характеристиками не велик, то, скорее всего это характеристика одного и того же карбюратора.
Для работы со всеми вышеуказанными файлами могут использоваться следующие клавиши:
· F3 - просмотр.
· Page Up - прокрутка текста на одну страницу вверх.
· Page Down - прокрутка текста на одну страницу вниз.
· Ctrl+Page Up (+ означает нажатие клавиши Ctrl и, не отпуская ее нажать клавишу Page Up) - установка курсора в начало текста.
· Ctrl+Page Down - установка курсора в конец текста.
· F4 - редактирование (например, для удаления старых характеристик для последующего облегчения работы с файлом), перемещение по тексту осуществляется также как и при F3.
Для удаления используются следующие клавиши:
· Delete - удаление символа, находящегося перед курсором;
· Ctrl+Y - удаление всей строки на которой находится курсор.
После, входа в файл, по клавише F3 или F4 можно воспользоваться клавишей F7.
F7 - поиск строки в файле (после нажатия клавиши F7 появиться поисковая строка, в которую можно ввести текст, поиск которого будет осуществляться по всему файлу, например, ввести дату, при этом в результате поиска строка перейдет к тому месту файла, в котором эта дата встречается впервые, последующим нажатием клавиш Shift+F7, поиск найдет следующую строку с искомой датой).
2.1.4 Порядок работы на стенде
Установить испытуемый карбюратор на стенд и подсоединить к топливопроводу, установить на карбюратор датчик расхода воздуха, при наличии на карбюраторе электромагнитного клапана холостого хода – подсоединить к нему провода устройства.
С помощью кнопок «ВЫБОР» и «ВВОД», расположенных на панели управления, выбрать тип проверяемого карбюратора (для этого, с помощью кнопки «ВЫБОР», установить курсор на кнопку меню «ТИП КАРБЮРАТОРА» и нажать кнопку «ВВОД», при этом курсор перескочит в окно со списком типов карбюраторов, кнопкой «ВЫБОР» установить курсор на требуемый тип карбюратора и нажать кнопку «ВВОД», после этого на графике появится идеальная характеристика, соответствующая данному типу карбюратора), затем, используя тот же принцип выбрать кнопку меню «НАЧАТЬ ПРОВЕРКУ» и нажать на кнопку «ВВОД». При этом программа перейдет в режим проверки игольчатого клапана и в диалоговом окне появится надпись «Проверка игольчатого клапана», затем «Ожидание сигнала датчика топлива».
Проверка игольчатого клапана.
Включить клавишу «ПОДАЧА ТОПЛИВА», при этом в карбюратор начнет поступать керосин из топливной системы стенда, появится надпись: «Сигнал получен», в окне «ТАЙМЕР» будет отсчитываться время в секундах продолжительности тестирования, с правой и левой стороны окна «ПЕРИОД», в котором отображается период сигнала топлива, так же в секундах, будут попеременно мигать красные квадраты (каждый из которых соответствует окончанию одного полупериода сигнала топлива). Поскольку поплавковая камера будет постепенно наполняться, и поплавок начнет поджимать игольчатый клапан, расход топлива будет уменьшаться, и период сигнала топлива будет увеличиваться. В течение 40 секунд период сигнала топлива должен увеличиться до 20 секунд. Если это произойдет в диалоговом окне появится надпись «Клапан исправен!!!» и будет предложено продолжить проверку карбюратора, либо повторить проверку игольчатого клапана сначала. Если же условия исправности клапана не будут выполнены, то появится надпись «Клапан неисправен!!!» и также будет предложено продолжить проверку карбюратора, либо повторить проверку игольчатого клапана сначала.
Проверка насоса-ускорителя.
При нажатии кнопки «ВВОД» в диалоговом окне появится надпись: «Проверка насоса-ускорителя», после появления этой надписи, нужно осуществить 10 качков насосом-ускорителем при этом в окне «Всего,л» высветится количество топлива, которое подал насос-ускоритель за 10 качков. После этого сравнить полученное число с нормативным. Кроме этого, необходимо визуально определить начинается ли струя топлива сразу же в начале движения рычага привода дроссельных заслонок без задержки, струя должна быть сплошной без включения пузырьков воздуха, а также струя топлива не должна попадать ни на дроссельные заслонки ни на диффузоры и беспрепятственно выходить из карбюратора.
Проверка работоспособности системы холостого хода и регулировка пусковой системы.
Для продолжения проверки, необходимо нажать кнопку «ВВОД», при этом в диалоговом окне появится надпись: «Снятие характеристики. Установка 100% воздуха» и нажать кнопку «ПОДАЧА ВОЗДУХА», сделать выдержку в течение 20 секунд при закрытых дроссельных заслонках карбюратора для прогрева турбин стенда. Затем следует полностью открыть дроссельную заслонку и удерживать ее в таком состоянии, пока в окне «Воздух 100%» не появится число. Это необходимо для принятия компьютером максимального расхода воздуха данного карбюратора за 100% и последующего определения степени открытия дроссельной заслонки в процентах. Когда программа определила максимальный расход воздуха данного карбюратора в диалоговом окне появляется надпись: «Проверка хол. хода». Теперь можно убедиться в исправном функционировании винтов регулировки количества и качества смеси приготавливаемой системой холостого карбюратора. Прежде всего требуется чтобы винт качества обеспечивал большую глубину регулировки качества смеси в пределах от 1,1 до 0,4. Если система работает исправно, проверку заканчивают установкой количества и качества смеси согласно нормативов. Далее переходят к регулированию пусковой системы карбюратора, для этого полностью закрывают воздушную заслонку и с помощью соответствующих элементов регулировки и подгибания соответствующих тяг устанавливают нормативные значения расхода воздуха и состава смеси, обеспечиваемые карбюратором при пуске двигателя.
Снятие характеристики.
Для продолжения проверки необходимо нажать кнопку «ВВОД», при этом в диалоговом окне появится надпись: «Снятие характеристики». Далее следует, руководствуясь показаниями в окне «Воздух, %» устанавливать процент открытия дроссельной заслонки и ожидать, пока на экране не появится расходящийся круг, что будет соответствовать тому, что компьютер нанес данную точку на график (нанесение точки на график происходит при стабильном значении индикатора «Смесь», в течение двух периодов переключения датчика топлива). Измерения рекомендуется производить в точках излома идеальной характеристики. В конечном результате снятый график должен как можно более приближаться к идеальному графику. Если наблюдается сильное отклонение от идеального графика, то следует снять карбюратор с проверочного места, осуществить ремонт и повторно снять характеристику.
Сразу после снятия характеристики, необходимо нажать кнопку «СТОП» и выключить клавишу «ПОДАЧА ТОПЛИВА», а также нажать кнопку «ВВОД», при этом в диалоговом окне появится надпись-меню: «Ввод-сброс. Выбор-снятие характеристики». Если при этом нажать кнопку «ВВОД» произойдет сброс снятой характеристики и активизируется левая кнопка в меню на рабочей панели. При этом можно будет с помощью кнопки «ВЫБОР» активизировать кнопки меню «Тип карбюратора» или «Выход в DOS». А если нажать кнопку «ВЫБОР», то снятая характеристика сбросится и появится возможность повторно снять характеристику того же карбюратора (например, после каких-либо воздействий на этот карбюратор, для контроля полученных результатов). Кроме этого, при необходимости активизировать левую кнопку меню, необходимо нажать кнопку «ВВОД» при появлении в диалоговом окне надписи: «Снятие характеристики. Установка 100% воздуха».
Категорически запрещается оставлять включенной клавишу «ТОПЛИВО», это может привести к выходу из строя стенда.
Анализ результатов проверки карбюратора.
Рассмотрим характеристику наиболее распространенного карбюратора «ОЗОН 2105».
На характеристике карбюратора можно выделить 7 харакетерных участков.
1. Регулировка системы холостого хода. Эта точка определяет как обороты холостого хода, так и состав смеси на холостом ходу. Это чуть ли не единственная точка характеристики, которая очень сильно зависит от состояния двигателя и поэтому про стенду обороты делаются заведомо завышенными, а смесь несколько богаче оптимальной. Окончательную регулировку системы холостого хода карбюратора выполняют на двигателе одним из известных методов.
2. Этот участок характеризует работу переходной системы карбюратора и именно на этот участок влияет регулировка технологического винта, расположенного под заглушкой, а также величина жиклера холостого хода.
3. Начало работы главной дозирующей системы первой камеры, т.е. здесь подбираются главные топливный и воздушный жиклеры первой камеры.
4. Полная работа главной дозирующей системы первой камеры. На этот участок оказывает влияние состояние эмульсионных трубок и эмульсионных колодцев первой камеры.
5. Переходная система от первой камеры ко второй камере, некоторое обогащение смеси здесь необходимо для устранения провала в движении автомобиля при открытии дроссельной заслонки второй камеры.
6. Этот участок характеризует работу главной дозирующей системы второй камеры. По параметрам этого участка можно подбирать топливный и воздушный жиклеры второй камеры.
7. Последний участок характеризует работу пневматического эконостата мощностных режимов.
Отклонение снятой характеристики от эталонной на любом из участков, указывает либо на неисправность одной из перечисленных систем, либо на неправильную регулировку.
Во избежание ложных показаний стенда, не рекомендуется снятие более двух характеристик подряд. Необходимо сделать паузу 10 минут.
2.1.5 Калибровка стенда
Калибровку необходимо проводить ежедневно перед началом работы на стенде.
Калибровка проводится в следующей последовательности:
Включить питание стенда с помощью тумблера «Сеть» и оставить на 30 минут.
Установить на приемный фланец стенда исправный штатный карбюратор и включить вакуумную установку с помощью клавиши «ПОДАЧА ВОЗДУХА» на 1 минуту.
Установить на карбюратор датчик расхода воздуха и подключить шланг подачи топлива.
Выбрать тип исправного штатного карбюратора п.7.3.
Снять характеристику исправного штатного карбюратора п.7.6.
Если реальная характеристика совпала с идеальной, с точностью до единицы показателя «Смесь», то стенд считается откалиброванным.
Если реальная характеристика не совпадает с идеальной, необходимо ее подкорректировать следующим образом – для подъема всей характеристики карбюратора надо увеличить коэффициент К, для опускания - уменьшить. В коэффициенте К изменение делать по одной единице младшего разряда целой части, а в коэффициенте А по одной единице младшего разряда дробной части числа. Для увеличения наклона характеристики по часовой стрелке надо уменьшить коэффициент А, а против часовой стрелки – увеличить (п. 4.15).
2.2 Техническое обслуживание и регулировка карбюратора
Для обслуживания карбюраторов необходимы следующие инструменты и приспособления:
· рожковый или накидной гаечный ключ на 13 мм для снятия карбюратора с двигателя, для отворачивания электромагнитного клапана и торцевой ключ 13 мм для отворачивания пробки топливного фильтра;
· шлицевая отвертка с лезвием 7х0,8 мм для демонтажа крышки корпуса, крышек ускорительного насоса и экономайзера; воздушных жиклеров и некоторых других узлов;
· шлицевая отвертка с лезвием шириной 4,0 мм и длиной не менее 65 мм для отворачивания главных топливных жиклеров, а также для регулировки состава смеси на холостом ходу;
· остро заточенная палочка диаметром 3,5...4 мм и длиной 80... 100 мм для извлечения главных топливных жиклеров из эмульсионных колодцев;
· рожковый ключ на 11 мм для отворачивания корпуса запорной иглы поплавкового механизма;
· рожковый ключ на 8 мм для отворачивания контргайки на регулировочном винте в крышке диафрагменного механизма пускового устройства и удержания от поворота зажима троса управления воздушной заслонкой;
· ключ на 8 мм (желательно торцевой) для отсоединения троса управления воздушной заслонкой;
· рожковый ключ на 7 мм для начального приворота винта регулировки механизма приоткрытая дроссельной заслонки при пуске (в случае коррозии винта);
· короткая отвертка (50...70 мм) с лезвием шириной 4...5 мм для вращения упорных регулировочных винтов пусковой системы;
· круглые калибры (или сверла) диаметром 1,1 и 2,0 мм для регулировки величины приоткрытия дроссельной и воздушной заслонок при пуске;
· бронзовая или латунная оправка диаметром 3,5...3,9 мм и длиной 35...45 мм для удаления оси кронштейна поплавков;
· легкий молоток;
· приспособление для ремонта игольчатого запорного клапана (см. ниже);
· отрезок медной проволоки диаметром 0,8...0,9 мм и длиной 100 мм для прочистки главных топливных жиклеров;
· короткий отрезок медной проволоки диаметром 0,3 мм для прочистки топливного жиклера холостого хода и жиклера эконостата;
· короткий отрезок стальной проволоки диаметром 0,2...0,25 мм для прочистки распылителей ускорительного насоса;
· резиновая груша с тонким носиком для контроля герметичности запорного клапана поплавкового механизма;
· насос с резиновой трубкой диаметром 6 мм для продувки каналов карбюратора и очистки деталей от грязи и пыли;
· вольтметр на 15 В постоянного тока для контроля работы системы ЭПХХ.
В числе основных практически целесообразных и необходимых работ по техническому обслуживанию и регулировке карбюратора следует отметить следующие:
· наружная мойка;
· промывка сетчатого фильтра на входе в поплавковую камеру;
· промывка поплавковой камеры;.
· очистка воздушных жиклеров и других деталей от отложений;
· регулировка поплавкового механизма;
· регулировка пускового устройства;
· регулировка системы холостого хода.
Все эти работы не требуют обязательного демонтажа карбюратора с двигателя. Наружная мойка производится при помощи кисти любой растворяющей маслянистые отложения жидкостью: бензином, керосином, дизельным топливом, хотя, ввиду большей пожарной безопасности и меньшей испаряемости, следует предпочесть последние две. Еще лучше применять специальные химические составы, смываемые водой. После мойки карбюратор неплохо обдуть снаружи сжатым воздухом, хотя бы от автомобильного компрессора. Периодичность этой работы определяется самим водителем исходя из условий эксплуатации и, обычно бывает, необходима 1-2 раза в год.
Следует отметить, что не слишком загрязненный и постоянно эксплуатируемый карбюратор работает ничуть не хуже, чем идеально чистый, так как все работающие подвижные сочленения постоянно самоочищаются, а грязь снаружи сама не может попасть внутрь.
Технически необходима только чистка и мойка карбюратора с толстыми лохмотьями жирной грязи в рычажном механизме и пусковой системе, затрудняющими взаимное движение деталей. Но следует помнить, что каждая мойка - внесение в трущиеся пары песка и мелкого абразива. Поэтому излишнее усердие в этом тоже ни к чему.
Перед тем как мыть карбюратор на двигателе, снимите воздухоочиститель. В процессе мойки соблюдайте осторожность и не допускайте, чтобы грязь попала во внутренние полости карбюратора и впускной коллектор.
Засорение сетчатого фильтра на входе в поплавковую камеру происходит сравнительно редко и за весь период эксплуатации автомобиля аккуратному водителю может совсем не понадобиться его промывать, тем более что в системе питания современных автомобилей есть дополнительный фильтр тонкой очистки топлива, весьма эффективно защищающий карбюратор от загрязнения. О признаках засорения сетчатого фильтра мы будем говорить далее, в разделе, посвященному поиску поломок карбюратора.
Тем не менее, чтобы избежать неисправностей в пути, после пробега 50...70 тыс. км, или один раз в 2-3 года имеет смысл проверить состояние фильтра, тем более что, эта работа несложная, хотя и она требует соблюдения определенных правил.
Чем мыть внутренние поверхности и детали карбюратора? Обычно рекомендуют делать это чистым бензином. Однако бензин не растворяет смолы и лакообразные отложения, ведь карбюратор в процессе работы и так постоянно им "промывается". Поэтому лучше делать это, применяя растворители ? 645-652, гексапен, ацетон, дихлорэтан, амилацетат или различные спирты. Надо только помнить, что сильные растворители могут повредить неметаллические детали (прокладки, диафрагмы), их надо мыть отдельно и только в бензине.
Перед тем как отвернуть пробку - держатель сетчатого фильтра подкачайте вручную топливо бензонасосом, чтобы поплавковая камера полностью заполнилась топливом, и запорный клапан закрылся. Отвернув пробку, извлеките сетчатый фильтр, промойте его растворителем и продуйте воздухом. Если полость под пробкой сильно загрязнена, то промойте ее тонкой кистью с жестким невыпадающим волосом. Затем подставьте под отверстие для пробки какую-либо емкость и вновь подкачайте топливо, промывая внутреннюю полость прилива фильтра. И, наконец, установите сетку глухим концом в пробку и заверните пробку до упора.
При таком порядке работы грязь не будет попадать в поплавковую камеру и засорять топливные жиклеры, что часто бывает следствием неаккуратной промывки фильтра.
Неотложная промывка поплавковой камеры может понадобиться, если внезапно нарушится нормальная работа двигателя под средней и большой нагрузкой, чаще всего вследствие прекращения нормальной топливоподачи через главную топливодозирующую систему первичной камеры. Так как эта работа требует определенных условий, сначала нужно убедиться в ее необходимости: может оказаться, что предполагаемая неисправность вызвана другими причинами. В этом случае следует предварительно проделать все операции, описанные ниже в разделе о методах поиска неисправностей. Если двигатель работает нормально и соблюдены элементарные меры, позволяющие избежать загрязнения топливного бака (например, исключены случаи заправки автомобиля из канистр через воронку без сетки), практически нет необходимости заниматься этим чаще, чем один раз в 2-3 года. Косвенным свидетельством степени загрязнения поплавковой камеры является состояние уже упомянутого сетчатого фильтра на входе в карбюратор: засорение плотными отложениями хотя бы одной пятой части поверхности сетки указывает на целесообразность проверки состояния поплавковой камеры и, возможно, ее очистки.
Чтобы получить доступ к поплавковой камере, снимите воздушный фильтр, ослабьте хомуты крепления топливных шлангов и снимете их со штуцеров, отсоедините трос управления пусковым устройством, снимите электрический разъем на электромагнитном клапане. После этого, отвернув пять винтов крепления крышки карбюратора, осторожно снимите ее движением вверх, стараясь не повредить и не погнуть поплавки. Затем, не прикасаясь к поплавкам, переверните крышку над столом (верстаком), не теряя часто выпадающих из отверстий крепежных винтов, и поставьте крышку на стол поплавками вверх. Нельзя опускать крышку поплавками вниз: это приведет к изгибу их кронштейна и нарушению нормальной работы поплавкового механизма!
Часто автолюбители, не снимая карбюратора с двигателя, ограничиваются тем, что
протирают дно поплавковой камеры тряпкой; считая, что достигли цели. Однако подобная очистка может принести больше вреда, чем пользы. Дело в том, что не вытертая до конца грязь, а также волокна, отделившиеся от тряпки, могут остаться в поплавковой камере и быть причиной засорения топливных жиклеров, в первую очередь жиклера холостого хода. В результате исправный карбюратор после такой "чистки" может вообще перестать работать.
Чтобы избежать этого, очищайте поплавковую камеру карбюратора, не снятого с двигателя, резиновой грушей, высасывая топливо со дна заполненной им поплавковой камеры. Перемещая носик груши по поверхности дна, последовательно удалите все загрязнения, стараясь не взмутить отложения. По мере необходимости в поплавковую камеру осторожно долейте из небольшой емкости чистый бензин. На завершающем этапе дно камеры и все углубления можно протереть жесткой тонкой кисточкой и повторно удалить грушей загрязнения.
Если вы промывали карбюратор только для профилактики, этим можно ограничиться.
Если же промывка была предпринята с целью устранения явного засорения главных топливных жиклеров (его признаки приведены ниже, в разделе, посвященном поиску и устранению неисправностей), то после описанных операций с использованием груши, и заполнения поплавковой камеры чистым топливом, выворачивают главные воздушные жиклеры с эмульсионными трубками и продувают сверху сильной струёй воздуха эмульсионные колодцы. При этом из отверстий соединительного канала секций поплавковой камеры должны выходить пузыри воздуха, вынося с собой загрязнения. Сильно засоренные топливные жиклеры, можно прочистить медной проводкой диаметром 0,8 мм, не выворачивая их из колодцев.
При необходимости жиклеры можно вывернуть длинной узкой отверткой и вынуть, плотно насадив их на заточенную деревянную палочку. При вывернутых жиклерах пузыри при продувке колодцев будут выходить гораздо интенсивнее.
Появление в результате продувки колодцев грязи, в предварительно промытой поплавковой камере свидетельствует о наличии загрязнения соединительного канала. В этом случае нужно снова промыть поплавковую камеру и еще раз повторить продувку эмульсионных колодцев.
В целом, несмотря на очевидные преимущества чистой поплавковой камеры, не следует преувеличивать отрицательную роль ее загрязнения: мелкая слежавшаяся пыль на дне камеры может накапливаться в течение нескольких лет, не вызывая никаких нарушений работы карбюратора.
В процессе эксплуатации на деталях карбюратора со временем появляется темный смолистый налет - следствие работы системы принудительной вентиляции картера. По мере износа двигателя, количество картерных газов, поступающих в полость воздушного фильтра, возрастает, и загрязнение деталей карбюратора увеличивается.
Тем не менее, чистить тонкий налет на поверхностях горловины, стенок диффузоров, заслонок нет необходимости, так как он весьма незначительно изменяет сечение этих элементов и практически не оказывает влияния на работу.
В то же время на работу карбюратора существенно влияют отложения на калиброванных отверстиях воздушных жиклеров дозирующих систем. Это прежде всего воздушный жиклер системы холостого хода, а также воздушный жиклер главной дозирующей системы первичной камеры. Значительно меньше засоряются отложениями главный воздушный и воздушный жиклеры переходной системы вторичной камеры, что объясняется относительно небольшой долей времени работы вторичной камеры в эксплуатации.
Проверять состояние указанных воздушных жиклеров целесообразно при очередном снятии крышки карбюратора. Чистить смоченные бензином жиклеры можно медной проволокой или деревянной палочкой. (Для этого главные воздушные жиклеры с эмульсионными трубками удобнее вывернуть). Одновременно с воздушным жиклером холостого хода, необходимо убедиться и в чистоте противодренажного отверстия в крышке карбюратора у кромки закрытой воздушной заслонки.
В нормальных условиях эксплуатации исправного двигателя с небольшим прорывом картерных газов необходимость очистки воздушных жиклеров, в первую очередь жиклера холостого хода и главного первичной камеры, наступает обычно в первый раз не ранее чем после пробега 60...70 и даже 100 тыс. км. В дальнейшем, по мере изнашивания двигателя, очистка воздушных жиклеров может требоваться уже каждые 25...30 тыс. км.
Регулировка поплавкового механизма -
весьма ответственная и в то же время несложная операция при обслуживании карбюратора ДААЗ-2108. Допускаемые здесь ошибки наиболее часто являются причиной его неудовлетворительной работы.
Регулировка выполняется при снятой крышке и включает в себя три операции:
· регулировку взаимного положения поплавков, а также поплавков относительно стенок поплавковой камеры;
· регулировку механизма при закрытом игольчатом клапане;
· регулировку механизма при полностью открытом игольчатом клапане;
Первую операцию выполняют с целью устранения возможных деформаций кронштейна поплавков. Осторожно подгибая половины кронштейна вверх и вниз, добиваются, во-первых, одинакового расстояния от поплавков до прокладки крышки в любом положении держателя, и, во-вторых, подгибая их в боковом направлении, добиваются расположения обоих поплавков по центрам отпечатков верхнего среза стенок поплавковой камеры на прокладке крышки, при котором боковые стенки поплавков были бы параллельны продольным линиям отпечатков. Эта регулировка обеспечивает одинаковое погружение поплавков в топливо и исключает их задевание за стенки поплавковой камеры.
Затем переворачивают крышку в горизонтальное положение поплавками вверх, осторожно подгибая отверткой язычок кронштейна, воздействующий на хвостовик запорной иглы с утопленным в ее теле шариком, добиваются, чтобы зазор между выступающими частями поплавков и прокладкой крышки был не менее 0,5 и не более 1,0 мм. При такой регулировке, в вертикальном положении крышки поплавками вбок, когда шарик выступает из тела иглы, линия шва от пресс-формы на поплавке должна быть параллельна плоскости прокладки. Значительная не параллельность указанной линии и плоскости крышки при правильно выполненной регулировке на горизонтально расположенной перевернутой крышке свидетельствует о неисправности уз-па с демпфирующим шариком иглы: чаше всего, западание шарика в геле иглы.
В этом случае, когда нет возможности восстановить или заменить иглу, при подгибании язычка кронштейна следует ориентироваться только на обеспечение параллельности шва на поплавках и плоскости крышки при ее вертикальном положении, не обращая внимания на нарушение рекомендуемой величины зазора между прокладкой и поплавками при горизонтальном положении крышки. Этим обеспечивается вполне удовлетворительная работа карбюратора даже при неисправной игле с утопленным или выпавшим шариком. И, наконец, задним язычком, упирающимся в седло иглы, регулируют зазор при полностью отведенном поплавке, который должен составлять 15 мм.
Один раз правильно выполненная регулировка поплавкового механизма сохраняется весьма долго, нарушаясь чаще всего по причине неаккуратного обращения со снятой крышкой, а также вследствие естественного изнашивания трущихся деталей механизма: запорного конуса иглы, ее седла, язычка и оси кронштейна, В эксплуатации обычно нет необходимости специально разбирать исправно работающий карбюратор для проверки регулировки достаточно совместить ее контроль с очередной очисткой поплавковой камеры и воздушных жиклеров.
Обслуживание ускорительного насоса начинают с демонтажа распылителя. Сняв крышку карбюратора, его осторожно приподнимают лезвием отвертки, введенным под основание трубок, а затем захватывают плоскогубцами за лыски и вынимают. Чистоту жиклеров в трубках проверяют, надев резиновый шланг на основание распылителя (для наглядности можно опустить распылитель в воду). Заодно контролируют и герметичность нагнетательного клапана (для этого нужно держать распылитель вертикально и создать в шланге разрежение).
Если жиклеры засорены, их прочищают медной проволочкой и продувают. При необходимости трубки с жиклерами можно отделить от держателя путем вращения и вытягивания из отверстий, в которые они запрессованы.
Обратный клапан и топливоподводящий канал проверяют, прижав резиновую трубку к отверстию забора топлива в поплавковой камере:
воздух должен свободно проходить при нагнетании и не проходить, когда в трубке разрежение.
Сняв крышку, диафрагму и пружину ускорительного насоса, промывают его полость и при помощи проволоки убеждаются, что она свободно сообщается с вертикальным каналом в корпусе карбюратора.
При сборке системы нужно смочить основание распылителя каплей масла, чтобы не повредить уплотняющее резиновое кольцо.
Заключительная операция - проверка направленности струй топлива из распылителя; при необходимости осторожно подгибают трубки, чтобы топливо в период нагнетания подавалось в зазор между стенками малого и большого диффузоров, как в первичной, так и во вторичной камерах, не попадая на их поверхности,
В связи с наличием двух распылителей ускорительного насоса карбюратор ДААЗ-2108 имеет одну важную особенность. При резком разгоне с частичным нажатием на педаль заслонка вторичной камеры еще не открыта, а бензин в эту камеру, естественно, впрыскивается. Чтобы он там не задерживался, дроссельная заслонка вторичной камеры не должна закрываться плотно. Нужный размер щели устанавливают регулировкой упорного винта заслонки. Если карбюратор чистый и сухой, при просматривании заслонки на солнечный свет или на яркую лампу должен быть виден тонкий (0,1...0,15 мм) просвет по всему ее периметру.
Регулировка пусковой системы
может производится двумя способами:
· на снятом с автомобиля карбюраторе по зазорам у кромок заслонок;
· непосредственно на автомобиле по частоте вращения коленчатого вала.
Первый способ регулировки следует применять, когда по каким-либо причинам карбюратор был снят с автомобиля и подвергался полной разборке. Точно так же поступают и на сборочном конвейере завода, выпускающего карбюраторы.
При повернутом против часовой стрелки до упора рычаге-кулачке управления пусковой системой зазор, контролируемый круглым щупом (сверлом), у нижней (по ходу воздуха) кромки дроссельной заслонки должен составлять 1,1 мм. Он регулируется винтом с шестигранником 7 мм на головке и шлицем на хвостовике. Этот винт часто корродирует. Стронуть с места туго сидящий винт лучше рожковым ключом, вращать его можно отверткой.
Зазор у нижней кромки воздушной заслонки регулируют на величину 2 мм винтом в крышке диафрагменного механизма пусковой системы после ослабления контргайки. При этом загнутый на конце шток диафрагмы должен быть принудительно (хотя бы отверткой) утоплен до упора в регулировочный винт. После регулировки винт должен быть зафиксирован контргайкой.
Второй способ регулировки - непосредственно на автомобиле, позволяет достигнуть желаемых результатов с меньшими затратами времени. Для этого пускают двигатель со снятым воздушным фильтром и годностью вытягивают на себя монетку управления воздушной заслонкой. Принудительно приоткрывая воздушную заслонку, касаясь ее плоскости отверткой, хотя бы на 1/3 ее полного угла поворота, первым винтом устанавливают на прогретом двигателе исходную частоту вращения, составляющую 3200...3400 мин-1
. Затем, убрав отвертку и отпустив воздушную заслонку, вторым винтом устанавливают, за счет выбора положения воздушной заслонки, уменьшенную на 300...400 об/мин частоту вращения по сравнению с исходной. После чего винт фиксируется контргайкой, и регулировка на этом заканчивается.
Регулировка системы холостого хода
карбюратора выполняется с целью обеспечения устойчивой работы двигателя с минимальным содержанием оксида углерода (СО) в отработавших газах. В распоряжении автолюбителя, как правило, нет газоанализатора, позволяющего быстро и безошибочно выполнить эту работу. Вместе с тем, выполняя изложенные ниже несложные приемы, автолюбитель, имея в своем распоряжении только тахометр, а при его отсутствии -только собственное ощущение частоты вращения коленчатого вала, вполне в состоянии удовлетворительно отрегулировать карбюратор на холостом ходу. Для этого на прогретом двигателе, проколов отверткой пластмассовую заглушку и вращая винт "качества" в разные стороны, устанавливают его в положение, соответствующее максимальной частоте вращения на холостом ходу. Затем при помощи винта количества с ребристой пластмассовой ручкой, предназначенной для его вращения без применения отвертки, устанавливают несколько повышенную (на 150... 170 об/мин частоту вращения по сравнению с обычной для холостого хода. Для надежности еще раз повторяют обе выше описанные операции с винтами качества и количества. После этого, на работающем на холостом ходу с повышенной частотой вращения двигателя, не трогая больше винт количества, заворачивают винт качества, добиваясь падения частоты вращения на 150...170 мин-1
, т.е. до нормальной величины. На этом регулировка считается законченной.
Такой способ регулировки, особенно удобный при наличии точного тахометра, регистрирующего изменение частоты вращения на каждые 50 мин-1
, позволяет без применения газоанализатора гарантировать содержание СО в отработавших газах на уровне не более 1,5% (С помощью такой регулировки мне удавалось выставить СО в пределах 0,2-0,3%)
Другие существующие способы регулировки карбюратора на холостом ходу без применения газоанализатора, например, с использованием устанавливаемого в гнездо для свечи зажигания так называемого индикатора качества смеси (ИКС-2) с кварцевым окном, не позволяют гарантировать требуемое содержание СО в отработавших газах. Так, например, рекомендуемое в качестве критерия правильной регулировкой голубое пламя в окне индикатора ИКС-2 наблюдается при содержании СО и 3, и.4 и даже 5,5%. Пламя, в цилиндре меняет цвет с голубого на желтый только при содержании СО более 6%, т.е. далеко за допустимыми пределами.
Регулировку карбюратора на холостом ходу описанным способом можно производить достаточно часто. Однако даже при интенсивной эксплуатации повторять ее более 3-4 раз в год нецелесообразно. Чаще всего бывает достаточно регулировать карбюратор 2 раза в год - весной и осенью, а если автомобиль эксплуатируется только летом - то лишь один раз в начале сезона.
Выводы из проектной части
Для успешной работы поста технического обслуживания и ремонта карбюраторов двигателей легковых автомобилей на базе АТП 10 выбрано высокоэффективное оборудование, предложен план его размещения на имеющихся площадях для реализации наилучшего способа организации технологических работ.
Для диагностики карбюраторов выбран стенд компьютерный вакуумный «СтеКВИКарб - 2», который позволяет правильно выявить неисправности в системах карбюратора и убедиться, что ремонт дал положительные результаты в считанные минуты. При этом детально описывается устройство и принцип работы стенда, определены основные технические характеристики стенда, приводится детальное описание порядка работы на стенде. Большое внимание уделено калибровке стенда.
Техническое обслуживание и регулировка карбюратора требует определенной квалификации. Уделено большое внимание особенностям проведения этих операций.
Проведен технологический расчет СТО с постом технического обслуживания и ремонта карбюраторов двигателей легковых автомобилей. Показано, что для городских СТО производственная программа характеризуется числом комплексно обслуживаемых автомобилей в год, т.е. автомобилей, которым на станции выполняется весь комплекс работ по поддержанию их в технически исправном состоянии в течение года. Производственная программа дорожных СТО определяется общим суточным числом заездов автомобилей на станцию для оказания им технической помощи. Производственная программа станций обслуживания является основным показателем для расчета годовых работ, на основе которых определяются численность рабочих, число постов и автомобиле-мест
для ТО, ТР и хранения, площади производственных, складских, административно-бытовых и других помещений.
|