Федеральное агентство по образованию
Государственное образовательное учреждение высшего профессионального образования
Самарский государственный технический университет
РЕФЕРАТ
по теме
Коммутаторы аналоговых сигналов. Устройство и принцип действия
Выполнила: студентка 3-ИТ-5
Вахнина Н.А.
Проверил: главный инженер к.т.н
Четаев В.Г.
Самара 2010
Содержание
Устройство коммутаторов аналоговых сигналов
Статические характеристики аналоговых коммутаторов
Многоканальные коммутаторы или мультиплексоры
Матричные коммутаторы
Список используемых источников
Устройство коммутаторов аналоговых сигналов
Коммутация сигналов — это метод, с помощью которого сигналы, поступающие от нескольких источников, объединяются в определенном порядке в одной линии. Затем происходит соответствующая их обработка, и сигналы при помощи другого коммутатора могут быть направлены в различные исполнительные устройства. Упорядоченный ввод и вывод сигналов осуществляется, как правило, при помощи адресации источников и приемников сигналов, а также связанных с передачей сигналов коммутаторов.
Общая структурная схема связи источников и приемников через коммутатор представлена на рисунке 1.

Рисунок 1. Структурная схема связи источников и приемников через коммутатор
Коммутатор состоит из электронных ключей, связанных определенным образом. Ключи аналоговых сигналов должны обеспечить неискаженную передачу сигналов от источников к приемникам, однако в процессе передачи могут возникнуть и помехи, которые зависят от самих ключей и сигнала управления, например наложение одного сигнала на другой.
Обычно устройство управления коммутатором является цифровым и действует либо по заранее установленной программе, либо под управлением микропроцессоров или мини-ЭВМ (в этом случае программа управления коммутатором может быть изменена). Для выбора определенного ключа и назначения его функции (т.е. включения или отключения) используется адресный дешифратор команд. Кроме того при передаче сигналов возможны временные задержки, связанные или с быстродействием самих ключей, или с быстродействием устройства управления. И в том и в другом случае возможны потери частей передаваемых сигналов или их искажение.
Для исключения потерь при передаче сигналов, а также для согласования сопротивлений источников и приемников сигналов в состав коммутаторов могут входить различные согласующие и нормирующие усилители.
Если источники и приемники могут меняться местами, то коммутатор должен быть двунаправленным, т.е. обеспечивать передачу сигналов в обоих направлениях.
При коммутации сигнала и нагрузки можно использовать как одиночные ключи, так и их различные комбинации. Если источник сигнала имеет характеристики, близкие к характеристикам идеального источника напряжения (т.е. имеет малое внутреннее сопротивление), то для его коммутации целесообразно использовать последовательный (рисунок 2а) или последовательно-параллельный (рисунок 2б) ключ. Последовательно-параллельный коммутатор в любом рабочем состоянии он имеет выходное сопротивление, близкое к нулю.

а) б)
Рисунок 2. Схемы подключения источника к нагрузке при помощи: а – последовательного ключа; б – последовательно-параллельного ключа
Если же источник сигнала имеет характеристики, близкие к характеристикам идеального источника тока (т.е. малую внутреннюю проводимость), то для его коммутации лучше использовать параллельный (рисунок 3а) или параллельно-последовательный (рисунок 3б) ключ.

а) б)
Рисунок 3. Схемы подключения источника к нагрузке при помощи: а – параллельного ключа; б – параллельно-последовательного ключа
Разновидности аналоговых коммутаторов могут быть реализованы на электронных элементах с управляемым сопротивлением, имеющим малое минимальное и высокое максимальное значения. Для этих целей могут использоваться диодные мосты, биполярные и полевые транзисторы.
Диодные ключи применяются для точного и быстрого переключения напряжений и токов. Схемы различных диодных ключей приведены на рисунке 4. Двухдиодный ключ (рисунок 4а) при отсутствии управляющего напряжения заперт. При подаче на аноды диодов управляющего напряжения диоды отпираются и ключ замыкается. Напряжение смещения такого диодного ключа определяется разностью прямых напряжений на диодах D1 и D2. При подобранных диодах напряжение смещения лежит в пределах от 1 до 5 мВ. Время коммутации определяется быстродействием диодов. Для диодных ключей обычно используют диоды Шотки или кремниевые эпитаксиальные диоды с тонкой базой. В этих диодах слабо выражены эффекты накопления носителей, и их инерционность в основном определяется перезарядом барьерной емкости. Дифференциальное сопротивление открытого диодного ключа равно сумме дифференциальных сопротивлений диодов и может лежать в пределах от 1 до 50 Ом.
Основным недостатком такого ключа является прямое прохождение тока управляющего сигнала через нагрузку Rн и источник сигнала ес. Эту схему целесообразно использовать при малых сопротивлениях источника сигнала и сопротивления нагрузки, кроме того, желательно увеличивать сопротивление Rу для снижения тока в цепи управления. Однако следует учесть, что снижение тока управления приведет к увеличению дифференциального сопротивления диодов.
Для снижения помех из цепи управления можно использовать мостовую схему, приведенную на рисунке 4б. в этой схеме цепь управления развязана от цепи передачи сигнала. Если напряжение управления равно нулю, или имеет полярность, запирающую мост, то ключ разомкнут. При положительной полярности источника управляющего сигнала ключ замыкается, а ток управления проходит только через диоды и сопротивление Rу. Напряжение смещения будет равно разности прямых падений напряжений на диодах.
Недостатком этой схемы (рис. 4б) является отсутствие общей точки у источника сигнала и источника управления.
Схема, изображенная на рисунке 4в лишена этого недостатка, в ней используется 2 симметричных источника сигналов управления еу1 и еу2. Сигналы этих источников подводятся к диодному мосту через разделительные диоды D5 и D6. Для поддержания диодного моста в запертом состоянии при отсутствии сигналов управления на него подается через резисторы Rу1 и Rу2 запирающее напряжение от источников постоянного напряжения ±Е. в этой схеме обеспечивается развязка источника управления от цепи источника сигнала.

Рисунок 4. Схемы диодных ключей. а - на двух диодах; б - мостового диода; в – на шести диодах
Ключи на биполярных транзисторах более совершенны, чем диодные и значительно чаще используются в электронных схемах. Простейший ключ на одном биполярном транзисторе изображен на рисунке 5. он состоит из ключевого транзистора Т1 и схемы управления на транзисторе Т2. По структуре транзисторный ключ похож на двухдиодный ключ, изображенный на рисунке 4а. При отсутствии тока базы Т1 закрыт и ключ разомкнут, а при протекании через базу тока управления iб>iб.нас ключ разомкнут. В этом случае коллекторный и эмиттерный переходы открыты и действуют так же, как открытые диоды (рис 4а).

Рисунок 5. Схема простого транзисторного ключа
Ключи на полевых транзисторах с управляющими p-n переходами и с изолированным затвором в настоящее время получили преимущественное распространение в интегральных микросхемах. Прежде всего это связано с их следующими преимуществами: малые токи утечки, низкое потребление по цепи управления, отсутствие напряжения смещения, технологичность производства.
В аналоговых ключах используются полевые транзисторы с каналами p- и n-типа. Однако, поскольку подвижность электронов больше подвижности дырок, то сопротивление канала во включенном состоянии у транзисторов с n-каналом ниже. На быстродействие ключей существенным образом влияют переходные процессы в транзисторах. В этом отношении преимущественное применение находят полевые транзисторы с изолированным затвором, паразитные емкости у которых меньше. Наибольшее распространение получили ключи на комплементарной (согласованной) паре полевых транзисторов, один из которых имеет канал р-типа, а другой n-типа.
Особенностью ключей на полевых транзисторах с изолированным затвором является сильная зависимость сопротивления открытого канала от коммутируемого сигнала, что приводит к модуляции проводимости канала входным сигналом и возникновению дополнительных нелинейных искажений. Для снижения таких искажений в ключах ограничивают уровень входных сигналов и используют сравнительно большое сопротивление нагрузки ключа.
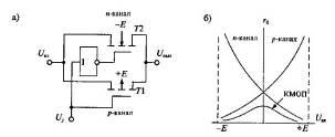
На рисунке 6 приведена схема ключа на полевом транзисторе Т1 с управляющим p-n-переходом и каналом p-типа. Схема управления ключом выполнена на транзисторе Т2, а ее питание производится от источника напряжения Е. Диод D необходим для того, чтобы напряжение затвор-исток оставалось равным нулю при любых значениях входных сигналов. Для исключения модуляции проводимости канала входным сигналом затвор через сопротивление Rз связан с напряжением источника сигнала ес. Устройство управления работает следующим образом: если напряжение управления равно нулю, то транзистор Т2 заперт и напряжение +Е через сопротивление R2 и диод D подводится к затвору транзистора Т1, запирая его. В результате этого ключ будет замкнут. Если напряжение управления включает транзистор Т2, то анод диода D через насыщенный транзистор Т2 соединяется с общей шиной, в результате чего напряжение на затворе Т1 снижается почти до нуля и транзистор Т1 отпирается, что эквивалентно замыканию ключа.
Ключи на полевых транзисторах с изолированным затвором и индуцированным каналом p- и n- типа получили самое широкое распространение при создании коммутаторов. Основной особенностью этих ключей является то, что в исходном состоянии при нулевом напряжении на затворе они заперты. Обогащение канала носителями заряда происходит только при подаче на затвор напряжения, превышающего пороговое напряжение. Токи утечки ПТИЗ определяются токами, которые протекают в закрытом транзисторе от истока и стока к подложке и имеют значение от 1 до 10 нА при нормальной температуре. С повышением температуры они ведут себя как обратные токи p-n-переходов, то есть экспоненциально увеличиваются. Сопротивление между затвором и другими электродами в ПТИЗ достигает очень большого значения: 10 …10 Ом, что при малой толщине диэлектрика под затвором (около 1мкм) приводит к необходимости защиты от статического электричества.
Схема простейшего ключа на полевом транзисторе с изолированным затвором р-типа изображена на рисунке 6. Для отпирания ключевого транзистора Т на его затвор необходимо подать напряжение отрицательной полярности, превышающее пороговое напряжение Uпор. Для запирания ключевого транзистора Т напряжение на затворе должно быть положительным или равным нулю. Устройство управления для этой схемы выполнено на компараторе напряжения К (или операционном усилителе). Если напряжение управления равно нулю, то на выходе компаратора будет положительное напряжение, близкое по значению к напряжению питания Е. при положительном управляющем напряжении компаратор переключается и на его выходе появляется отрицательное напряжение, также близкое к напряжению питания Е.

Рисунок 6. Схема ключа на полевом транзисторе с управляющим p-n-переходом (а) и с изолированным затвором (б)
Кроме отдельных транзисторов в качестве ключей широкое распространение получили схемы, содержащие параллельное соединение двух ПТИЗ с разным типом проводимости канала (комплементарные транзисторы). Это позволило избавиться от многих недостатков ключей на одиночных транзисторах: устранена модуляция сопротивления канала входным сигналом, снижены помехи из цепи управления, снижено сопротивление ключа в открытом состоянии и уменьшен ток утечки. Схема ключа на комплементарных транзисторах показана на рисунке 7а. для одновременного переключения транзисторов из включенного состояния в выключенное сигнал управления подается на затвор одного транзистора непосредственно, а на затвор другого – через инвертор.
При увеличении входного напряжения сопротивление р-канального транзистора увеличивается, а n-канального уменьшается. В результате параллельное соединение этих транзисторов имеет почти неизменное сопротивление r0 в открытом состоянии, как показано на рисунке 7б. поскольку транзисторы ключа управляются сигналами противоположной полярности, то импульсы помех взаимно компенсируются, что позволяет снизить уровень входных сигналов.

Рисунок 7. Схема ключа на комплементарных транзисторах (а) и зависимость его сопротивления в открытом состоянии от входного напряжения (б).
Вследствие неидеальности, они вносят погрешности в обрабатываемые сигналы. Источниками погрешностей электронных аналоговых коммутаторов являются:
· ненулевое проходное сопротивление электронного ключа во включенном состоянии и конечная его величина в выключенном;
· остаточное падение напряжения на замкнутом ключе, т.е. наличие напряжения на ключе при отсутствии через него тока;
· нелинейная зависимость сопротивления ключа от напряжения (тока) на информационном и управляющем входах;
· взаимодействие управляющего и коммутируемого сигналов;
· ограниченный динамический диапазон (по амплитуде и по знаку) коммутируемых токов и напряжений.
Ключи на биполярных транзисторах и, в особенности, на диодных мостах потребляют значительную мощность по цепям управления и имеют сравнительно большое остаточное напряжение, составляющее единицы милливольт, что вносит заметную погрешность при коммутации слабых сигналов (менее 100 мВ). Такие ключи имеют высокое быстродействие (время переключения диодных ключей, выполненных на диодах Шоттки, достигает 1 нс) и применяются для построения сверхскоростных коммутаторов.
Статические характеристики аналоговых коммутаторов
Сопротивление в открытом (включенном) состоянии.
Ключи КМОП, работающие от относительно высокого напряжения питания (например, +15 В), будут иметь малые значения Ro
во всем диапазоне значений входного сигнала, так как всегда тот или другой проводящий транзистор будет иметь прямое смещение затвора, равное, по крайней мере, половине напряжения питания. Но при меньшем напряжении питания сопротивление ключа Ro
будет расти, и максимум его имеет место при среднем уровне сигнала между высоким и низким напряжениями питания.
На рисунке 8 приведены зависимости Ro
ключа микросхемы коммутатора MAX312 от напряжения входного сигнала при однополярном питании. При уменьшении Uпит
сопротивление полевого транзистора во включенном состоянии значительно увеличивается (особенно вблизи точки Uвх
= Uпит
/2). Это объясняется тем, что для полевого транзистора обогащенного типа пороговое напряжение составляет несколько вольт, и для достижения малых значений Ro
требуется напряжение затвор-исток не меньше, чем 5...10 В. Как видно из рисунка 8, сопротивление открытого ключа при номинальном напряжении питания, близкое к 10 Ом, при Uпит=2,7 В достигает 700 Ом.

Рисунок 8. Зависимости Ro КМОП-ключа от входного напряжения при однополярном включении для различных значений питающего напряжения
Имеются различные приемы, которые разработчики ИМС аналоговых коммутаторов применяют, чтобы сохранить значение Ro малым и примерно постоянным во всем диапазоне изменения входных сигналов. Это нужно для уменьшения нелинейных искажений входного сигнала. Для этого схему управления ключом выполняют таким образом, чтобы напряжение n-подложки "следило" за напряжением входного сигнала. Применение транзисторов с малым напряжением отсечки и повышенной крутизной позволяет построить коммутаторы с весьма малым Ro при низком питающем напряжении. Так например, одноканальный ключ ADG701 при однополярном питании +5 В имеет сопротивление Ro
не более 2,5 Ом. На рисунке 9 приведены зависимости сопротивления открытого ключа низковольтной микросхемы МАХ391 от напряжения входного сигнала для различных питающих напряжений при однополярном (а) и разнополярном (б) питании.
(a) (б)
Рисунок 9. Графики зависимостей Ro ключа ИМС MAX391 от входного напряжения при однополярном (а) и разнополярном (б) включении для различных значений питающего напряжения
Применение КМОП логики для управления транзисторами ключей дает еще один важный положительный эффект - в покое эти микросхемы практически не потребляют энергии.
Ток утечки канала.
В закрытом состоянии канал МОП-ключа обладает очень высоким динамическим сопротивлением (до сотен ГОм) при напряжении сток-исток более 0,1 В. Поэтому его принимают источником тока с током Iут
. Направление протекания тока утечки через закрытый КМОП-ключ определяется полярностью приложенного напряжения. Типичное значение Iут для широкой номенклатуры аналоговых ключей и мультиплексоров составляет величину порядка 1 нА. Однако выпускаются и ключи с пониженным током утечки. Например, у одноканального ADG431 типичный ток утечки - 0,05 нА. При очень низких напряжениях на закрытом ключе сопротивление канала уменьшается, но остается все-таки весьма высоким.
Многоканальные коммутаторы или мультиплексоры
Многоканальные коммутаторы или мультиплексоры представляют собой интегральные микросхемы, имеющие много выходов для аналоговых сигналов и один выход, на который можно подать последовательно во времени любой из входных сигналов. Мультиплексоры состоят из набора ключей, устройства управления этими ключами и выходного согласующего каскада. Упрощенная схема мультиплексора изображена на рисунке 8. Такие мультиплексоры выпускаются в виде самостоятельных микросхем или входят в состав более крупных микросхем, называемых системами сбора данных. Кроме мультиплексора в систему сбора данных входят устройства, обеспечивающие обработку поступающей информации.

Рисунок 10. Упрощенная схема мультиплексора
Если имеются группы различных датчиков сигналов, то в состав микросхем могут входить несколько мультиплексоров, объединенных в группы. Такие микросхемы предназначены для работы с источниками потенциальных сигналов, например, температурными датчиками. Аналоговый сигнал с выбранного входа будет прямо проходить на выход.
Матричные коммутаторы
Еще одним видом аналоговых коммутаторов являются матричные коммутаторы. Существенное отличие их от обычных коммутаторов аналоговых сигналов состоит в том, что коммутатор всегда имеет один выход и несколько входов, переключая которые, мы выводим нужный нам входной сигнал на средство отображения. А матричные коммутаторы имеют произвольное количество входов и выходов, и переключение входных сигналов происходит в любой заданной последовательности, с любого входа на любой выход или с одного входа на все выходы.
Список используемых источников
1. В.А. Прянишников. Электроника. Курс лекций. Учебник для высших и средних учебных заведений. - «Корона-принт» 1998г, 400с.
|