МИНИСТЕРСТВО СЕЛЬСКОГО ХОЗЯЙСТВА
И ПРОДОВОЛЬСТВИЯ РЕСПУБЛИКИ БЕЛАРУСЬ
Учреждение образования
«Белорусский государственный аграрный технический университет»
Республиканский конкурс научных работ студентов
высших учебных заведений Республики Беларусь
Научная секция: «Агроинженерия основы хранения и переработки сельскохозяйственной продукции»
Девиз «Автопогрузчик»
Авторы:
Гришан Константин Юрьевич, 5 курс
Кудравец Кирилл Михайлович, 2 курс
Руководители:
Романюк Николай Николаевич,
канд. техн. наук
Минск, 2010
Реферат
Работа 51 с., рисунков 18, таблиц 4, литературных источников 2.
Погрузчик, автопогрузчик, устойчивость
Объект исследования – погрузчик.
Цель работы –
Содержание
Введение
1 Классификация погрузчиков
Вилочные погрузчики
Одноковшовые погрузчики
Многоковшовые погрузчики
Погрузчики с нагребающими лапами
2 Устойчивость автопогрузчиков
3 Расчет параметров и механизма опорного колеса
Выводы
Список использованных источников
ПРИЛОЖЕНИЯ
ВВЕДЕНИЕ
Высокие темпы развития народного хозяйства, огромный рост грузооборота, непрерывное развитие техники основного производства и задачи повышения производительности труда определили необходимость совершенствования средств и методов перемещения и складирования грузов на базе комплексной механизации и ликвидации тяжелого ручного труда на этих работах.
Большое место в комплексной механизации подъемно-транспортных операций принадлежит автопогрузчикам, которые заменяют частично или полностью ручной труд грузчика, резко повышают производительность труда и значительно снижают трудовые и материальные затраты на перемещение грузов.
Автопогрузчик с набором сменных грузозахватных приспособлений является универсальным средством механизации подъемно-транспортных работ, во многих областях народного хозяйства: в промышленности, на транспорте, в том числе внутризаводском и на складских работах. По сравнению с другими подъемно-транспортными средствами автопогрузчики более компактны, имеют меньший вес и более высокие эксплуатационные показатели.
Автопогрузчик представляет собой подъемно-транспортную машину, выполняющую операции захвата, вертикального и горизонтального перемещения груза и укладки его в штабель или на транспортную машину.
При хорошей организации работ, правильном использовании автопогрузчика и оборудовании его соответствующими грузозахватными приспособлениями почти все операции с различным грузом могут выполняться автопогрузчиком без участия рабочего; в тех случаях, когда участие рабочего необходимо, это не связано с большим физическим напряжением.
Использование автопогрузчиков в народном хозяйстве дает возможность:
1) механизировать подъемно-транспортные операции, освободить большое число грузчиков от тяжелого физического труда и перевести их на более квалифицированные работы;
2) ускорить погрузку, выгрузку, перемещение и штабелирование различных видов грузов;
3) значительно снизить стоимость погрузочно-разгрузочных, транспортных и складских работ;
4) сократить в несколько раз простои автомобильного транспорта и уменьшить простои железнодорожных вагонов под погрузкой и выгрузкой, особенно тяжеловесных грузов;
5) увеличить эффективность использования объема хранилищ и складов за счет увеличения высоты штабелирования;
6) создать условия для лучшей сохранности груза и уменьшить потери от порчи его при выполнении различных погрузочно-разгрузочных и подъемно-транспортных операций;
7) улучшить условия хранения грузов путем применения наиболее рационального способа укладки их в штабель;
8) повысить безопасность выполнения операции погрузки, выгрузки и штабелирования грузов большого веса.
1. ХАРАКТЕРИСТИКА ПОГРУЗЧИКОВ
1.1 Классификация погрузчиков
Погрузчиками называют подъемно-транспортные машины, применяемые для захвата свободно лежащих штучных или для зачерпывания насыпных грузов, подъема и перемещения их со склада в транспортные средства или из последних на склад. По виду перегружаемых грузов их можно разделить на погрузчики для штучных и погрузчики для насыпных грузов. Главным классификационным признаком является вид основного захватного погрузочного органа, конструкция которого зависит от способа захвата насыпного груза: нижнего, бокового или верхнего.
Способ нижнего захвата (рисунок 1, а) характеризуется горизонтальным внедрением рабочего органа в штабель с последующим отрывом части насыпного груза при движении рабочего органа вверх. Его применяют в погрузчиках для зачерпывания насыпного груза из высоких штабелей.
Способ бокового захвата (рисунок 1, б) характеризуется подгребанием насыпного груза путем кругообразного движения рабочего органа. Его применяют в погрузчиках для зачерпывания малоабразивных грузов из невысоких штабелей и уборки снега из валиков.
Способ верхнего захвата (рисунок 1,в) характеризуется движением рабочего органа сверху вниз для отрыва от штабеля части насыпного груза. Этот способ используют в погрузчиках для подборки насыпного груза из очень мелких штабелей (например, с полотна строящейся автомобильной дороги, из куч и т. п.).;
У погрузчиков для перегрузки штучных грузов в качестве захватного рабочего органа применяют вилы 1 (рисунок 2, а) из двух: толстых и широких полос, согнутых под прямым углом. Поэтому такие погрузчики называют вилочными. Штучный груз, подхваченный и поднятый на вилах погрузчика, транспортируется к месту укладки.
Для зачерпывания насыпных грузов способом нижнего захвата применяют одно- и многоковшовые погрузчики. У одноковшовых погрузчиков черпающим органом является ковш 2 (рисунок 2, б),

Рисунок 1.1 – Способы захвата насыпного груза их штабеля рабочими органами погрузчиков:
а – нижний захват; б – боковой захват; в - верхний захват
Шарнирно подвешенный на подъемной стреле. С движением всего погрузчика в сторону штабеля ковш заполняют насыпным грузом, поднимают и с передвижением всего погрузчика транспортируют к месту разгрузки. У многоковшовых погрузчиков черпающими органами являются ковши цепного элеватора 3 (рисунок 2, в) и ковши, размещенные на вращающейся около трубчатой стрелы трубе 4 (рисунок 2, г) или на вращающемся колесе 5 (рисунок 2, д). Последние два погрузчика называют роторными погрузчиками. У многоковшовых и роторных погрузчиков ковши с насыпным грузом поднимаются и разгружаются на ленточный конвейер, с помощью которого прямо или через другой конвейер груз подается в транспортные средства.
Для зачерпывания насыпного груза способом верхнего захвата применяют скребковые погрузчики, у которых рабочим органом является короткий скребковый конвейер 6 (рисунок 2, ё). Насыпной груз нагребают скребками на ленточный конвейер для загрузки автомобилей-самосвалов.
По способу бокового захвата различают погрузчики с парными нагребающими лапами 7 (рисунок 2, ж) или рифлеными дисками. 11 (рисунок 2, з). Погрузчики с тем или другим рабочим органом в принципе могут иметь одинаковое самоходное шасси на гусеничном или колесном ходу.
Рычажный механизм подгребающих лап 7 (см. рисунок 2, ж) является частью механизма четырехзвенника. Каждая лапа примерно в середине имеет шарнир, вертикальная ось которого эксцентрично расположена на вращающемся диске 8. Лапы совершают качательные движения в плоскости наклонной приемной плиты 9, называемой лопатой. С движением погрузчика в сторону штабеля лопата врезается в основание штабеля, нагребающие лапы отрывают часть насыпного груза из штабеля, перемещают ее по верху лопаты на скребковый конвейер 10 для подачи груза в транспортные средства.
В механизме нагребания с рифлеными дисками 11 (см. рисунок 2, з)
Каждый из них эксцентрично посажен относительно оси вращающихся дисков 12. При вращении последних в разные стороны, как показано стрелками на рисунок 2, з, рифленые диски нагребают насыпной груз на скребковый конвейер.
По характеру рабочего процесса погрузчики бывают периодического (цикличного) и непрерывного действия; по виду ходового оборудования — гусеничные или колесные; по виду привода — с двигателем внутреннего сгорания или электрическим.

Рисунок 1.2 – Конструктивные схемы погрузчиков:
а – вилочного; б – одноковшового; в – многоковшового; г, д – роторных; е – скребкового; ж – с нагребающими лапами; з – с подгребающими дисками
1.2 Вилочные погрузчики
Вилочными погрузчиками называют самоходные подъемно-транспортные машины с вертикальным телескопическим грузоподъемником и подвешенными на нем грузовыми вилами 1 (см. рисунок 2, а).
В конструкции вилочных автопогрузчиков сочетаются механизм вертикального гидравлического подъемника с транспортной самоходной машиной на пневматическом ходу или массивных шинах. Поднимают и опускают груз с помощью грузоподъемника. Он может быть установлен спереди или сбоку самоходного шасси; в первом случае вилочные погрузчики называют фронтальными, а во втором — боковыми. Те и другие бывают с приводом от двигателя внутреннего сгорания или электрическими (на постоянном токе с питанием от электробатарей); Первые называют автопогрузчиками, а вторые — электрическими вилочными погрузчиками.
Вилочные погрузчики своими колесами опираются на дорожное покрытие теоретически в трех или четырех точках, поэтому их часто называют трехопорными (трехколесными) или четырехопорными (четырехколесными). Трехопорпую ходовую схему применяют у электропогрузчиков грузоподъемностью менее 1т при небольших скоростях движения, когда при малых проездах у складов или в вагоне разворачиваться погрузчик должен буквально на месте. Для этого третье — заднее колесо делают часто не только управляемым, но и приводным. При больших нагрузках на колеса, сравнительно высоких скоростях движения и повышенных требованиях к устойчивости с поднятым грузом применяют только четырехколесные автопогрузчики.
Автопогрузчики в основном предназначены для выполнения подъемно-транспортных работ с тарно-штучными грузами: при загрузке и разгрузке грузовых автомобилей, железнодорожных платформ, морских судов (работа в трюмах), самолетов; при работе на грузовых дворах железнодорожных станций,: а также на территории морских и речных портов, в открытых/а с применением нейтрализаторов для отработавших газов, устанавливаемых в глушителе, и закрытых складах, а также цехах заводов и фабрик. Кроме того, их используют на монтаже промышленного оборудования и для выполнения вспомогательных работ в строительстве, а в некоторых случаях для погрузки насыпных грузов при работе с ковшом. Дальность транспортирования грузов может доходить до 500 м, а иногда и больше, если это целесообразно. Они могут работать на горизонтальных площадках (с уклоном не более 2°) с твердым дорожным покрытием (асфальтобетонное, цементобетонное и булыжное), а также с естественным уплотненным покрытием (при хорошем отводе поверхностных сточных вод) и температуре окружающего воздуха 40°С. В пределах рабочей площадки, а также на расстоянии транспортирования груза по условиям безопасности скорость движения с грузом может доходить до 10 км/ч, а при перегонах без груза — до 30—35 км/ч. Возможный преодолеваемый ими уклон не менее 8° на длине до 40 м.

Рисунок 1.3 – Фронтальный автопогрузчик грузоподъемностью 3,2—5 т:
1 —грузовые вилы; 2 — подъемная каретка;3 — грузоподъемник; 4 — кабина; 5 — рулевое управление; 6 — рычаг управления механизмом обратного хода; 7 — рычаг стояночного тормоза; 8 —тормозная педаль; 9 — педаль управления подачей топлива; 10 — рычаг переключения передач; 11 — сиденье; 12 ~ рычаг гидрораспределителя; 13 — двигатель внутреннего сгорания; 14 — противовес; 15 — задняя подвеска; 16 — рама; 17 — гидроусилитель рулевого управления; 18 — продольная рулевая тяга; 19 — гидравлический цилиндр наклона; 20 — передний ведущий мост

Рисунок 1.4 – Фронтальный автопогрузчик грузоподъемностью 3,2-5 т:
1 - масляный бак; 2 — гидрораспределитель; 3 —аккумуляторная батарея ; 4 — топливный бак; 5 - педаль выключения сцепления

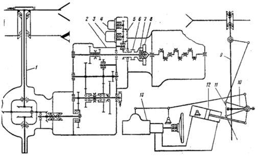
Рисунок 1.5 – Кинематическая схема автопогрузчика

Рисунок 1.6 – Кинематическая схема автопогрузчика

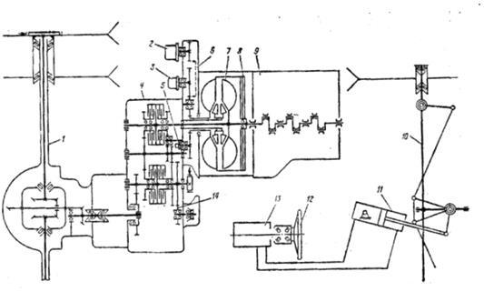
Рисунок 1.7 – Кинематическая схема малогабаритных автопогрузчиков с гидромеханической трансмиссией

Рисунок 1.8 – Фронтальный автопогрузчик грузоподъемностью 1 т;
грузовые вилы ; 2 — подъемная каретка; 3 - цилиндры наклона грузоподъемника;4 - грузоподъемник; 5 — рулевое колесо; 6 — навес; 7 — двигатель; 8 — противовес; 9 - буксирное устройство; 10 — задняя подвеска; 11 — передний мост; 12 — масляный бак; 13,14, 16, 21 — рычаги управления гидрораспределителем, стояночным тормозом, коробкой передач и механизмом обратного хода; 15, 22 — педали сцепления и тормоза; 17, 18 - насосы; 19 — аккумуляторная батарея; 20 — топливный бак
Таблица 1.1 - Техническая характеристика фронтальных автопогрузчиков





Рисунок 1.9 – Основные эксплуатационные параметры автопогрузчиков
При эксплуатации автопогрузчиков применяют сменное оборудование.
Ковши на автопогрузчиках бывают обычные и двухчелюстные. Их применяют для зачерпывания сравнительно легких насыпных грузов: гранулированного шлака, сухих песка и перелопаченного грунта, а главным образом, каменного угля при обслуживания котельных. Форма обычных ковшей для автопогрузчиков довольно многообразна. Учитывая, что работа ковшей у автопогрузчиков примерно такая же, как у одноковшовых погрузчиков, целесообразно воспользоваться для них формой ковшей, хорошо отработанной у последних.
Двухчелюстные ковши изготовляют только для автопогрузчиков грузоподъемностью 3,2 и 5 т соответственно с ковшами грузоподъемностью 2300 и 3500 кг и объемом 1,4 и 1,8 м3.
Стрелу укосину применяют вместо вил на автопогрузчиказ для погрузочно-разгрузочных работ с разными штучными грузами фасонной конфигурации, которые трудно перегружать с помощью грузовых вил. Кроме того, ее применяют при ремонтных работах и монтаже разного оборудования.
Клещевой захват применяют на автопогрузчиках грузоподъемностью 3,2 и 5 т для погрузочно-разгрузочных работ и штабелирования лесных материалов – дров и пакетов досок.
Универсальный захват для цилиндрических грузов применяют для транспортирования и штабелирования автопогрузчиков цилиндрическиз по форме грузов: рулонов бумаги, бочек, машинного оборудования в виде барабанов и т.п. С его помощью изделие защемляются между лапами и может кантоваться в вертикальной плоскости для штаблеирования груза вертикально или горизонтально.
Поворотная каретка в вертикальной плоскости или кантователь предназначена для транспортирования металлической стружки, скрапа, битого стекла и других отходов производства, собранных в металлические короба и ящики. Иногда ее применяют также для перевозки жидких грузов с опрокидыванием тары в нужном месте. В этом случае к дну емкостей прикрепляют скобы, в которые входят грузовые вилы.
Штыревой захват предназначен для транспортирования и складирования кольцеобразных по форме грузов. Стержень штыре выполняют из трубы, которую приваривают к плите и устанавливают на подъемной каретке.
Многоштыревой захват предназначен для захвата и транспортирования в горизонтальном положении бочек, рулонов мешков и т.п. Такой же примерно конструкции применяют многоштыревой захват для группового транспортирования и укладки в шатбель коротки трубчатых изделий: керамических, бетонных и асбоцементныз труб и т.п. В отверстия их просовывают штыри.
Специализированные захваты для бочек применяют для транспортирования и штабелирования их в горизонтальном или вертикальном положениях. Бочки защемляют между лапами захвата и, если нужно, кантуют в вертикальной плоскости на угол более 90
1.3 Одноковшовые погрузчики
Одноковшовыми погрузчиками называют самоходные подъемно-транспортные машины, у которых основным рабочим органом служит ковш, установленный на конце подъемной стрелы. Зачерпывают насыпной груз ковшом, опущенным вниз, при движении погрузчика вперед в сторону штабеля. Разгружают погрузчик после перемещения его к загружаемому транспортному средству и подъема ковша вверх.
Одноковшовые погрузчики в основном предназначены для погрузки на транспортные средства (автомобили-самосвалы и полувагоны) сыпучих и кусковых грузов и прежде всего заполнителей (песка, гравия, щебня), а также грунта, строительного мусора, каменного угля, кокса и др.
При установке специальных ковшей (на погрузчиках грузоподъемностью свыше 1,5 т) их также применяют для перегрузки скальных пород, разработки и погрузки гравийно-песчаных материалов в карьерах, а при больших грузоподъемностях — и материковых грунтов I—II категории.
Когда вместо ковша устанавливают разное сменное оборудование, погрузчики выполняют ряд вспомогательных работ: монтажных, зачистных, планировочных, снегоуборочных и др.
Одноковшовые погрузчики можно классифицировать по следующим основным признакам.
По грузоподъемности погрузчики разделяют на четыре класса: легкие (грузоподъемностью 0,5—2 т), средние (2—4 т), тяжелые (4—10 т) и большегрузные (свыше 10 т). Небольшие погрузчики (грузоподъемностью до 0,5 т) относят иногда к малогабаритным. По виду базового шасси погрузчики изготовляют на специальном шасси или тракторах и тягачах. По виду ходового оборудования они бывают на колесном или гусеничном ходах. По направлению разгрузчики ковша относительно стороны разрабатываемого штабеля погрузчики бывают с передней (фронтальные погрузчики), боковой (полуповоротные погрузчики) и задней (перекидные) разгрузчики.
По виду применяемого оборудования погрузчики разделяют на универсальные и специализированные; в первом случае кроме ковша применяют сменное оборудование других видов; во втором случае вместо ковша применяют оборудование определенного вида.
Погрузчики, предназначенные для перегрузки ковшом строительных насыпных грузов, относят к строительным.
Одноковшовые погрузчики являются машинами периодического действия; наполнение ковша насыпным грузом, перемещение погрузчика с грузом и без груза, а также разгрузку ковша выполняют раздельно.
В мировой практике наиболее распространены фронтальные погрузчики на специальном шасси. Они отличаются наибольшей простотой конструкции, универсальностью применения сменного оборудования, унификацией конструктивного исполнения независимо от типоразмера машины, уменьшенной трудоемкостью изготовления и др. К недостаткам их относится обязательный поворот погрузчика с ковшом для загрузки транспортного средства.
Основным погрузочным оборудованием погрузчика является ковш. У погрузчиков грузоподъемностью свыше 1—1,5 т применяют три одинаковых по форме, но разных по объему ковша для зачерпывания насыпных грузов: легких (с объемной массой до 1,4 т/м3), средних (1,5—1,8 т/м2) и тяжелых (1,9—2,5 т/м3). Основным является ковш для зачерпывания средних по плотности насыпных грузов.
Для того чтобы расширить область применения погрузчиков в зависимости от их типоразмера и вида ходового оборудования, взамен основных ковшей применяют сменное оборудование. По назначению его можно разделить на четыре основные группы: землеройно-погрузочиое, грузоподъемное, снегоуборочные и вспомогательное. Погрузчики с таким оборудованием не заменяют специализированные машины, а позволяют механизировать различные работы, когда при малых объемах их применение специализированных машин сложно и нерентабельно.


Рисунок 1.10 – Фронтальный погрузчик с жесткой рамой

Рисунок 1.11 – Кинематическая схема фронтального погрузчика с жесткой рамой; 1 — двигатель; 2 — редуктор; 3 — гидротрансформатор; 4 — коробка передач; 5—фрикционные дисковые муфты; 6 — шлицевая муфта; 7, 9 — мосты передний и задний (управляемый); 8 — раздаточная коробка
Таблица 1.2 – Техническая характеристика отечественных одноковшовых фронтальных пневмоколесных погрузчиков




Таблица 1.3 – Техническая характеристика полуповоротынх погручиков

1.4 Многоковшовые погрузчики
Многоковшовые погрузчики предназначены для зачерпывания насыпного груза ковшовым элеватором, установленным спереди самоходного шасси. Их применяют на базисных складах для перегрузки в основном песка, гравия, щебня, каменного угля и других грузов из штабеля в транспортные средства, а также на ленточные транспортеры на заводах железобетонных изделий. Кроме того, их используют для штабелирования насыпного груза из куч, отсыпаемых автомобилями-самосвалами; разгрузки железнодорожных платформ с насыпным грузом, когда погрузчик передвигается по верху платформы (с установкой специальных переходных мостиков между соседними платформами); в дорожном строительстве, когда погрузчик тянет за собой асфальтобетонный смеситель, загружая его песком и щебнем, подбираемыми ковшами с дороги; для погрузки снега из валов на автомобили-самосвалы.
По условиям более легкого зачерпывания и обеспечения необходимой прочности ковшового элеватора они более приспособлены для перегрузки зернистых и мелкокусковых грузов с включениями отдельных кусков размером не более 70 мм.
В последнее время многоковшовые погрузчики на небольших складах стали вытесняться одноковшовыми как более дешевыми и мобильными, но на базисных складах они с успехом заменяют одноковшовые экскаваторы.
Рисунок 1.12 – Многоковшовый погрузчик:
1
— ленточный транспортер; 2
— ковшовый элеватор; 3
— опорная стойка для элеватора; 4
— кабина; 5 — гидроцилиндры для подъема элеватора, 6, 7 —
ведущие мосты; 8
— шасси; 9
— цилиндры для подъема транспортера; 10 —
канаты для подвески транспортера; 11
- уравнительный блок; 12 -
масляный бак; 13
— винтовые питатели; 14
— топливный бак

Рисунок 1.13 – Кинематическая схема самоходного шасси многоковшового погрузчика
1.5 Погрузчики с нагребающими лапами
Погрузчики с нагребающими лапами являются самоходными машинами, которые работают способом бокового захвата насыпного груза. В качестве рабочего захватного органа они оборудованы парой нагребающих лап, совершающих сложное вращательное движение около своих вертикальных осей, расположенных на конце клиновидной приемной рамы, называемой лопатой. При движении погрузчика вперед конец лопаты врезается в насыпной груз, лапы нагребают его на лопату и перемещают вверх на скребковый транспортер для загрузки в транспортные средства.
Пожалуй ни в какой другой машине кроме одноковшового экскаватора не повторена так хорошо кинематика движений рук человека, как в погрузчиках с нагребающими лапами.
Поскольку работа погрузчиков с нагребающими лапами связана с большим износом трущихся поверхностей у рабочих органов из-за больших сил трения при перемещении груза способом волочения, то эти погрузчики предпочтительнее применять для перегрузки малоабразивных грузов, например снега.
При очень малой рабочей высоте их применяют также в горном деле для погрузки каменного угля под землей, а также на земле для погрузки угля, кокса, а иногда щебня из штабелей и при подборе их с железнодорожных путей после разгрузки полувагонов прямо на пути.
Рисунок 1.14 – Снегопогрузчик Д-566:
1
— скребковый транспортер; 2, 5
— гидроцилиндры; 3
—желоб транспортера; 4-
стойки; 5 — полозки; 7 — лопата; 8 —
нож лопаты; 9 -
трансмиссия привода нагребающих лап и транспортера; 70, 73 — передний и задний ведущие мосты; 11
- коробка передач; 12
- раздаточная коробка; 14 —
нагребающие лапы; 15
— диски для привода лап

Рисунок 1.15 – Кинематические схемы привода оборудования снегопогрузчика Д-566:
а
— раздаточной коробки; 6 — нагребающих лап и скребкового транспортера
Таблица 1.4 – Техническая характеристика снегопогрузчиков

2
Устойчивость автопогрузчиков
Вилочные погрузчики проверяют на продольную и поперечную устойчивость.
При расчете принимают номинальный груз с формой куба, у которого сторона равна удвоенному расстоянию от центра тяжести груза до спинки грузовых вил. В наклонном положении погрузчик должен удерживаться основным тормозом.
Продольную устойчивость
рассчитывают в пяти разных случаях.
Первый случай.
Автопогрузчик с поднятым на полную высоту номинальным грузом и отклонением вперед до отказа грузоподъемником стоит на горизонтальной площадке. При расчете следует учитывать дополнительный наклон грузоподъемника вперед из-за просадки переднего моста и упругой деформации элементов конструкции (рисунок 2.16, а).
Такой случай встречается при штабелировании груза и считается самым тяжелым для устойчивости. При расчете приняты обозначения:
QH
— грузоподъемная сила;
G
1
,
G
2
— веса соответственно номинального груза, автопогрузчика без грузоподъемника и вертикально установленного грузоподъемника, кгс
О, О1
,
O
2
— центры тяжести соответственно груза, автопогрузчика без грузоподъемника и вертикально установленного грузоподъемника;
С
—ось поворота рамы грузоподъемника;
О',
О'2
— центры тяжести груза и грузоподъемника, отклоненных вперед на угол β=β1
+β2
;
β1
β2
=2 °
— углы наклона соответственно грузоподъемника вперед до отказа и из-за проседания шин вместе с упругой деформацией конструкции;
a
1
,
a
2
,
a
`2
,
l
,
l
`,
h
,
h
1
,
h
2
— вылеты центров тяжести от оси передних колес и их высоты от земли;
а
c
,
h
c
— координаты оси поворота грузоподъемника относительно оси передних колес. Вылеты центра тяжести грузоподъемника и груза от оси передних колес при наклоне можно определить по формулам.
a`2
= ac
+ O`2
Ccos(γ1 –
β);
l
` =
ac
+
O
`
C
(
γ
–
β
);
где
O
`
C
=
OC
=

И углы наклона к горизонту линий OC
и O
2
C

Коэффициент грузовой устойчивости

Второй случай.
Автопогрузчик с поднятым на полную высоту номинальным грузом и нормально установленным к основанию автопогрузчика грузоподъемником стоит на наклонной площадке (см. рисунок 2.16, б).

Рисунок 2.16 - Схемы продольной устойчивости вилочных погрузчиков с поднятым грузом: a
-
при штабелировании; 6 —
на уклоне
Уклон площадки принимают равным 4% (α = 2° 16') для автопогрузчиков грузоподъемностью до 5 т и 3,5% (α
= 2°) — свыше 5 т.
Соответственно принятым на рисунке обозначениям коэффициент грузовой устойчивости

Коэффициент грузовой устойчивости в этом случае, , может быть меньше, чем в первом случае.
Третий случай.
Автопогрузчик с грузом при увеличенной 1Г0 массе на 10%, т. е. при 1,1Q, поднятым от земли на высоту h = 300 мм, и отклоненным назад грузоподъемником до отказа

Рисунок 2.17 - Схемы продольной устойчивости вилочных погрузчиков с опущенным грузом:
а
— на горизонтальной площадке; б
— на наклонной площадке
Движется с максимальной скоростью и затормаживается с замедлением / = 1,5 м/с2
(рис. 2.17, а).
При расчете приняты обозначения:
О,
O
2
— центры тяжести соответственно груза и грузоподъемника, когда груз поднят на 300 мм мри вертикально установленном грузоподъемнике;
Ох
— центр тяжести автопогрузчика без грузоподъемника;
О", О"2
— центры тяжести соответственно груза и грузоподъемника, когда груз поднят на 300 мм и грузоподъемник отклонен назад на угол β=β1
-β2
;
β1-β2=2°
— углы наклона соответственно грузоподъемника назад и от проседания шин вместе с упругой деформацией конструкции, град;
С
— ось поворота рамы грузоподъемника;
a
1
,
a
2
,
a
2
``,
l
,
l
``
h
,
h
``,
h
1
,
h
2
``
— вылеты центров тяжести от оси передних колеc и их высоты от земли.
Значения величин Q
,
Gl
,
G2
, ac
,
hc
такие же, как и в первом случае.
Вылеты а2
``,
l
``
и высоты h
1
``
и h
``
определяют по формулам
 
 
Где

Углы наклона к горизонту

Коэффициент устойчивости

Где F
,
F
1
,
F
2
– силы инерции соответственно груза, автопогрузчика без грузоподъемника, определяемые по общей формуле
;
Где
(N
=
Q
или N
=
G
1
и N
=
G
2
;
l
– замедление, м/с2
; g
– ускорение свободного падения)
Четвертый случай.
Автопогрузчик с номинальным грузом, поднятым от земли на h = 300 мм и отклоненным назад грузоподъемником стоит на площадке с уклоном 18%, т. е. наклоненной под углом α = 10° 12' (см. рисунок 2.17, б).
При тех же обозначениях, что и в третьем случае, получим коэффициент устойчивости

Пятый случай.
Автопогрузчик без груза с вилами, поднятыми на 300 мм от земли, и отклоненным назад до отказа грузоподъемником съезжает с уклона на максимальной скорости и при резком повороте.

Рисунок 2.18 - Схемы устойчивости вилочных погрузчиков;
а -
без груза в транспортном положении о поворотом; 6 - c грузом
Гранью возможного опрокидывания является линия ВС,
проходящая через шарнир балансира управляемого моста и опору крайнего колеса ведущего моста (рисунок 2.18, а).
Площадка должна иметь уклон 15+1,09vb
%, но не более 50% для автопогрузчиков грузоподъемностью до 5 т и не более 40% при грузоподъемности от 5 до 10 т. Угол наклона площадки

Где vn
–
максимальная скорость автопогрузчика без груза км/ч.
Возможное перемещение в плане центров тяжести автопогрузчика без грузоподъемника и одного грузоподъемника из-за наклона площадки на угол α

Где h
1
,
h
2
``
- соответственно высота от земли центра тяжести автопогрузчика без грузоподъемника и с отклоненным назад грузоподъемником (см. рисунок 2.17).
При весе G1
автопогрузчика без грузоподъемника и G2
с грузоподъемником (см. третий случай устойчивости) получим суммарно высоту центра тяжести автопогрузчика с грузоподъемником, отклоненным назад,

И соответственно расстояние от оси передних колес до центра тяжести автопогрузчика

где а1
и а2
— ординаты центров тяжести от оси передних колес для автопогрузчика без грузоподъемника и одного грузоподъемника (см. рисунок 2.17, б).
Смещение центра тяжести всего автопогрузчика в плане от его продольной оси при наклоне опорной площадки на угол α (см. рисунок 2.18, a)b
сум
= h
сум
tg
α.
Оно не должно выходить за линию ВС
опрокидывания.
Поперечную устойчивость
автопогрузчика рассчитывают при штабелировании. Автопогрузчик с поднятым номинальным грузом на полную высоту и отклоненным назад грузоподъемником на угол β=β1
-β2
стоит на поперечном уклоне с углом α.
Гранью, возможного опрокидывания является линия ВС,
проходящая через шарнир балансира управляемого моста и опору крайнего колеса ведущего моста (см. рисунок 2.18, б).
Здесь h — высота шарнира управляемого моста от земли; X
,
Y
— координаты центра тяжести автопогрузчика; G — вес погрузчика с номинальным грузом без управляемого (балансирного) моста. Значения L
и АВ
такие же, как на рисунок 2.17, а;
углы β1
и β2
такие же, как в третьем случае продольной устойчивости.
Опрокидывание автопогрузчика начнется, когда вектор веса Gбудет пересекать грань опрокидывания ВС.
Согласно требованиям СЭВ автопогрузчик должен сохранять устойчивость при поперечном уклоне, равном 6%, т. е. при угле α= 3° 26`
. Согласно обозначениям на рисунок 2.18, б

Где EF – плечо опрокидывания; OF – высота от центра тяжести до основания погрузчика; 
Из подобия треугольников CMN и FMD получим

При CN=h
получим

Значение EF
определяют по формуле

Где а 
Угол определится из уравнения
3. Расчет параметров и механизма опорного колеса

Рисунок 3.19 – Схема к расчёту пневматического колеса
Нагруженное усилием Fmax
колесо (рисунок 3.19) деформируется в двух направлениях, образуя пятно контакта в виде эллипса с полуосями l
k
и b
в зависимости от давления и состояния покрытия пути.
При твердом покрытии и шинах высокого давления, когда соотношение модулей упругости покрытия и шины следующее: En
>>
Em
, деформируются только шины. Возникающее давление на поверхности пятна контакта распределяется по закону эллипсоида:

Приняв с допущением D
1
=
Dk
из теории контактных напряжений имеем

Решая совместно эти уравнения, получим

Где МПа в зависимости от качества резины.
По этой формуле можно рассчитывать Dk
и Fmax
.
В погрузчиках допускается перегрузка колес до 70% и выше. Перегрузка колес транспортных машин на 20...80% против нормы приводит к снижению пробега соответственно на 30...70%.
При мягком покрытии дороги и работе в поле применяют шины низкого давления. В области контакта одновременно деформируются колеса, поверхность покрытия, пашни. Площадь пятна контакта

Где - коэффициент усадки шины; чем больше усадка шины, тем лучше амортизируют колеса, меньше деформация грунта и давление на него.
Динамическая нагрузка на колесо при шинах низкого давления на 15% больше статической и в 2,5 раза меньше, чем при шинах высокого давления.
Нагрузка на колесо с шинами низкого давления

Где -жесткость шины в зависимости от конструкции и давления pi
в шине.
При использовании в погрузчиках автомобильных шин (6...14 слоев корда) допускаемую нагрузку на колесо определяют по формуле

Деформацию шины находят по формуле

Где 
Список использованных источников
1.Дранников, А.Б. Автопогрузчики. / А.Б. Дранников – М. Машгиз, 1962. – 506с.
2.Базанов, А.Ф. Самоходные погрузчики / А.Ф. Базанов, Г.В. Забегалов. М.: Машиностроение, 1979. – 403с.
3. Ерохин, М.Н. Проектирование и расчет подъемно-транспортирующих машин сельскохозяйственоого назначения / М.Н. Ерохин [и др.], - Москва : Колос, 1999. – 228 с.
4. Кузьмин, А.В. Справочник по расчетам механизмов подъемно-транспортных машин / А.В. Кузьмин, Ф.Л. Мароно. – Изд. 3-е прераб. И доп. – Минск : Высшая школа, 1983. – 350 с.
5. Красников, В.В. Подъемно-транспортные машины / В.В.Красников. – Изд 3-е, перераб. И доп. = Колос, 1981. – 263 с.
6. Правила устройства и безопасной эксплуатации грузоподъемных кранов / Минск : УП «ДИЭКОС», 2001. – 218 с.
|