Цель работы: Исследовать устройство, сборку, испытание и принцип действия воздухораспределителя усл. №292-001.
Порядок работы:
1.Назначение;
2.Конструкция;
3.Принцип действия;
4.Схема (рисунок);
5.Испытание и регулировка;
6.Вывод.
Воздухораспределители устанавливаются на каждой единице подвижного состава и предназначены для зарядки сжатым воздухом запасного резервуара из тормозной магистрали, создания в тормозных цилиндрах давления сжатого воздуха, соответствующего величине разрядки тормозной магистрали, полного или частичного (при ступенчатом отпуске) выпуска сжатого воздуха из цилиндров при повышении давления в магистрали.

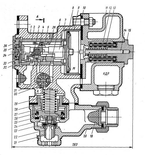
Рисунок 1. Воздухораспределитель № 292-001
Воздухораспределитель (рис. 1) состоит из магистральной части, крышки и ускорителя экстренного торможения. В корпус 1 запрессованы три бронзовые втулки: золотниковая 2, поршневая 9 и втулка 31 переключательной пробки 30. Магистральный поршень 7, отштампованный из латуни, уплотнен кольцом 8 из специальной бронзы.
Магистральный поршень 7 образует две камеры: магистральную М и золотниковую ЗК. В хвостовике поршня имеются две выемки, в которых расположен отсекательный золотник 3 с осевым зазором около 0,3 мм и главный золотник 6 с зазором около 7,5 мм (холостой ход). Главный золотник прижат к зеркалу втулки пружиной 5, смещенной относительно продольной оси золотника на 4,5 мм и расположенной над магистральным каналом. С 1980 г. пружина 5 выпускается с двумя роликами. К зеркалу главного золотника пружиной 4 прижат отсекательный золотник. С левой стороны поршня 7 в корпус 1 ввернута заглушка 36, являющаяся упором для буферной пружины 35, которая вторым концом опирается на буферный стакан 33.
Внутренняя полость крышки 11 объемом около 1 л является камерой дополнительной разрядки КДР. В крышке, уплотненной прокладкой 10, расположены буферный стержень 14 с пружиной 13, направляющая заглушка 15 и фильтр 12. Последний состоит из наружной и внутренней обойм, между которыми намотана лента из латунной сетки и один слой тонкого фетра, с торцов обойма закрыта войлочными прокладками. В корпус 20 ускорителя экстренного торможения вставлена чугунная или пластмассовая втулка 28. Поршень 27, уплотненный резиновой манжетой 26, прижат пружиной 29 к резиновому кольцу 25.
Клапан 23 буртом верхней части входит в полукольцевой паз поршня 27 и имеет в осевом направлении зазор около 3,5 мм. К седлу 21, которое является и направляющей для хвостовика 22, клапан 23 прижат пружиной 24, помещенной между поршнем 27 и верхней частью клапана.
Для очистки воздуха в соответствующие каналы вставлены колпачки 19, 32 и 34, изготовленные из мелкой сетки. Ниппель 16 с осевым и боковыми каналами предназначен для защиты от засорения атмосферного канала в корпусе.

Рисунок 2. Положение ручки переключательной пробки воздухораспределителя №292-001
Ручка 18, закрепленная на хвостовике пробки 30 винтом 17, имеет три положения (рис. 2): Д — наклонное под углом 50° в сторону магистрального отвода, устанавливается при следовании в длинносоставных пассажирских (свыше 20 вагонов) и грузовых поездах; К - вертикальное для пассажирских поездов нормальной длины (не более 20 вагонов); УВ — наклонное под углом 45° в сторону привалочного фланца тормозного цилиндра — соответствует длинносоставному режиму, но ускоритель экстренного торможения выключен. Режимы К, Д и УВ предназначены для получения разного времени наполнения и отпуска тормозных цилиндров при экстренном торможении за счет сечения каналов в переключательной пробке.
Технологический процесс ремонта тормозных приборов в АКП включает в себя следующие основные операции: наружную очистку; разборку с очисткой деталей; осмотр деталей для определения объема ремонта с проверкой размеров; а в отдельных случаях с испытанием узлов; ремонт деталей или узлов, сборку узлов и их испытание в подкомплекте; окончательную сборку прибора; испытание, регулировку и маркировку.
Испытание и регулировка ВР усл.№292-001. При овальности поршневой втулки более 0,04 мм и конусности более 0,06 мм ее следует развернуть по ремонтным градациям:1-89,25 мм; 2-89,50 мм; 3-89,75 мм. Допуски по всем градациям + 0,07 мм. В соответствии с этими градациями подбирают магистральные кольца и поршни. Зазор между втулкой и поршнем должен быть 0,2-0,5 мм. Три отверстия в поршневой втулке должны быть диаметром по 1,25+0,1мм, а в торце поршня – одно диаметром 2,0+0,15 мм
.
При испытании ВР усл.№292 проверяют:
1.зарядку запасного резервуара объемом 78 литров с давления 0,40 до 0,45 МПа (при начальном давлении 0,38-0,39 МПа), которая должна происходить за 15-25 сек.; 2. чувствительность на торможение снижением давления в магистрали на 0,03 МПа с выдержкой в тормозном положении в течение 1 мин, давление в тормозном цилиндре должно быть 0,04+ 0,01 МПа; 3.чувствительность на отпуск после ступени торможения снижением давления в магистрали на 0,06 МПа и повышением давления через отверстие диаметром 0,9 мм, время отпуска до давления 0,04 МПа должно быть не более 70 сек.; 4. отсутствие самопроизвольного срыва на экстренное торможение при снижении давления в магистрали с 0,5 до 0,4 МПа за 2,5-3 сек (через отверстие диаметром 4,2 мм при объеме магистрального резервуара 24 литра или через отверстие 5 мм при объеме 55 литров); 5. время наполнения тормозного цилиндра при экстренном торможении снижением давления в магистрали темпом 0,08 МПа в 1 сек (через отверстие диаметром 6 мм при объеме магистрального резервуара 24 литра или через отверстие 8 мм при объеме 55 литров), для режима короткосоставного поезда должно быть 5-7 сек и для режима длинносоставного 12-16 сек.;6. время отпуска после экстренного торможения для режима короткосоставного поезда 9-12 сек, для режима длинносоставного поезда и с выключенным ускорителем 19-24 сек;7. мягкость – снижением давления в магистрали с 0,5 до 0,45 МПа в течение 75 сек. через отверстие диаметром 0,9 мм, при этом воздухораспределитель не должен срабатывать на торможение.
Принцип действия воздухораспределителя при экстренном торможении.
При понижении давления в магистрали темпом 0,08 МПа и более за 1 с. магистральный поршень под действием избыточного давления со стороны ЗК быстро перемещается на 24 мм вместе с золотниками в крайнее правое положение, сжимая пружину буферного стержня, и прижимается к прокладке. При этом выемка золотника сообщает отверстия диаметром по 4 мм в золотниковой втулке и воздух из камеры поступает в тормозной цилиндр. Вследствие резкого понижения давления в камере поршень ускорителя под действием сжатого воздуха со стороны магистрали, где в этот момент давление еще не успевает упасть ниже 0,45 МПа, перемещается в крайнее верхнее положение, отжимает срывной клапан от седла и сообщает магистраль широким каналом с атмосферой через отверстия в седле до давления в магистрали примерно 0,35 МПа, после чего усилием давления воздуха в тормозном цилиндре и пружины срывной поршень перемещается вниз и разрядка магистрали прекращается.
Экстренная дополнительная разрядка одного прибора вызывает срабатывание и дополнительную разрядку следующего воздухораспределителя, и так до хвоста поезда, способствуя более быстрому распространению торможения по поезду со скоростью 190 м/с.
Одновременно с экстренной разрядкой магистрали запасный резервуар сообщается с тормозным цилиндром, а КДР — с атмосферой. Наполнение тормозного цилиндра при экстренном торможении до давления 0,35 МПа на режиме К для поездов нормальной длины происходит за 5—7 с.
На режиме Д длинносоставного поезда и на режиме УВ с выключенным ускорителем наполнение тормозного цилиндра происходит за 12—16 с.
Величина максимального давления в тормозном цилиндре после экстренного торможения так же, как и после полного служебного, достигается при выравнивании давлений в цилиндре и запасном резервуаре.
Вывод
Исследовали устройство, разборку и сборку воздухораспределителя усл. №292-001, испытание и принцип его действия.
|