Министерство образования Республики Беларусь
Белорусский государственный университет информатики и
радиоэлектроники
кафедра РЭС
РЕФЕРАТ
на тему:
«Испытания РЭСИ на ударную прочность и устойчивость, воздействие линейных нагрузок, акустического шума»
МИНСК, 2008
Испытания на ударную прочность и устойчивость
К основным параметрам ударного импульса относят пиковое ударное ускорение (перегрузка), длительность воздействия ударного ускорения и форма ударного импульса. Результат действия удара на изделие зависит от его динамических свойств - массы, жёсткости и частоты собственных колебаний.
Различают два вида испытаний:
• испытания на ударную прочность;
• испытания на ударную устойчивость.
Испытания на ударную прочность проводят с целью проверки способности изделия противостоять разрушающему действию механических ударов, сохранять свои параметры в пределах, указанных в НТД.
Испытания на ударную устойчивость поводят с целью проверки способности изделия выполнять свои функции в условиях действия механических ударов.
Характеристики режимов испытаний задаются в соответствии со степенью жесткости испытаний:
Таблица 1 - Характеристики режимов испытаний
| Степень жёсткости |
Пиковое ударное ускорение, g |
Общее число ударов выборки: |
| 3 шт. и менее |
более 3 шт. |
| I |
15 |
12.000 |
10.000 |
| II |
40 |
-//- |
-//- |
| III |
75 |
6.000 |
4.000 |
| IV |
150 |
-//- |
-//- |
Изделия на столе вибростенда крепят с помощью специальных приспособлений. При этом должны выполняться условия:
• изделие должно крепиться на приспособлении с минимальным зазором и тем же способом, что и при эксплуатации;
• резонансная частота приспособления должна быть в 1,5-2 раза выше верхнего значения частоты вибрации изделия.
Таблица 2 - Длительность действия ударного импульса
| Значение низшей резонансной частоты, Гц |
Длительность действия ударного ускорения, мс |
| 60 и < |
18±5 |
| 60 ÷ 100 |
11±4 |
| 100 ÷ 200 |
6±2 |
| 200 ÷ 500 |
3±1 |
| 500 ÷ 1000 |
2±0,5 |
| > 1000 |
1±0,3 |
Наиболее предпочтительной формой приспособления является приспособление в форме куба, что позволяет крепить изделие в трёх плоскостях. Резонансная частота куба связана с длиной его ребра соотношением:
(1)
Изменение параметров вибрации осуществляют при помощи следующих типов виброприспособлений: индуктивные, трансформаторные, электродинамические, электромагнитные, емкостные, пьезоэлектрические и др. Наиболее широко используются пьезоэлектрические вибропреобразователи, которые работают в широком диапазоне частот и ускорений, имеют малые габариты и вес. Основные типы: ИС - 318, ИС - 579А, Д23 и др.
Испытание на воздействие одиночных ударов
Таблица 3 - Параметры воздействий
| Степень жёсткости |
Ускорение |
I
VII XIII
|
20g
1500g 100000g
|
Длительность для импульса полусинусоидальной формы из предложенной таблицы для fo
< 500 Гц
5000-10000 0,2±0,1 20.000 и > 0,05±0,02
Длительность действия ударного ускорения в мс трапецеидальной и треугольной формы:
(2)
где n
от 3 до 100.
(3)
Рекомендуется испытания на ударную устойчивость проводить после испытаний на ударную прочность. Характер закрепления РЭСИ на столе стенда зависит от её назначения, места установки и предполагаемого способа транспортирования. Переносная РЭСИ испытывается на ударную прочность при закреплении в трех взаимно перпендикулярных плоскостях, причем продолжительность испытаний в эксплуатационном положении составляет 50%, а в двух других - по 25% общего времени испытаний.
Ударную прочность оценивают по целостности конструкции (отсутствию трещин, наличию контакта между составляющими конструкциями).
Оборудование для испытаний
Ударные стенды классифицируют по следующим признакам:
• по характеру воспроизводимых ударов: стенды одиночных и многократных ударов;
• по способу получения ударных перегрузок: стенды свободного падения и принудительного разгона платформы с изделием;
• по конструкции тормозных устройств: с жёсткой наковальней, с пружинящей наковальней, с амортизирующими прокладками и др.
В зависимости от конструкции УС и в особенности применяемого тормозного устройства получают ударные импульсы полусинусоидальной, треугольной, трапецеидальной формы.
Наиболее широко для испытаний на одиночные удары служат ударные стенды копрового типа, а на многократные удары - стенды кулачкового типа, воспроизводящие удары полу синусоидальной формы.
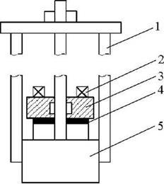
Рисунок 1 - Стенд для испытаний на воздействие многократных ударов:
1 - стол; 2 - изделие; 3 - кулачок; 4 - амортизационные прокладки;
5 - основание; 6 - направляющие; 7 - корпус; 8 - двигатель.
Таблица 4 - Основные характеристики некоторых УС
| Тип стенда |
Принцип работы |
Грузоподъёмность, Н |
Число ударов/мин |
Длительность, мс |
Ускорение, g |
| УУ 50/150 |
Механический |
5000 |
20÷120 |
40 |
150 |
| УУ 5/100 |
50 |
5÷80 |
1,5÷20 |
1000 |
| К-50-1000 |
Электродинамический |
50 |
10÷20 |
0,5÷10 |
1000 |
| УУЭ 2/200 |
-//-
|
20 |
20÷80 |
1,5÷12 |
200 |
| УУЭ 1/6000 |
-//-
|
10 |
5 |
0,1÷1 |
6000 |
| К-5/3000 |
Пневмоти-ческий |
20 |
0,4÷12 |
3000 |
Для измерения параметров ударного импульса используют аппаратуру, соединяемую следующим образом:

Рисунок 2 - Измерение параметров ударного импульса:
1 - измерительный преобразователь; 2 - согласующий усилитель;
3 - фильтр; 4 - регистрирующий прибор (осциллограф с запоминанием).
Более современным направлением при регистрации ударных процессов является аналого-цифровые измерители параметров удара. Использованиетаких ударов позволяет повысить точность измерений, даёт большую достоверность, оперативную связь с ЭВМ. Основными узлами таких устройств является фиксатор уровня и аналоговое запоминающее устройство. В фиксаторе уровня сигнал преобразуется в ступенчатую функцию, затем запоминается и можно его многократно воспроизводить.
Испытания на воздействие линейных нагрузок
Испытания проводят с целью проверки способности изделия выполнять свои функции при линейных нагрузках и разрушающем действии этих нагрузок. Испытания осуществляют на специальных стендах - центрифугах, создающих в горизонтальной плоскости радиально направленные ускорения. Скорость вращения платформы центрифуги (n) об/мин подсчитывают по формуле:
(4)
где j - ускорение, g ;
R - расстояние от центра вращения платформы до геометрического центра изделия или его центра тяжести, см.
Изделия испытывают без или под электрической нагрузкой (напряжением). Необходимость испытания под электрической нагрузкой, а также ее характер и параметры должны устанавливаться в стандартах и ПИ.
Режимы испытаний определяются значением линейного ускорения в соответствии с продолжительностью испытаний. При испытании с ускорением до 500 g продолжительность испытания три минуты в каждом направлении, больше 500 g - одна минута.
Испытания проводят на установках - центрифугах, которые классифицируют:
• по типу привода: с электрическим, с гидравлическим, с комбинированным.
• конструкции: с поворотным и не поворотным столами, с изменяющимся радиусом вращения.
• грузоподъёмности: малые - до 10 кг, средние - до 50 кг, тяжёлые - до 100 кг, сверхтяжёлые - более 100 кг.
• по величине максимально воспроизводимого линейного ускорения: делят на категории А - до 25g , Б - до 50g , В - до 1000g , Г - до 2000g, Д > 2000g.
Таблица 5 - Значение линейных ускорений в зависимости от степени жесткости
| Степень жёсткости |
Линейное ускорение, g |
| I |
10 |
| II |
20 |
| III |
50 |
| ……….. |
| VII |
100 |
| ……….. |
| X |
10000 |
| ……….. |
| XIV |
100000 |
Таблица 6 - Данные некоторых центрифуг
| Тип |
Максимальное ускорение |
Грузоподъёмность |
| Ц 5/300 |
300 g |
5 |
| Ц 50/50 |
150g |
50 |
| Ц100/200 |
200 g |
100 |
Для измерения частоты вращения наибольше распространение получили электрические тахометры (импульсные, стробоскопические, с генераторами постоянного и переменного тока).
Изделия считают выдержавшими испытания, если в процессе и после испытания они удовлетворяют требованиям, установленным в стандартах и ПИ для данного вида испытания.
Испытания на воздействие акустического шума
Испытания проводят с целью определения способности изделий выполнять свои функции, сохраняя параметры в пределах норм, указанных в НТД и программе испытаний в условиях воздействия повышенного акустического шума.
В отличие от МВ, при которых вибрация передаётся изделиям главным образом через точки крепления, звуковое давление возбуждает детали ЭС с помощью распределённого усилия, значение которого зависит не только от уровня звукового давления, но и от площади элементов. Наиболее критичным для ЭС является совместное воздействие звукового давления акустического шума и вибрации, при котором могут возникать резонансные явления преимущественно на частотах 1500÷2000 Гц.
Испытания на воздействие АШ проводят одним из двух методов:
• метод воздействия на изделие случайного акустического шума;
• метод воздействия тона меняющейся частоты
Таблица 7 - Режим испытаний
| Степень жёсткости |
Уровень звукового давления, дБ |
| Акустического шума |
Тона меняющейся частоты |
| I |
130 |
120 |
| II |
140 |
130 |
| III |
150 |
140 |
| IV |
160 |
150 |
| V |
170 |
160 |
Испытание на воздействие акустического шума проводят путём воздействия на ЭС шума с заданным равномерным звуковым давлением в определённом спектре с частот в диапазоне 125÷10000 Гц. Продолжительность воздействия составляет пять минут, если не требуется большее время для контроля и/или измерения параметров.
Испытание на воздействия акустического тонаменяющейся частоты проводят в том же диапазоне частот при плавном изменении частоты от низшей к высшей и наоборот (один цикл) по всему диапазону.
При этом в диапазоне частот 200÷1000 Гц уровень звукового давления соответствует табличному, а на частотах больше и меньше должно происходить снижение уровня на 6 дБ/акт относительно уровня 1000 Гц. Время испытаний 30 мин, если не оговорено особенно.
Первый из методов предпочтительнее, когда изделие имеет несколько f
РЕЗ
и сложную конструкцию, второй - при испытании простых изделий, имеющих малую f
РЕЗ
или критичны к воздействию звукового давления определённой частоты.
Испытательное оборудование
Испытания изделий на воздействие АШ
проводят:
• на открытых стендах с работающим двигателем;
• в закрытых блоках с натурным источником шума;
• в акустических камерах.
В качестве источника шума используется электродинамические преобразователи, реактивные струи воздуха, специальные сирены.
Рисунок 3 Камера отраженной волны
1 – ЗГ; 2 – усилитель; 3 – излучатель; 4 – поворотный рупор; 5 – испытательная камера; 6 – усилитель; 7 – система записи; 8 – акустическая раковина

Рисунок 4 Камера падающей волны
1 – ЗГ; 2 – усилитель; 3 – излучатель; 4 – поворотный рупор; 5 – испытательная камера; 6 – усилитель; 7 – система записи; 8 – акустическая раковина
Данные источники могут устанавливаться в камерах с возрастающей волной и отражательного типа.
Оба типа камер построены на использовании явлений отражения и поглощения звуковых волн при их распространении в замкнутом объёме. Т.о. могут быть достигнуты звуковые давления в 170 дБ в узкой и до 150 дБ в широкой полосе частот.
Широкое распространение получили акустические камеры реверберационного типа. Схема такой камеры имеет вид:

Рисунок 5 - Схема камеры реверберационного типа
(m ≥ в 2 раза наибольшего габаритного размера изделия)
ЛИТЕРАТУРА
1. Глудкин О.П. Методы и устройства испытания РЭС и ЭВС. – М.: Высш. школа., 2001 – 335 с. 2001
2. Испытания радиоэлектронной, электронно-вычислительной аппаратуры и испытательное оборудование/ под ред. А.И.Коробова М.: Радио и связь, 2002 – 272 с.2002
3. Млицкий В.Д., Беглария В.Х., Дубицкий Л.Г. Испытание аппаратуры и средства измерений на воздействие внешних факторов. М.: Машиностроение, 2003 – 567 с2003
4. Национальная система сертификации Республики Беларусь. Мн.: Госстандарт, 2007
5. Федоров В., Сергеев Н., Кондрашин А. Контроль и испытания в проектировании и производстве радиоэлектронных средств – Техносфера, 2005. – 504с. 2005
|