Схема и основные приборы системы питания
Система питания карбюраторного двигателя служит для приготовления горючей смеси, состоящей из паров топлива и воздуха, подачи ее в цилиндры двигателя, а также удаления из цилиндров отработавших газов.
В систему питания карбюраторного двигателя входят приборы и устройства для хранения топлива и контроля его количества; фильтрации и подачи топлива; фильтрации и подачи воздуха, а также для глушения шума при впуске; приготовления горючей смеси и подачи ее в цилиндры двигателя; отвода газов из цилиндра и глушения шума при выпуске.
На рис. 40 приведена принципиальная схема системы питания автомобильного карбюраторного двигателя 8. Топливо из бака 4, закрытого пробкой 3, подается насосом 9 по трубопроводам к прибору приготовления горючей смеси — карбюратору 14, проходя очистку в фильтре-отстойнике 6 и фильтре 10 тонкой очистки топлива. Количество топлива в баке контролируют по указателю 1, в электрическую цепь которого включен датчик 2. Воздух поступает в карбюратор через воздушный фильтр 13. Приготовленная в карбюраторе горючая смесь
Рис 40
подается в цилиндры двигателя по впускному трубопроводу 12, в котором она подогревается. Отработавшие газы отводятся из цилиндров в атмосферу через выпускной трубопровод 11 (коллектор), трубу 7 и глушитель 5 шума выпуска.
Горючая смесь
Топливом для образования горючей смеси служат бензины (например, марок А-72, А-76, АИ-93, АИ-98). Теоретически подсчитано, что для полного сгорания 1 кг бензина требуется около 15 кг воздуха (точнее кислорода, содержащегося в этом воздухе).
Состав горючей смеси характеризуют коэффициентом избытка воздуха а, представляющим собой отношение действительного количества воздуха Ьл, участвующего в процессе .сгорания, к количеству воздуха Ь0, теоретически необходимому для полного сгорания топлива:
Если горючая смесь имеет такой состав, что воздуха в ней столько, сколько теоретически необходимо для полного сгорания 1 кг бензина, т. е. примерно Г5 кг, то а = 1. Такая смесь называется нормальной. При избытке воздуха (а> 1) смесь называется бедной, а при недостатке (а < 1) —^богатой. Чрезмерное переобеднение или переобогащение смеси приводит к тому, что горючая смесь теряет способность к воспламенению электрической искрой. Высший предел воспламеняемости соответствует а 0,4, а низший а 4=> 1,4. Пусть двигатель работает с постоянной угловой скоростью коленчатого вала и при постоянном количестве засасываемого в цилиндры воздуха. Состав горючей смеси будем изменять, меняя количество подаваемого топлива. Оказывается, что при а = 0,8 0,9, двигатель развивает максимальную мощность. Это объясняется наибольшей^ скоростью сгорания горючей смеси. Смесь, у которой а = 0,8 -т- 0,9"называется мощност-
ной смесью. Работа на смесях с а< 0,8 0,9 сопровождается снижением мощности и значительным увеличением удельного расхода топлива. При а — 1,1 в двигателе происходит наиболее полное сгорание топлива и экономичность работы получается наибольшей (экономичная смесь). Работа на смесях при а>1,1 сопровождается значительным падением мощности двигателя и возрастанием удельного расхода топлива.
Горючая смесь, поступая в цилиндры, смешивается с остаточными отработавшими газами, и образуется рабочая смесь. Добавление к горючей, смеси отработавших инертных газов оказывает значительное влияние на воспламенение и горение рабочей смеси. Чем больше процентное содержание остаточных газов в рабочей смеси, тем медленнее она горит. Если содержание отработавших газов в цилиндрах довести до 50% процентов по массе, то воспламенение рабочей смеси становится невозможным.
Какую же горючую смесь должен приготавливать карбюратор на различных режимах, работы двигателя? Очевидно, когда необходима максимальная мощность, горючая смесь должна быть мощностного состава. Однако большую часть времени автомобильный двигатель работает в режиме частичных нагрузок, когда мощность, развиваемая двигателем, меньше максимальной. При таком режиме основное значение имеет минимальный расход топлива, который достигается при экономичном составе горючей смеси. Так как по мере уменьшения мощности содержание в цилиндрах отработавших газов возрастает, то приготавливаемая горючая смесь должна немного обогащаться. Изложенные требования к изменению состава горючей смеси на режимах максимальной мощности, и частичных нагрузок, а также массового расхода О топлива иллюстрирует график (рис. 41, кривая /), который называют характеристикой «идеального» карбюратора.
Схема простейшего карбюратора
Четыре основных части : - поплавковой камеры 7 с поплавком 8, жиклера 6 с распылителем 5, диффузора 2 и дроссельной заслонки 4.
Топливо поступает в поплавковую камеру из бака через трубопровод 10. В камере находится поплавок,"который действует на запорную иглу 9. При достижении предельного уровня топлива в поплавковой камере поплавок прижимает иглу к седлу, прекращая доступ топлива. При снижении уровня топлива поплавок опускается и открывает доступ топлива в камеру. Чем больше расход топлива, тем ниже его уровень и тем большее проходное сечение для топлива создается между иглой и седлом. Поплавковая камера через отверстие 11 сообщается с атмосферой. Наивысший уровень топлива в поплавковой камере на несколько миллиметров (расстояние Л/г) ниже кромки выходного отверстия распылителя, что предотвращает истечение топлива при неработающем двигателе.
В воздушной трубе 1 установлен диффузор 2, в самую узкую часть которого выведен конец распылителя 5. Диффузор служит для повышения скорости движения воздуха через карбюратор и увеличения разрежения у распылителя.
За диффузором в воздушной трубе находится дроссельная заслонка 4, связанная с педалью в кабине. Водитель, нажимая на педаль, меняет положение дроссельной заслонки и регулирует количество горючей смеси, подаваемой в цилиндры. Чем больше открыта дроссельная заслонка, тем большее количество горючей смеси поступает в цилиндры и тем большую мощность способен развивать двигатель. Участок трубы 1 от горловины диффузора до оси дроссельной заслонки называют смесительной камерой 3.
При работе двигателя воздух движется по трубе 1 сверху вниз. В диффузоре скорость воздуха, а следовательно, и .разрежение увеличиваются. В результате различного давления воздуха в поплавковой камере и в диффузоре из распылителя вытекает топливо, которое подхватывается потоком воздуха, распыливается"и обдувается им. В смесительной камере"значительная часть топлива испаряется, образуя горючую смесь. На количество топлива, поступающего в распылитель, влияют не только перепад давлений воздуха, но и размеры отверстия в жиклере 6 (калиброванной пробке) и уровень топлива в поплавковой камере.
Одной из основных трудностей при приготовлении горючей смеси является кратковременность этого процесса. Скорость движения воздуха и смеси во впускном тракте двигателя составляет 30—100 м/с, а время смесеобразования иногда не превышает 0,02—0,07 с. Улучшению испарения топлива и процесса смесеобразования в этих условиях способствуют применение в качестве топлива легкоиспаряю-щейся жидкости, увеличение поверхности испарения распыливанием топлива, обдув поверхности капель топлива, пониженное давление среды, в которую вытекает топливо, подогрев топлива и воздуха, подача из распылителя эмульсии.
По мере открытия дроссельной заслонки увеличивается количество воздуха, проходящего через Карбюратор, возрастают его скорость и разрежение в диффузоре, что увеличивает расход топлива.
Однако требуемого соответствия между повышением расходов воздуха и топлива не происходит, вследствие чего горючая смесь, приготовляемая простейшим карбюратором, при увеличении открытия дроссельной заслонки обогащается (см. рис. 41). Сопоставление характера изменения составов смеси простейшего (кривая 2) и идеального (кривая /) карбюраторов позволяет сделать заключение о том, что при работе двигателя на различных режимах простейший карбюратор приготовляет смесь, состав которой не соответствует требуемому. Кроме того, при небольших нагрузках в диффузоре простейшего карбюратора разрежение настолько мало, что приготовление горючей смеси становится невозможным.
Для исправления характеристики простейшего карбюратора, служащего основой современных карбюраторов, его дополняют рядом устройств, обеспечивающих приготовление горючей смеси на различных режимах, близкой по составу к требуемой.
Для автомобильных карбюраторных двигателей характерны следующие режимы работы: пуск двигателя, требующий вследствие плохого испарения топлива очень богатую смесь; холостой ход и малые нагрузки, которым соответствует состав смеси а — 0,6 -г- 0,8; частичные нагрузки (а = 0,9-т-1,1); максимальные (полные) нагрузки (а -■■ 0,8 -т- 0,9); резкое открытие дроссельной заслонки, которое не должно сопровождаться ощутимым обеднением горючей смеси.
Соответственно основным режимам работы двигателя карбюратор имеет следующие дозирующие системы и устройства: пусковое устройство, систему холостого хода, главное дозирующее устройство, экономайзер, эконостат (не обязательно) и ускорительный насос.
Ускорительный насос.
В определенных условиях движения автомобиля (обгон, подъем) двигатель работает с резко меняющимся режимом. При резком открытии дроссельной заслонки на короткий момент наступает обеднение смеси, так как расход воздуха и подача топлива увеличиваются в неодинаковой мере. Для устранения временного-обеднения смеси при резком открытии дроссельной заслонки и улучшения приемистости двигателя" в карбюраторе имеется ускорительный насос.

Колодец 3 (рис. 46) ускорительного насоса находится в поплавковой камере 10 и сообщается с ней через обратный шариковый кла-
пан 2. В колодце имеется поршень 4, на штоке которого установлена пружина 8. Пружина упирается в планку 9, закрепленную на подвижной стойке 1, которая соединяется с дроссельной заслонкой. В распылителе . ускорительного насоса, расположенного над верхней кромкой диффузора, установлен жиклер 7 с очень небольшим выходным отверстием. В канале, по которому подается топливо к распылителю, размещен нагнетательный клапан 5.
Для уменьшения разрежения и подсоса топлива пространство над нагнетательным клапаном каналом 6 сообщается с поплавковой камерой.
Под поршнем ускорительного насоса находится топливо, поступающее в насос из поплавковой камеры через клапан 2. При резком открытии дроссельной заслонки планка 9 сжимает пружину 8, и поршень оказывает на топливо давление, под действием которого обратный клапан закрывается, и прекращает доступ топлива назад, в поплавковую камеру, а нагнетательный клапан поднимается со своего седла. Топливо впрыскивается в трубу карбюратора, и тем самым предотвращается обеднение горючей смеси. Для лучшей приемистости впрыск растягивается на 2—3 с, что обеспечивается подбором пружины 8 с соответствующей характеристикой.
При плавном открытии дроссельной заслонки горючая смесь , не обогащается, так как медленно опускающийся поршень вытесняет топливо из колодца ускорительного насоса через обратный клапан назад, в поплавковую камеру.
Пусковое устройство
Пусковое устройство служит для приготовления горючей смеси при пуске холодного двигателя, когда условия образования горючей смеси неблагоприятны. УглОвая скорость коленчатого вала двигателя при пуске составляет 6—10 рад/с, вследствие чего скорость и разрежение воздуха в диффузоре карбюратора малы. Распыливание и обдув топлива, а также его испарение недостаточны. Кроме того, при холодном двигателе часть паров топлива на пути в цилиндры конденсируется на стенках впускного трубопровода. Для того чтобы в цилиндры двигателя поступало достаточное для воспламенения смеси количество испарившегося топлива, необходимо резко переобогащать горючую смесь в карбюраторе.
Пусковым устройством служит воздушная заслонка, с помощью которой перекрывают при пуске холодного двигателя воздушную
трубу карбюратора перед распылителями и диффузором. При этом количество воздуха, проходящего через карбюратор, уменьшается, а разрежение в диффузоре становится настолько значительным, что топливо начинает вытекать из распылителя главной дозирующей системы, обеспечивая образование горючей смеси. После- первой вспышки воздух поступает через автоматический клапан на воздушной заслонке.
Устройство и работа воздушных заслонок будут рассмотрены на конкретных схемах карбюраторов.
Устройство системы питания
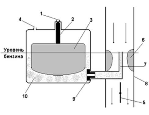
Топливные баки. На автомобиле устанавливают один или несколько топливных баков, запас топлива в которых обеспечивает необходимый пробег автомобиля. Обычно топливный бак состоит из двух сваренных между собой штампованных корытообразных половин. Внутри бака имеются перегородки, увеличивающие жесткость бака и уменьшающие плескание топлива.
В днище топливного бака имеется отверстие для слива отстоя, закрытое пробкой. Топливом бак заполняют через наливную горловину, расположенную в верхней части бака. Горловина герметично закрыта крышкой, в которой смонтированы два клапана: впускной (воздушный) и выпускной. Через впускной клапан в бак подается воздух по мере расхода топлива, и тем самым предотвращается образование в баке чрезмерного разрежения. Этот клапан открывается при разрежении в баке 1—4 кН/м2. При увеличении давления в баке на 10—20 кН/м2 (например, вследствие повышения температуры окружающего воздуха) открывается выпускной клапан. Такое устройство крышки уменьшает потери топлива из-за испарения его наиболее летучих (пусковых) фракций.
Количество топлива в баке контролируют по электрическому указателю уровня, смонтированному на щитке приборов. Датчик указателя установлен в баке. Кроме того, иногда топливные баки снабжают стержневыми измерителями уровня топлива.
|