МПС РФ
|
| Сибирский государственный университет |
| путей сообщения |
| Кафедра “Механизация путевых, погрузочно-разгрузочных и строительных работ” |
| Реферат
по дисциплине |
| "Введение в специальность" |
| Пояснительная записка |
| ВВС.000000.00.00.00 ПЗ |
| Руководитель: |
Разработал: |
| профессор |
ст. группы |
| ______________ |
____________ |
| (Подп.)
|
(Подп.)
|
| (Дата)
|
(Дата)
|
| 2005 |
Содержание
Введение
1. Назначение тормозной системы автомобиля……………………………………
2. Устройство тормозной системы………………………………………………….
3. Устройство основных механизмов и аппаратов тормозной системы
автомобилей КамАЗ………………………………………………………………
3.1. Механизм тормозной…………………………………………………………
3.2. Рычаг регулировочный……………………………………………………….
3.3. Механизм вспомогательной тормозной системы…………………………..
3.4. Компрессор…………………………………………………………………….
3.5. Влагоотделитель………………………………………………………………
3.6. Регулятор давления……………………………………………………………
3.7. Кран тормозной……………………………………………………………….
3.8. Регулятор автоматический тормозных сил………………………………….
3.9. Клапан защитный четырехконтурный……………………………………….
3.10. Ресиверы………………………………………………………………………
3.11. Камера тормозная…………………………………………………………….
3.12. Цилиндры пневматические…………………………………………………..
3.13. Клапаны и датчики……………………………………………………………
4. Техническое обслуживание и ремонт тормозной системы……………………...
Список литературы…………………………………………………………….
Введение
Автомобили КамАЗ предназначены для работы во всех отраслях народного хозяйства. Объединением КамАЗ, включающим 10 основных заводов, выпускаются автомобили колесных формул 4×2, 6×4 и 6×6 – для эксплуатации на дорогах с различным покрытием и полноприводные – по бездорожью [1].
Также выпускается специализированная техника на базе этих автомобилей (банковские, пожарные, строительные – подъемные краны, бетоносмесители).
На рисунке 1 представлена схема автомобиля КамАЗ–53215 с колесной формулой 6×4, предназначенного для перевозки грузов массой до 10 тонн по дорогам с улучшенным покрытием в составе автопоезда (с прицепом) [1].

Рисунок 1 – Автомобиль КамАЗ–53215
Автомобили КамАЗ, как и другие автомобили, состоит из ряда систем (пуска; питания топливом; смазки; охлаждения; тормозной и др), их агрегатов и узлов, а также рамы, кабины, платформы, двигателя, трансмиссии и др [1].
Каждая система и агрегат выполняют свои функции для обеспечения бесперебойной и безопасной работы всего автомобиля.
Автомобили и автопоезда КамАЗ оборудованы четырьмя автономными тормозными системами: рабочей, запасной, стояночной, вспомогательной и приводом аварийного растормаживания [2].
Хотя эти системы имеют общие элементы, работают они независимо и обеспечивают высокую эффективность торможения в любых условиях эксплуатации.
1. Назначение тормозной системы автомобиля
Рабочая тормозная система предназначена для уменьшения скорости движения автомобиля или полной его остановки. Тормозные механизмы рабочей тормозной системы установлены на всех шести колесах автомобиля. Привод рабочей тормозной системы — пневматический двухконтурный, он приводит в действие раздельно тормозные механизмы передней оси и задней тележки автомобиля. Управляется привод ножной педалью, механически связанной с тормозным краном. Исполнительными органами привода рабочей тормозной системы являются тормозные камеры [1, 2].
Запасная тормозная система предназначена для плавного снижения скорости или остановки движущегося автомобиля в случае полного или частичного выхода из строя рабочей системы [1, 2].
Стояночная тормозная система обеспечивает торможение неподвижного автомобиля на горизонтальном участке, а также на уклоне и при отсутствии водителя.
Стояночная тормозная система на автомобилях КамАЗ выполнена как единое целое с запасной и для ее включения рукоятку ручного крана следует установить в крайнее (верхнее) фиксированное положение [1, 2].
Привод аварийного растормаживания обеспечивает возможность возобновления движения автомобиля (автопоезда) при автоматическом его торможении из-за утечки сжатого воздуха, аварийной сигнализацией и контрольными приборами, позволяющими следить за работой пневмопривода.
Таким образом, в автомобилях КамАЗ, тормозные механизмы задней тележки являются общими для рабочей, запасной и стояночной тормозных систем, а две последние имеют, кроме того, и общий пневматический привод.
Система тормозная вспомогательная автомобиля служит для уменьшения нагруженности и температуры тормозных механизмов рабочей тормозной системы. Вспомогательной тормозной системой на автомобилях КамАЗ является моторный тормоз-замедлитель, при включении которого перекрываются выпускные трубопроводы двигателя и отключается подача топлива [1, 2].
Аварийная система растормаживания предназначена для оттормаживания пружинных энергоаккумуляторов при их автоматическом срабатывании и остановке автомобиля вследствие утечки сжатого воздуха в приводе [1, 2].
Привод системы аварийного растормаживания сдублирован: кроме пневматического привода имеются винты аварийного оттормаживания в каждом из четырех пружинных энергоаккумуляторов, что позволяет растормозить последние механическим путем.
Система аварийной сигнализации и контроля состоит из двух частей [1, 2]:
а) световой и акустической сигнализации о работе тормозных систем и их приводов.
В различныхточках пневматического привода встроены пневмо-лектрические датчики, которые при действии любой тормозной системы, кроме вспомогательной, замыкают цепи электрических ламп «стоп-сигнала».
Датчики падения давления установлены в ресиверах привода и при недостаточном давлении в последних замыкают цепи сигнальных электрических ламп, расположенных на панели приборов автомобиля, а также цепь звукового сигнала (зуммера).
б) клапанов контрольных выводов, с помощью которых производится диагностика технического состояния пневматического тормозного привода, а также (при необходимости) отбор сжатого воздуха.
2. Устройство тормозной системы
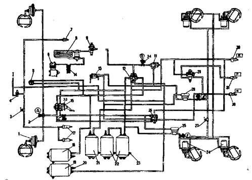
На рисунке 2 представлена схема пневматического привода тормозных механизмов автомобилей КамАЗ-43101, -43114.
Источником сжатого воздуха в приводе является компрессор 9. Компрессор, регулятор давления 11, предохранитель 12 от замерзания конденсата, конденсационный ресивер 20 составляют питающую часть привода, из которой очищенный сжатый воздух под заданным давлением подается в необходимом количестве в остальные части пневматического тормозного привода и к другим потребителям сжатого воздуха [1, 2].
Пневматический тормозной привод разбит на автономные контуры, отделенные друг от друга защитными клапанами. Каждый контур действует независимо от других контуров, в том числе и при возникновении неисправностей. Пневматический тормозной привод состоит из пяти контуров, разделенных одним двойным и одним тройным защитными клапанами [1, 2].
Контур I привода рабочих тормозных механизмов передней оси состоит из части тройного защитного клапана 17; ресивера 24 вместимостью 20 л с краном слива конденсата и датчиком 18 падения давления в ресивере, части двухстрелочного манометра 5; нижней секции двухсекционного тормозного крана 16; клапана 7 контрольного вывода (С); клапана 8 ограничения давления; двух тормозных камер 1; тормозных механизмов передней оси тягача; трубопроводов и шлангов между этими аппаратами.
Кроме того, в контур входит трубопровод от нижней секции тормозного крана 16 до клапана 81 управления тормозными системами прицепа с двухпроводным приводом.
Контур II привода рабочих тормозных механизмов задней тележки состоит из части тройного защитного клапана 17; ресиверов 22 общей вместимостью 40 л с кранами 19 слива конденсата и датчиком 18 падения давления в ресивере; части двухстрелочного манометра 5; верхней секции двухсекционного тормозного крана 16; клапана контрольного вывода (D) автоматического регулятора тормозных сил 30 с упругим элементом; четырех тормозных камер 26; тормозных механизмов задней тележки (промежуточного и заднего мостов); трубопроводов и шланга между этими аппаратами. В контур входит также трубопровод от верхней секции тормозного крана 16 к клапану 31 управления тормозными механизмами с двухпроводным приводом.
Контур III привода механизмов запасной и стояночной тормозных систем, а также, комбинированного привода тормозных механизмов прицепа (полуприцепа) состоит из части двойного защитного клапана 13; двух ресиверов 25 общей вместимостью 40 л с краном 19 слива конденсата и датчиком 18 падения давления в ресиверах; двух клапанов 7 контрольного вывода (В и Е) ручного тормозного крана 2; ускорительного клапана 29; части двухмагистрального перепускного клапана 32; четырех пружинных энергоаккумуляторов 28 тормозных камер; датчика 27 падения давления в магистрали пружинных энергоаккумуляторов; клапана 31 управления тормозными механизмами прицепа с двухпроводным приводом; одинарного защитного клапана 35; клапана 34 управления тормозными механизмами прицепа с однопроводным приводом; трех разобщительных кранов 37 трех соединительных головок; головки 38 типа А однопроводного привода тормозных механизмов прицепа и двух головок 39 типа "Палм" двухпроводного привода тормозных механизмов прицепа; двухпроводного привода тормозных механизмов прицепа; пневмоэлектри-ческого датчика 33 "стоп-сигнала", трубопроводов и шлангов между этими аппаратами. Следует отметить, что пневмоэлектрический датчик 33 в контуре установлен таким образом, что он обеспечивает включение ламп "стоп-сигнала" при торможении автомобиля не только запасной (стояночной) тормозной системой, но и рабочей, а также в случае выхода из строя одного из контуров последней.
Контур IV привода вспомогательной тормозной системы и других потребителей не имеет своего ресивера и состоит из части двойного защитного клапана 13; пневматического крана 4; двух цилиндров 23 привода заслонок; цилиндра 10 привода рычага останова двигателя; пневмоэлектрического датчика 14; трубопроводов и шлангов между этими аппаратами.
От контура IV привода механизмов вспомогательной тормозной системы сжатый воздух поступает к дополнительным (не тормозным) потребителям; пневмосигналу, пневмогидравлическому усилителю сцепления, управлению агрегатами трансмиссии и пр.
Контур V привода аварийного растормаживания не имеет своего ресивера и исполнительных органов. Он состоит из части тройного защитного клапана 17; пневматического крана 4; части двухмагистрального перепускного клапана 32; соединяющих аппараты трубопроводов и шлангов.

1 - тормозные камеры типа 24; 2 (А, В, С) - контрольные выводы; 3 - пневмоэлектрический выключатель элетромагнитного клапана прицепа; 4 - кран управления вспомогательной тормозной системой; 5 - двухстрелочный манометр; 6 - компрессор 7 - пневмоцилиндр привода рычага останова двигателя; 8 - водоотделитель; 9 - регулятор давления; 11 -двухмагистральный перепускной клапан; 12—4-х контурный защитный клапан; 13 - кран управления стояночной тормозной системой; 14 - теплообменник; 15 - двухсекционный тормозной кран; 17 - пневмоцилиндры привода заслонок механизма вспомогательной тормозной системы; 18 - ресивер контура I; 19 - ресивер потребителей; 20 -выключатель сигнализатора падения давления; 21 - ресивер контура III; 22 - ресиверы контура II; 23 - кран сливг конденсата; 24 - тормозные камеры типа 20/20 с пружинными энергоаккумуляторами; 25, 28 - ускорительные клапаны; 26 - клапан управления тормозными системами прицепа с двухпроводным приводом; 27 - выключатель сигнализатора стояночной тормозной системы; 29 - клапан управления тормозными системами прицепа с однопроводным приводом; 30 - автоматические соединительные головки; 31 - соединительная головка типа A; R -к питающей магистрали двухпроводного привода; Р - к соединительной магистрали однопроводного привода; N -к управляющей магистрали двухпроводного привода; 31- датчик падения давления в ресиверах I контура; 32- датчик падения давления в ресиверах II контура; 33-датчик стоп- сигнала; 34-кран экстренного растормаживания
Рисунок 2 – Схема пневматического привода тормозных механизмов автомобилей КамАЗ-43101, 43114
Пневматические тормозные приводы тягача и прицепа соединяют три магистрали: магистраль однопроводного привода, питающая и управляющая (тормозная) магистрали двухпроводного привода. На седельных тягачах соединительные головки 38 и 39 находятся на концах трех гибких шлангов указанных магистралей, закрепленных на поддерживающей штанге. На бортовых автомобилях головки 38 и
39 установлены на задней поперечине рамы [1, 2].
Для улучшения влагоотделения в питающей части тормозного привода автомобилей моделей 53212, 53213 на участке компрессор – регулятор давления дополнительно предусмотрен влагоотделитель, установленный на первой поперечине
автомобиля в зоне интенсивного обдува.
С этой же целью на всех моделях автомобиля КамАЗ на участке предохранитель– защитные клапаны от замерзания предусмотрен конденсационный ресивер вместимостью 20 л. На самосвале 55111 отсутствует аппаратура управления тормозными механизмами прицепа, разобщительные краны, соединительные головки.
Для наблюдения за работой пневматического тормозного привода и своевременной сигнализации о его состоянии и возникающих неисправностях в кабине на щитке приборов имеются пять сигнальных лампочек, двухстрелочный манометр, показывающий давление сжатого воздуха в ресиверах двух контуров (I и II) пневматического привода рабочей тормозной системы, и зуммер, сигнализирующий об аварийном падении давления сжатого воздуха в ресиверах любого контура тормозного привода.
3. Устройство основных механизмов и аппаратов тормозной системы
автомобилей КамАЗ
3.1. Механизм тормозной
Тормозные механизмы (рисунок 3) установлены на всех шести колесах автомобиля, основной узел тормозного механизмасмонтирован на суппорте 2, жестко связанном с фланцем моста. На эксцентрики осей 1, закрепленные в суппорте, свободно опираются две тормозные колодки 7 с прикрепленными к ним фрикционными накладками 9, выполненными по серповидному профилю в соответствии с характером их износа. Оси колодок с эксцентричными опорными поверхностями позволяют при сборке тормозных механизмов правильно сцентрировать колодки относительно тормозного барабана. Тормозной барабан крепится к ступице колеса
пятью болтами [1, 2].
При торможении колодки раздвигаются S-образ-ным кулаком 12 и прижимаются к внутренней поверхности барабана. Между разжимным кулаком 12 и колодками 7 установлены ролики 13, снижающие трение и улучшающие эффективность торможения. В отторможенное состояние колодки возвращаются четырьмя оттяжными пружинами 8.
Разжимной кулак 12 вращается в кронштейне 10, прикрепленном к суппорту болтами. На этом кронштейне устанавливается тормозная камера. На конце вала разжимного кулака установлен регулировочный рычаг 14 червячного типа, соединенный со штоком тормозной камеры при помощи вилки и пальца. Щиток, прикрепленный болтами к суппорту, защищает тормозной механизм от грязи.

1 - ось колодки; 2 -суппорт; 3 - щиток; 4 - гайка оси; 5 - накладка осей колодок;
6 - чека оси колодки; 7 - колодка тормозная; 8 - пружина; 9 - накладка фрикционная; 10-кронштейн разжимного кулака; 11 - ось ролика; 12 - кулак разжимной;
13 - ролик; 14 - рычаг регулировочный
Рисунок 3 – Механизм тормозной
ворпов
3.2. Рычаг регулировочный
Регулировочный рычаг предназначен для уменьшения зазора между колодками и тормозным барабаном, увеличивающимся вследствие износа фрикционных накладок. Устройство регулировочного рычага показано на рисунке 4. Регулировочный рычаг имеет стальной корпус 6 с втулкой 7. В корпусе находится червячное зубчатое колесо 3 со шлицевы-ми отверстиями для установки на разжимной кулак и червяк 5 с запрессованной в него осью 11. Для фиксации оси червяка имеется стопорное устройство, шарик 10 которого входит в лунки на оси 11 червяка под действием пружины 9, упирающейся в стопорный болт 8. Зубчатое колесо удерживается от выпадания крышками 1, прикрепленными к корпусу 6 рычага. При повороте оси (за квадратный конец) червяк поворачивает колесо 3, а вместе с ним поворачивается разжимной кулак, раздвигая колодки и уменьшая зазор между колодками и тормозным барабаном. При торможении регулировочный рычаг поворачивается штоком тормозной камеры [1, 2].
Перед регулированием зазора стопорный болт 8 необходимо ослабить на один-два оборота, после регулировки болт надежно затянуть.

1 - крышка; 2 - заклепка; 3 - колесо зубчатое; 4 - заглушка; 5 - червяк; 6 - корпус;
7 - втулка; 8 - болт стопорный; 9 - пружина фиксатора; 10 - шарик фиксатора;
11 - ось червяка; 12 – масленка
Рисунок 4 – Рычаг регулировочный
3.3. Механизм вспомогательной тормозной системы
Механизм вспомогательной тормозной системы представлен на рисунке 5.
В приемных трубах глушителя установлены корпус 1 и заслонка 3, закрепленная на валу 4. На валу заслонки закреплен также поворотный рычаг 2, соединенный со штоком пневмоцилиндра. Рычаг 2 и связанная с ним заслонка 3 имеют два положения. Внутренняя полость корпуса сферическая. При выключении вспомогательной тормозной системы заслонка 3 устанавливается вдоль потока отработавших газов, а при включении — перпендикулярно потоку, создавая определенное противодавление в выпускных коллекторах. Одновременно прекращается подача топлива. Двигатель начинает работать в режиме компрессора [1, 2].

1 - корпус; 2 - рычаг поворотный; 3 - заслонка; 4 - вал
Рисунок 4 – Механизм вспомогательной тормозной системы
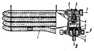
3.4. Компрессор
Компрессор (рисунок 5) поршневого типа, одноцилиндровый, одноступенчатого сжатия. Компрессор закреплен на переднем торце картера маховика двигателя.
Поршень алюминиевый, с плавающим пальцем. От осевого перемещения палец в бобышках поршня фиксируется упорными кольцами. Воздух из коллектора двигателя поступает в цилиндр компрессора через пластинчатый впускной клапан.
Сжатый поршнем воздух вытесняется в пневмосистему через расположенный в головке цилиндра пластинчатый нагнетательный клапан [1, 2].
Головка охлаждается жидкостью, подводимой из системы охлаждения двигателя. Масло к трущимся поверхностям компрессора подается из масляной магистрали двигателя: к заднему торцу коленчатого вала компрессора и по каналам коленчатого вала к шатуну. Поршневой палец и стенки цилиндра смазываются разбрызгиванием.
При достижении в пневмосистеме давления 800–2000 кПа регулятор давления сообщает нагнетательную магистраль с окружающей средой, прекращая подачу воздуха в пневмосистему.
Когда давление воздуха в пневмосистеме снизится до 650–50кПа, регулятор перекрывает выход воздуха в окружающую среду и компрессор снова начинает нагнетать воздух в пневмосистему.

1- шатун; 2 - палец поршня; 3 -маслосъемное кольцо; 4 - компрессионное кольцо;
5 -корпус цилиндра компрессора; 6 - проставка цилиндра; 7 - головка цилиндра;
8 - стяжной болт; 9 - гайка; 10 -прокладки; 11 - поршень; 12, 13 - уплотнительные кольца; 14 - подшипники скольжения; 15 - задняя крышка картера; 16 - коленчатый вал; 17 - картер; 18 -зубчатое колесо привода; 19 - гайка крепления зубчатого колеса; I - ввод; II - вывод в пневмосистему
Рисунок 5 – Компрессор
3.5. Влагоотделитель
Влагоотделитель предназначен для выделения конденсата из сжатого воздуха и его автоматического удаления из питающей части привода. Устройство влагоотделителя показано на рисунке 6 [2].
Сжатый воздух от компрессора через подвод II подается в оребренную алюминиевую трубку-охладитель (радиатор) 1, где постоянно охлаждается потоком встречного воздуха. Затем воздух проходит по центробежным направляющим дискам направляющего аппарата 4 через отверстие пустотелого винта 3 в корпусе 2 к выводу I и далее в пневматический тормозной привод. Выделявшаяся за счет термодинамического эффекта влага, стекая через фильтр 5, скапливается в нижней крышке 7. При срабатывании регулятора давление во влагоотделителе падает, при этом мембрана 6 перемещается вверх. Клапан 8 слива конденсата открывается, скопившаяся смесь воды и масла через вывод III удаляется в атмосферу.
Направление потока сжатого воздуха показано стрелками на корпусе 2.

1 - радиатор с ребристыми трубками; 2 - корпус; 3 - винт пустотелый; 4 - аппарат направляющий; 5 - фильтр; 6 - мембрана; 7 - крышка; 8 - клапан слива конденсата;
I - к регулятору давления; II - от компрессора; III - в атмосферу
Рисунок 6 – Влагоотделитель
3.6. Регулятор давления
Регулятор давления (рисунок 7) предназначен [2]:
– для регулирования давления сжатого воздуха в пневмосистеме;
– предохранения пневмосистемы от перегрузки избыточным давлением;
– очистки сжатого воздуха от влаги и масла;
– обеспечения накачки шин.
Сжатый воздух от компрессора через вывод IV регулятора, фильтр 2, канал 12 подается в кольцевой канал. Через обратный клапан 11 сжатый воздух поступает к выводу II и далее в ресиверы пневмосистемы автомобиля. Одновременно по каналу 9 сжатый воздух проходит под поршень 8, который нагружен уравновешивающей пружиной 5. При этом выпускной клапан 4, соединяющий полость над разгрузочным поршнем 14 с атмосферой через вывод I, открыт, а впускной клапан 13 под действием пружины закрыт. Под действием пружины закрыт также и разгрузочный клапан 1. При таком состоянии регулятора система наполняется сжатым воздухом от компрессора. При давлении в полости под поршнем 8, равном 686,5... 735,5 кПа (7 ... 7,5 кгс/ см2), поршень, преодолев усилие уравновешивающей пружины 5, поднимается вверх, клапан 4 закрывается, впускной клапан 13 открывается.
Под действием сжатого воздуха разгрузочный поршень 14 перемещается вниз, разгрузочный клапан 1 открывается, и сжатый воздух из компрессора через вывод III выходит в атмосферу вместе со скопившимся в полости конденсатом. При этом давление в кольцевом канале падает и обратный клапан 11 закрывается. Таким образом, компрессор работает в разгруженном режиме без противодавления.
Когда давление в выводе II понизится до 608... 637,5 кПа, поршень 8 под действием пружины 5 перемещается вниз, клапан 13 закрывается, а выпускной клапан 4 открывается. При этом разгрузочный поршень 14 под действием пружины поднимается вверх, клапан 1 под действием пружины закрывается, и компрессор нагнетает сжатый воздух в пневмосистему.
Разгрузочный клапан 1 служит также предохранительным клапаном. Если регулятор не срабатывает при давлении 686,5... 735,5 кПа (7... 7,5 кгс/см2), то клапан 1 открывается, преодолев сопротивление своей пружины и пружины поршня 14. Клапан 1 открывается при давлении 980,7... 1274,9 кПа (10... 13 кгс/см2). Давление открытия регулируют изменением количества прокладок, установленных под пружиной клапана.
Для присоединения специальных устройств регулятор давления имеет вывод, который соединен с выводом IV через фильтр 2. Этот вывод закрыт резьбовой пробкой 3. Кроме того, предусмотрен клапан отбора воздуха для накачки шин, который закрыт колпачком 17. При навинчивании штуцера шланга для накачки шин клапан утапливается, открывая доступ сжатому воздуху в шланг и преграждая проход сжатого воздуха в тормозную систему. Перед накачиванием шин давление в ресиверах следует понизить до давления, соответствующего давлению включения регулятора, так как во время холостого хода нельзя произвести отбор воздуха.

1 - клапан разгрузочный; 2 -фильтр; 3 - пробка канала отбора воздуха; 4 - клапан выпускной; 5 - пружина уравновешивающая; 6 - винт регулировочный; 7 - чехол защитный; 8 - поршень следящий; 9, 10, 12 - каналы; 11 - клапан обратный;
13 - клапан впускной; 14 - поршень разгрузочный; 15 - седло разгрузочного клапана; 16 - клапан для накачки шин; 17 -колпачок;
I, III - выводы атмосферные; II - в пневмосистему; IV - от компрессора;
С - полость под следящим поршнем; D - полость под разгрузочным поршнем
Рисунок 7 – Регулятор давления
3.7. Кран тормозной
Двухсекционный тормозной кран (рисунок 8) служит для управления исполнительными механизмами двухконтурного привода рабочей тормозной системы автомобиля [2].

1 - педаль; 2 - регулировочный болт; 3 - защитный чехол; 4 - ось ролика; 5 - ролик; 6 - толкатель; 7 - опорная плита; 8 -гайка; 9 - тарелка; 10,16, 19, 27 - уплотнительные кольца; 11 - шпилька; 12 - пружина следящего поршня; 13, 24 -пружины клапанов; 14, 20 - тарелки пружин клапанов; 15 - малый поршень; 17 - клапан нижней секции; 18 -толкатель малого поршня; 21 - атмосферный клапан; 22 -упорное кольцо; 23 - корпус атмосферного клапана; 25 -нижний корпус; 26 - пружина малого поршня; 28 -большой поршень; 29 - клапан верхней секции; 30 -следящий поршень; 31 - упругий элемент; 32 - верхний корпус; А - отверстие; В - полость над большим поршнем; I, II - ввод от ресивера; III, IV - вывод к тормозным камерам соответственно задних и передних колес
Рисунок 8 – Кран тормозной с приводом от педали
Управление краном осуществляется педалью, непосредственно связанной с тормозным краном.
Кран имеет две независимые секции, расположенные последовательно. Вводы I и II крана соединены с ресиверами двух раздельных контуров привода рабочей тормозной системы. От выводов III и IV сжатый воздух поступает к тормозным камерам. При нажатии на тормозную педаль силовое воздействие передается через толкатель 6, тарелку 9 и упругий элемент 31 на следящий поршень 30. Перемещаясь вниз, следящий поршень 30 сначала закрывает выпускное отверстие клапана 29 верхней секции тормозного крана, а затем отрывает клапан 29 от седла в верхнем корпусе 32, открывая проход сжатому воздуху через ввод II и вывод III и далее к исполнительным механизмам одного из контуров. Давление на выводе III повышается до тех пор, пока сила нажатия на педаль 1 не уравновесится усилием, создаваемым этим давлением на поршень 30. Так осуществляется следящее действие в верхней секции тормозного крана. Одновременно с повышением давления на выводе III сжатый воздух через отверстие А попадает в полость В над большим поршнем 28 нижней секции тормозного крана. Перемещаясь вниз, большой поршень 28 закрывает выпу скное отверстие клапана 17 и отрывает его от седла в нижнем корпусе. Сжатый воздух через ввод I поступает к выводу IV и далее в исполнительные механизмы первого контура рабочей тормозной системы.
Одновременно с повышением давления на выводе IV возрастает давление под поршнями 15 и 28, в результате чего уравновешивается сила, действующая на поршень 28 сверху. Вследствие этого на выводе IV также устанавливается давление, соответствующее усилию на рычаге тормозного крана. Так осуществляется следящее действие в нижней секции тормозного крана.
При отказе в работе верхней секции тормозного крана нижняя секция будет управляться механически через шпильку 11 и толкатель 18 малого поршня 15, полностью сохраняя работоспособность. При этом следящее действие осуществляется уравновешиванием силы, приложенной к педали 1, давлением воздуха на малый поршень 15. При отказе в работе нижней секции тормозного крана верхняя секция работает как обычно.
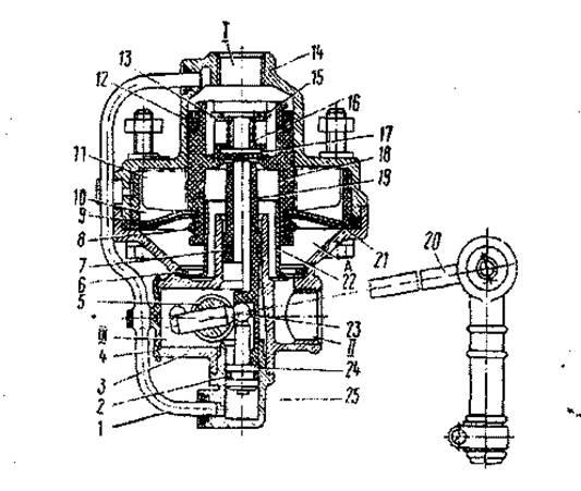
3.8. Регулятор автоматический тормозных сил
Регулятор автоматический тормозных сил предназначен для автоматического регулирования давления сжатого воздуха, подводимого при торможении к тормозным камерам мостов задней тележки автомобилей КамАЗ в зависимости от действующей осевой нагрузки [2].
Автоматический регулятор тормозных сил установлен на кронштейне 1, закрепленном на поперечине рамы автомобиля (рисунок 9). Регулятор крепится на кронштейне гайками.

1 - кронштейн регулятора; 2 - регулятор; 3- рычаг; 4 -штанга упругого элемента; 5 - элемент упругий; 6 -штанга соединительная; 7 - компенсатор; 8 - мост промежуточный; 9 - мост задний
Рисунок 9 – Установка регулятора тормозных сил
Рычаг 3 регулятора с помощью вертикальной штанги 4 соединен через упругий элемент 5 и штангу 6 с балками мостов 8 и 9 задней тележки. Регулятор соединен с мостами таким образом, что перекосы мостов во время торможения на неровных дорогах и скручивание мостов вследствие действия тормозного момента не отражаются на правильном регулировании тормозных сил. Регулятор установлен в вертикальном положении. Длина плеча рычага 3 и положение его при разгруженной оси подбираются по специальной номограмме в зависимости от хода подвески при нагружении оси и соотношения осевой нагрузки в груженом и порожнем состоянии.
Устройство автоматического регулятора тормозных сил показано на рисун-
ке 10. При торможении сжатый воздух от тормозного крана подводится к выводу I регулятора и воздействует на верхнюю часть поршня 18, заставляя его перемещаться вниз. Одновременно сжатый воздух по трубке 1 поступает под поршень 24, который перемещается вверх и прижимается к толкателю 19 и шаровой пяте 23, находящейся вместе с рычагом 20 регулятора в положении, зависящем от величины нагрузки на ось тележки. При перемещении поршня 18 вниз клапан 17 прижимает-ся к выпускному седлу толкателя 19. При дальнейшем перемещении поршня 18 клапан 17 отрывается от седла в поршне и сжатый воздух из вывода I поступает в вывод II и далее к тормозным камерам мостов задней тележки автомобиля.
Одновременно сжатый воздух через кольцевой зазор между поршнем 18 и направляющей 22 поступает в полость А под мембрану 21 и последняя начинает давить на поршень снизу. При достижении на выводе II давления, отношение которого к давлению на выводе I соответствует соотношению активных площадей верхней и нижней сторон поршня 18, последний поднимается вверх до момента посадки клапана 17 на впускное седло поршня 18. Поступление сжатого воздуха из вывода I к выводу II прекращается. Таким образом осуществляется следящее действие регулятора. Активная площадь верхней стороны поршня, на которую воздействует сжатый воздух, подведенный к выводу 7, остается всегда постоянной.
Активная площадь нижней стороны поршня, на которую через мембрану 21 воздействует сжатый воздух, прошедший в вывод II, постоянно меняется из-за изменения взаимного расположения наклонных ребер 11 движущегося поршня 18 и неподвижной вставки 10. Взаимное положение поршня 18 и вставки 10 зависит от положения рычага 20 и связанного с ним через пяту 23 толкателя 19. В свою очередь положение рычага 20 зависит от прогиба рессор, то есть от взаимного расположения балок мостов и рамы автомобиля. Чем ниже опускается рычаг 20, пята 23, а следовательно, и поршень 18, тем большая площадь ребер 11 входит в контакт с мембраной 21, то есть больше становится активная площадь поршня 18 снизу. Поэтому при крайнем нижнем положении толкателя 19 (минимальная осевая нагрузка) разность давлений сжатого воздуха в выводах I и II наибольшая, а при крайнем верхнем положении толкателя 19 (максимальная осевая нагрузка) эти давления выравниваются. Таким образом, регулятор тормозных сил автоматически поддерживает в выводе II и в связанных с ним тормозных камерах давление сжатого воздуха, обеспечивающее нужную тормозную силу, пропорциональную осевой нагрузке, действующей во время торможения.
При оттормаживании давление в выводе I падает. Поршень 18 под давлением сжатого воздуха, действующим на него через мембрану 21 снизу, перемещается вверх и отрывает клапан 17 от выпускного седла толкателя 19. Сжатый воздух из вывода II выходит через отверстие толкателя и вывод III в атмосферу, отжимая при этом края резинового клапана 4 [2].

1 -труба; 2, 7 - кольца уплотнительные; 3 - корпус нижний; 4 - клапан; 5 - вал;
6, 15 - кольца упорные; 8 - пружина мембраны; 9 - шайба мембраны; 10 - вставка; 11 - ребра поршня; 12 - манжета; 13 - тарелка пружины клапана; 14 -корпус верхний; 16 - пружина; 17 - клапан; 18 - поршень; 19 - толкатель; 20 - рычаг; 21 - мембрана; 22 -направляющая; 23 - пята шаровая; 24 - поршень; 25 -колпачок направляющий; I - от тормозного крана; II - к тормозным камерам задних колес; III - в атмосферу
Рисунок 10 – Автоматический регулятор тормозных сил
Элемент упругий регулятора тормозных сил предназначен для предотвращения повреждения регулятора, если перемещение мостов относительно рамы больше допустимого хода рычага регулятора.
Упругий элемент 5 регулятора тормозных сил установлен (рисунок 11) на
штанге 6, расположенной между балками задних мостов определенным образом.
Точка соединения элемента со штангой 4 регулятора находится на оси симметрии мостов, которая не перемещается в вертикальной плоскости при скручивании мостов в процессе торможения, а также при односторонней нагрузке на неровной поверхности дороги и при перекосах мостов на криволинейных участках при повороте. При всех этих условиях на рычаг регулятора передаются только вертикальные перемещения от статического и динамического изменения осевой нагрузки.
Устройство упругого элемента регулятора тормозных сил показано на рисунке 11. При вертикальных перемещениях мостов в пределах допустимого хода рычага регулятора тормозных сил шаровой палец 4 упругого элемента находится в нейтральной точке. При сильных толчках и вибрации, а также при перемещении мостов за пределы допустимого хода рычага регулятора тормозных сил стержень 3, преодолевая силу пружины 2, поворачивается в корпусе 1. При этом тяга 5, соединяющая упругий элемент с регулятором тормозных сил, поворачивается относительно отклоненного стержня 3 вокруг шарового пальца 4.
После прекращения действия силы, отклоняющей стержень 3, палец 4 под действием пружины 2 возвращается в исходное нейтральное положение.

1 - корпус; 2 - пружина; 3 - стержень; 4 - палец шаровой; 5 -тяга регулятора
Рисунок 11 – Элемент упругий регулятора тормозных сил
3.9. Клапан защитный четырехконтурный
Четырехконтурный защитный клапан (рисунок 12) предназначен для разделения сжатого воздуха, поступающего от компрессора, на два основных и один дополнительный контуры: для автоматического отключения одного из контуров при нарушении его герметичности и сохранения сжатого воздуха в герметичных контурах; для сохранения сжатого воздуха во всех контурах при нарушении герметичности питающей магистрали; для питания дополнительного контура от двух основных контуров (до тех пор, пока давление в них не снизится до заданного уровня).
Четырехконтурный защитный клапан прикреплен к лонжерону рамы автомобиля [2].

1 - колпачок защитный; 2 - тарелка пружины; 3, 8, 10 -пружины; 4 - направляющая пружины; 5 - мембрана; 6 -толкатель; 7, 9 - клапаны; 11, 12 - винты; 13 - пробка транспортная; 14 - корпус; 15 – крышка
Рисунок 12 – Клапан защитный четырехконтурный
Сжатый воздух, поступающий в четырехконтурный защитный клапан из питающей магистрали, при достижении заданного давления открытия, устанавливаемого усилием пружин 3, открывает клапаны 7, воздействуя на мембрану 5, поднимает ее, и поступает через выводы в два основных контура. После открытия обратных клапанов сжатый воздух поступает к клапанам 7, открывает их и через вывод проходит в дополнительный контур.
При нарушении герметичности одного из основных контуров давление в этом контуре, а также на входе в клапан падает до заданной величины. Вследствие этого клапан исправного контура и обратный клапан дополнительного контура закрываются, предотвращая уменьшение давления в этих контурах. Таким образом, в исправных контурах будет поддерживаться давление, соответствующее давлению открытия клапана неисправного контура, излишнее количество сжатого воздуха при этом будет выходить через неисправный контур.
При отказе в работе дополнительного контура давление падает в двух основных контурах и на входе в клапан. Это происходит до тех пор, пока не закроется клапан 6 дополнительного контура. При дальнейшем поступлении сжатого воздуха в защитный клапан 6 в основных контурах будет поддерживаться давление на уровне давления открытия клапана дополнительного контура [2].
3.10. Ресиверы
Ресиверы предназначены для накопления сжатого воздуха, производимого компрессором, и для питания им приборов пневматического тормозного привода, а также для питания других пневматических узлов и систем автомобиля [1, 2, 3].
На автомобиле КамАЗ установлено шесть ресиверов вместимостью по 20 л, причем четыре из них соединены между собой попарно, образуя два резервуара вместимостью по 40 л. Ресиверы закреплены хомутами на кронштейнах рамы автомобиля. Три ресивера объединены в блок и установлены на едином кронштейне.
Кран слива конденсата (рисунок 13) предназначен для принудительного слива конденсата из ресивера пневматического тормозного привода, а также для выпуска из него сжатого воздуха при необходимости. Кран слива конденсата ввернут в резьбовую бобышку на нижней части корпуса ресивера. Соединение между краном и бобышкой ресивера уплотнено прокладкой.

1 - шток; 2 - пружина; 3 - корпус; 4 - кольцо опорное; 5 - шайба; 6 – клапан
Рисунок 13 – Кран слива конденсата
3.11. Камера тормозная
Камера тормозная с пружинным энергоаккумулятором типа 20/20 показана на рисунке 14. Она предназначена для приведения в действие тормозных механизмов колес задней тележки автомобиля при включении рабочей, запасной и стояночной тормозных систем [2].
Пружинные энергоаккумуляторы вместе с тормозными камерами установлены на кронштейны разжимных кулаков тормозных механизмов задней тележки и закреплены двумя гайками с болтами.
При торможении рабочей тормозной системой сжатый воздух от тормозного крана подается в полость над мембраной 16. Мембрана 16, прогибаясь, воздействует на диск 17, который через шайбу и контргайку перемещает шток 18 и поворачивает регулировочный рычаг с разжимным кулаком тормозного механизма. Таким образом, торможение задних колес происходит так же, как и торможение передних с обычной тормозной камерой.
При включении запасной или стояночной тормозной системы, то есть при выпуске воздуха ручным краном из полости под поршнем 5, пружина 8 разжимается и поршень 5 перемещается вниз. Подпятник 2 через мембрану 16 воздействует на подпятник штока 18, который, перемещаясь, поворачивает связанный с ним регулировочный рычаг тормозного механизма. Происходит затормаживание автомобиля.
При оттормаживании сжатый воздух поступает через вывод под поршень 5. Поршень вместе с толкателем 4 и подпятником 2 перемещается вверх, сжимая пружину 8 и дает возможность штоку 18 тормозной камеры под действием возвратной пружины 19 вернуться в исходное положение.

1 - корпус; 2 - подпятник; 3 - кольцо уплотнительное; 4 - толкатель; 5 - поршень;
6 - уплотнение поршня; 7 - цилиндр энергоаккумулятора; 8 - пружина; 9 - винт механизма аварийного растормаживания; 10 -гайка упорная; 11- патрубок цилиндра; 12 - трубка дренажная; 13 - подшипник упорный; 14 - фланец; 15 -патрубок тормозной камеры; 16 - мембрана; 17 - диск опорный; 18 - шток; 19 - пружина возвратная
Рисунок 14 – Камера тормозная типа 20/20 с пружинным энергоаккумулятором
При чрезмерно большом зазоре между колодками и барабаном тормозного механизма, то есть при чрезмерно большом ходе штока тормозной камеры, усилие на штоке может оказаться недостаточным для эффективного торможения. В этом случае следует включить ручной тормозной кран обратного действия и выпустить воздух из-под поршня 5 пружинного энергоаккумулятора. Подпятник 2 под действием силовой пружины 8 продавит середину мембраны 16 и продвинет шток 18 на имеющийся дополнительный ход, обеспечив затормаживание автомобиля.
При нарушении герметичности и снижении давления в ресивере стояночной тормозной системы воздух из полости под поршнем 5 через вывод уйдет в атмосферу через поврежденную часть привода и произойдет автоматическое затормаживание автомобиля пружинными энергоаккумуляторами.
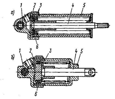
3.12. Цилиндры пневматические
Цилиндры пневматические предназначены для приведения в действие механизмов вспомогательной тормозной системы [2].
На автомобилях КамАЗ установлено три пневматических цилиндра:
– два цилиндра диаметром 35 мм и ходом поршня 65 мм (рисунок 15, а) для управления дроссельными заслонками, установленными в выпускных трубопрово- дах двигателя;
– один цилиндр диаметром 30 мм и ходом поршня 25 мм (рисунок 15, б) для управления рычагом регулятора топливного насоса высокого давления.
Пневматический цилиндр 035x65 шарнирно закреплен на кронштейне при помощи пальца. Шток цилиндра резьбовой вилкой соединяется с рычагом управления заслонкой. При включении вспомога тельной тормозной системы сжатый воздух от пневматического крана через вывод в крышке 1 (см. рис. 311, а) поступает в полость под поршнем 2. Поршень 2, преодолевая силу возвратных пружин 3, перемещается и воздействует через шток 4 на рычаг управления заслонкой, переводя ее из положения «ОТКРЫТО» в положение «ЗАКРЫТО». При выпуске сжатого воздуха поршень 2 со штоком 4 под действием пружин 3 возвращается в исходное положение. При этом заслонка поворачивается в положение «ОТКРЫТО».
Пневматический цилиндр 030x25 шарнирно установлен на крышке регулятора топливного насоса высокого давления. Шток цилиндра резьбовой вилкой соединен с рычагом регулятора. При включении вспомогательной тормозной системы сжатый воздух от пневматического крана через вывод в крышке 1 цилиндра поступает в полость под поршнем 2. Поршень 2, преодолевая силу возвратной пружины 3, перемещается и воздействует через шток 4 на рычаг регулятора топливного насоса, переводя его в положение нулевой подачи. Система тяг педали управления подачей топлива связана со штоком цилиндра таким образом, что при включении вспомогательной тормозной системы педаль не перемещается. При выпуске сжатого воздуха поршень 2 со штоком 4 под действием пружины 3 возвращается в исходное положение.

1 - крышка цилиндра; 2 - поршень; 3 - пружины возвратные; 4 -шток; 5 - корпус;
6 - манжета
Рисунок 15 – Пневматические цилиндры привода заслонки механизма
вспомогательной тормозной системы (а) и привода рычага
остановки двигателя (б)
фвывмвым
3.13. Клапаны и датчики
Клапан контрольного вывода (рис. 312) предназначен для присоединения к приводу контрольно-измерительных приборов с целью проверки давления, а также для отбора сжатого воздуха. Таких клапанов на автомобилях КамАЗ установлено пять – во всех контурах пневматического тормозного привода. Для присоединения к клапану следует применять шланги и измерительные приборы с накидной гайкой М 16x1,5.
При измерении давления или для отбора сжатого воздуха отвернуть колпачок 4 клапана и навернуть на корпус 2 накидную гайку шланга, присоединенного к контрольному манометру или какому-либо потребителю. При наворачивании гайка перемещает толкатель 5 с клапаном, и воздух через радиальные и осевое отверстия в толкателе 5 поступает в шланг. После отсоединения шланга толкатель 5 с клапаном под действием пружины 6 прижимается к седлу в корпусе 2, закрывая выход сжатому воздуху из пневмопривода [2].

1 - штуцер; 2 - корпус; 3 - петля; 4 - колпачок; 5 - толкатель с клапаном;
6 - пружина
Рисунок 16 – Клапан контрольного вывода
Датчик падения давления (рисунок 17) представляет собой пневматический выключатель, предназначенный для замыкания цепи электрических ламп и звукового сигнала (зуммера) аварийной сигнализации при падении давления в ресиверах пневматического тормозного привода. Датчики с помощью наружной резьбы на корпусе вворачиваются в ресиверы всех контуров тормозного привода, а также в арматуру контура привода стояночной и запасной тормозных систем и при их включении загораются красная контрольная лампочка на щитке приборов и лампы сигнала торможения.
Датчик имеет нормально замкнутые центральные контакты, которые размыкаются при повышении давления выше 441,3... 539,4 кПа.
При достижении в приводе указанного давления мембрана 2 под действием сжатого воздуха прогибается и через толкатель 4 воздействует на подвижный контакт 5. Последний, преодолев усилие пружины 6, отрывается от неподвижного контакта 3 и разрывает электрическую цепь датчика. Замыкание контакта, а следовательно, включение контрольных ламп и зуммера, происходит при снижении давления ниже указанной величины [2].

1 - корпус; 2 -мембрана; 3 - контакт неподвижный; 4 толкатель; 5 - контакт подвижный; 6 - пружина; 7 - винт регулировочный; 8 – изолятор
Рисунок 17 – Датчик падения давления
Датчик включения сигнала торможения (рисунок 18) представляет собой пневматический выключатель, предназначенный для замыкания цепи электрических сигнальных ламп при торможении. Датчик имеет нормально разомкнутые контакты, которые замыкаются при давлении 78,5... 49 кПа и размыкаются при уменьшении давления ниже 49... 78,5 кПа. Датчики установлены в магистралях, подво-
дящих сжатый воздух к исполнительным механизмам тормозных систем [2].
При подводе сжатого воздуха под мембрану последняя прогибается, и подвижной контакт 3 соединяет контакты 6 электрической цепи датчика.

1 - корпус; 2-мембрана; 3 -контакт подвижный; 4 -пружина; 5 - вывод неподвижного контакта; 6 -контакт неподвижный; 7 –крышка
Рисунок 18 – Датчик включения сигнала торможения
Клапан управления тормозными механизмами прицепа с двухпроводным приводом (рисунок 19) предназначен для приведения в действие тормозного привода прицепа (полуприцепа) при включении любого из раздельных контуров привода рабочей тормозной системы тягача, а также при включении пружинных энергоаккумуляторов привода запасной и стояночной тормозных систем тягача.
Клапан крепится на раме тягача двумя болтами.
Между нижним 14 и средним 18 корпусами зажата мембрана 1, которая укреплена между двумя шайбами 17 на нижнем поршне 13 гайкой 16, уплотненной резиновым кольцом. К нижнему корпусу двумя винтами прикреплено выпускное окно 15 с клапаном, предохраняющим прибор от попадания пыли и грязи. При ослаблении одного из винтов выпускное окно 15 можно повернуть и открыть доступ к регулировочному винту 8 через отверстие клапана 4 и поршня 13. В отторможенном состоянии к выводам II и V постоянно подается сжатый воздух, который, воздействуя сверху на мембрану 1 и снизу на средний поршень 12, удерживает поршень 13 в нижнем положении. При этом вывод IV соединяет магистраль управления тормозными механизмами прицепа с атмосферным выводом VI через центральное отверстие клапана 4 и нижнего поршня 13.

1 - мембрана; 2 -пружина; 3 - клапан разгрузочный; 4 - клапан впускной; 5 - корпус верхний; 6 - поршень верхний большой; 7 -тарелка пружины; 8 - винт регулировочный; 9 - пружина; 10 - поршень малый верхний; 11 - пружина; 12 -поршень средний; 13 - поршень нижний; 14 - корпус нижний; 15 - окно выпускное; 16 - гайка;
17 - шайба мембраны; 18 - корпус средний; I - вывод к секции тормозного крана;
II - вывод к крану управления стояночной тормозной системой; III - вывод к секции тормозного крана; IV - вывод в тормозную магистраль прицепа; V - вывод к ресиверу; VI - вывод атмосферный
Рисунок 19 – Клапан управления тормозными механизмами прицепа с двухпроводным приводом
При подводе сжатого воздуха к выводу III верхние поршни 10 и 6 одновременно перемещаются вниз. Поршень 10 сначала садится своим седлом на клапан 4, перекрывая атмосферный вывод в нижнем поршне 13, а затем отрывает клапан 4 от седла среднего поршня 12. Сжатый воздух от вывода V, связанного с ресивером, поступает к выводу IV и далее в магистраль управления тормозными механизмами прицепа. Подача сжатого воздуха к выводу IV продолжается до тех пор, пока его воздействие снизу на верхние поршни 10 и 6 не уравновесится давлением сжатого воздуха, подведенного к выводу III, на эти поршни сверху. После этого клапан 4 под действием пружины 2 перекрывает доступ сжатого воздуха от вывода V к выводу IV. Таким образом осуществляется следящее действие. При уменьшении давления сжатого воздуха на выводе III от тормозного крана, т.е. при оттормаживании, верхний поршень 6 под действием пружины 11 и давления сжатого воздуха снизу (в выводе IV) перемещается вверх вместе с поршнем 10. Седло поршня 10 отрывается от клапана 4 и сообщает вывод IV с атмосферным выводом VI через отверстия клапана 4 и поршня 13.
При подводе сжатого воздуха к выводу I он поступает под мембрану 1 и перемещает нижний поршень 13 вместе со средним поршнем 12 и клапаном 4 вверх. Клапан 4 доходит до седла в малом верхнем поршне 10, перекрывает атмосферный вывод, а при дальнейшем движении среднего поршня 12 отрывается от его впускного седла. Воздух поступает из вывода V, соединенного с ресивером, к выводу IV и далее в магистраль управления тормозными механизмами прицепа до тех пор, пока его воздействие на средний поршень 12 сверху не уравняется давлением на мембрану 1 снизу. После этого клапан 4 перекрывает доступ сжатого воздуха из вывода V к выводу IV. Таким образом осуществляется следящее действие при таком варианте работы прибора. При падении давления сжатого воздуха на выводе I и под мембрану нижний поршень 13 вместе со средним поршнем 12 перемещается вниз. Клапан 4 отрывается от седла в верхнем малом поршне 10 и сообщает вывод IV с атмосферным выводом VI через отверстия в клапане 4 и поршне 13.
При одновременном подводе сжатого воздуха к выводам I и III происходит одновременное перемещение большого и малого верхних поршней 10 и 6 вниз, а нижнего поршня 13 со средним поршнем 12 – вверх. Заполнение магистрали управления тормозными механизмами прицепа через вывод IV и выпуск из нее сжатого воздуха происходит так же, как описано выше.
При выпуске сжатого воздуха из вывода II (при торможении запасной или стояночной тормозной системой тягача) давление над мембраной падает. Под действием сжатого воздуха снизу средний поршень 12 вместе с нижним поршнем 13 перемещаются вверх. Заполнение магистрали управления тормозными механизмами прицепа через вывод IV и оттормаживание происходит так же, как при подводе сжатого воздуха к выводу I. Следящее действие в этом случае достигается уравновешиванием давления сжатого воздуха на средний поршень 12 и суммы давления сверху на средний поршень 12 и мембрану 1.
При подводе сжатого воздуха к выводу III (или при одновременном подводе воздуха к выводам III и I) величина давления в выводе IV, соединенном с магистралью управления тормозными механизмами прицепа, превышает величину давления, подведенного к выводу III. Этим обеспечивается опережающее действие тормозной системы прицепа (полуприцепа). Максимальная величина превышения давления на выводе IV составляет 98,1 кПа, минимальная – около 19,5 кПа, номинальная – 68,8 кПа. Регулирование величины превышения давления осуществляется винтам 8: при вворачивании винта она увеличивается, при выворачивании – уменьшается.
4. Техническое обслуживание и ремонт тормозной системы
При ежедневном техническом обслуживании проверяется [1, 2, 3]:
– герметичность соединительных головок;
– состояние шлангов подсоединения тормозной системы прицепа (для автопоезда);
– наличие, состояние и слив конденсата из ресиверов системы (Конденсат сливается из ресиверов при номинальном давлении воздуха в пневмоприводе, отведя в сторону шток сливного крана по окончании смены. Шток натягивается вниз. Повышенное содержание масла в конденсате указывает на неисправность компрессора. При замерзании конденсата в ресиверах их прогревают горячей водой или теплым воздухом. Запрещается пользоваться для прогрева открытым пламенем. После слива конденсата давление воздуха в пневмосистеме доведится до номинального);
– при осмотре не допускается перекручивания и контактирование с острыми кромками других деталей шлангов термозной системы.
При ТО–1 [3]:
– внешним осмотром элементов и по показаниям штатных приборов автомо-
биля проверяется исправность тормозной системы.
– обнаруженные неисправности устраняются путем регулировочных работ и замены вышедших из строя агрегатов, узлов и деталей, доливки или замены масла и спирта;
– согласно карте смазке производится смазка деталей.
Проверка работоспособности пневматического тормозного привода заключается в определении выходных параметров давления воздуха по контурам с помощью контрольных манометров и штатных приборов в кабине (двухстрелочный манометр и блок контрольных ламп тормозной системы). Проверка проводится по клапанам контрольных выводов, установленных во всех контурах пневмопривода, и соединительным головкам типа «Палм» питающей (аварийной) и управляющей (тормозной) магистралей двухпроводного привода и типа А соединительной магистрали однопроводного тормозного привода прицепа. Расположение клапанов указано в инструкциях [1, 2].
Ремонт тормозной системы
Для повышения безотказности и надежности работы тормозной системы рекомендуется [2] проводить один раз в два года принудительную проверку и разбраковку тормозных аппаратов независимо от их технического состояния.
Принудительной разбраковке подлежат [2]: регулятор давления; регуляторы тормозных сил; тормозные камеры типа 20/20; камера тормозная типа 24 (мембрана); двойной защитный клапан; 4-х контурный защитный клапан; ручной тормозной кран; двухсекционный тормозной кран; клапан ограничения давления; клапан ускорительный; клапан управления тормозными механизмами прицепа (по одно-и двухпроводному приводу); кран пневматический.
Принудительно снятые или обнаруженные при контрольной проверке неисправные аппараты должны быть отремонтированы с помощью ремонтных комплектов, проверены на работоспособность и соответствие характеристикам.
Порядок сборки и проверки аппаратов изложен в специальных инструкциях. Их ремонт производится лицами, прошедшими необходимую подготовку [1, 2, 3].
Список литературы
1. Автомобили КАМАЗ. Модели с колесной формулой 6х4 и 6х6. Руководство по
эксплуатации, ремонту и техобслуживанию. М., 2004. 314 с.
2. Руководство по ремонту и техническому обслуживанию автомобилей
КамАЗ. М., 2001.289 с.
3. Пергамент Л.Р. Водителю автомобиля КамАЗ. М., 1982. 160 с.
4. СТП СГУПС 01.01–2000. Курсовой и дипломный проекты. Требования к оформ-
лению. Новосибирск, 2000. 44 с.
|