Общие положения
Раздел «Оценка воздействия на окружающую среду» разработан в составе предпроект-ных материалов строительства Цеха смол на действующей производственной площадке.
Решение о проектировании цеха смол было принято при приобретении в собственность ООО «Кроностар» земельного участка как дополнительное расширение для нужд основного производства.
При решении вопросов по размещению проектируемого производства должны быть учтены следующие факторы: структура существующего ситуационного плана района строительства; возможность обеспечения подъезда автотранспорта; группирование объектов по функциональному назначению; возможность подключения проектируемых железнодорожных путей; размещение проектируемых объектов с учетом рельефа местности и направлений преобладающих ветров; сокращение протяженности технологических связей и инженерных коммуникаций.
Схема экологического сопровождения и ввода в действие предприятия.
Проект строительства Цеха смол на действующей производственной площадке предполагает многоступенчатое экологическое сопровождение реализации намечаемой деятельности, охватывающее все стадии жизненного цикла предприятия.
С учетом специфики решаемых задач, жизненного цикла предприятия, с ориентацией на задачи экологического сопровождения проекта, представлен в таблице 1.1.
Экологическое сопровождение проектной документации в соответствии с требованиями природоохранного законодательства РФ является обязательной составляющей планируемой хозяйственной деятельности, которая может оказать прямое или косвенное влияние на окружающую среду.
Таблица 1.1 Схема экологического сопровождения строительства Цех формальдегидных смол.
| № п/п |
Стадия работ |
Экологическое обоснование |
Сроки внедрения |
| • |
1 Разработка раздела ОВОС в составе предпро- |
2008 |
| ектнои документации. |
| 2. Разработка раздела ПМООС в составе проект- |
2008-2009 |
| • |
Проектные решения |
ной документации.
3. Корректировка проекта организации единой
санитарно-защитной зоны предприятия.
|
2010 |
| 1. Ведение работ в соответствии с принятым |
2010 |
| • |
Строительные работы |
экологическим регламентом
2. Заключение договоров на вывоз и размещение отходов строительного производства
|
2010 |
| 1. Корректировка и согласование проекта |
| • |
* |
нормативов предельно допустимых выбросов загрязняющих веществ в атмосферу (ПДВ) и получение разрешения на выброс. 2. Корректировка и согласование проекта нормативов образования отходов и лимитов на их |
| размещение (НООЛР) и получение разрешения |
| • |
Эксплуатация предприятия |
на размещение отходов;
3. Заключение договоров на вывоз и разме щение отходов;
4. Ведение экологической статистической
|
2010 |
| отчетности, расчет и осуществление платежей за загрязнение окружающей среды 5. Организация мониторинга и контроля выбросов, сбросов загрязняющих веществ, образования и размещения отходов. |
2. Природные условия района строительства.
Краткая характеристика района строительства
В административном отношении проектируемый объект расположен на действующей производственной площадке ООО «Кроностар». Территория Цеха смол ограничена:
- с северной стороны - промплощадкой заводов ДСП и МДФ;
- с запада - промплощадкой завода ДВП;
- с востока - промплощадкой заводов ДСП и МДФ;
- с южной стороны - промплощадкой завода ДВП и свободной территории промпло-щадки 000 «Кроностар»;
Рельеф местности спокойный.
Сведения о современном состоянии природной среды для разработки ОВОС были получены на основе:
• Фондовых материалов и периодических изданий;
• Инженерно-геодезических изысканиях, выполненных ОАО «Костромадревпроект» в 2007 году;
• Данных экологического мониторинга предприятия 000 «Кроностар»;
• Данных природоохранной документации ООО «Кроностар».
Природные характеристики территории, растительность, животный мир.

Поскольку исследуемая площадка для строительства Цеха смол намечена в промышленной зоне, где условно-коренные ландшафты видоизменены в результате хозяйственной деятельности и не относятся к категории естественных экосистем с определённым видовым соста-
вом растений и животных, были рассмотрены особенности растительного и животного мира сопредельных территорий.
Шарьинский район раскинулся на широкой Восточно-Европейской равнине. Здесь можно наблюдать различные формы рельефа: холмы, низины, речные долины, овраги. По всей территории района расположены залежи строительных материалов: песков, глина, торф, керамзит. Есть минеральные источники. В районе много рек, ручьев, озер, болот и родников. Многие речки начало берут в болотах, они прокладывают свое русло по низинам и впадинам. На территории района 105 озер, одно из них - озеро Калмово - памятник природы. Заповедный фонд района включает 5 болот. Территория района расположена в лесной зоне.
Растительный мир представлен елями, березами, осинами, кустами крушины, рябины, кустиками черники, брусники, клюквы. Разнообразен и животный мир. В глухих местах живут медведь, рысь, куница, белка. Из птиц беркут, ястреб, филин, рябчики и глухари.
Характеристика уровня загрязнения атмосферного воздуха
Сведения по фоновому полю загрязнения в районе расположения предприятия представлены Костромским ЦГМС от 18.12.2006 № 251 за период наблюдения 2001-2005 г. Фоновые концентрации даны с учетом вклада предприятия.
Фоновые концентрации загрязняющих веществ
| КодЗВ
|
Наименование
загрязняющего
вещества
|
Значение фоновых концентраций (мг/м3
) при градациях скорости ветра (м/сек)
|
| 0-2
|
С |
В
|
Ю
|
3
|
| 2902 |
Взвешенные вещества |
0,22 |
0,22 |
0,22 |
0,22 |
0,22 |
| 0330 |
Диоксид серы |
0,025 |
0,025 |
0,025 |
0,025 |
0,025 |
| 0301 |
Диоксид азота |
0,074 |
0,074 |
0,074 |
0,074 |
0,074 |
| 0337 |
Оксид углерода |
2,5 |
2,5 |
2,5 |
2,5 |
2,5 |
| 1325 |
Формальдегид |
0,005 |
0,005 |
0,005 |
0,005 |
0.005 |
Промплощадка предприятия 000 «Кроностар»
- как источник загрязнения атмосферы
Все данные текущего раздела были получены из данных экологического мониторинга предприятия, действующего тома ПДВ и санитарно-эпидемиологических заключений на соответствии санитарному законодательству тома ПДВ, тома единой СЗЗ предприятия ООО
«Кроностар», предоставленных Заказчиком.
Общие сведения о предприятии:
000 «Кроностар» является составной частью АО «Кроно Холдинг» - одной из самой крупной компании в Европе в области производства плит. АО «Кроно Холдинг» включает в себя 9 предприятий в 7 странах Европы. ООО
«Кроностар» - комплекс заводов по производству древесных плит и сопутствующих материалов.
Основным видом деятельности предприятия является:
• Производство неламинированных и ламинированных древесностружечных плит (ДСП);
• Производство неламинированных и ламинированных древесноволокнистых плит средней плотности (МДФ, ХДФ, ЛДФ) и деталей из них;
• Производство древесноволокнистых плит (ДВП);
• На перспективу запланировано расширение производства (цех смол, производство кухонной мебели).
000 «Кроностар» находится в северо-восточном промышленном районе пос. Ветлужский, г. Шарья.
Территория предприятия ограничена:
- с северной стороны - землями Гослесфонда Шарьинского лесхоза;
- с запада - оз. Подборное и пойма р.Ветлуга;
- с востока - свободными землями Шарьинского района;
- с южной стороны - соседними промышленными предприятиями (ТЭЦ-2 и НФС МУП «Водоканалсервис»).
Ближайшие жилые постройки расположены_на расстоянии 700 м от производственных цехов и 350-400 м от границы предприятия согласно экспертному заключению № 7 от 20 апреля 2007 г. санитарно-эпидемиологической экспертизы филиала ФГУЗ «Центр гигиены и санитар-но-эпидемиологии в Костромской области в Мантуровском районе» по проекту нормативов предельно-допустимых выбросов в атмосферу для ООО«Кроностар». На проект ПДВ получено Санитарно-эпидемиологическое заключение № 44.24.05.000Т000004.05.07 от 08 мая 2007 г. на соответствие санитарно-эпидемиологическим правилам.
В соответствии с п.2.17 СанПиН 2.2.1/2.1.1 1200-03 размер СЗЗ лесопромышленного комплекса ООО «Кроностар» устанавливается как единое образование для всех предприятий комплекса, складывающееся из нормативных СЗЗ отдельных производств. Для этого вся площадка предприятия на момент выполнения проекта единой санитарно-защитной зоны была разбита на условные площадки производств, наружными границами которых являются дороги для проезда автотранспорта, обслуживающего эти производства, или внешнее ограждение территории предприятия.
По санитарной классификации СанПиН, размещенные на территории промузла производства имеют разные классы опасности и разные размеры санитарно-защитных зон:
- Производство карбамидо- и меламиноформальдегидных смол - размер СЗЗ 1000м (класс опасности I). На основании материалов, предоставленных ООО «Кроностар», по техно логии производства смолы на стадии выбора земельного участка получено заключение главно го государственного санитарного врача по Костромской области № 19 от 14.01.2004г. о сокра-
щении размера санитарно-защитной зоны для производства смолы до 500 м. Расстояние до
ближайших жилых домов составляет: п. Новый, ул. Сиреневый бульвар, 2 -/705 м коллективные сады - 736 м Согласно новой редакции СанПиН, вступившей в силу с 01.03.08 производство данных смол относится к предприятиям (3-го)класса с нормативной санитарно-защитной зоной в 300 м;
- «Производство ДСП. МДФ и ДВП - размер нормативной СЗЗ - 300 м (класс опас-ности IV) Расстояние до ближайших жилых домов составляет: п. Новый, ул. Сиреневый бульвар, 2 -612 м; коллективные сады - 430 м;
- Стоянка грузового автотранспорта и автозаправочная станция - размер нормативной СЗЗ- 100м (класс опасности IV). Расстояние до коллективных садов составляет 254 м.
- Открытые склады сырья (круглого леса и крупнокусковых отходов нормативной СЗЗ - 50м (класс опасности V). Расстояние до ближайших жилых домов по ул. Труда (д. № 97) составляет 63 м.
- Производство кухонной мебели без отделки (перспектива)
- размер СЗЗ - 50 м (класс опасности V). Расстояние до ближайших домов по ул. Центральной (дом № 5) составляет - 220 м.
При построении единой СЗЗ происходит наложение санитарно-защитных зон различных производств (промплощадок), при этом санзоны, имеющие меньшие размеры, поглощены большими. Внешняя граница единой СЗЗ отведена плавной линией по выступающим точкам отдельных зон, максимально удаленным от внешних границ предприятия. Достаточность ширины принятой санитарно-защитной подтверждается выполненными по согласованным и ут-
вержденным в установленном порядке методам расчетов рассеивания загрязняющих веществ в атмосфере с учетом фонового загрязнения.
В границы единой санитарно-защитной зоны лесопромышленного комплекса ООО «Кроностар» (Санитарно-эпидемиологическое заключение № 44.24.04.000Т000062.11.04 от 24 ноября 2004 г. на соответствие санитарно-эпидемиологическим правилам проекта единой сани-тарно-защитной зоны ООО «Кроностар» на основании заключения санитарно-эпидемиологической экспертизы ГУ ЦГСЭН в г. Шарье и Шарьинском район № 74 от 04.11.2004 г., проекта единой санитарно-защитной ООО «Кроностар») попадают следующие промышленные предприятия:
-С восточной стороны - между территорией ООО «Кроностар» и пос. Новый находится бывший завод КПД и завод керамзитового гравия;
-с юго-восточной стороны, между территорией ООО «Кроностар» и дер. Алешунино, находится автобаза и гаражное хозяйство ДСК;
-с южной стороны - территория ТЭЦ-2 и бывший трест «Стройплощадка».
Так как ожидаемые приземные концентрации ни границе единой СЗЗ с учетом фоновых не превышают ПДК для населенных мест, предлагаемый размер сан. зоны можно считать достаточным. Достаточность размеров СЗЗ должна быть подтверждена инструментальными замерами в расчетных точках при работающем предприятии.
В проекте единой санитарно-защитной зоны приведена программа производственного контроля за загрязнением атмосферного воздуха на границе СЗЗ, программа контроля загрязнения атмосферного воздуха на стационарных постах и в контрольных точках.
В результате выполненных расчетов установлено, что ожидаемый уровень шума в расчетных точках на границе санитарно-защитной зоны промплошадки ООО «Кроностар» и в районе прилегающих жилых домов не превысит допустимых значений.
На границе санитарно-защитной зоны, в местах ее пересечения с автомобильными и пешеходными дорогами, имеются информационные знаки по типу дорожных указательных знаков.
По данным инвентаризации источников выбросов загрязняющих веществ, по состоянию на существующее положение - 2006 год, на промплощадке имеется 98 источников выбросов загрязняющих веществ: из них 86 организованных и 12 неорганизованных.
В результате производственной деятельности предприятия по состоянию на существующее положение в атмосферный воздух выбрасывается 29 загрязняющих веществ и 5 групп суммации, в том числе:
0123-Железа оксид, 0143-Марганец и его соединения, 0301-Азот (IV) оксид (азота диок-сид), 0304-Азот (П) оксид (Азота оксид), 0328- углерод черный (сажа), 0330- сера диоксид, 0333
- сероводород, 0337- углерод оксид, 0415-предельные углеводороды С1
-С5
, 0416-предельные углеводороды С6
-С10
, 0501 - амилены, 0602-бензол, 0616-ксилол (смесь изомеров), 0621-толуол, 0627-этилбензол, ()703-бенз(а)пирен, 1052-метанол, 1071-фенол, 1210-бутилацетат, 1213-этенилацетат, 1325-формальдегид, 2704-бензин нефтяной, 2732-керосин, 2754-углеводороды предельные С12
-С19
, 2902-взвешенные вещества, 2904-мазутная зола электростанций, 2908-пыль неорганическая. 70-20% SiO2
, 2936-пыль древесная, 2978-пыль резинового вулканизатора. Из перечисленных веществ эффектом суммации обладают: 6035-сероводород+формальдегид, 6037-серы диоксид + углерод оксид + фенол + взвешенные вещества, 6038- серы диоксид + фенол, 6043 -
серы диоксид + сероводород, 6046 - углерод оксид + пыль неорганическая : 70-20% SiO2
.
На предприятии имеется пылегазоочистное оборудование. Все установки пылегазоочистки находятся в технически исправном состоянии.
Проект нормативов ПДВ в целом по предприятию ООО «Кроностар» был рассчитан с учетом всех источников, включая перспективное расширение.
Перспектива развития предприятия.
Перспективными планами предприятия предусматривается дальнейшее расширение производственных подразделений. В 2008 году согласно проекту тома ПДВ планировалось введение в эксплуатацию цех смол. Технологические решения по вводу в эксплуатацию данного цеха смол и оценка воздействия выбросов от него были осуществлены в проекте расширения завода ДСП до мощности 450 тыс.м в год, разработанного ООО «Костромалеспроект». Проект прошел экологическую экспертизу (приказ № 298 от 03.04.2006 г.).
В данном проекте на последующих этапах будут более детально рассматриваться источники выбросов загрязняющих веществ и количественные характеристики выбросов. Будут дополнительно просчитаны варианты выбросов загрязняющих веществ с учетом использования базового инжиниринга собственников завода, а также наилучшие решения
в области защиты окружающей среды разработанные специалистами ЗАО «Безо
пасные Технологии».
В проекте ПДВ по цеху смол были приняты следующие данные:
Проектируемый цех смол, предназначен для выпуска карбамидоформальдегидной и ме-ламиноформальдегидной смол для собственного потребления. Карбамидоформальдегадные смолы используются для выпуска древесных плит (ДСП и МДФ), меламиноформальдегидные -для производства декоративной пленки. В качестве основного технологического оборудования в проекте принята комбинированная формальдегидно-смоляная производственная установка модульной конструкции, разработанная фирмой «Монтекатини».
Сырье для производства смол - метанол и карбамид будет доставляться железнодорожным транспортом. Проектная мощность по производству смол -100 тыс.м2
в год.
С вводом в эксплуатацию цеха смол появляется 9 новых источников выбросов. Оборудованием - источником выделения загрязняющих веществ будет являться: Труба выпаривателя абсорбционной колонны (ист. № 73);
• Дыхательная труба резервуара метанола (ист. № 74); Дыхательные трубы резервуаров с формалином (ист. № 75);
• Дыхательные трубы резервуаров со смолой (ист. № 76);
• Автотранспорт, задействованный для завоза материалов (ист. № 77); Аспирация загрузки бункеров склада карбамида (ист. № 78); Аспирация загрузки на склад (ист. № 79);
Аспирация участка разгрузки вагонов (ист. № 80);
Аспирация загрузки бункера склада меламина (ист. № 81). Перечень загрязняющих веществ, выбрасываемых в атмосферу источниками предприятия, их коды, ПДК, класс опасности приведены в таблице 2.1 с учетом перспективы расширения предприятия и вводом цеха смол.
Расчет рассеивания вредных веществ в атмосферном воздухе содержащихся в выбросах предприятия, произведен по методикам, действующим на территории РФ (ОНД-86 и УПРЗА «Эколог». Расчет был выполнен с учетом фона. Сведения по фоновому полю загрязнения в районе расположения предприятия представлены Костромским ЦГМС от 18.12,2006 № 251 за период наблюдения 2001-2005 г.
Выбросы предприятия на существующее положение по расчетным показателям не создают опасного загрязнения атмосферного воздуха прилегающего района и были приняты за предельно-допустимые. В проекте также были предложены рекомендативные мероприятия для еще большего снижения значений формальдегида для промплощадки: жестко контролировать качество привозимых смол, и не использовать в производстве смолу с завышенным содержанием свободного формальдегида. Таким образом, ввод собственного цеха смол с низким содержанием свободного формальдегида в смоле позволит, в общем снизить содержание формальде
гида при прессовке плит.
Предприятием разработан и угвержден со службой Роспотребнадзора график контроля за соблюдением нормативных значений приземных концентраций в точках на границе нормативной санитарно-защитной зоны и на границе жилой застройки. Лабораторный контроль за уровнями загрязнения атмосферного воздуха осуществляется специализированной лабораторией, имеющей аккредитацию в установленном законом порядке.
Таблица 2.1
Параметры
источников
выбросов
предприятия
ООО
«Кроностар»
с
учетом ввода
цеха
смол
в
предварительном
обосновании
| Вещество
|
Использ
.
критерий
|
Значение
критерия
,
мг/м3
|
Класс опасности
|
Суммарный
выброс
вещест
ва
|
| код |
наименование
|
г
/
с
|
т
/
год
|
| 1 |
2
|
3
|
4
|
5
|
6
|
7
|
| 0123 |
Железаоксид |
ПДКс\с |
0,040000 |
3
|
0,0037200 |
0,003570 |
| 0143 |
Марганециегосоединения |
ПДКм/р |
0,010000 |
2
|
0,0008800 |
0,000720 |
| 0301 |
Азот (IV) оксид (азотадиоксид) |
ПДКм/р |
0,200000 |
3
|
33,3293847 |
641,834893 |
| 0304 |
Азот (II) оксид (Азотаоксид) |
ПДКм/р |
0,400000 |
3
|
5,3901872 |
103,138498 |
| 0328 |
углеродчерный (сажа) |
ПДКм/р |
0,150000 |
3
|
1,9723966 |
31,492628 |
| 0330 0333 |
серадиоксид |
ПДКм/р |
0,500000 |
3
|
105,7337206 |
1443,344667 |
| сероводород |
ПДКм/р |
0,008000 |
2
|
0,0003860 |
0,001246 |
| 0337 |
углерод.оксид |
ПДКм/р |
5,000000 |
4
|
339,3496089 |
9821,263963 |
| 0415 |
предельныеуглеводороды С1-С5 |
ОБУВ |
50,000000 |
0
|
2,2902000 |
0,283700 |
| 0416 ______
|
предельныеуглеводороды С6-С10 |
ОБУВ |
30,000000 |
0
|
0,6943000 |
0,082000 |
| амилены |
ПДКм/р |
1,500000 |
4
|
0,0800000 |
0,009800 |
| 0602 |
бензол |
ПДКм/р |
0,300000 |
2
|
0,0688000 |
0,008300 |
| 0616 |
ксилол (смесьизомеров) |
ПДКм/р |
0,200000 |
3
|
0,0070000 |
0,000800 |
| 0621 |
толуол |
ПДКм/р |
0,600000 |
3
|
0,0579000 |
0,006800 |
| 0627 |
этилбензол |
ПДКм/р |
0,020000 |
3
|
0,0018000 |
0,000220 |
| 0703 |
бенз(а)пирен |
ПДКс\с |
0,000001 |
1
|
0,0000182 |
0,000510 |
| 1052 |
Метанол |
ПДКм/р |
1,000000 |
3
|
5,7852812 |
108,304634 |
| 1071 |
фенол |
ПДКм/р |
0,010000 |
2
|
0,0017857 |
0,049932 |
| 1109 1114 |
2-(2-бутокси) этоксиэтанол |
ОБУВ |
1,300000 |
0
|
0,5776000 |
16,743500 |
| Диметиловыйэфир |
ОБУВ |
0,200000 |
0
|
0,4170000 |
12,075000 |
| 1210 |
бутилацетат |
ПДКм/р |
0,100000 |
4
|
0,0327100 |
0,948400 |
| 1213 |
этенилацетат |
ПДКм/р |
0,150000 |
3
|
0,0105100 |
0,304400 |
| 1325 |
формальдегид |
ПДКм/р |
0,035000 |
2
|
2,2116669 |
51,434085 |
| 1532 |
Мочевина (карбамид) |
ПДКс\с |
0,200000 |
4
|
0,0157090 |
0,079170 |
| 2469 |
меламин |
ПДКм/р |
0,020000 |
2
|
0,0005600 |
0,006440 |
| 2704 |
бензиннефтяной |
ПДКм/р |
5,000000 |
4
|
0,0587300 |
0,183444 |
| 2732 |
керосин |
ОБУВ |
1,200000 |
0
|
0,0263593 |
2,484086 |
| 2754 |
углеводородыпредельные С12-С19 |
ПДКм/р |
1,000000 |
4
|
0,0864360 |
0,370651 |
| взвешенныевещества |
ПДКм/р |
0,500000 |
3
|
0,3641190 |
10,521158 |
| 2904 |
мазутнаязолаэлектростанций |
ПДКс\с |
0,002000 |
2
|
0,1432088 |
1,514780 |
| 2908 |
пыльнеорганическая: 70-20%ЗЮ2 |
ПДКм/р |
0,300000 |
3
|
0,0001200 |
0,000080 |
| 2936 |
пыльдревесная |
ОБУВ |
0,500000 |
0
|
32,1454751 |
653,103019 |
| 2978 |
пыльрезиновоговулкани затора |
ОБУВ |
0,100000 |
0
|
0,0226000 |
0,029700 |
| [ Всего
веществ
: 33 530,8801732
|
12899,62479
|
| В
том
числе
твердых
: 9
|
34,6682285
|
696,74483
|
Жидких
/
газообразных
: 24 496,2119447
Группывеществ, обладающихэффектомкомбинированноговредногодействия:
|
12202,87997
|
| 6035 |
(2) 333 1325 |
| 6037 |
(4)330 337 1071 2902 |
| 6038 |
(2) 330 1071 |
| 6043 |
(2) 330 333 |
| 6046 |
(2) 337 2908 |
Организация производственного мониторинга предприятия ООО «Кроностар»
Производственный контроль в области охраны окружающей среды в ООО «Кроностар» включает в себя:
1. Контроль за загрязнением атмосферного воздуха,
2. Контроль за водными ресурсами.
3. Контроль за состоянием почв.
4. Контроль в области обращения с отходами.
Контроль за уровнем загрязнения атмосферного воздуха осуществляется от стационарных источников выбросов загрязняющих веществ, на границе санитарно-защитной зоны и в зоне влияния предприятия, от передвижных источников, контроль используемого сырья и топлива.
Контроль за выбросами загрязняющих веществ от стационарных источников происходит с привлечением сторонней лаборатории Костромского филиала ФГУ «Центр лабораторного анализа и технических измерений по Центральному федеральному округу» г. Костромы на основании договора. Периодичность проведения лабораторных исследований определена в проекте ПДВ сучетом класса опасности загрязняющих веществ и категории источников выбросов, характеризующих их влияние на загрязнение воздуха прилегающих к предприятию территорий. Так, в соответствии с проектом ПДВ, периодичность исследований источников выбросов древесной пыли определена 1 раз в квартал. Продуктов сжигания топлива (диоксида серы, оксидов азота, углекислого газа) - 1 раз в год, выбросов формальдегида и метанола - 1 раз в год и т.д. Специалисты предприятия проанализировали периодичность исследований и приняли решение о внесении в график дополнительных аналитических исследований. Так, источники,
дающие наибольший вклад в выбросы формальдегида, контролируются ежеквартально, 1 раз в квартал проводятся исследования выбросов от сушилок ДСП, МДФ, установок очистки отработанных газов от прессов ДСП увеличено количество исследований по формальдегиду, метанолу от фильтров линий шлифования, прессования, ламинирования и др. Кроме того, учитывается и обязательная периодичность лабораторных, исследований от стационарных источников в соответствии с графиком и проектом ПДВ. Ежеквартально исследуется в среднем 30-32 источника по различным показателям. Затраты предприятия на проведение контроля выбросов от стационарных источников составляют в среднем около 300 тыс. рублей в квартал.
Производственный контроль за состоянием атмосферного воздуха на границе са-нитарно-защитной зоны и в зоне влияния ООО «Кроностар» осуществляется в контрольных точках, определенных проектом единой санитарно-защитной зоны и проектом ПДВ. Определено 8 контрольных точек:
контрольная точка №1 - 40 м от развилки объездной дороги и дороги на весовую. ООО «Кроностар» (на границе санитарно-защитной зоны, в северной части от предприятия);
контрольная точка №2 - развилка железнодорожных путей (на границе санитарно-защитной зоны, в юго-восточной части от предприятия);
контрольная точка №3 - центральная проходная ООО «Кроностар» (на границе санитарно-защитной зоны, в южной части от предприятия);
контрольная точка №4 - 120 метров от дамбы северной части озера Подборное (на границе санитарно-защитной зоны, в западной части от предприятия);
контрольная точка №5 - п. Ветлужский, ул. Труда, 97 (зона влияния, в юго-западной части от предприятия);
контрольная точка №6 - п. Ветлужский, ул. Центральная, 5 (зона влияния, в южной части от предприятия);
• контрольная точка №7 - п. Ветлужский, Сиреневый бульвар, 2 (зона влияния, в восточной части от предприятия);
контрольная точка №8 - коллективные сады (зона влияния, в северозападной части от предприятия).
С 2008 года по согласованию с главным санитарным врачом по г. Шарье и Шарьинскому району некоторые точки перенесены к наиболее социально значимым объектам. Так, точка №2 перенесена к ЦРБ, №6- к школе №7.
Все контрольные точки были обозначены соответствующими информационными знаками.
Периодичность контроля состояния атмосферного воздуха определена в проекте ПДВ, в соответствии с которым лабораторные исследования на содержание формальдегида, пыли древесной, диоксида серы, диоксида азота, метанола и углекислого газа проводятся 1 раз в квартал.
Для осуществления контроля за состоянием атмосферного воздуха в контрольных точках привлечены сторонние лаборатории по договору: лаборатория Костромского филиала ФГУ «Центр лабораторного анализа и технических измерений по Центральному федеральному округу» г, Костромы и лаборатория филиала ФГУЗ «Центр гигиены и эпидемиологии в Костромской области в Мантуровском районе».
Кроме того, в программу и графики внесены дополнения по определению приоритетного загрязняющего вещества формальдегида, а именно: замеры на содержание его в атмосферном воздухе проводятся ежемесячно лабораторией ФГУЗ «Центр гигиены и эпидемиологии в Костромской области в Мантуровском районе».
Таким образом, аналитический производственный контроль за содержанием формальдегида в атмосферном воздухе осуществляется ежемесячно, на содержание метанола, пыли древесной, диоксида серы, диоксида азота, углекислого газа ежеквартально
Финансовые затраты на осуществление производственного контроля за атмосферным воздухом на границе санитарно-защитной зоны и в зоне влияния в среднем составляют 100 тыс. рублей в квартал.
Для осуществления постоянного контроля за загрязнением атмосферного воздуха на границе санитарно-защитной зоны в районе прилегающей жилой застройки по ул. Труда п. Ветлужского установлен и функционирует стационарный пост наблюдения за загрязнением атмосферного воздуха. Он оснащен метеорологическими приборами (датчики температуры, давления, направления и скорости ветра, влажности воздуха), приборами ручного и автоматического отбора проб воздуха. Приборы автоматического отбора позволяют установить программу таким образом, что забор воздуха будет происходить в определенное время. Сейчас, с их помощью мы можем контролировать содержание загрязняющих веществ в дневное, вечернее, ночное время и в ручном режиме в дневное время. Кроме 4-х разовых проб (когда в одну пробирку/поглотитель отбирается воздух только в установленное время, в другое время в другой поглотитель), осуществляется отбор среднесуточной пробы (в одну и ту же пробирку/поглотитель отбирается воздух в течение суток через каждые 4 часа): Отобранные пробы анализируются в воздушной лаборатории предприятия на содержание формальдегида, диоксида серы, диоксида азота и пыли древесной. Таким образом, контроль на содержание загрязняющих веществ в районе расположения поста осуществляется ежесуточно.
Все результаты исследований передаются в соответствующие контролирующие организации. Так, сведения о выбросах от стационарных источников и содержании загрязняющих веществ в атмосферном воздухе на границе санитарно-защитной зоны и в зоне влияния предоставляются в Управление по технологическому и экологическому надзору Ростехнадзора по Костромской области; результаты состояния атмосферного воздуха в контрольных точках и данные с поста наблюдения передаются в Территориальный отдел г. Шарьи Управления Федеральной службы по надзору в сфере защиты прав потребителей и благополучия человека по Костромской области.
Производственный контроль выбросов от передвижных источников осуществляется 1 раз в год от всего автотранспорта предприятия и после каждого ремонта двигателей. Контроль автотранспорта на токсичность и дымность проводит отдел охраны природы г. Шарьи на основании договора и заявки предприятия. После прохождения контроля выдается талон с отметкой о прохождении экологического контроля автотранспорта. На каждую единицу автотранспорта на предприятии оформлена экологическая карта, где фиксируются экологические показатели автотранспорта.
Контроль за сырьем проводится в целях уменьшения степени влияния на атмосферный воздух. Объектами контроля являются поступающие смола и топливо. Анализ смолы осуществляется в центральной заводской лаборатории. Одним из показателей исследований является содержание свободного формальдегида в смоле.
Контроль поступающего топлива происходит на основании протоколов исследований, сертификатов, санитарно-гигиенических заключений на каждую партию топлива, а также в центральной заводской лаборатории проводится анализ топлива на основные показатели, характеризующие качество поступающего мазута.
Разрешительная природоохранная документации
ООО «Кроностар»
В связи с тем, что промплощадка ООО «Кроностар» является источником воздействия на окружающую среду, у данного предприятия имеются разрешительные природоохранные документы в соответствии с действующим законодательством (Приложение №2) в следующем составе:
- санитарно-эпидемиологическое заключение № 44.24.05.000Т000004.05.07 от 08 мая 2007 действительно 5 лет на соответствие проекта предельно-допустимых выбросов государственным санитарно-эпидемиологическим правилам и нормативам, выданное на основании заключения санитарно-эпидемиологической экспертизы проекта нормативов предельно- допустимых выбросов в атмосферу ООО «Кроностар» № 7 от 20.04.07 филиала ФГУЗ «Центр гигиены и эпидемиологии в Костромской области в Мантуровском районе»; предписание ТО Роспотребнадзора в Шарьинском районе № 734 от 08.05.07;
- санитарно-эпидемиологическое заключение № 44.24.05.000Т000006.02.06 от 08 февраля 2006 действительно 5 лет на соответствие проекта предельно-допустимых сбросов государственным санитарно-эпидемиологическим правилам и нормативам, выданное на основании заключения санитарно-эпидемиологической экспертизы проекта нормативов предельно- допустимых сбросов для ООО «Кроностар» № 1 от 10.01.06, дополнение
№ 2 от 08.02.06 филиала ФГУЗ «Центр гигиены и эпидемиологии в Костромской области в Мантуровском районе»;
- санитарно-эпидемиологическое заключение № 44.24.04.000Т000062.11.04 от 24 ноября 2004 действительно 5 лет на соответствие проекта единой санитарно-защитной зоны ООО «Кроностар» государственным санитарно-эпидемиологическим правилам и нормативам, выданное на основании заключения санитарно-эпидемиологической экспертизы проекта единой санитарно-защитной зоны ООО «Кроностар» № 74 от 04.11.04, ГУ ЦГСЭН в г. Шарье и Шарьинского района;
- сертификат № 00009-2005-АЕ-МСW-FINAS удостоверяющий, что организация ООО «Кроностар» соответствует стандарту системы экологического менеджмента ISO14001:2004;
- сертификат № 00001-2005-АНSО-MCW-FINSASудостоверяющий, что организация ООО «Кроностар» соответствует стандарту систем менеджмента здоровья и безопасности OHSAS 18001:1999;
- СЭЗ на ПНООЛР
| 2.6. Социально-экономическая характеристика
|

На территории Шарьинского района расположено 19 сельских поселений, в кото- рых насчитывается 168 населенных пунктов. В состав Шарьинского муниципального района входят следующие поселения:
Берзихинское сельское поселение; Варакинское сельское поселение;Головинское сельское поселение; Заболотское сельское поселение; Зебляковское сельское поселение; Ивановское сельское поселение; Катунинское сельское поселение; Коневское сельское поселение; Кривичское сельское поселение; Майтихинское сельское поселение; Мару-тинское сельское поселение; Матвеевское сельское поселения; Одоевское сельское поселение; Печенкинское сельское поселение; Пищевское сельское поселение; Поляшов-ское сельское поселение; Троицкое сельское поселение; Шангское сельское поселение; Шекшемское сельское поселение.
На 1января 2007 года численность постоянно проживающего населения составляет 11793 чел., в т.ч. женщин - 5336 чел., мужчин - 4403 чел., детей до 18 лет - 2054 чел. Численность населения трудоспособного возраста составляет 6875 человек, или 58,3%. Численность занятых в экономике - 3368 чел.
Наиболее крупные населённые пункты:
Зебляки - 2550 чел.
Шекшема - 1557 чел.
Ивановское - 1538 чел.
Н-Шанга - 1453 чел.
На территории сельских поселений находятся:
20 общеобразовательных школ; • 1 музыкальная школа; • 1 спортивная школа; 7 детских садов; • 1 ПТУ; 3 больницы; 2 врачебные амбулатории; 1 психдиспансер; 12 ФА-Пов; 18 ДК и библиотек; 17 почтовых отделений; 3 лесхоза; 12 колхозов; 1 птицефабрика; 72 магазина; 4 пекарни; 13 кафе и баров; 1 гостиница; 1 турбаза; 8 промышленных предприятий; 32 пилорамы индивидуальных предпринимателей; участки электросетей и РУЭС.
СЕЛЬСКОЕ ХОЗЯЙСТВО
Общая площадь района составляет 119452 га., в т.ч. сельхозугодия - 55465 га. Производством сельскохозяйственной продукции в районе занято 17 организаций: 12 колхозов, птицефабрика «Шарьинская», МУП «Пищёвка», аграрный техникум, 2 производственных кооператива. За 2006 год с/х продукции было произведено на 86906 тыс. руб., хозяйства получили прибыль на сумму 727 тыс. руб.
Сельхозтоваропроизводители получают господдержку в виде компенсаций из областного и федерального бюджетов. Предоставляются субсидии на молоко, племенную работу, приобретение элитных семян, на приобретенную технику.
ЛЕСХОЗЫ
Лесная отрасль является ведущей и определяет экономику района. Большая часть 80,6% площади района занята под лесами. Основные лесозаготовители это ООО «Зебляки
- 2», ООО «Зеблякифорест», ООО «Монолит», ООО «Шарьялес» и индивидуальные пред приниматели. На территории района имеется 44 пилорамы, в т.ч. 32 у индивидуальных предпринимателей, 12 у юридических лиц. По итогам 2006 года крупными и средними предприятиями лесного хозяйства отгружено продукции на 141,7
млн. рублей.
Расчётная лесосека в целом по району составляет 685,1 тыс.мЗ., в том числе по хвойному хозяйству 179,8 тыс.мЗ. (26,2%) и расположена на территории трёх лесхозов:
- ОГУ Шарьинского лесхоза (руководитель Таланов Сергей Геннадьевич, юридический адрес, с. Н-Шанга, ул. Рабочая, 2) на площади 164,5 тыс. га. - 338,1 тыс.мЗ. (в т.ч. 75,6 тыс.мЗ. по хвойному хозяйству или 22,3%); - ОГУ Ивановского лесхоза (руководитель
Суворов Александр Владимирович, юридический адрес: с. Рождественское, ул. Чкалова, 52 на площади 133,7 тыс. га. - 172,9 тыс.мЗ. (в т.ч. 71,0 тыс.мЗ. по хвойному хозяйству или 41,1%); - ОГУ Шарьинского районного лесхоза (руководитель Ершов Александр Павлович, юридический адрес: г. Шарья ул. Чкалова) на площади 56,9 тыс. га. - 174,1 тыс.мЗ. (в т.ч. 33,2 тыс. мЗ. по хвойному хозяйству или 19,1%).
Социальные преимущества населения от предприятия ООО «Кроностар»
Городу Шарья предоставлена возможность стать экономически развитым центром северо-восточной части Костромской области в связи с организацией современного деревообрабатывающего производства.
Генеральному директору ООО «Кроностар» г-ну Лутц Папе было вручено благодарственное письмо от Отделения Пенсионного Фонда РФ по Костромской области - за «социально ответственную позицию страхователя системы обязательного пенсионного страхования, выражающуюся в добросовестном исполнении обязанностей по своевременной уплате страховых взносов и предоставлению индивидуальных сведений на застрахованных лиц в ПФР».
Сумма отчислений всех предприятий, организаций, фирм города и района за прошлый год составила 207 миллионов 86 тысяч рублей, то есть 18.5 % - это очень сущест-венный вклад. К тому же с каждым годом платежи увеличиваются. Нынешняя сумма «прибавки» от предприятия составила 1 миллион 300 тысяч рублей. Взносы поступают своевременно, просроченной задолженности у предприятия не бывает, что является гарантией стабильности выплат.
Санитарная оценка и характеристика заболеваемости населения области.
?????????
Природные ограничения района работ.
Рассмотренный природно-экологический потенциал территории является предпосылкой для реализации намеченной хозяйственной деятельности. При этом собранные при разработке ОВОС сведения о условиях района работ будут учтены при проработке проектных решений на стадиях проектирования Цеха смол.
По абсолютному большинству показателей в окрестностях места, выбранного для строительства Завода на новой производственной площадке, природных ограничений по использованию территории для целевого назначения не выявлено:
1. Строительство намечено в промышленной зоне в урбанизированной среде с нарушенным условно-коренным ландшафтом.
2 Культурно-исторических и природных памятников на сопряжённых с границами землеотвода территориях нет.
4. Проявление опасных эндогенных и экзогенных явлений на участке недр в выбранном районе при проведении комплекса инженерно-технических мероприятиях сводится к допустимому.
5. Физико-механические свойства фунтов и условия их залегания способны вынести антропогенную нагрузку строительного производства.
6. Охраняемые виды растений и животных на данной территории не встречаются. Заходы и залёты охотничьих и редких видов животных на территорию проектируемого Цеха смол могут носить только случайных характер.
Эколого-географическая характеристика района работ позволяет сделать вывод
о возможности использования выбранного земельного участка для строительст
ва нового промышленного объекта при условии, что все виды остаточных влияний на компоненты окружающей среды от строительства
и эксплуатации предприятия
не
будут
превышать экологически допустимые нормы.
3. ЦЕЛЬ И ПОТРЕБНОСТЬ РЕАЛИЗАЦИИ НАМЕЧАЕМОЙ ДЕЯТЕЛЬНОСТИ.
3.1. Основные технологические решения.
Назначение объектов и состав основного производства
Производство формальдегидных смол включает в себя:
- установку производства высококонцентрированного малометанольного формалина;
- отделение синтеза формальдегидных смол;
- отделение стандартизации формальдегидных смол;
- склад метанола, карбамида и меламина;
- расходную емкость щелочи;
- сливную железнодорожную эстакаду;
- тепляк;
- автомобильную наливную эстакаду;
- систему оборотного водоснабжения;
- участок приготовления обессоленной воды;
- участок приготовления питательной воды;
- воздушную компрессорную;
- эстакаду трубопроводов;
- железнодорожные пути;
- операторскую;
- экспресс-лабораторию;
Обоснование основных технологических решений
В соответствии с заданием на проектирование предусматривается производство карбамидо- и меламиноформальдегидных смол суммарной мощностью 160 000 т/год.
Производство формальдегидных смол основано на использовании в качестве исходного компонента высококонцентрированного малометанольного формалина, производимого на установке, входящей в состав проектируемого производства. Это позволило улучшить экологическую характеристику производства, за счет исключения стадии отгонки надсмольных вод при синтезе смол и включения в состав установки аппарата каталитического обезвреживания газовых выбросов. А так же снизить энергоемкость производства, используя пар, получаемый на установке формалина при снятии тепла конверсии метанола, для нагрева реакторов смол и отопления здания.
Для исключения вредных выбросов при приеме и хранении сырья приняты следующие меры:
- хранение продуктов в емкостях осуществляется под разряжением, создаваемым вентилятором. Для этого воздушки (дыхательные линии) соединены в одну систему, при соединяемую к вентилятору. Выбрасываемый воздух проходит эффективную очистку на скруббере.
Выбросы от реакторов синтеза смол, расходной емкости щелочи и стандартизато-ров смолы, также проходят очистку раствором щелочи в скруббере. Все технологическое оборудование принято герметичного исполнения.
По охране водного бассейна и почв приняты следующие мероприятия:
- все ёмкости, предназначенные для хранения жидкого сырья, установлены в водонепроницаемые железобетонные поддоны, рассчитанные в случае аварии на приём количества жидкости одной ёмкости. Предусмотрен 20% запас объёма.
- сброс проливов из поддонов емкостного оборудования, железнодорожными и автоцистернами у сливных эстакад возможен только в производственный процесс. Для этого образовавшиеся проливы насосом перекачиваются в одну из емкостей промывных вод и далее используются в производстве смол.
- промывные воды от мойки технологического оборудования направляются в одну из ёмкостей промывных вод. Оттуда промывные воды направляются в производство смол.
- для возможности освобождения ёмкостей с жидкими продуктами при аварии предусмотрена резервная емкость наибольшего объема.
- охлаждение оборудования производится оборотной водой
- твёрдые отходы: мешки, катализаторы, бытовые отходы, твёрдые отходы при чистке оборудования направляются на утилизацию как вторсырье, термическое обезвреживание и полигоны бытовых и промышленных отходов.
Для производства смол приняты реакторы большого объема V= 45м , 45м, 25м , что позволяет значительно увеличить производительность труда, применить высокоэффективные средства механизации погрузочно-разгрузочных работ и сократить площадь производственных помещений.
Для сокращения объема строительно-монтажных работ и стоимости строительства, а так же эксплуатационных затрат за счет сокращения путей перемещения сырья и готовой продукции производство размещено в одном производственном корпусе. Склады метанола и карбамидо-формальдегидного концентрата располагаются на открытой площад-
ке.
Мощность производства
Суммарная мощность производства формальдегидных смол160 000 т/год товарных в т.ч.:
- КФС - 140 000 т/год;
- МФ -20 000 т/год;
Мощность установки производства высококонцентрированного малометанольного формалин 120 000 т/год (по 37% формалину).
Режим работы производства 350 дней в году, 8400 часов.
Характеристика выпускаемой продукции, сырья, вспомогательных материалов, энергетических средств, твердых и жидких отходов, стоков и
выбросов в атмосферу
Таблица
3.1.
Характеристика готовой продукции
| Наименование продукции
|
Наименование показателя
|
Величина показателя
|
| 1 |
2
|
3
|
| Технический формалин |
Внешний вид |
Бесцветная прозрачная жидкость. При хранении допускается образование мути или белого осадка, растворимого при температуре не выше 40 °С |
| Массовая доля формальдегида, % |
до 50 |
| Массовая доля метанола, % |
0,3 |
| Массовая доля кислот в пересчете на муравьиную кислоту, %, не более |
0,02 |
| Массовая доля железа, %, не более |
0,0001 |
| Массовая доля остатка после прокаливания, %, не более |
0,008 |
Карбамидофор-мальдегидная
смола «КФ-МТ-15»
|
внешний вид |
Однородная вязкая жидкость от белого до светло-желтого цвета |
| вязкость |
50...80секпоВЗ-4 |
| плотность |
1270...1276кг/м3
|
| рН |
7.5... 8,5 |
| массовая доля нелетучих, % |
64,0... 68,0 |
массовая доля свободного формальдегида, %,
не более
|
0,15 |
| время желатинизации с 1% тв.NH4
СL при 100°С |
50...70 сек. |
| смешиваемость с водой |
1:2...1:10 |
Смола меламино-
формальдегидная
(пропиточная
МФС)
|
внешний вид |
Прозрачная или с молочным оттенком жидкость |
| массовая доля нелетучих веществ, % |
54,0... 58,0 |
| водородный показатель |
7,5... 8,5 |
| время желатинизации, с |
60... 90 |
| условная вязкость, с |
13...17 |
| смешиваемость с водой |
1:1,5:3,5 |
Таблица
3.2.
Характеристика сырья и вспомогательных материалов
| Наименование
|
ГОСТ или ТУ, сорт
|
Показатели по стандарту, обязательные для проверки
|
Регламентируемые показатели
|
| 1
|
2
|
3
|
4
|
| Внешний вид |
Бесцветная прозрачная жидкость |
| Массовая доля воды не более, |
0,08 |
| Метанол |
ГОСТ 2222-78
Марка А, Б
высший и первый
сорт
|
%.
Массовая доля сухого остатка
, %.
Массовая доля аммиака не
более, %.
|
0,002 0,00001 |
| Массовая доля свободных кислот не более, %. |
0,0015 |
| Плотность, г/см3
|
0,791... 0,792 |
| Внешний вид |
Твердое кристаллическое вещество белого цвета. |
| Массовая доля свободного |
0,01 |
| Карбамид |
ГОСТ |
аммиака, % , не более |
| 2081-92 |
Массовая доля биурета, % |
1,4 |
| Массовая доля воды по методу высушивания, % не более |
0,3 |
| Внешний вид |
Бесцветная прозрачная |
| ] Едкий натр |
ГОСТ 2263-79 |
жидкость |
| (раствор) |
Марка РР |
Массовая доля гидроксида натрия, %, не более |
42...45 |
| Внешний вид |
Гранулы желто-зеленого цвета, формы полого цилиндра |
| Катализатор |
Насыпная плотность, г/см3
|
1,0 |
| железомо-либденовый |
SUED-СНЕМIЕ |
Размер гранул: диаметр и высота, мм |
4±0,5 |
| Механическая прочность, МПа (на раздавливание) |
1,7 |
| Внешний вид |
Блок |
| Катализатор |
Оксид алюминия (глинозем), |
99-99,99 |
| платино-пал- |
RСО 6000 |
% |
1 |
| ладиевый |
Металлы платиновой группы, %, менее |
Наимено
вание
|
ГОСТ или ТУ,
сорт
|
Показатели по стандарту, обязательные для проверки
|
Регламентируемые показатели
|
| Внешний вид |
Белый мелкокристаллический порошок без посторонних включений |
| Массовая доля меламина, %, не более |
99,8 |
| Меламин |
ГОСТ 7579-76 |
Массовая доля воды, %, не более |
0,1 |
| Массовая доля железа, %, не более |
0,0005 |
| рН 2 %-ого водного раствора |
7,5-8,5 |
Таблица 3.3. Характеристика энергетических средств
| Наимен
-
вание
|
Техническая характеристика
|
Источник
|
Регламентируемые показатели
|
Единица
измере
ния
|
Расход
на технологиче
ские
нужды
|
Примечание
|
| в
час
|
в
год
|
| 1
|
2
|
3
|
4
|
5
|
6
|
7
|
8
|
| Электроэнергия |
380V, 220V,
50Гц
|
Сетипредприятия |
380V, 220V, 50 Гц |
кВт |
700 |
5,6 -106
|
| Пар (выработка) |
1,0 МПа |
Сепараторпара втехнологическомпроцессе |
1,0 МПа 180°С |
тонна |
6,0 |
51000 |
Водахо-зяй-
ственно-питьеваяи оборотная
|
0,6МПа |
Сетипредприятия |
- |
м3
|
19 |
164250 |
| Сжатый воздух |
0,8 МПа |
Компрессорная станция |
0,8 МПа |
нм3
|
1000 |
- |
Таблица
3.4.
Характеристика сточных вод
| Наименова
ние стока,
поз. аппарата, где образуется сток
|
Состав загрязнения
(вес
%)
|
Перио
дичность
сброса
|
Количество стоков
|
Куда
направляется
сброс
|
Способ очистки,
предусмотренный
технологической
схемой
|
| м3/сут
|
м3
/час
|
| средн.
|
макс
|
| 1
|
2
|
3
|
4
|
5
|
6 |
7 |
8
|
| Вода из D-801, D-802 |
Солесодер-жание до 1000 мг/л |
Постоянно |
34,8 |
1,45 |
1,45 |
В канализацию предприятия |
| Вода надсмольная |
Перио-дич. при изготовлении смол |
1,29 |
0,054 |
1,29 |
В сборную емкость надсмоль-ных вод |
Полное использование в технологическом процессе производства смол |
| Загрязненные ливневые стоки из поддонов склада метанола и фенола |
Следы метанола и фенола |
Периодически |
1,7 |
1,7 |
1,7 |
В сборную емкость надсмоль-ных вод |
Полное использование в технологическом процессе производства смол |
| Продувка системы оборотного водоснабжения |
Содержащие сухого остатка не более 1800
мг/л.
|
Постоянно |
21,55 |
0,898 |
0,898 |
В канализацию предприятия |
Установка обессоливания
во-ды(деаэратор)
|
Содержащие сухого остатка не более 1500
мг/л.
|
Постоянно |
24 |
1 |
1 |
В канализацию предприятия |
Описание технологических схем производства формальдегидных смол
Производство формальдегидных смол из формалина, меламина и карбамида включает в себя следующие основные участки:
1. Получение высококонцентрированного малометанольного формалина.
2. Синтез смол на его основе.
3. Прием и хранение сырья.
Участки объединены в единую технологическую схему, что позволило организовать экологически безопасный процесс без загрязненных стоков, с минимизацией загрязненных выбросов в атмосферу, сокращением потребления водных ресурсов за счет использования проливов из поддонов склада метанола, а так же экономии энергетических ресурсов, используя для нагрева реакторов синтеза смол пар, получаемый на установке формалина при снятии тепла реакции конверсии метанола.
Описаниепроизводствавысококонцентрированногомалометанольного
формалина
Получение высококонцентрированного малометанольного формалина основано на методе каталитического окисления метанола в формальдегид с последующей абсорбцией формальдегида водой.
Для окисления метанола принят высокоэффективный и обладающий наибольшей селективностью железомолибденовый катализатор. Предусмотрена трубчатая конструкция реактора окисления метанола, которая позволяет производить наиболее эффективный съем тепла реакции, исключая образование зон перегрева в реакторе. В качестве теплоносителя используется расплав нитрит-нитратных солей. При этом предусмотрена утилизация тепла реакции за счет получения водяного пара давлением 1,0 МПа. Пар образуется в змеевиках, погруженных в жидкий теплоноситель. В качестве абсорбента формальдегида при производстве формалина предусмотрена обессоленная вода.
Описание технологической схемы.
Технологический процесс производства формалина включает следующие
технологические стадии:
- получение спиртогазовой смеси; окисление метанола;
охлаждение реактора окисления метанола; абсорбция формальдегида с получением формалина;
- охлаждение абгазов;
- каталитическое обезвреживание газовых выбросов.
Все оборудование производства формалина сгруппировано в единую установку, которая располагается в производственном корпусе.
Для обеспечения работы установки предусмотрено оборудование для приготовления и хранения обессоленной воды, система водооборота, водоподготовки и установка получения азота.
Получение спиртогазовой смеси
Атмосферный воздух через фильтр поступает на всас турбогазодувки, после чего
смешивается с рецикловыми абсорбционными газами колонн, далее данная смесь сжимается до давления 1,3 бар многоступенчатой газодувкой. Абгазовоздушная смесь с кислородом направляется в рекуператор, в котором нагревается до 170... 185°С, и далее подается на стадию смешения с метанолом.
Метанол подается со склада насосом в испаритель, где нагревается и испаряется за счет конденсации насыщенного водяного пара, получаемого при снятии тепла реакции конверсии метанола. Пары метанола направляются на смешение с газовоздушной смесью. Постоянство расхода метанола автоматически поддерживается и постоянно контролируется.
Окисление метанола
Окисление метанола производится в реакторе трубчатой конструкции на железо-молибденовом катализаторе при температуре до 350°С. Тепло реакции отводится без давления с помощью расплава солей, который поддерживается в движении с помощью перемешивающей системы. Разогрев расплава солей в период пуска производится с помощью тепло-электронагревателей. Технология синтеза формальдегида на высокоэффективном и обладающим наибольшей селективностью железомолибденовом оксидном катализаторе происходит по химической реакции окисления метанола в формальдегид. Целевая конверсия метанола СН3
ОН в формальдегид НСНО находится в пределах от 89 до 91 %. Реакция генерирует 38 ккал/моль тепла по следующей стехиометрии (из расчета общей конверсии 97% и целевой конверсии 90%):
СНзОН +
О2
= НСНО + Н2
О + СО + СНзОН
+ СНзО СНз 1,0000 +0,5095 = 0,8672 + 0,5783 + 0,0411 + 0,0100 + 0,0129
В представленной схеме реакции помимо основных, так же учитывается образование побочных продуктов: монооксида углерода СО и диметилового эфира СНЗ
ОСНЗ
.
Метанол окисляется до формальдегида и воды по основной реакции и до окиси уг- лерода и воды по побочной реакции.
Реакционные газы из реактора поступают в рекуператор, в котором охлаждаются до 150... 180°С за счет теплообмена со спиртогазовой смесью.
Охлаждение реактора окисления метанола
В межтрубное пространство реактора засыпается нитрит-нитратная смесь, во время пуска плавление солей производится с помощью ТЭНов и пара, подаваемого в змеевики.
Во время реакции происходит постоянной перемешивание расплава для улучшения теплопередачи. Тепло реакции снимается кипящей деаэрированной водой в змеевиках. Паро-жидкостная смесь под давлением поступает в сепаратор, где пар отделяется и поступает в коллектор. Пар получаемый на установке, идет на испарение метанола, нагрев реакторов смол и на систему нагрева термомасла для системы сушки плит МОР, тепло неиспользованного пара снимается в системе водооборота с помощью градирен, а конденсат полностью возвращается в систему.
Абсорбция формальдегида с получением формалина
Абсорбция формальдегида производится в абсорбционных колоннах, оснащенных специальными высокоэффективными контактными устройствами.
Реакционные газы из рекуператора поступают в нижнюю часть абсорбционной колонны. Противотоком к реакционным газам в колонне стекает сконденсированный водный раствор формальдегида и дистиллят насосом из кубовой части колонны. В результате тепло- и массообмена между противоточными потоками газа и жидкости происходит охлаждение газа, абсорбция (поглощение) из него формальдегида и конденсация из него водяных паров. Образующийся в результате массообмена формалин стекает в кубовую часть колонны.
Абгазы из колонны поступают в кубовую часть абсорбера. Противотоком к абгазам в верхнюю часть колонны подается обессоленная вода с помощью дозировочных насосов. Для охлаждения абгазов с целью конденсации содержащихся в них водяных паров, предусмотрены два охлаждающих контура.
На выходе из колонны абгазы в основном возвращаются в рецикл на всас газодув-ки, а частично направляются на стадию каталитического обезвреживания газовых выбросов в дожигатель.
Охлаждение абсорбера
Для охлаждения технологических потоков в теплообменниках подается оборотная вода, которая постоянно охлаждается в испарительной градирне.
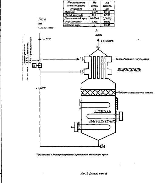
Каталитическое обезвреживание газовых выбросов
Каталитическое обезвреживание газовых выбросов осуществляется в дожигателе при температуре 400...450°С.
Абгазы из абсорбционной колонны поступают в трубное пространство рекуперативного теплообменника, где нагреваются до температуры 250...300оС очищенными газами, выходящими из дожигателя, и подаются в пространство под слой катализатора.
На катализаторе происходит окисление окиси углерода, метанола и формальдегида до диоксида углерода и воды. Очищенные газы с температурой 400...450°С в межтрубном пространстве рекуперативного теплообменника охлаждаются поступающими на очистку газами до температуры 180... 250°С.
Разогрев катализатора дожигателя в период пуска производится с помощью электронагревателей.
Замена катализатора в дожигателе производится в рабочем помещении без демонтажа аппарата один раз в 3 года.
Синтезформальдегидныхсмол
Карбамидоформальдегидные смолы.
Карбамидоформальдегидные смолы (КФС) - олигомерные продукты поликонденсации карбамида с формальдегидом, способные превращаться в пространственные (сшитые) полимеры.
Процесс образования КФС сложен, поскольку в системе протекает одновременно несколько параллельных реакций присоединения, конденсации и гидролиза по различным механизмам, с разными константами скорости и равновесия и непрерывно видоизменяются функциональные группы и связи. КФС представляют собой смеси низкомолекулярных продуктов поликонденсации с молекулярной массой не более 700, которые почти не поддаются разделению.
В общем виде современный технологический процесс производства клеящих кар-бамидоформальдегидных смол состоит из следующих основных операций: приготовление реакционной смеси; получения метилольных производных карбамида в слабощелочной или нейтральной среде; конденсации смолообразных продуктов в кислой среде; повышения концентрации смолы под вакуумом; доконденсация с дополнительной порцией карбамида; охлаждение и стабилизация готовой смолы. Меламиноформальдегидные смолы
Меламиноформальдегидные смолы (МФС) - олигомерные продукты поликонден-сации меламина с формальдегидом, которые отверждаются при нагревании и под давлением, образуя прозрачные продукты с высокой стойкостью к истиранию, водостойкостью и стойкостью к органическим растворителям, разбавленным кислотам и щелочам. Эти свойства делают меламиновые смолы особенно ценными для получения текстурных пленок на бумажной основе, предназначенных для отделки древесных плит и фанеры.
Исследование реакции конденсации меламина с формальдегидом показывает, что свойства клеящих составов зависят от мольных соотношений меламина, формальдегида, рН среды, температуры, продолжительности поликонденсации.
Пропиточные меламиноформальдегидные смолы получают периодическим способом, который включает в себя следующие стадии: подготовку и загрузку сырья в реактор; конденсацию; вакуум-сушку (если требуется по регламенту предприятия); охлаждение. После окончания основного синтеза и охлаждения до 35 - 40°С в смолу вводят технологические добавки и готовая смола сливается в емкость хранения.
Благодаря принятым решениям по механизации и автоматизации процесса загрузки компонентов, отсутствие излишка воды при использовании высококонцентрированного формалина в качестве исходного сырья, а также улучшение условий теплообмена, обеспеченных конструкцией реактора, значительно сокращается цикл синтеза смол и увеличивается коэффициент использования объема реактора.
Описание технологической схемы.
В соответствии с техническим заданием предусматривается производство фор-мальдегидных смол следующего ассортимента:
• КФ-МТ- 140 000 т/год;
• МФС - 20 000 т/год;
Производство карбамидоформальдегидной смолы
Синтез карбамидоформальдегидной смолы производится в реакторах объемом 45м3
.
Процесс производства смолы высоко механизирован и автоматизирован. Управление ведется с центрального пульта, установленного в операторской.
Необходимое количество карбамида подается в ректоры со склада хранения. На складе карбамид хранится в бункере, из которого с помощью системы конвейеров подается в бункеры над реакторами. Необходимое количество карбамида отмеряется весовым устройством бункеров и шнековыми податчиками загружается в реакторы.
Меламин поступает в реактор из бункера, оснащенного фильтром. Подача меламина осуществляется шнековым податчиком.
Формалин, КФК, вода и дистиллят загружаются в реакторы насосами из емкостей. Количество подаваемых компонентов регулируется с помощью тензовесов реакторов.
Необходимое количество щелочи и муравьиной кислоты подается из мерников, оснащенных собственными тензометрическими устройствами.
Для твердых добавок над реакторами предусмотрены бункеры.
Синтез смол ведется в соответствии с регламентами, действующими на предприятии. Для обеспечения качественных технологических условий синтеза смол к реакторам подведен пар, оборотная вода и подключена вакуумная система.
Вакуумная система представлена холодильниками, вакуумным насосом и сборниками дистиллята. Дистиллят в дальнейшем может использоваться как при синтезе смолы, так и для узла абсорбции на установке получения формалина.
Все аварийные выбросы с реакторов направляются в подземную емкость. В случае получения некондиционной продукции насосами через фильтры грубой очистки смола сливается в подземную емкость.
Охлажденная смола из реакторов через фильтры грубой и тонкой очистки насосами перекачивается в отделение стандартизации. При необходимости проводится дополнительное охлаждение смолы оборотной водой в проточных теплообменниках, установленных на линиях выгрузки смолы из реакторов.
Производство меламиноформалъдегидной смолы
Синтез меламиноформальдегидной смолы производится в реакторе объемом 25м3
.
Меламин поступает в реактор из бункера, оснащенного фильтром. Подача меламина осуществляется шнековым податчиком.
Для подачи твердых добавок предусмотрен бункер, оснащенный фильтром и шнековым податчиком.
Формалин, модификатор, вода подаются насосами из емкостей хранения непосредственно в реактор.
Для приготовления добавок предусмотрена емкость с мешалкой и мерник.
Синтез смол ведется в соответствии с регламентами, действующими на предприятии. Для обеспечения качественных технологических условий синтеза смол к реакторам подведено горячее масло и оборотная вода.
Все аварийные выбросы с реакторов направляются в аварийную емкость.
Охлажденная смола из реактора через фильтры грубой и тонкой очистки насосом перекачивается в отделение стандартизации. При необходимости проводится дополнительное охлаждение смолы оборотной водой в проточном теплообменнике, установленном на линии выгрузки смолы из реактора.
Приемихранениесырья.
Железнодорожным транспортом на производство формальдегидных смол поступает метанол, карбамид и щелочь, меламин поступает автотранспортом.
Приемихранениеметанола
Технология приемки и хранения метанола включает следующие технологические стадии:
слив метанола из железнодорожных цистерн; хранение метанола на складе; подача метанола в производство;
Слив метанола из железнодорожных цистерн
Метанол поступает на склад в специализированных метанольных железнодорожных цистернах емкостью до 83 м3
с герметичным верхним сливом.
Для слива метанола из железнодорожных цистерн предусмотрена односторонняя сливная эстакада. Эстакада оборудована мостиками для возможности доступа оператора к штуцерам на крыше цистерны, а также ручной лебедкой для перемещения гибких шлангов.
Сливная эстакада выполнена из сборных железобетонных конструкций. Эстакада позволяет вести слив из одной цистерны. Эстакада предназначена только для слива метанола и находится на территории склада метанола в ограждении. Для слива неисправных цистерн используется этот же сливной стояк. Гибкие рукава (шланги) имеют специальные приспособления для присоединения к штуцерам цистерны и трубопроводам из не искрящихся материалов. Железнодорожные пути установлены на водонепроницаемый железобетонный поддон, предназначенный для сбора проливов и атмосферных осадков. Вода скапливается в трапе, откуда при помощи переносного насоса перекачивается в емкость. Уклон пола поддона принят 0,005.
На время слива цистерна подсоединяется к уравнительной (дыхательной) линии, связывающей ее с емкостью V=200 м3
хранения метанола. В соответствии с приложением 1 ВУП СНЭ-87 для слива четырехосных цистерн установлен срок 4 часа. Суммарный запас метанола 3000м3
. Скорость движения метанола в трубе 0,8 м/сек., что заведомо ниже безопасной скорости истечения.
В соответствии с таблицей 1 СНиП 2.11.03-93 склад хранения метанола относится к категории IIIВ.
Подача метанола в производство
Подача метанола на установку формалина производится по трубопроводу
центробежным насосом. Для обеспечения бесперебойной подачи метанола установлен резервный насос.
Для автоматической стабилизации дозирования и учета количества метанола на линии нагнетания подачи его в производство формалина на установке предусмотрен расходомер с выходом слаботочной (4...20 мА) линии связи системы автоматизации к устройству регулирования подачи метанола дозировочным насосом.
Прием и хранение карбамида
Карбамид будет разгружаться из вагонов под собственным весом в подземный хоппер с механической конвейерной системой. Карбамид будет храниться навалом в закрытом ангаре. Емкость хранилища 4000 тонн, вмешательство человека не требуется, транспортная система работает автоматически, склад полностью закрыт. Эмиссия пыли не наблюдается.
Прием и хранение меламина
Меламин хранится в 1000 кг мешках в отдельном ангаре. Заполнение хоппера меламина (у реактора) происходит пневматическим конвейером после опустошения мешков вручную над хоппером транспорта. Пылевая эмиссия контролируется местным отсосом над хоппером реактора.
Все емкости формалина теплоизолированы и подогреваются, чтобы избежать отложения параформа из-за остывания продукта. Все емкости снабжены мешалками для равномерного распределения тепла в емкости. Клей, смола, формалин и другие емкости отделены друг от друга непроницаемыми поддонами, чтобы избежать загрязнения фунтовых вод органическими компонентами, в случае протечки емкостей или оборудования. Если дождевая вода оказалась загрязнена в бассейне ее можно сбросить в 100 кубовый подземный резервуар для последующего использования в процессе абсорбции. Все емкости смолы оборудованы мешалками для гомогенизации продукта. Вдобавок все емкости теплоизолированы и оборудованы внешними пластинчатыми теплообменниками для возможности точного контроля температуры продукта.
Системаоборотноговодоснабжения
С целью сокращения потребления свежей воды для охлаждения технологического оборудования предусматривается локальная одноконтурная система оборотного водоснабжения.
Оборотное водоснабжение разделено на две части и состоит из секционных градирен. Насосы и резервуары воды расположены в отапливаемом здании, градирни на металлоконструкции, расположенной над зданием.
4 Промышленная безопасность и противопожарные
мероприятия
Промышленнаясанитарияиохранатруда
В производстве применяются вещества, которые относятся к следующим классам опасности:
- метанол - 3 класс; формальдегид - 2 класс;
- едкий натр - 2 класс; карбамид - 4 класс; серная кислота - 2 класс;
- диэтиленгликоль - 3 класс; меламин - 2 класс; муравьиная кислота - 2 класс;
- этиленгликоль - 3 класс.
Для защиты персонала от влияния вредных условий труда в проекте предусмотрены следующие мероприятия:
1. Оборудование, имеющее характеристики шума, превышающего нормативные значения (газодувка) расположено в специальном звукоизолированном помещении. Управление работой оборудования дистанционное вне этого помещения;
2. Для исключения контакта персонала с химическими веществами процесс проводится в герметичном оборудовании;
3. Для метанола, едкого натра и формальдегида применена арматура, класс герметичности которой "А" по ГОСТ 9544-93;
4. При заполнении автоцистерн готовой продукцией, вытесняемая газовая смесь по дыхательному трубопроводу поступает в расходную емкость;
5. Все работники обеспечиваются рабочей одеждой. Все работники обеспечиваются зимней одеждой;
6. Отделка помещений операторской предусматривает окраску стен матовой краской светлых тонов, подвесной потолок со встроенными светильниками, пол - ламинат, установка кондиционера;
7. Все работники обеспечены бытовыми помещениями согласно нормам для категории 3б:
8. Все работники обеспечены объектами социально-бытового назначения в соответствии с действующими нормами и правилами;
9. Безопасные условия труда обеспечиваются принятыми проектными решениями и поддерживаются на требуемом уровне выполнением организационно-технических мероприятий;
10. Система общеобменной вентиляции и местные отсосы от оборудования, выделяющего вредные вещества. Так же предусмотрена аварийная вентиляция, которая включается по сигналу от газосигнализаторов;
11. Система водопровода и канализации;
12. Работники обеспечены спецпитанием, раковинами для промывания рук и глаз, аварийными душами;
13. Извещение людей о пожаре;
14 Автоматическая пожарная сигнализация;
15. Заземление оборудования и трубопроводов.
Несмотря на принятые мероприятия в проекте, контакт рабочих с вредными веществами не может быть полностью исключен, поэтому проектом предусматриваются льготы для работающих в производстве - дополнительный оплачиваемый отпуск 12 рабочих дней.
Таблица
4.1.
Допустимость труда женщин, периодичность
медосмотров, льготы, предоставляемые рабочим
в связи с вредными условиями труда
| Таблица
4.2.
Средства индивидуальной защиты работающих
|
| №\№ |
Наименование производственных помещений и наружных установок |
Допустимость труда женщин |
Периодичность медосмотров |
Льготы |
| Продолжительность рабочего дня |
Бесплатное питание |
| 1 |
2 |
3 |
4 |
5 |
6 |
| 1 |
В производственном корпусе и на складе |
да |
1 раз в год |
8 часов |
да |
| Противогаз |
| (ма| |
рка) |
Кисло- |
| №/№ |
Наименование профессий и |
Фильт |
Шлан- |
Респира- |
родные изоли- |
Спецодежда |
Спец. обувь |
Примечание |
| должностей |
рую-щий |
говый |
торы |
рующие приборы |
| 1 |
2 |
3 |
4 |
5 |
6 |
7 |
8 |
9 |
| 1 |
Рабочий установки формалина, синтеза смол. склада и сливона-ливных эстакад |
Марка
А
|
РПГ-
67
|
Перчатки резиновые, комбинезон хлопчатобумажный, рукавицы комбинированные, фартук брезентовый. Куртка хлопчатобумажная на утепляющей подкладке, брюки хлопчатобумажные на утепляющей подкладке. |
Ботинки кожаные на латунных гвоздях. Валенки |
Содержание помещений, оборудования и трубопроводов
Все оборудование, трубопроводы, арматура, здания и сооружения подлежат систематическому осмотру и ремонту в соответствии с инструкциями и графиками, разработанными на предприятии и утвержденными главным инженером.
Испытания оборудования, трубопроводов и арматуры должно производиться в соответствии с действующими нормами по графику, утвержденному главным инженером.
Меры по предотвращению постороннего вмешательства и
противодействие террористическим актам
Проектируемое производство располагается на охраняемой территории с контрольно-пропускным пунктом, оборудованным необходимыми техническими средствами.
С целью предотвращения постороннего вмешательства на складе метанола предусмотрено ограждение, а также охранная сигнализация.
Управление процессом осуществляется с пульта управления, который размещен в помещении операторской, доступ посторонних людей в операторскую запрещен.
Обслуживающий персонал должен обладать знаниями, позволяющими принимать правильные решения при нарушении нормальной работы, что должно быть отражено в рабочих инструкциях.
Производство оснащено АСУТП и автоматической системой ПАЗ на базе микропроцессорной техники.
 Таблица
4.3.
Токсикологические характеристики веществ
| Код вещества |
Наименование вещества |
ПДКв воздухе рабочей
зоны,
мг/м3
|
ПДК в атмосферном воздухе населённых мест, мг/м |
Класс |
| Максимальная разовая |
Среднесуточная |
опасности |
Характер воздействия на человека |
формации |
| 1052 |
Спирт метиловый (метанол) |
5 |
1 |
0.5 |
3 |
Сильный нервно-сосудистый яд. При приеме внутрь вызывает слепоту и смерть. Смертельная доза 30 см3
. Тяжелое отравление, сопровождающееся слепотой - 5... 10 см3
. Вдыхание паров вызывает расстройство нервной системы. Раздражение слизистых оболочек глаз, кишечного тракта. Метанол вызывает отравление при всасывании через поры кожи (при проливах и намокании одежды). Обладает кумулятивным эффектом. |
«Общие санитарно-гигиенические требования к воздуху рабочей зоны», ГОСТ 12.1.005-88 |
| 1325 |
Формальдегид |
0.5 |
0.035 |
0.003 |
2 |
Характерное раздражение слизистых оболочек глаз и верхних дыхательных путей. Иногда вызывает заболевание ногтей. Канцерогенен. |
ГОСТ 1625-89 |
| 0150 |
Едкий натр |
0.5 (по аэрозолю) |
0.01 (ОБУВ) |
2 |
Действует на ткани прижигающим образом при попадании растворов
или пыли на кожу, в особенности на слизистые, образуется легкий
струп. Растворы действуют тем сильнее, чем выше их концентрация и
температура.
|
«Перечень и коды веществ, загрязняющих атмосферный воздух», НИИ охраны атмосферного воздуха, Фирма «Интеграл»,
Санкт-
Петерб\рг
2005 г.
|
| 337 |
Оксид углерода |
20 |
5 |
3 |
4(2)
,3(1)
|
Способен оказывать непосредственное токсическое действие на организм, нарушая тканевое дыхание и уменьшая потребление тканями кислорода. Больше всего при отравлении страдает центральная нервная система. Лёгкие отравления протекают без потерь сознания или с кратковременным обмороком, могут сопровождаться сонливостью, тошнотой, иногда рвотой. При тяжёлых отравлениях потеря сознания длится более двух часов, развиваются судороги, коматозное состояние. |
1. «Общие санитарно-гигиенические требования к воздуху рабочей зоны», ГОСТ 12.1.005-88 |
Код вещества
|
Наименование вещества
|
ПДК в
воздухе
рабочей
зоны,
мг/м
|
ПДК в атмосферном воздухе населённых мест, мг/м3
|
Класс опасности
|
Характер воздействия на человека
|
Источник информации
|
| Максималь- Среднесу-ная разовая точная
|
| 1532 |
Карбамид |
10(1)
|
0.2 |
4
|
Не обладает выраженными токсическими свойствами |
2.«Перечень и коды веществ, загрязняющих атмосферный воздух», НИИ охраны атмосферного воздуха, Фирма «Интеграл»,
Санкт-Петербург 2005 г.
|
| 0322 |
Серная кислота |
1.0 (по аэрозолю) |
0.300 |
0.100 |
2
|
Серная кислота чрезвычайно агрессивное вещество, поражает дыхательные пути, кожу, слизистые оболочки, вызывает затруднение дыхания, кашель, нередко
— ларингит, трахеит, бронхит и т. д.
|
| 1864 |
Триэтанол-амин |
0,040ш
(ОБУВ) |
-
|
-
|
Мало токсичен. Действие паров может вызывать сонливость, депрессию. |
| 1023 |
Диэтиленг-ликоль |
10(1)
|
0,2 |
3 |
При попадании в организм вызывает острое отравление, действует на почки и печень, не вызывает опасности острых ингаляционных отравлений |
| 2469 |
Меламин (Сз
N6
Н6
) |
0.5 (1)
|
0,020 |
0,010 |
2 |
При остром отравлении наблюдается адинамия, снижение рефлекторной возбудимости, усиленное потовыделение, кровотечение из носа, затем атаксия конечностей. |
| 1537 |
Метановая кислота (муравьиная) |
1.0 |
0.2 |
0.05 |
2 |
Муравьиная кислота легко проникает через жировой слой кожи, промывание поражённого участка раствором соды необходимо произвести немедленно. Муравьиная кислота при попадании даже небольшого её количества на кожу причиняет очень сильную боль, поражённый участок сначала белеет, как бы покрываясь инеем, потом становится похожим на воск, вокруг него появляется красная кайма. Через некоторое время боль спадает. Поражённые ткани превращаются в корку толщиной до нескольких миллиметров, заживление наступает лишь через несколько недель. Пары даже от нескольких разлитых капель муравьиной кислоты могут вызвать сильное раздражение глаз и органов дыхания.
|
| 1078
|
Этиленгли-коль |
5(1)
|
1,000 (ОБУВ) |
3 |
Ядовит, при попадании в организм через рот вызывает острое отравление, действует на почки, нервную систему. |
Таблица 4.4.
Основные физико-химические пожаровзрывоопасные характеристики веществ, применяемых для производства фор
малин
а и фенол
оформальдегидных
смол
_______________________
_______________________________________________ __
| Наименование |
Агрегатное состояние при н.у. |
Плотность,
кг/м3
|
Группа горю чести |
Температура, °С |
Пределы воспламенения |
Раствори
мость
в воде,% в
|
Огнету шитель ные средства |
Категория и группа взрыво- |
| № |
кипения |
вспышки |
Самовоспламенения |
нижний |
верхний |
по ГОСТ Р
51330.11-99 и
ГОСТ Р
51330.05-99
|
Примечание |
| 1
|
2
|
3
|
4
|
5 _6_ _
|
7 |
8
|
9
|
10
|
11
|
12
|
13
|
14
|
| 1 |
Формальдегид (оксоме-тан, мета-наль, муравьиный альдегид)
СН2
0; молекулярная масса 30.03
|
Горючий газ |
1,34 |
ГГ |
-19.5 |
- |
430.0 |
7.00 % об. |
73.00 % об. |
Раство-им |
вода |
IIB-Т2 |
теплота сгорания 570,78 кДж'моль |
| 2 |
Едкий натр ИаОН; молекулярная масса 39,97 |
Водный раствор
до 42%
|
1460 |
не горюч |
- |
- |
- |
- |
хорошая (до 42%)
|
-
|
- |
| 3 |
Карбамид СН4
OH2
; молекулярная масса: 60.05 |
Твёрдое кристаллическое не горючее вещество |
1335 |
Не горюч |
182,0 |
- |
растворим |
- |
| 4 |
Серная кислота, Н2
S04
;
молекулярная масса: 98,08
|
Бесцветная маслянистая жидкость без запаха |
1834 |
не горючая пожароопасная |
330 |
- |
- |
- |
- |
Растворима |
| № |
Наименование |
Агрегатное состояние при н.у. |
Плотность, кг/м3
|
Группа горю чести |
Температура, °С |
Пределы воспламенения |
Раствори
мость
в воде, % в
|
Огнету шитель ные средства |
Категория и группа взрывоопасной смеси по ГОСТ Р 51330.11 99 и ГОСТ Р 51330.05-99 |
Примечание |
| кипения
|
вспышки
|
Самовоспламенения |
нижний |
верхний
|
| 1
|
2
|
3
|
4
|
5 |
6
|
7 |
8
|
9
|
10
|
11
|
12
|
13
|
14
|
| 5 |
Метанол (метиловый спирт, СН3
ОН; молекулярная масса: 32,04 |
Жидкость |
792 |
лвж |
65.9 |
6.0 |
6.98 % об. |
34.7 % об. |
неограниченно растворим |
| 6 |
Триэтанол-амин,
(НОСН2
СН2
)3
N;молекулярная масса 149,20
|
Бесцветная вязкая жидкость |
1124,2 |
тг |
360,28 |
179,44 |
-
|
очень хорошо растворим |
| 7 |
Оксид углерода (моноокись углерода) СО; молекулярная масса 28.01 |
Бесцветный газ |
удельный вес:
1.25
|
гг |
- 192.0 |
605.0 |
12.50 % об. |
80% об. |
Растворим |
вода |
теплота сгорания 283.00 кДж/моль; максимальное давление взрыва 730 кПа |
| 8 |
Диэтиленгли-коль; молекулярная масса 106,12 |
жидкость |
1116 |
гж |
-
|
124 |
343 |
112 |
172 |
растворим |
Водой, водяным паром, пеной |
| 9 |
Катализатор железномо-либденовый |
проволока
из невж.
стали
|
-
|
нгтв |
-
|
-
|
-
|
-
|
Нерастворим |
-
|
-
|
-
|
| 10 |
Катализатор
платиново-
палладиевый
|
гранулы |
насыпной вес:
1200
|
нгтв |
-
|
-
|
-
|
-
|
-
|
Не растворим |
-
|
-
|
-
|
| 11 |
Обессоленная вода |
жидкость |
1000 |
нгж |
100 |
-
|
-
|
-
|
-
|
-
|
-
|
-
|
№ |
Наименование |
Агрегатное |
Группа горю чести |
Температура, °С |
Пределы воспламенения |
Раствори
мость
в воде, % в
|
Огнету шитель ные средства |
Категория и
группа взрыво
опасной смеси
по ГОСТ Р
51330.11-99 и
ГОСТ Р
51330.05-99
|
| состояние при н.у. |
Плотность,
кг/м3
|
кипения
|
вспышки |
Самовоспламенения |
нижний |
верхний |
Примечание |
| 1
|
2
|
3
|
4
|
5 |
6
|
7 |
8
|
9
|
10
|
11
|
12
|
13
|
14
|
| 12 |
Формалин |
жидкость |
1100 |
ГЖ |
-
|
64..,85 |
-
|
-
|
-
|
Растворим |
-
|
-
|
-
|
| 13 |
Меламин
(С3
Н3
N6
; молекулярная масса 126,13
|
Мелкокристаллический порошок |
1573 |
гтв |
-
|
-
|
569
|
-
|
-
|
Растворим |
Распыленная вода, пена, при объемном тушении-паром, углекислым газом. |
-
|
-
|
| 14 |
Муравьиная кислота СН2
02
; молекулярная масса 46,03 |
Бесцветная прозрачная жидкость с резким запахом |
1220 |
лвж |
100,6 |
60 |
600 |
18% об. |
58% об. |
Растворима |
Вода в виде компактных или распыленных струй |
теплота сгорания - 210,6 кДж/моль |
| 15 |
Этиленгли-коль С2
Н6
02
; молекулярная масса 62,1 |
Бесцветная жидкость |
1116 |
ГЖ |
197 |
111 |
410 |
3,8 % об |
6,4 % об |
растворим |
Распыленной водой, пеной |
-
|
Теплота сгорания 1179,5 кДж'моль |
Проектируемый объект - производство карбамидоформальдегидных и меламино-формальдегидных смол из малометанольного высококонцентрированного формалина в соответствии с Законом РФ «О промышленной безопасности опасных производственных объектов» от 21.07.97 №116-ФЗ относится к категории опасных производственных объектов, так как в технологическом процессе обращаются опасные вещества (горючие и токсичные вещества). Кроме того, на объекте используется технологическое оборудование, работающее под давлением более 0.07 МПа.
Количество опасных веществ, идентифицируемых как токсичные вещества, пре-вышает пороговое значение, указанное для этих групп в №116-ФЗ.
По уровню пожарной опасности технологический процесс производства синтетических смол относится к процессам, в которых образуются пожароопасные вещества в количествах меньших порогового значения, указанного в ГОСТР12.3.047-98.
Особенностями технологического процесса с точки зрения промышленной безопасности является:
- наличие опасных веществ -токсичных и горючих (в том числе, легковоспламе няющихся жидкостей).
Основные опасные факторы создаваемого производства:
- опасность отравления метанолом при его употреблении вместо этилового спирта;
- возможность токсического воздействия при аварийных проливах, возможность пожара при аварийных проливах;
- возможность взрыва паров ЛВЖ внутри оборудования при грубых нарушениях норм ведения процесса,
- способность обращающихся продуктов накапливать статическое электричество, что в свою очередь может привести к взрыву;
- наличие на производстве высоких температур.
Исходя из этого, предусмотрены меры, направленные на исключение аварийных ситуаций и снижение тяжести их последствий.
Эксплуатация химически опасных производственных объектов может производиться только при наличии лицензии, выданной федеральным органом исполнительной власти или субъекта РФ, осуществляющей лицензирование в соответствии с ФЗ о лицензировании отдельных видов деятельности № 128- ФЗ от 08 августа 2001 г.
5. Инженерное обеспечение.
• Хоз-питьевое и производственное водоснабжение
Горячее водоснабжение для хозяйственно-бытовых нужд обеспечивается подогревом воды электронагревателем.
Отведение стоков от санитарных приборов производится самотеком в сеть хоз-бытовой канализации. Внутренняя сеть бытовой канализации проектируется из труб чугунных канализационных по ГОСТ 6942-98. В помещении теплопункта устанавливается трап для удаления случайных и аварийных вод (подключается к дождевой канализации). Сточные воды от аварийного душа и мытья химической посуды в экспресс лаборатории собираются в накопительной емкости и используються в технологическом процессе.
• Отопление.
Отопление помещений решено с помощью нагревательных приборов. В производственном корпусе предусмотрены две независимые системы отопления, для цеха и для административной части. В производственном помещении запроектирована однотрубная система с попутным движением теплоносителя, в качестве нагревательных приборов приняты регистры из гладких труб. В административной части запроектирована однотрубная система отопления с попутным движением теплоносителя, в качестве на-гревательных приборов приняты конвекторы РСВ-4
• Вентиляция производственных помещений.
Предусмотрена приточно-вытяжная вентиляция с механическим побуждением. Раздельные системы приточной вентиляции предусмотрены для следующих помещений: производственное помещение; помещение газодувки; административная часть; санузлы Вытяжка осуществляется равномерно из верхней зоны. Из мест выделения вредных веществ, предусмотрены местные отсосы.
• Автоматизация отопительно-вентиляцнонных систем
Схемами автоматизации предусматривается:
- защита калориферов от замораживания;
- включение резервного вентилятора при остановке рабочего;
- централизованное отключение всех вентсистем при пожаре.
• Теплоснабжение.
Источником теплоснабжения служит выделяющееся от продуктов сгорания тепло, которое будет использоваться для нагревания воды на нужды предприятия. В этом заключается один из экономически эффективных аспектов предложенной технологии. Теплоноситель - вода с параметрами 95° /70°С.
• Электроснабжение
Электроснабжение электроприемников Iкатегории электроснабжения производства фенолоформальдегидных смол осуществляется от двух независимых взаиморезер-вирующих источников питания двумя кабельными линиями 0,4кВ через устройство автоматического ввода резерва (АВР). Электроснабжение электроприемников IIкатегории электроснабжения производства формальдегидных смол осуществляется от двух независимых взаиморезервирующих источников питания двумя кабельными линиями 0,4кВ. Переключение осуществляется посредством перекидного рубильника. Напряжение питающей электросети ~ 380 /220В с глухозаземленной нейтралью.
Силовое электрооборудование
Основными потребителями электроэнергии напряжением 380/220В являются асинхронные электродвигатели технологических аппаратов, насосов, вентиляторов и технологические электронагреватели. Электродвигатели и электронагреватели поставляются комплектно с технологическим оборудованием. Управление электроприемниками выполняется на релейной технике. Предусмотрена защита силовой сети от коротких замыканий и перегрузок автоматическими выключателями, установленными в распределительных щитах. Во взрывоопасных зонах применено электрооборудование с соответствующей степенью защиты. Взрывозащищенное электрооборудование импортной поставки должно Иметь разрешение Ростехнадзора на применение во взрывоопасных зонах. Электрическое освещение
Электрическое освещение выполняется, в основном, светильниками с люминис-центными лампами. Питание ламп освещения принято при напряжении ~380,~220В. Предусмотрена защита осветительной сети от коротких замыканий и перегрузок автоматическими выключателями, установленными в щитах освещения. Во взрывоопасных зонах применены светильники с соответствующей степенью защиты. Управление освещением осуществляется местными выключателями.
Наружные установки, кроме местного управления, имеют дистанционное управление из операторской.
Молниезащите подлежат: склад метанола и фенола, сливная ж\д эстакада метанола, автомобильная наливная эстакада, система водооборота, производственный корпус. Защита зданий от прямых ударов молнии осуществляется наложенной на кровлю молни-еприемной сеткой и металлическими фермами. В качестве токоотводов используются металлические колонны здания, соединяющие металлические фермы и железобетонный фундамент, используемый в качестве заземлителя. Все элементы молниезащиты соединены сварным способом. Защита от вторичных проявлений молний выполняется путем присоединения металлических корпусов оборудования, трубопроводов, строительных конструкций к контуру заземления. Оборудование и трубопроводы, в которых возможно накопление зарядов статического электричества, подлежат заземлению. На складе метанола и фенола в качестве молниеприемников используются стержневые молниетводы. В качестве токоотводов используется металлическая полоса 40x4 мм соединенная с естественным заземлителем - арматурой железобетонного фундамента. Все элементы молниезащиты соединены сварным способом.
6. Преимущества принятой технологии.
Процесс производства смол по принятой технологии освоен в Российской Федерации в п. Пиндуши, Медвежьегорского района, Республика Карелия на предприятии «Карелия ДСП», а также в других странах, где американской фирмой САL Роlymers,Inc, являющейся одним из авторов процесса, ежегодно вводится в эксплуатацию 1 -2 завода по производству смол.
Способ получения высококонцентрированного, практически безметанольного формалина, нестабилизированного или стабилизированного карбамидом, с использованием газожидкостного процесса, соответствует последним мировым достижениям в области метало-оксидного катализа и межфазной абсорбции и передовым достижениям мировой практики в области производства смол.
Основными преимуществами предлагаемой технологии являются:
• Полное отсутствие сточных вод;
• Снижение энергетических затрат в 5-6 раз по сравнению с традиционными технологиями;
• Целевая конверсия метанола до 96%;
• Концентрация формальдегида до 50%;
• Улучшение качества смол;
• Товарный выход не менее 2,35 г формалина на 1 т метанола;
• Безотходность производства;
• Минимальное количество вредных выбросов в атмосферу. 6.1. Альтернативные варианты достижения целей планируемой деятельности.
Одним из принципов проведения ОВОС является принцип альтернативности, согласно которому необходилю рассмотрение иных вариантов достижения планируемого хозяйственной результата.
Строительство цеха на действующей производственной площадке в первую очередь обусловлен необходимостью экономического развития региона.
Альтернативность рассмотрения принципиально другого места размещения производственного объекта в условиях урбанизированных территорий представляется затруднительной. Это связано, прежде всего, с тем, что, с одной стороны, для достижения экономической целесообразности необходимо наличия инженерных сетей, подъездных путей и прочей инфраструктуры в районе проектируемого строительства. А с другой сто-роны, - наблюдается лимитированность свободных территорий, пригодных под строительство по экономическим критериям.
С точки зрения удовлетворения заявленных потребностей производства в природных ресурсах и использования существующей инфраструктуры (подъездные пути, инженерные коммуникации, трудовые ресурсы смежного завода), выбранную под строительство завода территорию можно считать приемлемой для размещения
цеха по производству смол.
Для оценки экологического обоснования выбора способа достижения намеченной хозяйственной деятельности рассмотрена альтернативная технология получения фор-мальдегидных смол
из 37% формалина, который до недавнего времени являлся ведущим сырьем на рынке производства синтетических смол.
Сравнительные характеристики технических, экологических показателей в технологическом процессе производства синтетических смол по принятой и альтернативной технологиям приведены в таблице 6.1
Таблица 3.1. Сравнительные характеристики технических, экологических показателей в техно-
_____________________ логическ
ом процессе произ
водства.
_____________________
Рассмотренные варианты:
Вариант 1 - производство смол из метанола Вариант II- производство смол из 37% формалина
| Вредные выбросы в атмосферу |
| Расходные показатели на |
1 |
5
|
| Качество смолы, содержа ние метанола, % |
| № п/п |
Варианты |
тонну товарной смолы |
Загрязнённые стоки м3
1 тонну |
на 1 тонну смолы |
Продолжительность синтеза час |
точный выход смолы реактора тонн |
| Электроэнергия кВт/ч |
Вода м3
|
Пар потребление, Гкал |
Дар произв., Гкал |
Формальдегид, г |
Метанол, г |
| С
|
О
|
| 1 |
I |
32
|
0,062
|
- |
03
|
- |
1,036
|
9,24
|
5 |
5,2
|
0,3 |
| II |
51 |
- |
0,25 |
- |
232 |
12,45 |
111,0 |
8 |
2,2 |
3 |
Важным ограничивающим технологическим фактором производства смол из 37% формалина являются высокие показатели содержания эмиссии формальдегида и метанола в атмосферный воздух. Указанные в таблице данные приведены без учета очистки для каждого из вариантов. Потребность в очистке отходящих газов несопоставима. В варианте I- все выбросы отправляются на каталитическое сжигание, где они нейтрализуются. Выбросы при производстве смол в первом варианте в 12 раз меньше, чем при рассматриваемом традиционном втором варианте, используемом в России.
К недостаткам производства смол из 37% формалина относятся:
Большое количество загрязняющих стоков - 232 м3
на 1 тонну товарной смолы. Этот вид отхода производства подлежит уничтожению путем их сжигания в специальных печах;
Большое количество вредных выбросов в атмосферу, в том числе на 1 тонну товарной смолы: формальдегида - 12,45 г, метанола - 111,0 г;
Повышенный расход электроэнергии (на 19 кВт в час);
Повышенный расход пара ( на 0,25 Гкал на тонну).
Сниженный выход готовой продукции на 3 тонны в сутки с 1 м3
реактора;
Повышенное содержание метанола в товарной смоле до 3%, что не позволяет получить ДСП и фанеру класса Е-1.
В противовес перечисленным недостаткам альтернативной технологии производства синтетических смол следует отметить достоинства принятой проектом техно
логии производства смол по новой технологии:
1)
Отсутствие загрязнённых стоков;
2)
Ничтожно малое количество вредных выбросов в атмосферу;
3)
Дополнительное преимущество - производство пара, который используется как в технологии, так и для обогрева зданий.
4)
Применение смолы в производстве ДСП позволяет получить продукцию класса Е-1,
в которой содержание формальдегида в ДСП не будет превышать, 8 мг на 100 г плиты, что позволит применять ДСП для изготовления мебели европейского качества. ,
Имеются существенные преимущества принятой технологии производства формалина на железо-молибденовом-оксидном катализаторе перед альтернативным вариантом производства формалина на серебряном катализаторе (табл. 6.2):
• Применён железо-молибденовый-оксидный катализатор со сроком службы не менее трёх лет;
• Более низкая температура реакции, что делает процесс значительнее безопасней;
• Товарный выход формалина из одной тонны метанола значительно выше, что указывает на высокую степень целевой конверсии (93% против 73%);
• Максимальная концентрация 52% (против 37%), что позволяет вести процесс произ-водства смол без сточных вод;
• Содержание метанола не более 0,3% (против 8%), что позволяет получать смолы более высокого качества;
• Каталити
ческое дожигание, что обеспечивает очистку газовых выбросов до 99% (против очистки газов за счёт сжигания в факеле природного газа со степенью очистки не более 60%).
Табл. 6.2. Сравнительный анализ параметров производства формалина.
| № п/п |
Параметры производства |
Традиционная технология |
Предлагаемая технология |
| 1 |
Вид исходного сырья |
Метаноло-водная смесь |
Метанол |
| 2 |
Вид/срок службы катализатора синтеза |
серебряный (до 6 месяцев) |
Железо-молибденовый оксидный (до 3 лет) |
| 3 |
Температура реакции |
650 °С |
340°С |
| 4 |
Товарный выход формалина из одной тонны метанола (коэффициент) |
1,84 |
2,35 |
| 5 |
Максимальная концентрация формальдегида в товарном продукте |
37,0 ±0,5% |
До 52% |
| 6 |
Содержание метанола в товарном продукте |
8% |
0,3% |
| 7 |
Способ обезвреживания газовых выбросов |
Сжигание в факеле природного газа |
Каталитическое обезвреживание |
Во время синтеза смол из 37% формалина, который содержит 8% метанола, 5% метанола попадает в надсмольную воду, а 3% остается в смоле. При производстве 37 тыс. тонн смолы из 37% формалина образуется 9100 тонн надсмольных вод, содержащих 190 тонн метанола и 200 тонн формальдегида. В предлагаемой технологии этого не происходит, т.к. нет надсмольной воды. 52% формалин содержит 0,3% метанола, который остаётся в смоле.
Недостатком известного на мировом рынке способа производства смол из покупных форконцентратов является сравнительно низкий максимальный процент концентрации (42%) производимых на сегодняшний день форконцентратов, что не позволяет гарантировать соответствующее качество смол и безотходность технологии.
Уязвимым звеном технологии с использованием в качестве сырья 37% формалина является процесс хранения формалина в зимний период, когда необходимо предусмотреть постоянный подогрев паром ёмкостей с формалином. При этом часть формалина улетучивается, ещё большая часть полимеризуется с образованием пароформа и в виде пароформа осаждается в ёмкостях.
Сравнительный анализ альтернативных вариантов получения конечного и промежуточного продуктов производства синтетических смол позволяет сделать вывод о том, что принятая технология производства смол из метанола является экономически обоснованной и экологически безопасной и соответствует последним достижениям науки и производства. При этой технологии не образуются никакие побочные продукты и не
прореагировавшие вещества, все компоненты полностью переходят в состав промежуточных и конечных продуктов (синтетические смолы). В свою очередь образовавшаяся в производственном процессе вода полностью используется в дальнейшем производстве промежуточных и конечных продуктов.
Таким образом, принятый вариант предпроектных материалов строитель ства цеха смол на действующей производственной площадке является экологиче
ски/ безопасным и экономически обоснованным.
6.2 Экологическое_обоснование выбора способа производства и технологии.
Экологическая безопасность технологии производства была оценена с трёх позиций:
• технологической уникальности производства;
• ресурсоёмкости (размером изымаемого вещества и энергии);
• отходности (определяемой, как количество материального потока техногенных веществ в природу от процесса строительства и производства).
Технологическая уникальность предлагаемого производства заключается в следующем:
1. количество изымаемого вещества и энергии для предложенной технологии минимально по сравнению с рассмотренными альтернативными вариантами;
2. отходность предложенной технологии незначительна: газовые выбросы минимизированы и подвергаются обезвреживанию на специализированных установках очистки, технологические стоки отсутствуют.
3. соблюдение нормативов технологии и сырья;
4. соблюдение нормативов использования территории;
5. соблюдение нормативов использования ресурсов;
6. соблюдение нормативов отходности;
7. соблюдение санитарно-гигиенических нормативов.
Таблица 6.3.
Оценочные параметры обоснования выбора технологии, принятой при строительстве «Цеха смол» на действующей производственной площадке.
| п/п
|
Оценочные параметры
|
Обоснование
|
Условие обеспечения
|
| •
|
Технологическая уникальность производства
|
1. Автоматизация производства;
2.Трехуровневая автоматизированная система контроля;
3.Товарный выход не менее 2,35 т формалина на 1 т метанола;
|
Обеспечивается соблюдением нормативов и регламента производственного процесса
|
| •
|
Ресурсоёмкость
|
• Позволяет использовать полученное тепло в производственном процессе для нужд теплоснабжения; |
| • Количество изымаемого вещества и энергии для предложенной технологии минимально по сравнению с рассмотренными альтернативными вариантами; |
| •
|
Отходность
|
Количество поступаемых отходов производства минимально, по сравнению с рассмотренными альтернативными вариантами, в том числе - полное отсутствие сточных вод и минимальное количество вредных выбросов в атмосферу; |
7. ХАРАКТЕРИСТИКА НАМЕЧАЕМОЙ ДЕЯТЕЛЬНОСТИ КАК ИСТОЧНИКА ВОЗДЕЙСТВИЙ НА ОКРУЖАЮЩУЮ ПРИРОДНУЮ СРЕДУ.
7.1. Потребность в изъятии природных ресурсов.
Изъятие природных ресурсов при реализации проекта строительства Цеха смол на действующей производственной площадке будет происходить в рамках заявленных потребностей:
• Строительные работы будут производиться в границах землеотвода;
• Инженерное обеспечение проектируемого объекта {водоснабжение, водоотведение, теплоснабжение, энергоснабжение)
будет осуществляться по техническим условиям территориальных служб и техническим условиям служб ООО «Кроностар»;
• Выбросы в атмосферу загрязняющих веществ от предприятия будут осуществляться в рамках утвержденных лимитов согласно проекту
пдв.
• Нормативы предельно допустимых выбросов и лимиты образования и размещения отходов для Цеха смол будут регламентированы в то ме ПНООЛР и согласованы с контролирующими государственными природоохранными службами.
7.2 Данные об аналоге производства КФК-85 на промплощадке ОАО «Щекиноазот».
ОБЩИЕ СВЕДЕНИЯ О ПРЕДПРИЯТИИ ОАО «Щекиноазот»
Открытое акционерное общество «Щекиноазот», расположено в Щекинском районе, п. Первомайский Тульской области.
Предприятие предназначено для выпуска капролактама - 51000 т/год, метанола -360000 т/год, КФК - 80000 т/год, аммиака - 80000 т/год, уротропина - 4500 т/год, товаров бытовой химии - 1600 т/год. Побочными видами продукции являются: сульфат аммония - 157000 т/год, углекислота жидкая - 41000 т/год, сухой лед 4500 т/год, плав соды.
Граница санитарно-защитной зоны ОАО «Щекиноазот» в соответствии с СанПин 2.2.1/2.1.1.1200-03 «Санитарно-защитные зоны и санитарная классификация предприятий, сооружений и иных объектов» составляет 1000 м. Жилой застройки в пределах 1000 м СЗЗ нет, расстояние до охраняемой заповедной зоны - музея-усадьба «Ясная поляна» составляет 3 км в северо-западном направлении.
ОАО «Щекиноазот» расположено на одной промплощадке, в 2-х км от г.Щекино, в северо-восточном направлении. Площадь производственной промплощадки составляет 256,29 га. С северной стороны к предприятию примыкает Щекинскоое ОАО «Химволокно», с северо-запада расположены деревообрабатывающий завод, автобаза, ДРСУ, СМУ, железнодорожный узел. На территории предприятия расположена Первомайская ТЭЦ ОАО «ПТГК».
Режим работы предприятия - непрерывный. Один раз в год предусмотрена остановка основных производств на проведение плановых ремонтных работ (7 суток).
Ситуационный план расположения промплощадки предприятия с нанесением нормативной СЗЗ и точек проведения мониторинга по почве и шуму приведен в настоящем разделе (рис. 1.).
Характеристика производства КФК на промплощадке ОАО «Щекиноазот»
Договор на проектирование и строительство производства карбамидоформальде-гидного концентрата (КФК-85 с содержанием 60% формальдегида и 25% карбамида, а также 40% безметанольного формалина) мощностью 80000 т/год (по 37% формалину) на промплощадке ОАО «Щекиноазот» был заключен в 2005 году. Ввод в эксплуатацию был произведен в мае 2006 года. Производство является составной частью цеха уротропина. Установка производства КФК-85 и формалина, сдвоенного потока, Drualtrain процесс, предназначена для производства товарного КФК-85 и безметанольного формалина методом каталитического окисления метанола в формальдегид с последующей абсорбцией формальдегида раствором карбамида для производства КФК-85 или водой для получения формалина. Установка производства КФК примыкает к корпусу № 450. Восточнее установки на расстоянии 15.00 м расположен склад КФК и формалина об.450 Б. Склад КФК и формалина представляет собой группу резервуаров 8 х 200м3
. По периметру предусмотрено устройство бетонного обвалования высотой 0.70 м, что обеспечивает прием аварийного розлива резервуара.
Севернее проектируемой группы резервуаров на расстоянии 30.00 м располагается существующий склад метанола в отдельном обваловании об.451 В. Расходный склад КФК и формалина расположен на месте бывшего склада формалина. Склад карбамида с механизированным узлом разгрузки железнодорожных вагонов-хопперов и узел приготовления раствора карбамида расположены в корпусе № 452. Отгрузка готовой продукции потребителям осуществляется с наливной эстакады, расположенной севернее корпуса № 452. На участке имеются инженерные коммуникации, железнодорожная ветка и автодороги. Сброс ливневых стоков с дорог и площадок осуществляется в ливневую канализацию. Сброс ливневых стоков из поддонов склада КФК и формалина и наливной эстакады возможен в ливневую канализацию только после проведения анализа. Если по показаниям анализа слив невозможен, вода направляется в печь сжигания производственных стоков цеха уротропина. Штаты производства КФК обеспечиваются бытовыми помещениями действующего цеха уротропина. Хозяйственно-бытовые стоки поступают в одноименную действующую канализацию. Загрязненные производственные стоки отсутствуют.
 |
С целью уменьшения выброса загрязняющих веществ в атмосферу в технологическом процессе предусмотрены эффективные мероприятия по обезвреживанию выбросов загрязняющих веществ (ЗВ). Абсорбционные газы с установки производства КФК проходят высокоэффективную очистку в аппарате каталитического дожига, имеющего эффективность обезвреживания 98 % см рис. 3.

Сдувки паров дифенильной смеси из конденсатора паров масла проходят очистку на угольных фильтрах - абсорбенте, имеющих степень очистки 99 % см. рис. 4.

Рис4 Угольный фильтр
Выброс паров ДФС из конденсатора возможен только при нестабильной работе установки. Поскольку межтрубное пространство конденсатора находится под давлением азотной «подушки», то в установившемся режиме (без флуктуации давления) проскок паров ДФС не наблюдается. При пусках и остановках в трубном пространстве конденсатора возможны пульсации давления, которые приводят к «проскоку» паров ДФС. Таким
образом, попадание паров ДФС в атмосферу возможно только путем молекулярной диффузии через поток азота, которая при нормальных условиях составляет величину порядка 10-6
м2
/с. Для предотвращения загрязнения ОС установлен угольный фильтр, но проникновение паров ДФС в атмосферу ничтожно мало и проведение подтверждающих замеров возможно только путем проведением анализов образца угля методом хромато-массспектрометрии.
Воздушки емкостей хранения КФК и формалина объединены в коллектор для обеспечения перетока газовой фазы из одной емкости в другую и к воздушному фильтру. При загрузке авто- и железнодорожных цистерн газовые полости цистерн и емкостей хранения КФК и формалина соединены перепускной линией. Таким образом, вытесняемая из цистерны газовая фаза поступает в высвобождаемое пространство емкостей хранения. Избыточная газовая фаза, поступившая к воздушному фильтру с потоком свежего воздуха засасывается газодувками и поступает в газовый цикл установки КФК.
Проектируемым источникам выбросов загрязняющих веществ производства КФК присвоены следующие номера и характеристики:
- источник 0801 - дожигатель (организованный источник, высота 9 м, диаметр устья 0,6 м, объем газовоздушной смеси на выходе 3,05 м3
/с, температура смеси 180-250 °С, выброс веществ согласно материальному балансу см. таблицу 2);
- источник 0802 - угольный фильтр (организованный источник, высота 4 м, диаметр устья 0,04 м, объем газовоздушной смеси на выходе 0,00028 мЗ/с, температура смеси 50 ОС, выброс веществ согласно материальному балансу см. таблицу 1).
| загрязняющих веществ полученных при пуско-наладке включить в проект ПДВ данных полученных расчетным путем и по ним осуществлять расчет платы за загрязнение окружающей среды- |
Согласно вышеприведенному отчету за работой установки за последние 2-квартала 2007 года по всем веществам превышений ПДВ нет, а по многим веществам параметры значительно ниже заложенных в проект ПДВ. Все проектные данные подтверждаются эксплуатацией. Общее количество выбросов добавляемых в выбросы предприятия незначительно. Выбросы метанола
по всему предприятию составляют - 18,085634 т/г, из них от установки КФК - 1,1202 т/г (6%), ангидрида сернистого
- 5,5107773 т/год, от КФК - 0,244 (10%), формальдегида
- 1,516583 т/г, от КФК - 0,95191 (62%), Всего по предприятию углерод оксида 624,961 т/г, из них от установки КФК 28,12 т/г (4,7%).
В 2007 году для предприятия ОАО «Щекиноазот» был разработан проект нормативов предельно-допустимых выбросов (ПДВ) загрязняющих веществ в атмосферу. Анализ результатов уровня загрязнения атмосферного воздуха выбросами предприятия показал отсутствие опасных приземных концентраций по всем источникам предприятия загрязняющих веществ на границе жилой и санитарно-защитной зонах.
На проект ПДВ получены положительные заключения от ФГУЗ «Центр гигиены и эпидемиологии в Тульской области» № 5458 от 28.08.2007г. (Приложение 14.1), Управления Федеральной службы по надзору в сфере защиты прав потребителей и благополучия человека по Тульской области № 71.ТЦ.04.000.Т.000678.10.07 от 01.10.2007г (Приложение 14.1). Управлением по технологическому и экологическому надзору Ростехнад-зора по Тульской области дано разрешение на выброс вредных (загрязняющих) веществ в атмосферу № 254/78 от 30.07.2007г (Приложение 14.2).
Организационно-производственная структура экологического мониторинга проводимого на предприятии ОАО «Щекиноазот»
Экологический мониторинг на предприятии ОАО «Щекиноазот» осуществляется специалистами лабораторией СВ и СЛ, находящейся на предприятии ОАО «Щекиноазот» (свидетельство « АЛ-1ЦЛАТИ-2005 о состоянии измерений в лаборатории выданным от 15.06.05 сроком действия до 15.06.08 - представлено в приложении 14.3. Пере- • чень контролируемых ингредиентов в промышленных выбросах в атмосферу среди прочих включают в себя аммиак, углерод оксид, формальдегид, метанол), Федеральным государственным учреждением «Центр лабораторного анализа и технических измерений по Центральному Федеральному округу» (ФГУ «ЦЛАТИ по ЦФО») и ФГУЗ «Центр гигиены и эпидемиологии в Тульской области».
Мониторинг атмосферного воздуха
Пробы воздуха для анализа отбираются лабораторией ОАО «Щекиноазот» ежеквартально, на уровне 1,5 - 2 м от поверхности земли.
Цех уротропина: оксид углерода, аммиак, формальдегид, окислы азота, диоксид серы, метанол;
Отчеты о выполнении «Плана-графика лабораторного контроля промышленных выбросов в атмосферу на ОАО «Щекиноазот» за 1, 2, 3, 4 квартал 2007 года представлены в Приложении 14.4.
На предприятии имеется согласованный график отбора проб воздуха и рабочей зоны ОАО «Щекиноазот» на 2007 г. (график согласован со службой Роспотребнадзора) Согласно данному графику замеры на Установке КФК-85 производятся на складе карбамида (на пыль карбамида - 1 раз в месяц, шум, температура, влажность - 2 раза в год), наружной установке КФК (на формальдегид - 1 раз в 10 дней, на метанол - 1 раз в месяц), в комнате датчиков (на формальдегид -1 раз в 10 дней, метанол - 1 раз в месяц).
На предприятии имеется паспорт на установку каталитического дожита КФК-85 (приложение 14.7) согласованный в установленном порядке регистрационный номер 1434 от 28.09.07. Предварительно были составлены акты проверки работы дожигателя от 17.01.07 и от 20.06.07 (приложение 14.8).
Специалистами ФГУ «ЦЛАТИ по ЦФО» регулярно проводится отбор проб в различных отделениях и цехах производства (по результатам 4 протоколов за 2006 - 2007 года), в том числе и на поз. 801 дожигатель КФК. Замеры проводились по следующим ингредиентам: углерод оксид, ангидрид сернистый, формальдегид, превышений по ПДВ (ВСВ) не выявлено. В таблице 3 приведены результаты (на основании протоколов: № 38
от 01.09.2006г., 57 от 13.11.2006г., 27 от 19 марта 2007г, и 104 от 21 сентября 2007г. представлены в Приложении 14.9) обследования выбросов в атмосферу от установки КФК.
Таблица 7.2 Результаты обследования выбросов в атмосферу от установки КФК в обрат
ном хронологическом порядке
| Место отбора
|
Наименование ингредиента
|
Выброс (по замерам),
г/с
|
ПДВ/ВСВ,
г/с
|
| Протокол № 104 от 21 сентября 2007 г.
|
| Дожигатель КФК-85 ист. №0801 |
Формальдегид |
0,01415 |
0,035 |
| СО |
0,26886 |
0,93 |
| Протокол № 27 от 19 марта 2007 г.
|
| Дожигатель КФК-85 Ист. № 0801 |
СО |
0,430 |
0,930 |
| S02
|
0,005 |
-
|
| Протокол № 57 от 13.11.2006г.
|
| Дожигатель КФК-85 Ист. № 0801 |
СО |
0,848 |
0,930 |
| Формальдегид |
0,0288 |
0,030 |
| Протокол № 38 от 01.09.2006 г.
|
| Дожигатель КФК-85 Ист. № 0801 |
Формальдегид |
0,007 |
0,030 |
ФГУЗ «Центр гигиены и эпидемиологии в Тульской области» проводятся исследования воздуха на селитебной территории в зоне влияния ОАО «Химволокно» и Первомайской ТЭЦ. Протоколы исследования воздуха населенных мест 11754п.-11843п. от 31.08.2007г., № 6380п.-6729п. от 22.06.2007г. № 14694п.-14783п. от 08.11.2006г., № 13490п.-13579п. от 23.10.2006г., № 10445п.-10534п. от 27.09.2006г. приведены в Приложении 14.10.
Анализ результатов лабораторных исследований атмосферного воздуха в населенных пунктах Щекинского района за анализируемый период показал, что содержание всех определяемых химических веществ находится в пределах гигиенических нормативов.
Также ФГУЗ «Центр гигиены и эпидемиологии в Тульской области» проводятся замеры шума и инфразвука на санитарно-защитной зоне и на жилой застройке вблизи ОАО «Щекиноазот», протоколы замеров № 2188, 2187 от 25.06.2006г.; № 2188, 2187 от 27.09.2007 г. представлены в Приложении 14.11. Замеры осуществлялись в следующих населенных пунктах: д.Кочаки, п.Временный, д. Воробьева, д. Бабуринка, д.Колпна (рис.1). Проведенный анализ результатов замеров показал, что уровни шума не превы
шают
предельно допустимых уровней, согласно СН 2.2.472.1.8.562-96 «Шум на рабочих местах, в помещениях жилых, общественных зданий и на территории жилой застройки». Уровни инфразвука также находятся в пределах допустимых значений, нормируемых по
СН 2.2.4/2.1.8.583-96 «Инфразвук на рабочих местах, в жилых и общественных помещениях и на территории жилой застройки».
Мониторинг почв
Мониторинг состояния почвенного покрова осуществляется Санитарно-химической лабораторией в контрольных точках: 1 - на границе СЗЗ д.Воробьевка, 2 -на границе жилой застройки п.Временный, 3 - на границе жилой застройки д. Кочаки, 4 - на границе СЗЗ д.Деминка, 5 - на границе жилой застройки д.Колпна (рис. 1). Протоколы № 10535/178п, 10536/179п, 10537/180п, 10538/181п, 10539/182п от 22.09.2006г; 11846п/160, ПШп/161, 11848п/162, 11849п/163 от 11.09.2007г. представлены в Приложении 14.12.
Анализ результатов всех вышеуказанных данных, показывает, что в зоне воздействия ОАО «Щекиноазот» поддерживается удовлетворительная экологическая обстановка, концентрации определяемых показателей в населенных пунктах Щекинского района за 2006, 2007 года не превышали показателей, установленных в СанПиН 2.1.7.1287-03 "санитарно-эпидемиологические требования к качеству почвы" и по суммарному показателю химического загрязнения относится к категории допустимая. Согласно санитарным правилам при категории почв допустимая, возможно использование территории под любые культуры.
Вместе с тем, предприятием ОАО «Щекиноазот» ведутся постоянные работы по дальнейшему снижению техногенного воздействия объекта на окружающую природную среду.
Таблица 7.3
Выписка из отчета о выполнении «Плана-графика лабораторного контроля промышленных выбросов в атмосферу на ОАО «Щекиноазот». Целиком отчет представлен в приложении
№
п/п в
отчете
|
Наименование цеха, Источника выделения |
№ист. выброса |
Определяемый ингредиент |
Выброс
г/с
|
Выброс
мг/м3
|
ПДВ
г/с
|
Объем Отходящих газов, м/с |
Кол-во анализов |
| Всего |
Неблагоприятных |
| За 1 квартал 2007 г* |
| 13 |
КФК-85
|
-
|
Окись углерода Формальдегид
Метанол Пыль карбамида
|
-
|
255,0 |
-
|
-
|
8 |
1 |
| -
|
-
|
028 |
-
|
-
|
8 |
-
|
| 13.1 |
Колонна дожига |
-
|
-
|
169,0 |
-
|
-
|
8 |
3 |
| 132 |
Склад мочевины |
-
|
-
|
9,3 |
-
|
-
|
3 |
-
|
| 3а2квартал2007г* |
| 13 |
КФК-85
|
-
|
Окись углерода Формальдегид
Метанол Пыль карбамида
|
-
|
475,0 |
-
|
3,05 |
3 |
1 |
| -
|
-
|
0,4 |
-
|
3,05 |
3 |
-
|
| 13.1 |
Колонна дожита |
-
|
-
|
29,1 |
-
|
3,05 |
4 |
1 |
| 132 |
Склад мочевины |
-
|
-
|
7,2 |
-
|
0,4 |
3 |
-
|
| За 3 квартал 2007 г |
| 13 |
КФК-85
|
-
|
Окись углерода Формальдегид
Метанол
Диоксид серы
Пыль карбамида
|
0,342 |
1123 |
0,93 |
3,05 |
4 |
-
|
| -
|
0,0061 |
2,0 |
0,0314 |
3,05 |
4 |
-
|
| -
|
0,118 |
383 |
0,1525 |
3,05 |
4 |
-
|
| 13.1 |
Колонна дожига |
-
|
0,0076 |
2,5 |
0,305 |
3,05 |
2 |
-
|
| 13.2 |
Склад мочевины |
-
|
0,0007 |
7,0 |
0,0026 |
0,1 |
3 |
-
|
| За 4 квартал 2007 г |
| 11 |
КФК-85
|
-
|
Окись углерода Формальдегид
Метанол Диоксид серы
|
0,38 |
126 |
0,93 |
3,05 |
3 |
-
|
| 11.6 |
Установка каталитического дожита |
801 |
0,00183 |
0,6 |
0,03139 |
3,05 |
3 |
-
|
| 0,0354 |
11,6 |
0,1525 |
3,05 |
3 |
-
|
| 0,000 |
0 |
0,244 |
3,05 |
3 |
-
|
| 11.5 |
Вентсистема склада карбамида |
803 |
1ыль карбамида |
0,0002 |
2,2 |
0,00276 |
0,1
|
3 |
-
|
* - еще не был согласован проект ПДВ и до лета 2007 года шли пусконаладочные работы для данного объекта, соответственно может быть небольшое повышение выбросов при настройке оборудования, т.к. согласно требованиям пуско-наладки аппарат каталитического дожига пускается в последнюю очередь.
Согласно вышеприведенному отчету за работой установки за последние 2-квартала 2007 года по всем веществам превышений ПДВ нет, а по многим веществам параметры значительно ниже заложенных в проект ПДВ.
8. Воздействие на земельные ресурсы, растительность и животный мир.
Намечаемая хозяйственная деятельность окажет следующее влияние на земельные
ресурсы:
1. Изъятие и перемещение земельных масс при возведении зданий, сооружений и прокладке инженерных сетей;
2. Изоляция площадей асфальтовым покрытием проездов и тротуаров.
Все перечисленные воздействия могут быть интерпретированы как физико-механическая нагрузка на геологическую среду, почвы и грунты.
Характер воздействия - площадной.
Земельный участок ограждается по всему периметру. Вертикальная планировка решена в существующих отметках.
По окончании строительных работ площадь благоустраивается и озеленяется, процент озеленения территории - 10 %. Основным элементом озеленения является газон. На свободных от инженерных сетей участках будут запроектированы посадки деревьев и кустарника.
3. Все вышеприведённые технологические процессы, оказывающие влияние на земельные ресурсы, на стадии строительства будут носить временный характер. По завершению строительно-монтажных работ воздействие на земельные ресурсы перейдёт в категорию устойчивого постоянного физико-механического воздействия.
4. С учетом того, что нагрузка на геологическую среду будет соответствовать устойчивости подстилающих горизонтов к механической нагрузке, строительные работы окажут допустимое воздействие на геологическую среду и грунты.
5. Изменение фильтрационных, механических и агрохимических свойств почв на участке застройки оправдано отсутствием пахотных земель, а также социально-экономическим эффектом от реализации проекта.
6. При безаварийном режиме работ, строгом соблюдении технологического регламента на всех этапах реализации проекта и внедрении мероприятий по охране земельных ресурсов и почвенного слоя химическое воздействие на земельные ресурсы оказываться не будет.
7. Расчет рассеивания примеси в атмосфере показал, что санитарные нормы будут соблюдены и загрязнение почв, связанное с загрязнением атмосферного воздуха, происходить не будет.
Строительство завода намечено в промышленной зоне в урбанизированной среде, в которой растительный покров представлен малоценными травами и кустарниками.
Ареалов обитания охотничьих и редких животных в районе строительства не наблюдается. Их появление в районе работ может носить случайный характер.
9.Комплекс мероприятий по охране окружающей природной среды
Для предотвращения возможного неблагоприятного воздействия от реализации проекта на окружающую среду, на этапе принятия технологических решений, был заложен комплекс природоохранных технологических решений, и как следствие - минимизация отклика от антропогенной нагрузки.
При разработке природосберегающей технологии и природоохранных технических решений, заложенных в проектные решения, руководствовались двумя понятиями:
Экологическая безопасность (ЭБ)
- совокупность состояний, процессов и действий, обеспечивающих экологический баланс в окружающей среде и не приводящий к жизненно важным ущербам, наносимым природной среде и человеку. Определяется как состояние защищенности природной среды и человека от последствий деятельности объекта, а также необходимости сведения к минимуму возможности их неблагоприятного воздействия.
Экологическая опасность (ЭО)
- вероятность ухудшения показателей качества природной среды (состояний, процессов) под влиянием природных и техногенных факторов, представляющих угрозу экосистемам и человеку.
10.Организация системы контроля за состоянием компонентов природной
среды при реализации намечаемой деятельности
В соответствие с требованиями федерального закона «Об охране окружающей среды», природопользователи обеспечивают соблюдение нормативов качества окружающей среды на основе применения технических средств и технологий обезвреживания и безопасного размещения отходов производства и потребления, обезвреживания выбросов и сбросов загрязняющих веществ, а также иных наилучших существующих технологий.
В целях обеспечения выполнения в процессе хозяйственной и иной деятельности мероприятий по охране окружающей среды, природопользователи обязаны организовать производственный экологический контроль. Сведения об организации производственного экологического контроля природопользователь представляет в органы исполнительной власти, осуществляющие государственный экологический контроль.
Общее руководство природоохранной деятельностью предприятия будет осуществлять руководитель предприятия. Ответственность за организацию производственного
экологического контроля возглавляется на главного инженера предприятия. Объекты и программа экологического контроля для проектируемого объекта приведены в табл. 9.1. Контроль за потенциально уязвимыми объектами природной среды будет осуществляться в пределах санитарно-защитной зоны (СЗЗ) и зоны наблюдения (ЗН). К ЗН относится зона санитарной охраны территории в радиусе видимого воздействия.
Инструментальный экологический контроль необходимо проводить для оценки состояния:
атмосферного воздуха;
качества воды систем питьевого водоснабжения.
Шумового воздействия в производственной зоне. Результаты инструментального экологического контроля необходимо сопоставить с нормативными требованиями:
для атмос
ферного
воздуха
- СанПиН
2.2.6.1032-01 «Гигиенические требования к обеспечению качества атмосферного воздуха населённых мест»;
для характеристик уровней шума
- СН 2.2.4/2.1.8.562-96 «Шум на рабочих местах, в помещениях жилых и общественных зданий и на территории жилой застройки»;
для объектов водоснабжения -
СанПиН 2.1.4.1074-01 «Питьевая вода. Гигиенические требования к качеству воды централизованных систем питьевого водоснабжения. Контроль качества».
Таблица 10.1. Объекты экологического контроля предприятия.
| № |
Контролируемые |
Программа экологического кон- |
Обоснование |
| п/п |
объекты |
троля |
| СанПиН 2.2.6.1032-01 «Гигие- |
| 1 |
Атмосферный воздух |
Инструментальный контроль |
нические требования к обеспечению качества атмосферного воздуха населённых мест» |
| СанПиН 2.1.4.1074-01 «Питьевая вода. Гигиенические тре- |
| 2 |
Хозяйственно-питьевая вода |
Лабораторный контроль |
бования к качеству воды централизованных систем питьевого водоснабжения. Контроль качества». |
| 3 |
Почвенный покров |
Визуальные наблюдения |
X
1
|
| СН 2.2.4/2.1.8.562-96 «Шум на |
| 4 |
Шумовое воздействие |
Инструментальный контроль |
рабочих местах, в помещениях жилых и общественных зданий и на территории жилой застройки». |
Результаты экологического контроля будут заноситься в Журналы первичного учёта информации.
Основным критерием оценки состояния компонентов окружающей среды являются отклонения от от установленной нормы (система ПДК - предельно допустимых концентраций, ПДВ - предельно допустимых выбросов, ОБУВ - ориентировочно безопасный уровень воздействия, ОДК - ориентировочно безопасных концентраций).
Наиболее распространённым методом оценки качества компонентов ОС является применение индекса загрязнённости:
И3i - индекс загрязнённости среды по содержанию 1-го вещества,
Сi - среднее содержание 1-го вещества в среде,
ПДК -i - предельно допустимая концентрация 1-го вещества в среде.
Нормативы предельно допустимых выбросов и лимиты образования и раз
мещения отходов для всего предприятия в связи с расширением и вводом «Цеха
смол», будут регламентированы в томах ПДВ и ПНООЛР и согласованы с контро
лирующими государственными природоохранными службами.
Инструментальный контроль за состоянием почвенного покрова необходимо проводить только в случае технологических отказов, следствием которых стали попадание загрязняющих веществ на почвы. Контроль за состоянием хозяйственной площадки, отведённой под место временного хранения отходов, проводится в режиме визуальных наблюдений.
Периодически, но реже чем (1 раз в квартал необходимо проводить осмотр технического состояния и оценку работоспособности газоочистных установок и вентиляционных систем. Контроль за соблюдением регламента проектных решений составляет гео-технгическое звено системы производственного экологического контроля.
11. Заявление об экологических последствиях планируемой хозяйственной деятельности и оценка степени экологической опасности проектных решений
Намечаемая хозяйственная деятельность на застраиваемом участке является проявлением антропогенного воздействия на окружающую среду в виде выбросов и сбросов различных загрязняющих веществ, размещения отходов производства и потребления, нарушения почвенно-растительного покрова и т.д.
В процессе реализации проекта возникает постоянно действующая связь между объектами ОС и производственно-технологической деятельностью, что приводит к изменению как качественных, так и количественных характеристик компонентов окружающей среды.
Для оценки степени этого воздействия в работе было последовательно рассмотрено влияние на все природные среды (атмосферный воздух, водные объекты, охрана земельных ресурсов), как в период строительства, так и в период эксплуатации предприятия.
Однако, ни по одной из природных сред это влияние не оценено как «критическое».
Изъятие природных ресурсов
при реализации проекта строительства будет происходить в рамках заявленных потребностей:
Строительные работы
будут проводиться в границах землеотвода.
Атмосферный воздух. В
ыбросы загрязняющих веществ будут в
пределах санитарных норм, как на территории предприятия, так и на границе СЗЗ рекомендуемой в радиусе - 500 м. В санитарно-защитной зоне не располагаются садоводческие участки, пахотные земли и другие строения, связанные с постоянным пребыванием людей. За счет благоустройства и асфальтирования подъездов к производственному зданию, а также их регулярной уборки, сократятся выделения пыли.
Водная среда.
Расход воды строго регламентирован, сброс стоков на рельеф производиться не будет.
Отходы.
Препятствий для временного хранения и своевременного удаления отходов производства и потребления нет.
Мероприятия по благоустройству. П
роизводится дополнительное асфальтирование подъездной автодороги.
Предложенная технология является ресурсосберегающей
, т.к. один из экономически эффективных аспектов при реализации проекта - использование отходящего при сжигании отходов тепла на нужды предприятия.
Результаты нормирования нагрузки на компоненты природной среды показа
ли, что технические и технологические решения, принятые в проекте, соответст
вует экологическим и санитарно-гигиеническим нормам, действующим на терри
тории Российской Федерации.
Экологическое образование и просвещение населения
В 2009 году во Всероссийской акции "Дни защиты от экологической опасности" в области приняли участие 716 учреждений образования, 253 сельских администрации, 134 учреждений культуры, 86 промышленных предприятий, представители малого бизнеса, гослесхозы – всего более 270 тыс. человек.
Посажено 132 000 декоративных деревьев и кустарников, очищено и обустроено 44 родника, высажено 52 аллеи, установлено средств наглядной агитации 169, разбито цветников на площади 66744 м2, ликвидировано 189 свалок. Подведение итогов акции состоялось на расширенном заседании областного оргкомитета, проходившего в Вологодском государственном историко-архитектурном и художественном музее-заповеднике. По решению рабочей группы областного оргкомитета "Дней защиты от экологической опасности 2009" от 28 июля 2009 года Дипломами победителей акции награждены оргкомитеты Череповецкого, Вологодского, Великоустюгского, Харовского и Тарногского муниципальных районов, гг. Череповец и Вологда. Ежегодно оргкомитет "Дней защиты" за творчество, инициативу, стабильно хорошие результаты по охране природы присваивает звание "Зеленый руководитель Дней защиты". "Зеленые яблоки" в 2009 году вручены: генеральному директору Вологодского государственного историко-архитектурного и художественного музея-заповедника Коротаевой Л.Д., директору ФГУ "Национальный парк "Русский Север" Кузнецову А.Л., генеральному директору ОАО "Вологодский оптико-механический завод" Коршунову А.И., генеральному директору ОАО "Вологодский завод строительных конструкций и дорожных машин" Докунихину Н.И.
22 апреля 2009 года в г. Тотьме Вологодской области состоялась XVI областная общественная экологическая конференция "Сохранение природных комплексов бассейна реки Сухоны". Конференция проходила в соответствии с Указом Президента "О проведении в Российской Федерации Года молодежи" и была приурочена к 50-летию Вологодской областной общественной организации Всероссийского общества охраны природы. В пленарном заседании приняли участие 198 делегатов из 20 муниципальных районов и городских округов области. По итогам конференции принята резолюция.
В рамках конференции в марте-апреле 2009 года прошла работа секций:
"Оценка экологической обстановки природных комплексов бассейна реки Сухоны" (г. Великий Устюг),
"Театральная экологическая деятельность как перспективная форма экологического просвещения в рамках Дней защиты от экологической опасности" (г.Череповец),
"Круглый стол "Молодежное экологическое движение: добровольцы и профессионалы в деле сохранения природных территорий бассейна реки Сухоны" (г.Вологда),
"Изучение и сохранение природных комплексов бассейна реки Сухоны" (г. Сокол),
"Опыт организации учебно-исследовательской деятельности учащихся по изучению природных комплексов реки Сухоны в Нюксенском районе" (с. Нюксеница),
"Библиотека – центр экологического просвещения в районе" (г. Тотьма),
"Молодежное экологическое движение и ООПТ" (Кирилловский район),
"Областная библиотека – центр информационной поддержки молодежного экологического движения" (г. Вологда).
В рамках мероприятий межрегиональной ярмарки "Российские губернаторы в глубинке" в пос. Шексна состоялась областная выставка "Природа и мы".
В выставке приняли участие делегации из 21 района области. В рамках выставки были организованы показы коллекций одежды театра моды "Причуда" Вологодского района и коллекций одежды, выполненной из бросового материалы Ботовского и Климовского социально-культурных объединений Череповецкого района, фотоэкспозиция Национального парка "Русский Север", персональная выставка арт-директора ООО "Дом цветов", торжественные церемонии открытия выставки и награждения участников. По итогам выставки издана брошюра.
III областной фестиваль детских экологических театров "Любить природу – творить добро!" прошел в с. Тарногский Городок. За два фестивальных дня было показано 20 спектаклей. Гран-при областного фестиваля по единогласному решению жюри присужден Образцовому художественному коллективу "Детский музыкальный театр" МОУ ДОД "Тарногская детская школа искусств". Дипломом I степени награжден школьный экологический театр "Теремок" МОУ "Средняя общеобразовательная школа № 13" (г. Череповец), Диплом II степени присужден коллективу "Веснушки" МОУ "Нюксенская начальная ООШ", Диплом III степени - любительскому объединению "Лучик" из Усть-Кубинской межпоселенческой районной библиотеки.
В рамках областного фестиваля в течение года проходил конкурс авторских сценариев экологических спектаклей. На конкурс поступили 24 работы. Лучшими сценариями признаны: "Дыхание весны" Хрусталевой Е.Л. из г. Белозерска, "Однажды ранней весной" Кульчихиной О.А. из Кирилловского района, "Новый день придет" Мотылевой О.А. из с. Тарногский Городок и "Волшебница чистого города" Глинкиной А.В. из г. Череповца. Лучшие сценарии изданы отдельной брошюрой.
Областная школа практической экологии для педагогов-экологов ДОУ и начальной школы, педагогов дополнительного образования "Детские экологические театры. Экология души в действии" состоялась в с. Тарногский Городок. Для слушателей были проведены мастер-классы, круглые столы и практикумы по актерскому мастерству, музыкальному оформлению спектакля, сценографии, изготовлению декораций и костюмов.
В соответствии с Концепцией непрерывного экологического образования населения области и постановления Правительства области от 7 апреля 2009 года № 595 "Об обеспечении отдыха, оздоровления и занятости детей, проживающих на территории области, в 2009 году" департаментом природных ресурсов и охраны окружающей среды области совместно с органами местного самоуправления муниципальных образований, ГОУ "Учебно-методический центр по гражданской обороне и чрезвычайным ситуациям Вологодской области", общественными организациями и учреждениями образования области на территории области организовано 46 профильных экологических лагерей, школ практической экологии и эколого-краеведческих экспедиций; обучено 920 детей и 157 специалистов.
Молодежная экологическая радиоэкспедиция, организованная департаментом совместно с ДЮЦ "Лидер", проводилась на территории Национального парка "Русский Север" и была направлена на использование радиотехнических средств для эколого-просветительской деятельности. Участники экспедиции - подростки 12 – 14 лет.
Школа практической экологии для учащейся и студенческой молодежи Вологодской области "Школа лидеров" проходила под лозунгом "Молодежь - будущее России". В ней приняли участие подростки и молодые люди в возрасте от 12 до 23 лет, учащиеся городских и районных школ области, учреждений дополнительных образований, воспитанники скаутского экологического объединения молодежного центра "Альфа" из г. Кириллов, воспитанники детского дома № 1 г. Вологды, студенты ВГПУ и педагогического колледжа.
В конкурсе "За вклад в сохранение окружающей среды по итогам работы предприятий в 2008 году" оценивались 19 конкурсных работ. Решением конкурсной комиссии Диплом I степени присужден МУП "Водоканал" г. Череповца, Диплом II степени – ЗАО "Вологодский подшипниковый завод" (г. Вологда), Диплом III степени – Грязовецкое ЛПУ МГ филиал ООО "Газпром трансгаз Ухта" (г. Грязовец).
VI Региональный конкурс дипломных проектов и научно-исследовательских работ студентов по природоохранной тематике официально включен в перечень мероприятий II тура Всероссийской студенческой олимпиады Федерального агентства по образованию. На заключительный этап конкурса было представлено 45 работ студентов из 7 ВУЗов Вологодской области. Победителем конкурса в личном зачете признана Жаравина Наталья, выпускница Вологодского государственного технического университета, научный руководитель – доцент ВоГТУ Чудновский Семен Матвеевич за работу "Управление процессами коагуляции природных вод". Решением жюри кандидатура Жаравиной Натальи выдвинута на присуждение премии для государственной поддержки способной и талантливой молодежи.
В Региональном конкурсе студентов по природоохранной тематике, организованным департаментом совместно с Вологодским государственным техническим университетом, приняли участие студенты четырех ВУЗов. В личном зачете по результатам двух этапов конкурса победителем признан студент Череповецкого государственного университета Аптуков Анатолий, призерами - Тютин Александр (ВГТУ) и Голумбиевская Олеся (филиал МГЮА им. О.Е. Кутафина).
На областной экспедиционно-туристский конкурс "Наше наследие" были представлены 32 работы из 16 районов области. Дипломами I степени награждены МОУ ДОД "Верховажский Дом детского творчества" и МОУ "Несвойская основная общеобразовательная школа" из Вологодского района.
В 2009 году в конкурсе "Строим мир без риска" приняли участие 835 работ из 23 городов и районов. Жюри оценивало работы по четырем номинациям: "Безопасность жизнедеятельности", "Здоровый образ жизни", "МЧС против ЧС", "Экологическая безопасность". Гран-при конкурса присужден Мамодаевой Анне МОУ "СОШ № 1" г. Сокол.
В рамках мероприятий областного конкурса мастеров-лодочников "Устью – праздник, лодке – честь!" специалистами отдела были организованы две фотовыставки: фоторабот Архиепископа Вологодского и Великоустюжского Максимилиана и фотовыставка "Небесная палитра", оформленная фотоработами сотрудников департамента и ГОУ "ЭЛПРОС".
С целью обеспечения населения, органов государственной исполнительной власти и местного самоуправления области достоверной информацией о состоянии окружающей среды на территории области в 2009 году департаментом продолжена работа по экологическому информированию и просвещению через средства массовой информации: экологические выпуски "Родник" в областной газете "Красный Север", опубликование нормативных документов департамента в разделе "Деловой вестник" в областной газете "Красный Север"; регулярные сюжеты в программах новостей областного радио, телевидения, TV-7, REN-TV, публикации в областных и районных газетах о текущих событиях, регулярное представление на сайте Правительства области аналитической и оперативной информации о состоянии и охране окружающей среды на территории области, статья о детском экологическом театральном движении Вологодской области опубликована в издании "Северо-Запад: сегодня и завтра", г. Санкт-Петербург.
Конкурс внештатных авторов экологического выпуска "Родник" областной газеты "Красный Север" проходит с 2007 года. Ответственные за проведение конкурса - редакция газеты "Красный Север" и департамент природных ресурсов. Лучшим внештатным автором экологического выпуска "Родник" в 2009 г. признана Курочкина Яна, учащаяся МОУ "Сорожинская СОШ" Харовского района, статья "Удивительный мир лишайников" (3 выпуск "Родника" от 16 мая 2009 г.).
В целях обеспечения методическими пособиями учреждений образования, информационной поддержки органов государственной власти и местного самоуправления области в 2009 году департаментом подготовлены и изданы информационно-аналитические, нормативно-правовые и другие материалы по вопросам природопользования, охраны окружающей среды и экологического образования:
Доклад о состоянии и охране окружающей среды Вологодской области в 2008 году;
комплексный территориальный кадастр природных ресурсов Вологодской области;
брошюра "Областная выставка "Природа и мы";
брошюра "Детские экологические театры. Экология души в действии. Сборник сценариев";
памятки для населения по действиям в предпаводковый период и в условиях наводнения;
информационный стенд "Областной конкурс "За вклад в сохранение окружающей среды".
Сотрудниками областной библиотеки совместно с департаментом реконструированы экологические страницы интернет-сайта "Библиотеки и экология" ВОУНБ им.Бабушкина (www.booksite.ru). На сайте размещена информация об областных мероприятиях по экологическому образованию и просвещению, проводимых департаментом, сведения об общественных экологических объединениях, нормативная документация.
В рамках объявленного Указом Президента РФ 2009 года Годом молодежи проведено анкетирование среди природоохранных структур области, студентов ВУЗов и СУЗов, школьников с целью мониторинга интересов молодежи в сфере экологии и охраны окружающей среды. По итогам анкетирования составлен каталог молодежных экологических объединений области.
|