Банк рефератов содержит более 364 тысяч рефератов, курсовых и дипломных работ, шпаргалок и докладов по различным дисциплинам: истории, психологии, экономике, менеджменту, философии, праву, экологии. А также изложения, сочинения по литературе, отчеты по практике, топики по английскому.
Полнотекстовый поиск
Всего работ:
364139
Теги названий
Разделы
Авиация и космонавтика (304)
Административное право (123)
Арбитражный процесс (23)
Архитектура (113)
Астрология (4)
Астрономия (4814)
Банковское дело (5227)
Безопасность жизнедеятельности (2616)
Биографии (3423)
Биология (4214)
Биология и химия (1518)
Биржевое дело (68)
Ботаника и сельское хоз-во (2836)
Бухгалтерский учет и аудит (8269)
Валютные отношения (50)
Ветеринария (50)
Военная кафедра (762)
ГДЗ (2)
География (5275)
Геодезия (30)
Геология (1222)
Геополитика (43)
Государство и право (20403)
Гражданское право и процесс (465)
Делопроизводство (19)
Деньги и кредит (108)
ЕГЭ (173)
Естествознание (96)
Журналистика (899)
ЗНО (54)
Зоология (34)
Издательское дело и полиграфия (476)
Инвестиции (106)
Иностранный язык (62791)
Информатика (3562)
Информатика, программирование (6444)
Исторические личности (2165)
История (21319)
История техники (766)
Кибернетика (64)
Коммуникации и связь (3145)
Компьютерные науки (60)
Косметология (17)
Краеведение и этнография (588)
Краткое содержание произведений (1000)
Криминалистика (106)
Криминология (48)
Криптология (3)
Кулинария (1167)
Культура и искусство (8485)
Культурология (537)
Литература : зарубежная (2044)
Литература и русский язык (11657)
Логика (532)
Логистика (21)
Маркетинг (7985)
Математика (3721)
Медицина, здоровье (10549)
Медицинские науки (88)
Международное публичное право (58)
Международное частное право (36)
Международные отношения (2257)
Менеджмент (12491)
Металлургия (91)
Москвоведение (797)
Музыка (1338)
Муниципальное право (24)
Налоги, налогообложение (214)
Наука и техника (1141)
Начертательная геометрия (3)
Оккультизм и уфология (8)
Остальные рефераты (21692)
Педагогика (7850)
Политология (3801)
Право (682)
Право, юриспруденция (2881)
Предпринимательство (475)
Прикладные науки (1)
Промышленность, производство (7100)
Психология (8692)
психология, педагогика (4121)
Радиоэлектроника (443)
Реклама (952)
Религия и мифология (2967)
Риторика (23)
Сексология (748)
Социология (4876)
Статистика (95)
Страхование (107)
Строительные науки (7)
Строительство (2004)
Схемотехника (15)
Таможенная система (663)
Теория государства и права (240)
Теория организации (39)
Теплотехника (25)
Технология (624)
Товароведение (16)
Транспорт (2652)
Трудовое право (136)
Туризм (90)
Уголовное право и процесс (406)
Управление (95)
Управленческие науки (24)
Физика (3462)
Физкультура и спорт (4482)
Философия (7216)
Финансовые науки (4592)
Финансы (5386)
Фотография (3)
Химия (2244)
Хозяйственное право (23)
Цифровые устройства (29)
Экологическое право (35)
Экология (4517)
Экономика (20644)
Экономико-математическое моделирование (666)
Экономическая география (119)
Экономическая теория (2573)
Этика (889)
Юриспруденция (288)
Языковедение (148)
Языкознание, филология (1140)

Реферат: Основные параметры шпуровой отбойки

Название: Основные параметры шпуровой отбойки
Раздел: Рефераты по геологии
Тип: реферат Добавлен 18:17:11 18 июня 2011 Похожие работы
Просмотров: 777 Комментариев: 20 Оценило: 3 человек Средний балл: 5 Оценка: неизвестно     Скачать

Содержание

Общие сведения о системах разработки

Система разработки с этажным принудительным обрушением с торцовым выпуском руды в зажиме

Системы разработки с магазинированием руды

Системы со шпуровой отбойкой из магазинов

Расчет параметров шпуровой отбойки

Список литературы

1. Общие сведения о системах разработки

Вследствие значительного разнообразия форм и изменчивости элементов залегания рудных залежей системы разработки рудных месторождений существенно отличаются от систем раз­работки угольных месторождений. В основу классификации систем разработки рудных месторождений положен способ под­держания очистного пространства. Все их многообразие может быть представлено следующими тремя классами:

системы разработки с естественным поддержанием очи­ стного пространства , основанным на использовании естествен­ной устойчивости руды и вмещающих пород. Для них характерны более высокая производительность блоков, ниже трудоем­кость и себестоимость добычи. Однако они отличаются значительными потерями руды в целиках;

системы разработки с обрушением руды и вмещающих по род , отличающиеся также невысокими затратами на управление горным давлением. Это высокопроизводительные системы, но имеющие повышенные потери отбитой руды и ее высокое разубоживание вследствие неполного выпуска руды из блока;

системы разработки с искусственным поддержанием очистного пространства. Для них характерны высокие затраты на возведение закладки или крепи, либо то и другое, более низкие потери и разубоживание.

К первому классу относятся такие системы разработки, как сплошная, камерно-столбовая, камерная с отбойкой из магазина и др., ко второму — этажное принудительное обрушение, этажное самообрушение, подэтажное обрушение и др., к третьему — однослойная выемка с закладкой, горизонтальные слои с закладкой, наклонные слои с закладкой, столбовая с обрушением и др.

Выбор системы разработки.

При разработке пластов тонких и средней мощности (до 3,5 м) выемку ведут сразу на полную мощность, разработку мощных слоёв ведут либо отдельными слоями, либо на всю мощность. Минимальная высота очистного пространства зависит от мощности, угла падения пласта, от применяемой техники.

При наклонном и крутом падении отбитый уголь может перемещаться к основному (откаточному) штреку под действием силы тяжести, что должно учитываться при выборе оптимальной системы разработки.

Крепость угля и его трещиноватость оказывают влияние на выбор способа (механическая или буровзрывная) и на устойчивость кровли и боковых пород, т.е. на выбор крепи. Пласта угля, склонного к самовозгоранию, должны отрабатываться с наименьшими потерями, с заиливанием или с полной закладкой выработанного пространства.

При разработке сближенных пластов необходимо соблюдать очерёдность их выемки, выдерживать безопасные расстояния по отставанию забоев, выбрать способ подготовки пластов – совместный или раздельный.

При большой обводнённости должны применяться следующие мероприятия: дренаж выемочных отдельных участков, оставляться предохранительные целики, тщательно подобран способ управления кровлей и система разработки, облегчающая вывод воды из ваработанного пространства.

Для обеспечения требуемой производительности шахты необходимо подобрать оптимальный очистной комплекс, окончательный выбор можно сделать на основе технико-экономического сравнения различных вариантов.

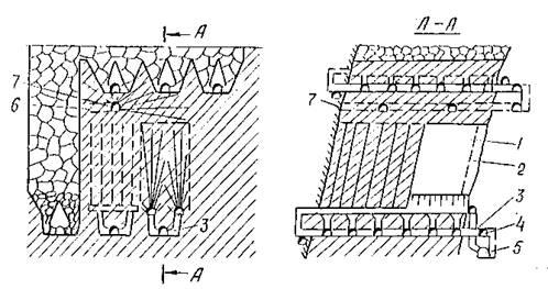
СИСТЕМА РАЗРАБОТКИ С КРЕПЛЕНИЕМ II ЗАКЛАДКОЙ ОЧИСТНОГО ПРОСТРАНСТВА

В отличие от систем с креплением, которые применяют для от­работки маломощных месторождений, системы с креплением п закладкой применяются па месторождениях любой мощности. Поддержание выработанного пространства при этих системах осуществляется регулярно возводимой крепью и закладкой. Си­стемы применяют при слабых неустойчивых рудах и вмещаю­щих породах, непостоянной форме, мощности и углах падения, при наличии крупных включений и прослоек пустых пород в руде, высокой ее ценности и необходимости сохранения по­верхности от обрушения.

Системы разработки с креплением и закладкой применяют главнымобразом на медных и полиметаллических рудниках. В настоящее время удельный вес этих систем резко снизился за счет применения других, более производительных и эффек­тивных систем.

Признаками для классификации систем с креплением и за­кладкой являются направление подвигания забоя и способочистной выемки. По этим признакам выделяют три основные группы систем:

1. Системы разработки горизонтальными слоями но прости­
ранию.

2. Системы разработки вертикальными прирезками и корот­
кими блоками.

3. Сплошные системы разработки.

Условия применения систем каждой группы имеют существен­ные различия, но, учитывая их малое распространение, рассмот­рим только одну из них.

При выемке по простиранию применяют как усиленную рас­порную крепь (при мощности до 3—4 м), так и станковую крепь (при мощности до 10—12 м).

Крепь изготовляют из круглого леса диаметром 20—30 см. Высота станка 2,0—2,25 м. Размеры станка в плане 1,5X1,5; 1,8X1,8; 2x2 м. Элементы крепи заготовляются на поверхности специальными машинами.

Общий вид системы разработки горизонтальными слоями по простиранию со станковой крепью и закладкой показан на рис. 96.

Подготовка блока состоит в проведении откаточного штрека и проходке восстающего в центре блока. Откаточный штрек крепят крепежными рамами, а восстающий — срубовой крепью с внутренней обшивкой закладочного отделения. Два других


отделения восстающего используются как вентиляционно-ходовые и для доставки крепи.

Очистную выемку начинают от восстающего на уровне кровли или почвы откаточного штрека. Почву первого отрабо­танного слоя покрывают плотным настилом.

При полном развитии работ закладка отстает от кровли за­боя на один-два станка. Способ размещения закладки в блоке определяется формой забоя. При небольшом числе длинных уступов (8—12 м) закладочный материал скреперуют; если же устойчивость руды позволяет вести отработку короткими усту­пами, создается возможность наклонного расположения за­кладки под действием силы тяжести.

Наличие крепи в забое позволяет совмещать закладку с другими операциями: бурением, креплением.

Через каждые два-четыре станка устраивают рудоспуски путем обшивки станков изнутри досками. Поверхность закладки покрывают настилом. Руду отбивают неглубокими горизонталь­ными шпурами с небольшими зарядами.

Для предохранения крепи от поломок при взрывании шпу­ров необходима тщательная прочная расклинка ее./Неправиль­ное расположение шпуров или недостаточная расклинка явля­ются причиной поломок как отдельных элементов крепи, так и массового ее разрушения.

При мощности рудных залежей более 12 м разработку ве­дут вкрест простирания вертикальными прирезками или корот­кими блоками.

Большая трудоемкость работ по креплению и закладке, низ­кая производительность труда забойных рабочих, большой рас­ход лесоматериалов, слабая механизация работ и высокая стои­мость добычи позволяют применять системы с креплением и за­кладкой только в особо неблагоприятных горно-геологических условиях.

Системы разработки с естественным поддержанием очистного пространства

Системы разработки этого класса имеют весьма широкое распространение. Они применяются главным образом при устойчивых рудах и вмещающих породах.

На пологих и наклонных залежах устойчивой руды и вме­щающей породы применяют сплошную систему разработки. При пологом залегании залежи делят на панели (рис. 1.1.). Подготовка заключается в проведении откаточных и панельных штре­ков. Панель отрабатывается сплошным забоем по всей ее ши­рине с открытым очистным пространством. Кровля поддерживается неизвлекаемыми опорными целиками круглой формы. В зависимости от мощности залежи их диаметр колеблется от 3-6 до 8-10 м. Опорные целики могут быть регулярными и спо­радическими.

Отбойка руды — шпуровая, что позволяет сохранить ус­тойчивость целиков и кровли очистного пространства. Длина шпуров 2-4,5 м. Их бурят с помощью буровых кареток. Заряжают шпуры с самоходных кареток, используемых для осмотра кровли. В случае необходимости кровлю очистного простран­ства усиливают анкерной крепью. Доставляют руду до рудоспуска самоходным оборудованием через сбойки по панельному штреку. Проветривание осуществляется за счет общешахтной струи.

Рис. 1.1. Сплошная система разработки:

1 — ленточный целик; 2 — опорные целики; 3 — откаточный штрек; 4 — панельный штрек; 5 — рудоспуск; б — основной откаточный штрек; 7 — анкерная крепь; 8, 9 — вентиляционные выработки; 10 — сбойки; 11 — буровая каретка; 12 — погрузочно-доставочная машина

Рассматриваемая разновидность сплошной системы разработки применяется при мощности залежи от 3 до 25 м. Минимальная мощность лимитируется габаритами доставочного оборудования, максимальная — высотой буровой каретки или ка­ретки для заряжания шпуров и осмотра кровли.

Технико-экономические показатели сплошной системы разработки являются самыми высокими при подземной разработке руд. Однако потери руды достигают 25-35 %.

При разработке крутых залежей мощностью более 5 м с устойчивыми рудами и вмещающими породами применяют камерную систему разработки с отбойкой из подэтажных выработок (штреков или ортов). Иногда ее называют системой под­этажных штреков. При мощности рудного тела более 15-20 м камеры располагают вкрест простирания. В этом случае от откаточного штрека (обычно полевого) под камерой проходит откаточный орт.

Подготовка блоков включает (рис. 1.2.) проведение этажного откаточного штрека и блоковых восстающих, располагаемых в междукамерных целиках. Между восстающими на высоте 6-8 м над откаточным штреком проводят штрек горизонта подсечки. Его соединяют с откаточным штреком короткими ру­доспусками. В верхней части рудоспуски разделывают в воронки. От блоковых восстающих через 8-12 м по высоте проводят буровые выработки (штрек или орты). Под вентиляционным штреком оставляют 6-8-метровую потолочину, погашаемую после отработки камеры. В центре блока проводят разрезной восстающий, который затем разделывают в отрезную щель на всю мощность рудного тела.

Отбойка руды в камере производится вертикальными слоями толщиной 1,5-2,0 м на отрезную щель с помощью веерных или параллельных скважин, пробуриваемых из подэтажных выработок. Вторичное дробление негабарита, выход которого составляет 10-20 %, осуществляется в горловинах выпускных вы­работок или на почве доставочных.

Свежий воздух для проветривания камеры поступает с откаточного штрека по подэтажным выработкам. Исходящая струя поступает на вентиляционный горизонт через отрезную щель.

Рис. 1.2. Камерная система разработки с подэтажной отбойкой:

1—восстающий; 2 — откаточный штрек; 5 — воронка; 4 — штрек горизонта подсечки; 5 — подэтажные выработки; 6 — потолочина; 7—вентиляционный штрек

Система разработки с подэтажной отбойкой отличается довольно высокими технико-экономическими показателями, но большим объемом проведения подготовительно-нарезных выработок.

При разработке крутых рудных залежей с углом падения не менее 55-60° мощностью до 6-8 м находит применение выемка с магазинированием руды. Поддержание выработанного пространства производится рудными целиками. Поверхность замагазинированной руды служит платформой для рабочих и разме­щения бурового оборудования. Отбойка чередуется с частичным выпуском руды. Полный выпуск производится после окончательной отбойки руды в блоке. Применяются различные варианты системы разработки: с отбойкой шпурами из магазина (рис. 1.3.), с отбойкой скважинами из восстающих и другие.

Подготовка блока заключается в проветривании откаточного и вентиляционного штреков, блоковых восстающих. Расстояние между рудоспусками 3-4 м. Размер блока по простира­нию до 80-100 м.

Очистная выемка в блоке состоит из трех стадий: подсечки магазина и образования в его основании воронок; отбойки руды шпурами длиной до 2,5 м до уровня подштрекового целика и магазинирования руды; выпуска руды и погашения междуэтажных и междукамерных целиков. Особое внимание уделяет­ся на равномерность выпуска руды в процессе ведения очистных работ в блоке. Дробление негабарита осуществляется непосредственно в камере на поверхности отбитой руды накладными зарядами. Свежий воздух поступает в очистное пространство по одному из восстающих.

Рис. 1.3. Система разработки с магазинированием руды:

1 — восстающий; 2 — откаточный штрек; 3 — рудоспуски; 4 — замагазинированная руда; 5 — восстающие шпуры; б—ходки между камерой и восстающим; 7—вентиляционный штрек; 8 — подштрековый целик

Исходящая струя на вентиляционный горизонт обычно поступает по другому восстающему. Технико-экономические показатели системы достаточно высокие.

Систему с магазинированием руды применяют при устойчивых рудах и вмещающих породах. Отбитая руда не должна слеживаться и самовозгораться. Ценность руды обычно высокая или средняя.

Основные достоинства системы: небольшой объем подгото­вительно-нарезных работ; высокая эффективность буровзрывных работ; высокая производительность труда и низкая себестоимость. Недостатки: невозможность выдачи руды по сортам; возможность несчастных случаев при внезапном оседании руды.

Рассмотренные системы разработки являются наиболее ти­пичными представителями систем с естественным поддержанием очистного пространства. Существуют и другие системы разработки этого класса, изучение которых является предметом специальных дисциплин.

Системы разработки с обрушением руды и вмещающих пород

Системы этого класса широко применяются при разработке мощных и средней мощности рудных залежей, особенно при добыче железных руд. Для систем разработки с обрушением руды и вмещающих пород характерна массовая отбойка руды с последующим самообрушением или принудительным обрушением на нее налегающих пород. Выпуск руды осуществляется под обрушенными породами на всю высоту этажа или подэтажа.

Наиболее широко применяются варианты с вертикальными или горизонтальными компенсационными камерами и со сплош­ной выемкой и отбойкой в зажиме с донным или торцевым выпуском руды.

При отбойке руды с компенсационными камерами выемку руды осуществляют в две стадии (рис. 1.4). Сначала образуют компенсационные камеры, применяя камерную систему разработки. Их объем равен примерно одной трети запасов блока. Эта часть руды после отбойки вследствие разрыхления занима­ет весь начальный объем блока. На рис. 1.4 показан донный выпуск руды под обрушенными налегающими породами.

Подготовка блока к очистной выемке состоит в проведении откаточных и вентиляционных выработок, доставочных выработок горизонта скреперования, подсечки камеры блока, проходке коротких рудоспусков (дучек) и образовании воронок, через которые осуществляется выпуск отбитой руды, а также блоковых восстающих. В крутых залежах мощностью до 15-25 м камеры, как правило, располагают длинной стороной по простиранию. Длина блока по простиранию 40-60 м. В более мощ­ных залежах блоки длинной стороной располагают вкрест простирания.

Высота этажа при этажном обрушении ограничивается возможностями бурового оборудования, обеспечивающего бурение вертикальных или крутонаклонных скважин соответствующей длины, и составляет 40-60 м и иногда более.

В практике разработки рудных месторождений применяют различные варианты систем с массовой отбойкой и донным выпуском руды: двустадийная (с компенсационными камерами) и одностадийная (отбойка в зажиме) выемка руды; отбойка вертикальными (параллельными или веерными скважинами) или горизонтальными (веерными скважинами) слоями и другие.

В отличие от систем разработки с донным выпуском руды в системах с торцевым выпуском отпадает надобность в устройстве днищ камер, что упрощает подготовку и снижает затраты на ее осуществление. Характерным представителем является система этажного принудительного обрушения с торцевым выпуском руды в зажиме (рис. 1.5).

При этой системе разработки осуществляется сплошная вы­емка со скважинной отбойкой руды в зажиме и выпуском ее непосредственно под налегающими обрушенными породами через торец доставочной выработки. Отбойка осуществляется на всю высоту этажа.

Рис. 1.4. Система разработки с подэтажным принудительным обрушением на компенсационное пространство и донным выпуском руды:

1 — камера; 2 — отрезная щель; 3 — скреперный орт; 4 — соединительный штрек; 5 — откаточный штрек; б — выработка для разбуривания междукамерных целиков; 7— орт для разбуривания междуэтажного целика

Временный целик (козырек) над доставочной выработкой погашается по мере выпуска руды. Диаметр скважин 100-150 мм.

Подготовка блока заключается в проведении буровых и доставочных выработок, разделке из восстающего отрезной щели на фланге блока и обрушении на нее налегающих пород. Затем на образовавшийся зажимающий материал производят после­довательную отбойку вертикальных слоев руды. Скважины располагают веерами. Параметры системы разработки: высота этажа 50-60 м, а на пологих пластах она ограничивается ее мощностью; длина блока не менее 50 м.

Рис. 1.5. Система разработки с этажным принудительным обрушением с торцевым выпуском руды в зажиме:

1 — ходок; 2 — орт; 3 — рудоспуск; 4 — буровой штрек; 5 — скважины для отбойки руды; 6 — предохранительный козырек; 7 — вентиляционный штрек; 8 — виброконвей­ер; 9 — вибропитатель

Выпуск руды является важным этапом очистной выемки. Сначала идет так называемая чистая руда (около 20-25 % общего объема), затем по мере выпуска содержание металла в рудной массе вследствие разубоживания уменьшается и доходит до некоторого минимума, соответствующего предельному разубоживанию. На этом пределе содержания металла выпуск руды из данного положения торца доставочной выработки прекращается. Выпуск руды из доставочной выработки осуществляется передвижным вибропитателем. На доставке ее на рудоспуске ис­пользуют секционные виброконвейеры или самоходное погрузочно-доставочное оборудование.

Проветривание доставочной выработки в процессе выпуска и доставки руды производится вентилятором местного проветривания или вентиляционной выработкой, пройденной параллельно доставочной. Система разработки с торцевым выпуском руды является наиболее перспективной в классе систем с обру­шением руды и вмещающих пород.

Для систем разработки с массовой отбойкой руды характер­ны довольно высокие технико-экономические показатели, но сравнительно высоки потери и разубоживание, достигающие в отдельных случаях 20 %.

Системы разработки с искусственным поддержанием очистного пространства

Искусственное поддержание очистного пространства явля­ется составной частью технологии выемки руды в ряде горно-геологических условий. Системы с искусственным поддержанием очистного пространства применяют главным образом при разработке ценных и самовозгорающихся руд, а также в случае необходимости сохранения поверхности. Очистное пространст­во либо поддерживают в призабойной зоне крепью, либо запол­няют пустыми породами, либо применяют то и другое. Способ искусственного поддержания очистного пространства определяет разновидности систем разработки этого класса.

Системы разработки с креплением (с простой распорной крепью, с усиленной распорной крепью и др.) являются дорогими, но обусловливают довольно низкие потери и разубоживание руды. Иногда в случае необходимости очистное пространство, поддерживаемое крепью, заполняется закладкой.

Наиболее дорогими являются системы разработки с закладкой очистного пространства. Поэтому их обычно применяют при разработке ценных руд или с целью сохранения поверхности. Применяют самотечную, механическую, пневматическую и гидравлическую закладку, а также закладку твердеющими смесями. Последняя в большей степени, чем другие, обеспечивает сохран­ность поверхности. Из систем разработки с закладкой наиболее широко применяются горизонтальные слои. На рис. 1.6 пред­ставлен вариант этой системы разработки с сухой закладкой.

В представленном варианте системы разработки горизонтальными слоями подготовка блока заключается в проведении откаточного и вентиляционного штреков, а также блоковых восстающих, по которым осуществляются спуск закладочного материала и отвод исходящей струи воздуха. Восстающие обо­рудованы ходовым отделением. По мере отбойки руды, осуществляемой в восходящем порядке, в середине блока в закладывае­мом пространстве выкрепляют рудоспуски с ходовым отделе­нием, по которому поступает свежая струя воздуха.

Отбойка руды осуществляется слоями толщиной 2-3 м. Шпуры бурят вертикально или горизонтально ручными, телескопными или колонковыми перфораторами. Для предотвращения смешивания руды с закладочным материалом перед отбойкой на поверхность закладки укладывают настил из конвейер­ной ленты, металлических листов или набрызгбетона толщиной 10-15 см. Доставка отбитой руды к рудоспуску производится скрепером. После уборки руды разбирают настил (за исключе­нием набрызгбетона), наращивают рудоспуски и приступают к закладочным работам. Сухой сыпучий материал, поступающий по закладочному отделению восстающего, размещают в слое с помощью того же оборудования, которое используется для доставки руды. Закладка служит для поддержания боков очистного пространства, а поверхность ее является платформой для размещения оборудования и рабочих. При применении литой твердеющей закладки выемка слоев может осуществляться в нисходящем порядке.

Рис. 1.6. Система разработки горизонтальными слоями с закладкой:

1 — откаточный штрек; 2 — ходовое отделение восстающего; 3 — закладочное отделение; 4 — скрепер; 5 — скреперная лебедка; 6 — рудоспускное отделение восстающего; 7 — настил; 8—закладочный массив; 9 — вентиляционный штрек

Система разработки горизонтальными слоями может применяться при любых мощности и углах падения рудных залежей, но чаще при разработке крутых жил и месторождений большой мощности. Руда должна быть устойчивой или средней устойчивости, ценной, чтобы компенсировать затраты на закладку. Боковые породы могут быть неустойчивыми.

Системы разработки с закладкой являются более трудоем­кими по сравнению с системами предыдущих классов, но обеспечивают минимальные потери и разубоживание руды, а также сохранность поверхности, особенно при ведении работ с твердеющей закладкой.

Наряду с традиционной технологией добычи руд, основанной на разрушении рудного массива различными способами, применяют скважинную технологию, к которой относятся растворение солей, выплавка серы, выжигание серы под землей до сернистого газа, подземная гидродобыча и выщелачивание металлов.

Системы разработки с магазинированием руды

Отличительная особенность этих систем заключается в том, что выработанное пространство блока в процессе его отработки заполняется отбитой рудой. Ввиду того, что она занимает больший объем, чем в массиве, необходимо до 30 % руды по мере отбойки выпускать на откаточный горизонт, оставляя под кров­лей свободное рабочее пространство высотой около 2 м.

По окончании отбойки в блоке производят общий выпуск руды, выработанное пространство остается открытым, реже заполняется закладкой или подвергается обрушению.

Как и при системах с открытым очистным пространством, для поддержания вмещающих пород оставляют междуэтажные и междукамерные целики, безрудные участки или применяют закладку. Отбитая руда препятствует отслаиванию вмещающих пород в процессе выемки блока и служит основанием (платформой) для рабочих очистного забоя.

Системы с магазинированием применяются в крепких устой­чивых рудах и устойчивых вмещающих породах. Руда не дол­жна слеживаться, окисляться и самовозгораться. Угол падения рудного тела должен быть не менее 55-600 .

Широкое распространение эти системы разработки получили при разработке крутопадающих жильных месторождений с мощ­ностью от 0,5 до 5 м и выдержанным залеганием.

Ценность руды влияет только на выбор варианта: при разработке ценных руд для сокращения потерь разработку ведут без оставления междуэтажных и между блоковых целиков, заменяя их распорной крепью.

Удельный вес систем с магазинированием при разработке жильных месторождений составляет около 50%.

По способу отбойки руды системы разделяются на три группы: со шпуровой отбойкой из магазина; с отбойкой руды из специальных выработок; с отбойкой руды глубокими скважинами.

Наиболее многообразной является первая группа систем, в которой по форме и способу образования магазина можно выделить два вида: системы с полным магазинированием - отбитая руда заполняет выработанное пространство на всю высоту этажа или блока; системы с частичным магазинированием — отбитая руда заполняет этаж только на часть высоты блока (слой, подэтаж).

Вторая подгруппа является переходной между системами с магазинированием и открытым очистным пространством и может быть отнесена к любому из этих классов.

Системы со шпуровой отбойкой из магазинов

На рис. 2.1 показан вариант этой системы при разработке крутопадающих рудных тел. Откаточный штрек 1 располагается в рудном теле посредине мощности его или по контакту с лежачим блоком.

В крепкой руде штрек проводят без крепи и его кровле придают форму свода. Вентиляционным служит откаточный штрек 2 вышележащего этажа. Высота этажа 50—60 м.

Этаж по простиранию разделяют на выемочные блоки длиной от 40 до 100 м восстающими, расположенными в междука­мерных целиках по их оси. Восстающие закрепляют распорками и через 4-6 м по вертикали сбивают с камерами ходками 3. Иногда посредине блока большой длины проходят дополнительный восстающий для обеспечения удобной доставки в камеру материалов и оборудования и улучшения проветри­вания очистных забоев. При наличии его фланговые восстающие проходят меньшим сечением и в них устраивают только одно лестничное отделение.

Расстояние между рудоспусками не превышает 5-6 м, так как при увеличении расстояния происходит неравномерное опускание руды в магазине.

Очистная выемка блока состоит из четырех стадий: подсечки магазина и образования в его подошве воронок; отбойки рудыдо уровня подштрекового целика и магазинирование ее; выпуска руды и выемки междуэтажных и междукамерных целиков.

Подсечку и образование воронок производят сразу по всей длине блока. В месторождениях тонких рудных залежей для этого проводят подсечный штрек 4.

Очистную выемку ведут потолкоуступным забоем с длиной уступов 10-12 м и высотой 1,5—2 м пли сплошным забоем по всей длине блока.

Уступы обуривают восходящими или горизонтальными шпу­рами с поверхности замагазинированной руды. Одновременно разбуривают крупные куски на поверхности отбитой руды.

Цикл очистной выемки, включающий бурение и взрывание шпуров, проветривание, выпуск излишков руды и оборку кровли, продолжается обычно две или три смены. Количество выпускаемой в каждом цикле руды зависит от ее разрыхления. После выпуска высота рабочего пространства находится в пределах 1,8-2,5 м.

При достижении очистной выемкой границы подштрекового целика, начинают выпуск из блока всей замагазинированной руды. Его ведут равномерно из всех люков. Целики под и над вентиляционным штреком извлекают после окончания закладки блока, так как верхний штрек па время закладочных работ необходимо сохранить. Если выработанное пространство не закладывают, выемку междуэтажных целиков можно производить одновременно с выпуском руды. Целики не извлекают только при добыче малоценных руд.

Рис. 2.2 Система разработки с магазинированием и сплошной выемкой

Для удобства отработки целиков откаточный штрек можно проводить в породах лежачего бока. В этом случае над наклонными рудоспусками располагают подсечной рудный штрек из которого в местах сопряжения его с рудоспусками разбуривают воронки. Сокращение потерь руды и удобство работ компенсируют перерасходы по проведению полевых штреков и ру­доспусков.

Для предотвращения динамических ударов в выработанное пространство обрушают вмещающие породы шпурами глубиной до 6 м, пробуренными из коротких восстающих и рассечек.

При разработке жил небольшой мощности (до 1,5-2 м), особенно с ценной рудой, вместо оставления междуэтажных и междукамерных целиков устанавливают крепь в штреке и вос­стающих. Устранение потерь руды в целиках, сокращение проходки большого числа рудоспусков по подсечке блока, образованию воронок, проведению восстающих с ходками являются основным преимуществом этого варианта системы (рис. 2.2).

Для подготовки блока проходят откаточный штрек 1 и вос­стающие 2. Первый слой извлекают одновременно с проведением откаточного штрека или после его проведения. В первом случае проводят штрек высотой от 3 до 5 м, а затем на высоте 2 м устанавливают распорки с укладкой на них прочного на­стила. В настиле через 3-5 м устраивают люки. Восстающие имеют два отделения, закрепленные распорной или срубовой крепью.

Порядок очистной выемки аналогичен рассмотренному выше. Сплошная форма забоя позволяет создать широкий фронт бу­рения, более удобные и безопасные условия для передвижения рабочих и обеспечивает высокую производительность труда забойных рабочих.

Подштрековый целик 3 вынимают перед окончательным выпуском руды из блока путем обуривания почвы штрека 4 участками длиной по 8-10 м. При необходимости сохранения штрека подштрековый целик не отрабатывают.

Затраты труда на выпуск составляют иногда 50-60 % от всех затрат на очистную выемку. Выпуск руды через люки, расположенные через 2-2,5 м один от другого, позволяет снизить трудоемкость выпуска за счет устранения затрат на разравнивание руды в камере, ликвидацию зависаний и ремонт люков.

Расчет параметров шпуровой отбойки

1. Удельный расход ВВ определяется по формуле

, где

- теоретический удельный расход ВВ, кг/м³;

- коэффициент относительной работоспособности ВВ;

- коэффициент, учитывающий выемочную мощность.

Таблица 1

Теоретический удельный расход ВВ при различных коэффициентах

крепости руды

4 6 8 10 12 14 16 20
,кг/м³ 0,4 0,49 0,61 0,74 0,9 1,09 1,31 1,61

Значения коэффициента относительной работоспособности ВВ, рекомендуемых для применения на подземных рудниках, приведены ниже.

Таблица 2

Тип ВВ Тип ВВ
Аммонал водоустойчивый 0,9 Гранулит АС-4 0,98
Аммонал скальный №3 0,8 Гранулит М 1,13
Аммонит №6-ЖВ 1 Детонит М 0,82
Аммонит скальный №1 0,8 Динафталит 1,08
Гранулит АС-8 0,89 Игданит 1,13

Таблица 3

Значения коэффициента, учитывающего выемочную мощность,

3,5 3,0 2,5 2,0 1,75 4,5 1,25 1
1 1,15 1,37 1,6 2,0 2,3 3,0 3,8

2. Линию наименьшего сопротивления (л.н.с.) при отбойке с двумя обнаженными поверхностями определяют по формуле:

, где

d - диаметр шпура, м;

- плотность заряжания, кг/м³;

=0,6÷0,72 – коэффициент заполнения шпура;

m - коэффициент сближения зарядов;

При электрическом взрывании - m=1÷1,5, при огневом - m=1,2÷1,5;

q- удельный расход ВВ, кг/м³.

3. Расстояние между шпурами в ряду определяют по формуле:

, где

=0,8÷0,95 – коэффициент, учитывающий забойку в шпуре.

Упрощенно расстояние между шпурами равно:

4. Длина шпура определяется из выражения:

, где

- уходка забоя за цикл или толщина отбиваемого слоя, м;

- коэффициент использования шпура (к.и.ш);

- угол наклона шпуров к плоскости забоя;

5. Объем отбойки в забое находится из выражения:

, где

M - мощность залежи или выемочная мощность, м;

- число взрываемых шпуров;

С учетом выражения для получим:

6. Число шпуров в ряду определяется по формуле (округляется до ближайшего целого):

, где

- расстояние от стенок очистного пространства до оконтуривающих шпуров.

7. Общая длина шпуров, м:

8. Длина шпуров на 1 м³ отбойки руды, м:

9. Выход руды с 1м шпура, м³/м:

10. Общий расход ВВ на отбойку, кг:

, где

- масса заряда ВВ, приходящаяся на 1м шпура, кг/м;

- коэффициент плотности заряжания шпура;

Таблица 4

Масса заряда ВВ, приходящаяся на 1м шпура при различных диаметрах шпура

d, мм 32 34 36 38 40 42 44
0,658 0,968 1,086 1,21 1,34 1,478 1,622
d, мм 46 48 50 55 60 65 70
1,772 1,93 2,094 2,534 3,015 3,539 4,104

11. Удельный расход ВВ на отбойку (реальный для принятых условий), кг/м³, определяется по формуле:

Решение (15 вариант)

Задание для расчета

вар.

M,

м

,

град.

f

град.

Система

разработки

м

d,

м

Тип ВВ
15. 2,5 90 8 14

Система разработки горизонтальными слоями по простира-нию с креплением и закладкой.

1.9 8 42 1100 Аммонал скал. №3

1. Удельный расход ВВ определяется по формуле

, т.к

по табл. 1

2. Линию наименьшего сопротивления (л.н.с.) при отбойке с двумя обнаженными поверхностями определяют по формуле:

3. Расстояние между шпурами в ряду определяют по формуле:

4. Длина шпура определяется из выражения:

5. Объем отбойки в забое находится из выражения:

6. Число шпуров в ряду определяется по формуле (округляется до ближайшего целого):

7. Общая длина шпуров, м:

8. Длина шпуров на 1 м³ отбойки руды, м:

9. Выход руды с 1м шпура, м³/м:

10. Общий расход ВВ на отбойку, кг:

11. Удельный расход ВВ на отбойку (реальный для принятых условий), кг/м³, определяется по формуле:

Список литературы

Разработка рудных и нерудных месторождений. М. И. Агошков

Оценить/Добавить комментарий
Имя
Оценка
Комментарии:
Хватит париться. На сайте FAST-REFERAT.RU вам сделают любой реферат, курсовую или дипломную. Сам пользуюсь, и вам советую!
Никита16:15:28 04 ноября 2021
.
.16:15:27 04 ноября 2021
.
.16:15:25 04 ноября 2021
.
.16:15:23 04 ноября 2021
.
.16:15:22 04 ноября 2021

Смотреть все комментарии (20)
Работы, похожие на Реферат: Основные параметры шпуровой отбойки

Назад
Меню
Главная
Рефераты
Благодарности
Опрос
Станете ли вы заказывать работу за деньги, если не найдете ее в Интернете?

Да, в любом случае.
Да, но только в случае крайней необходимости.
Возможно, в зависимости от цены.
Нет, напишу его сам.
Нет, забью.



Результаты(286767)
Комментарии (4153)
Copyright © 2005-2021 HEKIMA.RU [email protected] реклама на сайте