Банк рефератов содержит более 364 тысяч рефератов, курсовых и дипломных работ, шпаргалок и докладов по различным дисциплинам: истории, психологии, экономике, менеджменту, философии, праву, экологии. А также изложения, сочинения по литературе, отчеты по практике, топики по английскому.
Полнотекстовый поиск
Всего работ:
364139
Теги названий
Разделы
Авиация и космонавтика (304)
Административное право (123)
Арбитражный процесс (23)
Архитектура (113)
Астрология (4)
Астрономия (4814)
Банковское дело (5227)
Безопасность жизнедеятельности (2616)
Биографии (3423)
Биология (4214)
Биология и химия (1518)
Биржевое дело (68)
Ботаника и сельское хоз-во (2836)
Бухгалтерский учет и аудит (8269)
Валютные отношения (50)
Ветеринария (50)
Военная кафедра (762)
ГДЗ (2)
География (5275)
Геодезия (30)
Геология (1222)
Геополитика (43)
Государство и право (20403)
Гражданское право и процесс (465)
Делопроизводство (19)
Деньги и кредит (108)
ЕГЭ (173)
Естествознание (96)
Журналистика (899)
ЗНО (54)
Зоология (34)
Издательское дело и полиграфия (476)
Инвестиции (106)
Иностранный язык (62791)
Информатика (3562)
Информатика, программирование (6444)
Исторические личности (2165)
История (21319)
История техники (766)
Кибернетика (64)
Коммуникации и связь (3145)
Компьютерные науки (60)
Косметология (17)
Краеведение и этнография (588)
Краткое содержание произведений (1000)
Криминалистика (106)
Криминология (48)
Криптология (3)
Кулинария (1167)
Культура и искусство (8485)
Культурология (537)
Литература : зарубежная (2044)
Литература и русский язык (11657)
Логика (532)
Логистика (21)
Маркетинг (7985)
Математика (3721)
Медицина, здоровье (10549)
Медицинские науки (88)
Международное публичное право (58)
Международное частное право (36)
Международные отношения (2257)
Менеджмент (12491)
Металлургия (91)
Москвоведение (797)
Музыка (1338)
Муниципальное право (24)
Налоги, налогообложение (214)
Наука и техника (1141)
Начертательная геометрия (3)
Оккультизм и уфология (8)
Остальные рефераты (21692)
Педагогика (7850)
Политология (3801)
Право (682)
Право, юриспруденция (2881)
Предпринимательство (475)
Прикладные науки (1)
Промышленность, производство (7100)
Психология (8692)
психология, педагогика (4121)
Радиоэлектроника (443)
Реклама (952)
Религия и мифология (2967)
Риторика (23)
Сексология (748)
Социология (4876)
Статистика (95)
Страхование (107)
Строительные науки (7)
Строительство (2004)
Схемотехника (15)
Таможенная система (663)
Теория государства и права (240)
Теория организации (39)
Теплотехника (25)
Технология (624)
Товароведение (16)
Транспорт (2652)
Трудовое право (136)
Туризм (90)
Уголовное право и процесс (406)
Управление (95)
Управленческие науки (24)
Физика (3462)
Физкультура и спорт (4482)
Философия (7216)
Финансовые науки (4592)
Финансы (5386)
Фотография (3)
Химия (2244)
Хозяйственное право (23)
Цифровые устройства (29)
Экологическое право (35)
Экология (4517)
Экономика (20644)
Экономико-математическое моделирование (666)
Экономическая география (119)
Экономическая теория (2573)
Этика (889)
Юриспруденция (288)
Языковедение (148)
Языкознание, филология (1140)

Лабораторная работа: Использование поляриметрии для определения концентрации оптически активных веществ

Название: Использование поляриметрии для определения концентрации оптически активных веществ
Раздел: Рефераты по химии
Тип: лабораторная работа Добавлен 14:14:20 06 июля 2011 Похожие работы
Просмотров: 1756 Комментариев: 19 Оценило: 3 человек Средний балл: 5 Оценка: неизвестно     Скачать

Лабораторная работа

ИСПОЛЬЗОВАНИЕ ПОЛЯРИМЕТРИИ ДЛЯ ОПРЕДЕЛЕНИЯ КОНЦЕНТРАЦИИ ОПТИЧЕСКИ АКТИВНЫХ ВЕЩЕСТВ


Приборы и принадлежности : Поляриметр СМ-3, кювета
с желатином, глюкоза и сахароза.


Цель работы: изучить явления поляризации света и оптической активности. Изучить устройство поляриметра и научиться работать с ним. Приобрести начальные умения в определении концентрации оптически активных веществ с помощью поляриметра.

Краткая теория

Оптической активностью называется вращение плоскости поляризации света при прохождении через оптически активные вещества. К таковым относятся углеводы, аминокислоты, белки, антибиотики и многие лекарственные вещества. Метод исследования вещества, основанный на использовании явления вращения плоскости поляризации света, называется поляриметрией. Поляриметрия широко применяется в медицине, биофизике и фармации для определения концентрации оптически активных веществ в растворе, для определения чистоты лекарственных препаратов, изучения превращений биополимеров.
Свет представляет собой электромагнитную волну. Она рас-пространяется вдоль вектора скорости распространения волны c, абсолютная величина которого равна скорости света в данной среде. Электромагнитная волна характеризуется напряженностями слагающих ее электрического поля (Е) И магнитного поля (Н). В плоской волне все три вектора взаимно перпендикулярны (рис. 7.1). Поскольку вектора Е и Н перпендикулярны направлению распространения, электро-магнитные волны (и соответственно свет) являются поперечными.

Рис. 7.1. Взаимная ориентация векторов и в плоской волне: L – плоскость поляризации (а); проекция вектора напряженности электрического поля на плоскость M, перпендикулярную L, для плоскополярзованного света (б); то же для естественного света (в); проекция вектора напряженности элекстрического поля Е на оси x и z - Ex и Ez (г)

Плоскость L, проходящую через вектор напряженности электрического поля E и вектор скорости распространения волны с, называют плоскостью поляризации. Волна, у которой вектор напряженности электрического поля Е лежит в одной плоскости (плоскости поляризации), называют плоскополяризованной (рис. 7.1). Ряд веществ обладает разными оптическими свойствами для разных поляризаций, например, свет с одной поляризацией проходит почти полностью, а с прочими - сильно поглощается. Такими свойствами обладает так называемая поляроидная пленка.
Если через такую пленку (назовем ее анализатор) рассматривать естественный свет, который излучает Солнце или ряд других источников света, то при любом повороте такой пленки в плоскости, перпендикулярной лучу, интенсивность проходящего света не изменяется. Если же на пути этого луча предварительно поставить еще одну такую пленку (ее называют поляризатор) и повторить эксперимент, то окажется, что дважды за период вращения анализатора измеряемая интенсивность I света меняется от нуля до максимального значения I0 и подчиняется закону Малюса:
, (7.1)
где φ - угол вращения, отсчитываемый от положения с максимальной интенсивностью света (рис. 7.1). Таким образом,
поляризатор - это устройство, которое из естественного света делает поляризованный.
Плоскость, в которой у поляризованного света лежит вектор напряженности электрического поля Е, называется главной. В качестве поляризатора, кроме поляроидной пленки, можно использовать специальные оптические устройства (призму Николя и др.).
Механизм действия поляризатора состоит в следующем. Ре-альные электромагнитные волны есть сумма волн, излученных отдельными атомами. В естественном свете, который излучает Солнце и ряд других источников в данном направлении, если смотреть навстречу лучу, то у каждой волны вектор напряженности электрического поля Е лежит в своей плоскости (рис. 7.1в). Пусть поляризатор пропускает только свет, у которого плоскость поляризации совпадает с осью z. Тогда вектор Е с амплитудой Е0 можно представить как сумму двух векторов - его проекций на ось х - Ех и на ось z - . Из них сквозь поляризатор пройдет только вторая. Поскольку интенсивность I пропорциональна квадрату напряженности поля, возведя Ez в квадрат, получим закон Малюса.
Вращением плоскости поляризации называется поворот этой плоскости при прохождении через вещество. Вещества, способные вращать плоскость поляризации, называются оптически активными. К ним относятся органические асимметричные молекулы, лишенные зеркальной симметрии. Угол вращения a зависит от длины волны, природы вещества, его концентрации с в растворе, толщины слоя раствора:
, (7.2)
где [a0]D CL - удельное вращение. В этой формуле концентрация C измеряется в единицах г/100 мл раствора; толщина слоя L - в дм. Соответственно величина [a0]DCL имеет размерность: град/((г/100 мл р-ра) • дм). Нижний индекс D в ее обозначении указывает, что эта величина измерена на длине волны 589 нм, соответствующей оранжевому излучению D-линии натрия. Указание на длину волны связано с тем, что величина удельного вращения на длине волны .
Используя формулу (7.2), можно определить концентрацию C:
. (7.3)
Одни вещества вращают плоскость поляризации по часовой стрелке, если смотреть навстречу лучу, выходящему из раствора, их называют правовращающими, другие - против часовой стрелки, их называют левовращающими. Соответственно значения [α0]D могут быть обоих знаков.

Применение поляриметрии в медицинских и биофизических исследованиях:

-измерение концентрации сахаров в растворах;
-измерение степени спиральности белков;
-исследование переходов спираль-клубок в биополимерах;
-контроль денатурации и ренатурации биополимеров под влиянием температуры и различных химических веществ.
Схема поляриметра, основные части, их назначение Поляриметр круговой СМ-3 предназначен для измерения угла вращения плоскости поляризации оптически активными прозрачными растворами (рис. 7.2).

Рис. 7.2. Оптическая схема поляризатора; И – источник света;

СФ – светофильтр; П – поляризатор; ФП – фазовая пластинка; К – кювета с исследуемым веществом; А – анализатор с отчетным устройством; О – окуляр

Половина пучка поляризованного света перекрывается фазовой пластинкой (ФП). Последняя нужна, чтобы обеспечить полутеневой отсчет, который существенно повышает точность измерений (рис. 7.3).

Рис. 7.3. Принцип полутеневого отсчета: кривые – зависимости интенсивности света, прошедшего через поляризатор (кривая 1) и поляризатор + фазовая пластинка (кривая 2) при изменении угла поворота анализатора φ от 0 до π. В кружках – изображения яркости полей зрения при разных углах поворота анализатора: А – φ=φА – неправильная настройка на максимальную яркость; В и Г – расстройки: φВ<φБ – угол вращения меньше угла с минимальной яркостью φБ; φГ> φБ – угол вращения больше угла с минимальной яркостью φБ. Белый цвет – большая яркость, черный – малая

Принцип полутеневого отсчета используется в связи с тем, что глаз человека с очень большой точностью сравнивает яркости двух соседних полей зрения и с гораздо меньшей точностью позволяет оценить абсолютную яркость одного поля зрения. Представим себе, что нужно найти угол, при котором поляризатор и анализатор скрещены, т.е. анализатор повернут относительно анализатора на 90°. При изменении угла поворота анализатора φ от 0 до p соответствии с законом Малюса (7.1) интенсивность прошедшего света меняется по закону: (кривая 1). Следовательно, надо искать на этой кривой минимум, в районе которого интенсивность меняется очень слабо даже при большом изменении угла.
Пропустим половину пучка света кроме поляризатора еще через фазовую пластинку, тогда интенсивность будет изменяться по такому же закону, но со сдвигом фазы (кривая 2). Сведем яркости обоих полей зрения вместе так, как это сделано в поляриметре, т.е. в виде двух половин одного круга. При вращении анализатора на угол φ от 0 до k яркости полукругов совпадают два раза: когда угол поворота анализатора φ = φА и яркости максимальны и при φ = φБ - когда они минимальны. Для правильной настройки используют второй случай с минимальными значениями яркости. Видно, что ес-ли угол вращения меньше угла с правильной настройкой φВ < φБ, или, наоборот, больше (φг > φБ), яркости соседних полей резко меняются в противоположном направлении. Это облегчает правильную настройку - поиск угла вращения φБ.

Выполнение работы

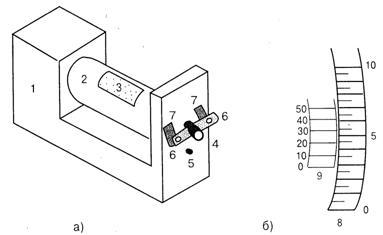
Задание 1. Ознакомление с работой поляриметра СМ-3. Конструкция поляриметра схематично представлена на рис. 7.4.
В корпусе прибора (1) расположены источник света, светофильтр, поляризатор, фазовая пластинка. К нему крепится кюветное отделение (2) с поворачивающейся крышкой (3), через окуляр (4) наблюдается изображение полутеневого отсчета
(рис. 7.3). Ручкой 5 поворачивают анализатор. Через линзы отсчетного устройства (6) рассматриваются шкалы (7) отсчетного устройства.

Рис. 7.4. (а) - оптическая схема поляриметра СМ-3а:

1 – корпус; 2 – кюветное отделение; 3 – крышка кюветного отделения; 4 – окуляр; 5 – вращающаяся рукоятка анализатора; 6 – линзы отсчетного устройства; 7 – шкалы отсчетного устройства; схема нониуса (б): 8 – лимб; 9 – шкала нониуса


Две шкалы отсчетного устройства используются для облегчения измерений растворов лево - и правовращающих веществ. Для правовращающих веществ (веществ с положительным удельным вращением [α0]D) используется левая шкала, при этом углы вращения составляют 0-35°. Для левовращающих веществ (веществ с отрицательным удельным вращением [α0]D) также используется левая шкала, при этом углы вращения составляют 360-325° - величина угла вращения равна отсчету по левой шкале минус 360°. В отсчетном устройстве используется нониус.
Нониус - это устройство, состоящее из двух расположенных рядом шкал и служащее для повышения точности отсчета. На рис. 7.4 показана схема отсчета по правой шкале - для левой отсчет производится аналогично. Первой шкалой является круговой лимб (8) (на рисунке показана его часть), второй шкалой -шкала нониуса (9).
Отсчет показания анализатора производится следующим образом. Сначала находят число минимального количества градусов (с точностью до 0,5°), на которое указывает нуль нониуса - на рис. 7.4 это 2,5°. Затем к этому значению прибавляют десятые и сотые доли градуса, соответствующие тому штриху нониуса, который точнее всего совпадает с каким-либо штрихом лимба (вся шкала нониуса составляет 0,50°). Например, на рис. 46 таким делением на шкале нониуса является 20, т.е. 0,20°. Таким образом, на рисунке положение анализатора характеризуется углом φ = 2,5° + 0,20°.

Порядок работы на приборе
1. Включите поляриметр в сеть. Выключателем «сеть», рас-положенным на задней стенке прибора, включите прибор. Через 5 мин. прибор готов к работе.
2. Вращением втулки на окуляре (4) установите окуляр так, чтобы видеть резкое изображение линии раздела правой и левой части поля сравнения.
3. Вращением рукоятки (5) добейтесь одинаковой яркости обоих полей зрения при наименьшей их освещенности.
4. Запишите соответствующий отсчет вращения φ0 без образца в таблицу. Поверните немного анализатор и повторите измерения по п.3. Всего проделайте три измерения: φ01, φ02, φ03 и найдите среднее значение угла вращения без образца φ0 ср.
5. Откройте крышку (3) кюветного отделения (2) и поместите в него кювету с раствором фруктозы.
6. Проделайте действия по п. 2-4 и по результатам трех измерений угла вращения φ1, φ2, φ3 найдите среднее значение этой величины φср, а также угол вращения плоскости поляризации раствором глюкозы α = φср - φ0. Данные занесите в таблицу.

Вещество

Начальная установка угла φ0 , град

Угол враще­ния с образ­цом f, град

Угол враще­ния плоскос­ти поляриза­ции ex , град

Концентрация с, г/100 мл р-ра

Сахароза

φср

φср

Глюкоза

φ0 ср

φср


Вещество Начальная установка угла φ0, град Угол вращения с образцом f, град Угол вращения плоскости поляризации ex, град Концентрация с, г/100 мл р-ра
Сахароза φср φср
Глюкоза φ0 ср φср

Задание 2. Определение концентрации оптически активных веществ в растворе.
1. По описанной выше методике измерьте углы вращения плоскости поляризации для глюкозы и сахарозы и занесите их в таблицу.
2. Зная удельные вращения вещества, определите концентрации исследованных растворов глюкозы и сахарозы.
3. Рассчитайте относительную погрешность измерения концентрации
,
где ΔC, Δα, ΔL = 0,01 дм - абсолютные ошибки измерений кон-центрации с, угла вращения плоскости поляризации и длины кюветы соответственно. Абсолютная погрешность для угла находится по формуле
, (7.4)
где tp,n - коэффициент Стьюдента. Для числа измерений каждой из величин n = 3 и доверительной вероятности р = 0,95 ве¬личина tp,n = 4,3.
Задание 3. Наблюдение конформационных переходов
α-спираль - статистический клубок.
Для определения конформационного состояния белка исполь-зуется величина удельного вращения на одной длине волны.
Нативная структура белка соответствует α-спирали. При температуре 35-40° С происходит разрыв внутримолекулярных водородных связей и α-спиральная конформация разру¬шается. Тогда макромолекулу можно представить как статистический клубок. В конформации клубка макромолекулы белков и полипептидов не обладают пространственно упорядо¬ченной вторичной структурой.
Способность вращать плоскость поляризации плоскополяризованного света свойственна асимметрическим молекулам; наиболее общий тип асимметрии - асимметрия, создаваемая атомами углерода с четырьмя различными заместителями. Спиральные формы создают дополнительную асимметрию молекул. Каждый тип пространственной упаковки молекул белков обладает определенной способностью вращать плоскость поляризации плоскополяризованного света. В связи с этим измерение вращательной способности стало широко распространенным методом, применяющимся для исследования конформации белков, а также других биополимеров.
Удельное оптическое вращение белков в видимой и УФ об¬ластях спектра при температуре перехода α-спираль-статистический клубок обычно уменьшается по абсолютной величине, оставаясь по знаку отрицательным.
В данной работе для наблюдения конформационных темпе-ратурных переходов желатина используется измерение удельного вращения желатина в растворе при длине волны 589 нм. Желатин обладает способностью к ренатурации, при снижении температуры ниже 30° С происходит частичное восстановление спиральной конформации молекул. Степень спирализации увеличивается с уменьшением температуры раствора до 8-10° С. При достижении 8° С желатин практически полностью восстанавливает α-спиральную конформацию.
Кювету с желатином, выдержанным в течение 2 ч при
+6-8° С, поместите в поляриметр. Запишите отсчет по основной школе и нониусу в таблицу:

Операция

Отсчет по основной шкале и нониусу

Начальная установка анализатора (без трубки с раствором)

1.

2.

3.

Среднее =

Установка анализатора при помещении в поляриметр трубки с раствором желатина при температуре около 6° С

1. 1.

2. 2.

3. 3.

Среднее = Среднее

=

Установка анализатора при помещении в поляриметр трубки с раствором желатина при температуре около 6° С

1.

2.

3.

Среднее =

Далее поместите кювету с исследуемым раствором в термостат с температурой +45° С. После 20 мин. нагревания кювету снова поместите в поляриметр и снимите отсчет по прибору. Результаты занесите в таблицу.
По полученным углам поворота рассчитайте удельное вращение раствора желатина при температурах около 6°С и
40° С, если C = 1 г/100 мл р-ра, L= 2 дм и сделайте вывод о наличии в интервале 6–45° С конформационного превращения желатина.
Снова поместите кювету с желатином в холодильник. Через 20 мин. определите значение φ3 ср, по которому рассчитайте угол вращения раствора желатина φ3, как указано выше. Сделайте вывод о процессе ренатурации, происходящем в растворе желатина.
Задание 4. Решите задачи.
Задача 1. Рассчитайте концентрацию глюкозы в растворе, если при длине кюветы 20 см угол вращения плоскости поляризации составляет 5,28 град (воспользуйтесь таблицей).
Задача 2. 100 мл раствора содержат 5 г глюкозы и 6 г сахарозы. Каков угол вращения плоскости поляризации в кювете длиной 10 см?
Задача 3. 200 мл раствора содержат 10 г глюкозы и 10 г фруктозы. Каков угол вращения плоскости поляризации в кювете длиной 20 см?

Контрольные вопросы и задания

1. Что такое оптическая активность?
2. Объясните понятие поляриметрии.
3. Сформулируйте закон Малюса.
4. Какие существуют способы получения плоско-поляризованного света?
5. Как применяется поляриметрия в медицинских и био-физических исследованиях?

Обновлено 02.06.2010 09:11

Оценить/Добавить комментарий
Имя
Оценка
Комментарии:
Хватит париться. На сайте FAST-REFERAT.RU вам сделают любой реферат, курсовую или дипломную. Сам пользуюсь, и вам советую!
Никита19:23:32 04 ноября 2021
.
.19:23:31 04 ноября 2021
.
.19:23:29 04 ноября 2021
.
.19:23:28 04 ноября 2021
.
.19:23:26 04 ноября 2021

Смотреть все комментарии (19)
Работы, похожие на Лабораторная работа: Использование поляриметрии для определения концентрации оптически активных веществ

Назад
Меню
Главная
Рефераты
Благодарности
Опрос
Станете ли вы заказывать работу за деньги, если не найдете ее в Интернете?

Да, в любом случае.
Да, но только в случае крайней необходимости.
Возможно, в зависимости от цены.
Нет, напишу его сам.
Нет, забью.



Результаты(287793)
Комментарии (4159)
Copyright © 2005-2021 HEKIMA.RU [email protected] реклама на сайте