Тольяттинский политехнический институт
Кафедра «Промышленная электроника»
Курсовая работа по МАРЭС
ЭЛЕКТРОДИНАМИЧЕСКИЙ ПРЕОБРАЗОВАТЕЛЬ ЭНЕРГИИ С ТИРИСТОРНОЙ СХЕМОЙ ПИТАНИЯ
вариант 1114
Студент: Глушенков М.С.
Группа: Э-305
Преподаватель: Кудинов А.К.
Тольятти 1998 г.
Содержание
1. Описание объекта исследования
2. Исходные данные
3. Задание для курсовой работы
4. Составление математической модели
5. Методика расчета искомых параметров и характеристик
6. Алгоритм программы и программа расчета
7. Результаты расчета и вывод
1. Описание объекта исследования
Объектом исследования является электродинамический преобразователь энергии с тиристорной схемой питания, который может применяться в вибростендах, при виброакустическом просвечивании земной коры, в медицине и других отраслях техники.
1.1 Электродинамический преобразователь
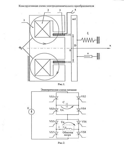
Схематично электродинамический преобразователь изображен на рис.1. Он состоит из магнитопровода 1 с обмоткой подмагничивания 2 цилиндрической формы. В кольцевом воздушном зазоре магнитопровода помещается подвижная обмотка якоря 3, имеющая два вывода 4 для подключения к схеме питания. Обмотка подмагничивания 2 запитывается постоянным потоком и может быть заменена постоянным магнитом. Постоянный поток Ф0
, созданный этой обмоткой пронизывает воздушный зазор и помещенную в него обмотку якоря 3. Обмотка якоря 3 жестко связана с нагрузкой, состоящей в общем случае из массы m1
, пружины жесткостью x и элемента вязкого трения с коэффициентом n
1.2 Схема питания преобразователя
Тиристорная схема питания преобразователя представлена на рис.2. Она состоит из источника питающего напряжения Е и двух тиристорных мостов – коммутирующего (на тиристорах VS1…VS4) и реверсивного (на тиристорах VS5…VS8). Задача схемы заключается в формировании в обмотке якоря преобразователя переменного тока заданной частоты. Частота может быть как фиксированной, так и изменяться по заданному закону. Коммутирующий мост обеспечивает формирование в заданные моменты времени фронтов и спадов импульсов тока, а реверсивный - чередующееся изменение направления импульсов тока в нагрузке.
Схема работает следующим образом.
В момент времени t1
подаются отпирающие импульсы на управляющие выводы тиристоров VS1, VS4, VS5, VS8. Ток источника протекает по контуру Е-VS1-C-VS4-VS5-H-VS8. (Здесь Н – нагрузка). При этом формируется фронт импульса тока нагрузки (рис.3). В момент t2
включается тиристор VS3, при этом VS4 выключается, т.к. к нему прикладывается напряжение конденсатора С в обратном направлении. Начиная с этого момента ток протекает по контуру Е-VS1-VS3-VS5-H-VS8. При этом формируется плоская часть импульса тока нагрузки (рис.3). В момент времени t3
включается тиристор VS2, при этом VS1 выключается, т.к. к нему во встречном направлении прикладывается напряжение конденсатора С. Начиная с этого момента ток замыкается по контуру Е-VS2-C-VS3-VS5-H-VS8 и формируется спад импульса тока нагрузки. В момент времени t5
ток становится равным нулю и тиристоры VS2, VS3, VS5, VS8 естественным образом выключаются. На этом заканчивается формирование положительной полуволны импульса тока. В момент времени t6
вновь подаются отпирающие импульсы на тиристоры VS1, VS4 коммутирующего моста и другую пару тиристоров VS6, VS7 реверсивного моста. Последовательность включения тиристоров коммутирующего моста остается прежней и в нагрузке формируется аналогичный первому импульс тока, имеющий противоположное направление. Важно иметь в виду, что временные интервалы t3
…t4
и t5…
t6
не могут быть меньше определенной величины, определяемой свойствами тиристоров. Алгоритм управления тиристорами и пояснение работы схемы представлено на рис 3.
Алгоритм управления тиристорами.
Рис 3

2. Исходные данные
2.1 Общие для всех заданий исходные данные
Индукция магнитного поля в зазоре ................... В0
=0,93Тл
Средний диаметр обмотки якоря.......................... D=0,3 м
Число витков обмотки якоря................................. W=56
Активное сопротивление обмотки якоря.............. Ra
=0,05Ом
Емкость конденсатора коммутирующего моста.. С=53,5мкФ
Пороговое напряжение тиристоров...................... Uпор
=1,41В
Динамическое сопротивление тиристоров .......... Rдин
=0,98мОм
Время выключения тиристоров............................ tвыкл
=50мкс
Минимальная частота опорного сигнала............. fмин
=40Гц
Жесткость пружины нагрузки............................... x=4,35×107
Н/м
Коэффициент вязкого трения нагрузки ............... n=236000Н×с/м
2.2 Индивидуальное задание (вариант 1114)
ЭДС источника питания........................................ Е=10В
Индуктивность обмотки якоря.............................. La
=1,3мГн
Масса нагрузки...................................................... m1
=56,75кг
3. Задание для курсовой работы
а) Определить минимальные значения интервалов 0…t1
, 0…t2
,при которых обеспечивается заданное время выключения тиристоров.
б) При найденных значениях t1
и t2
определить:
Тпп
-время переходного процесса при включении схемы;
fмакс
-максимальную частоту работы схемы;
P(f=fmin)
, P(f=fmax)
-активные мощности, потребляемые от источника питания Е на частоте fmin
и fmax
;
IН(f=fmin)
, IН(f=fmax)
-действующие значения тока нагрузки на частоте fmin
и fmax
.
в) На одном рисунке построить графики зависимостей i(t), ua
(t), v(t), x(t) при установившемся режиме и частоте f=fmax
/2.
г) Дополнительное задание:
Исследование аварийных режимов
Промоделировать работу схемы в случае короткого замыкания нагрузки. Изобразить на графике временные диаграммы i(t),uс
(t)
Оценить и описать изменения в работе схемы при плавном уменьшении емкости С.
4. Составление математической модели
Тиристоры во включенном состоянии можно моделировать цепью из последовательно включенных источника напряжения Uпор
и сопротивления Rдин
В выключенном состоянии тиристор можно моделировать большим сопротивлением или разрывом.
При составлении уравнений электрической части в качестве уравнения обмотки якоря вибратора следует использовать выражение:

Математическая модель:
а) промежуток t1…
t2
:
:

 б) промежуток t2
…t3
: 
в) промежуток t3
…t5
(условие переключения IL
=0)

г) промежуток t5
…t6
(IL
=0;Uc
=const):

Для отрицательной полуволны знаки указаны в скобках
5. Методика расчета искомых параметров и характеристик
Для решения систем дифференциальных уравнений математической модели применяли формулы численного интегрирования Рунге-Кутта четвертого порядка, которые имеют вид:
Xi
+1
=Xi
+(K1+2K2+2K3+K4)/6,
Где:
К1=h×f[ti
,Xi
];
K2=h×f[ti
+h/2, Xi
+K1/2];
K3=h×f[ti
+h/2, Xi
+K2/2];
K4=h×f[ti
+h, Xi
+K3];
h-шаг интегрирования.
а) составляем программу, которая рассчитывает параметры IL,
Uc
, X, V на каждом шаге интегрирования. Задаем значения t1
и t2
при которых обеспечивается заданное время выключения тиристоров 50мкс (t3
…t4
; t5
…t6
).
б) при найденный значениях t1
и t2
определили:
время переходного процесса как время от начала включения схемы до установившихся значений параметров;
действующие значения тока нагрузки на частоте fmin
и fmax
находим по формуле прямоугольников, которая при достаточно малом шаге интегрирования дает требуемую точность вычислений
активные мощности, потребляемые от источника питания Е на частоте fmin
и fmax
, по формуле Р=Е×Iд
6.Алгоритм программы и программа расчета
6.1 Алгоритм программы приведен на рисунке 3
6.2 Программа (написана на языке
TURBO
BASIC
)
LET h = .00001
Bo = 1
La = .00235
m1 = 100
D = .8
w = 40
C = .00015
ksi = 2 * 10 ^ 7
nu = 4000
E = 10
R = .00105
Ra = .05
Pi = 3.141592654#
z = 1
t1 = .00007
t2 = .00621:
t56 = t1
integral = 0
integral2 = 0
LETschet = 1
INPUT "параметры выводить на экран? n-нет"; q1$
IF q1$ = "n" OR q1$ = "N" THEN q = 0 ELSE q = 1
SCREEN 12
Uc = 0
LOCATE 1, 45: PRINT "время t(мс)"
LOCATE 2, 45: PRINT "белаялиния I(А)"
LOCATE 3, 45: PRINT "синяялиния Uc(В)"
LOCATE 4, 45: PRINT "фиолетовая линия X(мм)"
LOCATE 5, 45: PRINT "красная линия V(мм/с)"
LOCATE 6, 45: PRINT "зеленаялиния a(m/S)"
LOCATE 7, 45: PRINT "коричневая линия Ua(В)"
0 LET i1 = I
LET Uc1 = Uc
LET x1 = X
LET V1 = V
LET xc = 0
1 LET k1i = E / La - (R / La) * i1 - Uc / La - (Bo * Pi * D * w) * V / La
LET i1 = I + h * .5 * k1i
LET k2i = E / La - (R / La) * i1 - Uc / La - (Bo * Pi * D * w) * V / La
LET i1 = I + k2i * h * .5
LET k3i = E / La - (R / La) * i1 - Uc / La - (Bo * Pi * D * w) * V / La
LET i1 = I + k3i * h
LET k4i = E / La - (R / La) * i1 - Uc / La - (Bo * Pi * D * w) * V / La
LET di = h * (2 * k2i + k1i + 2 * k3i + k4i) / 6
2 LET k1Uc = I / C
LET Uc1 = Uc + h * .5 * k1Uc
LET k2Uc = I / C
LET Uc1 = Uc + h * .5 * k2Uc
LET k3Uc = I / C
LET Uc1 = Uc + h * k3Uc
LET k4Uc = I / C
LET dUc = h * (2 * k2Uc + k1Uc + 2 * k3Uc + k4Uc) / 6
3 LET k1x = V
LET x1 = X + k1x * h * .5
LET k2x = V
LET x1 = X + k2x * h * .5
LET k3x = V
LET x1 = X + k3x * h
LET k4x = V
LET dx = (k1x + 2 * k2x + 2 * k3x + k4x) * h / 6
4 LET k1V = (Bo * Pi * D * w * I) / m1 - (nu / m1) * V1 - (ksi / m1) * X
LET V1 = V + k1V * h * .5
LET k2V = (Bo * Pi * D * w * I) / m1 - (nu / m1) * V1 - (ksi / m1) * X
LET V1 = V + k2V * h * .5
LET k3V = (Bo * Pi * D * w * I) / m1 - (nu / m1) * V1 - (ksi / m1) * X
LET V1 = V + k3V * h
LET k4V = (Bo * Pi * D * w * I) / m1 - (nu / m1) * V1 - (ksi / m1) * X
LET dv = h * (2 * k2V + k1V + 2 * k3V + k4V) / 6
LET I = I + di
LET Uc = Uc + dUc
LET X = X + dx
LET V = V + dv
LET integral2 = integral2 + ABS(I) * h
LET integral = integral + h * (ABS(I)) ^ 2
LET a = (Bo * Pi * D * w * I - nu * V - ksi * X) / m1
LET Ua = La * di / h + Bo * Pi * D * w * V + I * Ra
LET tall = tall + h
IF q = 1 THEN
LOCATE 1, 1: PRINT "t="; tall * 1000, " "
LOCATE 2, 1: PRINT "I="; I, " "
LOCATE 3, 1: PRINT "Uc="; Uc, " "
LOCATE 4, 1: PRINT "X="; X * 1000, " "
LOCATE 5, 1: PRINT "V="; V * 1000, " "
LOCATE 6, 1: PRINT "a="; a, " "
LOCATE 7, 1: PRINT "Ua="; Ua, " "
END IF
PSET (t * 20000 * .01 / t2, 250 - I * .5)
PSET (t * 20000 * .01 / t2, 250 - Uc * .1), 3
PSET (t * 20000 * .01 / t2, 250)
PSET (t * 20000 * .01 / t2, 250 - V * 100), 4
PSET (t * 20000 * .01 / t2, 250 - X * 100000), 5
PSET (t * 20000 * .01 / t2, 250 - a / 3), 2
PSET (t * 20000 * .01 / t2, 250 - Ua * .1), 6
LET t = t + h
IF t > t1 THEN
IF (((I - ikontr) / I) < .001) AND (param = 0) THEN
LOCATE 14, 45
PRINT "Тпп(мс)="; tall * 1000; : INPUT zxc
LET param = 1
END IF
LET ikontr = I
GOTO 5
END IF
GOTO 0
5 i2 = I
V2 = V
x2 = X
7 LET k1i = E / La - (R / La) * i2 - (Bo * Pi * D * w * V / La)
LET i2 = I + h * .5 * k1i
LET k2i = E / La - (R / La) * i2 - (Bo * Pi * D * w * V / La)
LET i2 = I + k2i * h * .5
LET k3i = E / La - (R / La) * i2 - (Bo * Pi * D * w * V / La)
LET i2 = I + k3i * h
LET k4i = E / La - (R / La) * i2 - (Bo * Pi * D * w * V / La)
LET di = h * (2 * k2i + k1i + 2 * k3i + k4i) / 6
8 LET k1x = V
LET x2 = X + k1x * h * .5
LET k2x = V
LET x2 = X + k2x * h * .5
LET k3x = V
LET x2 = X + k3x * h
LET k4x = V
LET dx = (k1x + 2 * k2x + 2 * k3x + k4x) * h / 6
9 LET k1V = (Bo * Pi * D * w * I) / m1 - (nu / m1) * V2 - (ksi / m1) * X
LET V2 = V + k1V * h * .5
LET k2V = (Bo * Pi * D * w * I) / m1 - (nu / m1) * V2 - (ksi / m1) * X
LET V2 = V + k2V * h * .5
LET k3V = (Bo * Pi * D * w * I) / m1 - (nu / m1) * V2 - (ksi / m1) * X
LET V2 = V + k3V * h
LET k4V = (Bo * Pi * D * w * I) / m1 - (nu / m1) * V2 - (ksi / m1) * X
LET dv = h * (2 * k2V + k1V + 2 * k3V + k4V) / 6
10 LET I = I + di
LET X = X + dx
LET V = V + dv
LET integral2 = integral2 + ABS(I) * h
LET integral = integral + h * (ABS(I)) ^ 2
LET a = (Bo * Pi * D * w * I - nu * V - ksi * X) / m1
LET Ua = La * di / h + Bo * Pi * D * w * V + I * Ra
LET tall = tall + h
11 IF q = 1 THEN
LOCATE 1, 1: PRINT "t="; tall * 1000, " "
LOCATE 2, 1: PRINT "I="; I, " "
LOCATE 3, 1: PRINT "Uc="; Uc, " "
LOCATE 4, 1: PRINT "X="; X * 1000, " "
LOCATE 5, 1: PRINT "V="; V * 1000, " "
LOCATE 6, 1: PRINT "a="; a, " "
LOCATE 7, 1: PRINT "Ua="; Ua, " "
END IF
PSET (t * 20000 * .01 / t2, 250 - I * .5)
PSET (t * 20000 * .01 / t2, 250 - Uc * .1), 3
PSET (t * 20000 * .01 / t2, 250)
PSET (t * 20000 * .01 / t2, 250 - V * 100), 4
PSET (t * 20000 * .01 / t2, 250 - X * 100000), 5
PSET (t * 20000 * .01 / t2, 250 - a / 3), 2
PSET (t * 20000 * .01 / t2, 250 - Ua * .1), 6
LET t = t + h
IF t > t1 + t2 THEN GOTO 12
GOTO 5
12 LET Uc = -Uc:
LET tkontr = t:
121 LET Uc3 = Uc
LET i3 = I
LET x3 = X
LET V3 = V
13
LET k1i = E / La - (R / La) * i3 - (Uc / La) - (Bo * Pi * D * w / La) * V
LET i3 = I + h * .5 * k1i
LET k2i = E / La - (R / La) * i3 - (Uc / La) - (Bo * Pi * D * w / La) * V
LET i3 = I + k2i * h * .5
LET k3i = E / La - (R / La) * i3 - (Uc / La) - (Bo * Pi * D * w / La) * V
LET i3 = I + k3i * h
LET k4i = E / La - (R / La) * i3 - (Uc / La) - (Bo * Pi * D * w / La) * V
LET di = h * (2 * k2i + k1i + 2 * k3i + k4i) / 6
14 LET k1Uc = I / C
LET Uc3 = Uc + h * .5 * k1Uc
LET k2Uc = I / C
LET Uc3 = Uc + h * .5 * k2Uc
LET k3Uc = I / C
LET Uc3 = Uc + h * k3Uc
LET k4Uc = I / C
LET dUc = h * (2 * k2Uc + k1Uc + 2 * k3Uc + k4Uc) / 6
15 LET k1x = V
LET x3 = X + k1x * h * .5
LET k2x = V
LET x3 = X + k2x * h * .5
LET k3x = V
LET x3 = X + k3x * h * .5
LET k4x = V
LET dx = (k1x + 2 * k2x + 2 * k3x + k4x) * h / 6
16 LET k1V = (Bo * Pi * D * w * I) / m1 - (nu / m1) * V3 - (ksi / m1) * X
LET V3 = V + k1V * h * .5
LET k2V = (Bo * Pi * D * w * I) / m1 - (nu / m1) * V3 - (ksi / m1) * X
LET V3 = V + k2V * h * .5
LET k3V = (Bo * Pi * D * w * I) / m1 - (nu / m1) * V3 - (ksi / m1) * X
LET V3 = V + k3V * h
LET k4V = (Bo * Pi * D * w * I) / m1 - (nu / m1) * V3 - (ksi / m1) * X
LET dv = h * (2 * k2V + k1V + 2 * k3V + k4V) / 6
17 LET I = I + di
LET Uc = Uc + dUc
LET X = X + dx
LET V = V + dv
LET integral2 = integral2 + ABS(I) * h
LET integral = integral + h * (ABS(I)) ^ 2
LET a = (Bo * Pi * D * w * I - nu * V - ksi * X) / m1
LET Ua = La * di / h + Bo * Pi * D * w * V + I * Ra
LET tall = tall + h
IF Uc > 0 AND xc = 0 THEN
LOCATE 8, 45
LET tvost = (t - tkontr) * 10 ^ 6
PRINT "tvost(¬Є‘)="; (t - tkontr) * 10 ^ 6
LET xc = 1
END IF
IF q = 1 THEN
LOCATE 1, 1: PRINT "t="; tall * 1000, " "
LOCATE 2, 1: PRINT "I="; I, " "
LOCATE 3, 1: PRINT "Uc="; Uc, " "
LOCATE 4, 1: PRINT "X="; X * 1000, " "
LOCATE 5, 1: PRINT "V="; V * 1000, " "
LOCATE 6, 1: PRINT "a="; a, " "
LOCATE 7, 1: PRINT "Ua="; Ua, " "
END IF
PSET (t * 20000 * .01 / t2, 250 - I * .5)
PSET (t * 20000 * .01 / t2, 250 + Uc * .1), 3
PSET (t * 20000 * .01 / t2, 250)
PSET (t * 20000 * .01 / t2, 250 - V * 100), 4
PSET (t * 20000 * .01 / t2, 250 - X * 100000), 5
PSET (t * 20000 * .01 / t2, 250 - a / 3), 2
PSET (t * 20000 * .01 / t2, 250 - Ua * .1), 6
LET t = t + h
IF I < 0 THEN LET ti = t: GOTO 19
18 GOTO 121
19 LET x31 = X
LET V31 = V
191LET k1V = (nu / m1) * V31 - (ksi / m1) * X
LET V31 = V + k1V * h * .5
LET k2V = (nu / m1) * V31 - (ksi / m1) * X
LET V31 = V + k2V * h * .5
LET k3V = (nu / m1) * V31 - (ksi / m1) * X
LET V31 = V + k3V * h
LET k4V = (nu / m1) * V31 - (ksi / m1) * X
LET dv = h * (2 * k2V + k1V + 2 * k3V + k4V) / 6
192LET k1x = V
LET x31 = X + k1x * h * .5
LET k2x = V
LET x31 = X + k2x * h * .5
LET k3x = V
LET x31 = X + k3x * h
LET k4x = V
LET dx = (k1x + 2 * k2x + 2 * k3x + k4x) * h / 6
193LET X = X + dx
LET V = V + dv
LET a = (Bo * Pi * D * w * I - nu * V - ksi * X) / m1
LET Ua = Bo * Pi * D * w * V + I * Ra
LET tall = tall + h
IF q = 1 THEN
LOCATE 1, 1: PRINT "t="; tall * 1000, " "
LOCATE 2, 1: PRINT "I="; I, " "
LOCATE 3, 1: PRINT "Uc="; Uc, " "
LOCATE 4, 1: PRINT "X="; X * 1000, " "
LOCATE 5, 1: PRINT "V="; V * 1000, " "
LOCATE 6, 1: PRINT "a="; a, " "
LOCATE 7, 1: PRINT "Ua="; Ua, " "
END IF
PSET (t * 20000 * .01 / t2, 250 - I * .5)
PSET (t * 20000 * .01 / t2, 250 + Uc * .1), 3
PSET (t * 20000 * .01 / t2, 250)
PSET (t * 20000 * .01 / t2, 250 - V * 100), 4
PSET (t * 20000 * .01 / t2, 250 - X * 100000), 5
PSET (t * 20000 * .01 / t2, 250 - a / 3), 2
PSET (t * 20000 * .01 / t2, 250 - Ua * .1), 6
LET t = t + h
IF t > (ti + t56) THEN GOTO 20
GOTO 19
20 LET i4 = I
LET Uc4 = Uc
LET x4 = X
LET V4 = V
21 LET k1i = -E / La - (R / La) * i4 - Uc / La - (Bo * Pi * D * w) * V / La
LET i4 = I + h * .5 * k1i
LET k2i = -E / La - (R / La) * i4 - Uc / La - (Bo * Pi * D * w) * V / La
LET i4 = I + k2i * h * .5
LET k3i = -E / La - (R / La) * i4 - Uc / La - (Bo * Pi * D * w) * V / La
LET i4 = I + k3i * h
LET k4i = -E / La - (R / La) * i4 - Uc / La - (Bo * Pi * D * w) * V / La
LET di = h * (2 * k2i + k1i + 2 * k3i + k4i) / 6
22 LET k1Uc = I / C
LET Uc4 = Uc + h * .5 * k1Uc
LET k2Uc = I / C
LET Uc4 = Uc + h * .5 * k2Uc
LET k3Uc = I / C
LET Uc4 = Uc + h * k3Uc
LET k4Uc = I / C
LET dUc = h * (2 * k2Uc + k1Uc + 2 * k3Uc + k4Uc) / 6
23 LET k1x = V
LET x4 = X + k1x * h * .5
LET k2x = V
LET x4 = X + k2x * h * .5
LET k3x = V
LET x4 = X + k3x * h
LET k4x = V
LET dx = (k1x + 2 * k2x + 2 * k3x + k4x) * h / 6
24 LET k1V = (Bo * Pi * D * w * I) / m1 - (nu / m1) * V1 - (ksi / m1) * X
LET V4 = V + k1V * h * .5
LET k2V = (Bo * Pi * D * w * I) / m1 - (nu / m1) * V1 - (ksi / m1) * X
LET V4 = V + k2V * h * .5
LET k3V = (Bo * Pi * D * w * I) / m1 - (nu / m1) * V1 - (ksi / m1) * X
LET V4 = V + k3V * h
LET k4V = (Bo * Pi * D * w * I) / m1 - (nu / m1) * V1 - (ksi / m1) * X
LET dv = h * (2 * k2V + k1V + 2 * k3V + k4V) / 6
25 LET I = I + di
LET Uc = Uc + dUc
LET X = X + dx
LET V = V + dv
LET integral2 = integral2 + ABS(I) * h
LET integral = integral + h * (ABS(I)) ^ 2
LET a = (Bo * Pi * D * w * I - nu * V - ksi * X) / m1
LET Ua = La * di / h + Bo * Pi * D * w * V + I * Ra
LET tall = tall + h
26 IF q = 1 THEN
LOCATE 1, 1: PRINT "t="; tall * 1000, " "
LOCATE 2, 1: PRINT "I="; I, " "
LOCATE 3, 1: PRINT "Uб="; Uc, " "
LOCATE 4, 1: PRINT "X="; X * 1000, " "
LOCATE 5, 1: PRINT "V="; V * 1000, " "
LOCATE 6, 1: PRINT "a="; a, " "
LOCATE 7, 1: PRINT "Ua="; Ua, " "
END IF
PSET (t * 20000 * .01 / t2, 250 - I * .5)
PSET (t * 20000 * .01 / t2, 250 + Uc * .1), 3
PSET (t * 20000 * .01 / t2, 250)
PSET (t * 20000 * .01 / t2, 250 - V * 100), 4
PSET (t * 20000 * .01 / t2, 250 - X * 100000), 5
PSET (t * 20000 * .01 / t2, 250 - a / 3), 2
PSET (t * 20000 * .01 / t2, 250 - Ua * .1), 6
LET t = t + h
IF t > ti + t1 + t56 THEN GOTO 27
GOTO 20
27i5 = I
V5 = V
x5 = X
28LET k1i = -E / La - (R / La) * i5 - (Bo * Pi * D * w * V / La)
LET i5 = I + h * .5 * k1i
LET k2i = -E / La - (R / La) * i5 - (Bo * Pi * D * w * V / La)
LET i5 = I + k2i * h * .5
LET k3i = -E / La - (R / La) * i5 - (Bo * Pi * D * w * V / La)
LET i5 = I + k3i * h
LET k4i = -E / La - (R / La) * i5 - (Bo * Pi * D * w * V / La)
LET di = h * (2 * k2i + k1i + 2 * k3i + k4i) / 6
29 LET k1x = V
LET x5 = X + k1x * h * .5
LET k2x = V
LET x5 = X + k2x * h * .5
LET k3x = V
LET x5 = X + k3x * h
LET k4x = V
LET dx = (k1x + 2 * k2x + 2 * k3x + k4x) * h / 6
30 LET k1V = (Bo * Pi * D * w * I) / m1 - (nu / m1) * V5 - (ksi / m1) * X
LET V5 = V + k1V * h * .5
LET k2V = (Bo * Pi * D * w * I) / m1 - (nu / m1) * V5 - (ksi / m1) * X
LET V5 = V + k2V * h * .5
LET k3V = (Bo * Pi * D * w * I) / m1 - (nu / m1) * V5 - (ksi / m1) * X
LET V5 = V + k3V * h
LET k4V = (Bo * Pi * D * w * I) / m1 - (nu / m1) * V5 - (ksi / m1) * X
LET dv = h * (2 * k2V + k1V + 2 * k3V + k4V) / 6
31 LET I = I + di
LET X = X + dx
LET V = V + dv
LET integral2 = integral2 + ABS(I) * h
LET integral = integral + h * (ABS(I)) ^ 2
LET a = (Bo * Pi * D * w * I - nu * V - ksi * X) / m1
LET Ua = La * di / h + Bo * Pi * D * w * V + I * Ra
LET tall = tall + h
32 IF q = 1 THEN
LOCATE 1, 1: PRINT "t="; tall * 1000, " "
LOCATE 2, 1: PRINT "I="; I, " "
LOCATE 3, 1: PRINT "Uc="; Uc, " "
LOCATE 4, 1: PRINT "X="; X * 1000, " "
LOCATE 5, 1: PRINT "V="; V * 1000, " "
LOCATE 6, 1: PRINT "a="; a, " "
LOCATE 7, 1: PRINT "Ua="; Ua, " "
END IF
PSET (t * 20000 * .01 / t2, 250 - I * .5)
PSET (t * 20000 * .01 / t2, 250 + Uc * .1), 3
PSET (t * 20000 * .01 / t2, 250)
PSET (t * 20000 * .01 / t2, 250 - V * 100), 4
PSET (t * 20000 * .01 / t2, 250 - X * 100000), 5
PSET (t * 20000 * .01 / t2, 250 - a / 3), 2
PSET (t * 20000 * .01 / t2, 250 - Ua * .1), 6
LET t = t + h
IF t > (ti + t1 + t2 + t56) THEN GOTO 33
GOTO 27
33 LET Uc = -Uc
331 LET Uc6 = Uc
LET i6 = I
LET x6 = X
LET V6 = V
34 LET k1i = E / La - (R / La) * i6 - (Uc / La) - (Bo * Pi * D * w / La) * V
LET i6 = I + h * .5 * k1i
LET k2i = E / La - (R / La) * i6 - (Uc / La) - (Bo * Pi * D * w / La) * V
LET i6 = I + k2i * h * .5
LET k3i = E / La - (R / La) * i6 - (Uc / La) - (Bo * Pi * D * w / La) * V
LET i6 = I + k3i * h
LET k4i = E / La - (R / La) * i6 - (Uc / La) - (Bo * Pi * D * w / La) * V
LET di = h * (2 * k2i + k1i + 2 * k3i + k4i) / 6
35 LET k1Uc = I / C
LET Uc6 = Uc + h * .5 * k1Uc
LET k2Uc = I / C
LET Uc6 = Uc + h * .5 * k2Uc
LET k3Uc = I / C
LET Uc6 = Uc + h * k3Uc
LET k4Uc = I / C
LET dUc = h * (2 * k2Uc + k1Uc + 2 * k3Uc + k4Uc) / 6
36 LET k1x = V
LET x6 = X + k1x * h * .5
LET k2x = V
LET x6 = X + k2x * h * .5
LET k3x = V
LET x6 = X + k3x * h
LET k4x = V
LET dx = (k1x + 2 * k2x + 2 * k3x + k4x) * h / 6
37 LET k1V = (Bo * Pi * D * w * I) / m1 - (nu / m1) * V6 - (ksi / m1) * X
LET V6 = V + k1V * h * .5
LET k2V = (Bo * Pi * D * w * I) / m1 - (nu / m1) * V6 - (ksi / m1) * X
LET V6 = V + k2V * h * .5
LET k3V = (Bo * Pi * D * w * I) / m1 - (nu / m1) * V6 - (ksi / m1) * X
LET V6 = V + k3V * h
LET k4V = (Bo * Pi * D * w * I) / m1 - (nu / m1) * V6 - (ksi / m1) * X
LET dv = h * (2 * k2V + k1V + 2 * k3V + k4V) / 6
38 LET I = I + di
LET Uc = Uc + dUc
LET X = X + dx
LET V = V + dv
LET integral2 = integral2 + ABS(I) * h
LET integral = integral + h * (ABS(I)) ^ 2
LET a = (Bo * Pi * D * w * I - nu * V - ksi * X) / m1
LET Ua = La * di / h + Bo * Pi * D * w * V + I * Ra
LET tall = tall + h
39 IF q = 1 THEN
LOCATE 1, 1: PRINT "t="; tall * 1000, " "
LOCATE 2, 1: PRINT "I="; I, " "
LOCATE 3, 1: PRINT "Uc="; Uc, " "
LOCATE 4, 1: PRINT "X="; X * 1000, " "
LOCATE 5, 1: PRINT "V="; V * 1000, " "
LOCATE 6, 1: PRINT "a="; a, " "
LOCATE 7, 1: PRINT "Ua="; Ua, " "
END IF
PSET (t * 20000 * .01 / t2, 250 - I * .5)
PSET (t * 20000 * .01 / t2, 250 - Uc * .1), 3
PSET (t * 20000 * .01 / t2, 250)
PSET (t * 20000 * .01 / t2, 250 - V * 100), 4
PSET (t * 20000 * .01 / t2, 250 - X * 100000), 5
PSET (t * 20000 * .01 / t2, 250 - a / 3), 2
PSET (t * 20000 * .01 / t2, 250 - Ua * .1), 6
LET t = t + h
IF I > 0 THEN LET ti2 = t: GOTO 41
GOTO 331
41 LET x61 = X
LET V61 = V
LET tall = tall + h
42 LET k1V = (nu / m1) * V61 - (ksi / m1) * X
LET V61 = V + k1V * h * .5
LET k2V = (nu / m1) * V61 - (ksi / m1) * X
LET V61 = V + k2V * h * .5
LET k3V = (nu / m1) * V61 - (ksi / m1) * X
LET V61 = V + k3V * h
LET k4V = (nu / m1) * V61 - (ksi / m1) * X
LET dv = h * (2 * k2V + k1V + 2 * k3V + k4V) / 6
43
LET k1x = V
LET x61 = X + k1x * h * .5
LET k2x = V
LET x61 = X + k2x * h * .5
LET k3x = V
LET x61 = X + k3x * h
LET k4x = V
LET dx = (k1x + 2 * k2x + 2 * k3x + k4x) * h / 6
44 LET X = X + dx
LET V = V + dv
LET a = (Bo * Pi * D * w * I - nu * V - ksi * X) / m1
LET Ua = Bo * Pi * D * w * V + I * Ra
LET tall = tall + h
IF q = 1 THEN
LOCATE 1, 1: PRINT "t="; tall * 1000, " "
LOCATE 2, 1: PRINT "I="; I, " "
LOCATE 3, 1: PRINT "Uc="; Uc, " "
LOCATE 4, 1: PRINT "X="; X * 1000, " "
LOCATE 5, 1: PRINT "V="; V * 1000, " "
LOCATE 6, 1: PRINT "a="; a, " "
LOCATE 7, 1: PRINT "Ua="; Ua, " "
END IF
PSET (t * 20000 * .01 / t2, 250 - I * .5)
PSET (t * 20000 * .01 / t2, 250 - Uc * .1), 3
PSET (t * 20000 * .01 / t2, 250)
PSET (t * 20000 * .01 / t2, 250 - V * 100), 4
PSET (t * 20000 * .01 / t2, 250 - X * 100000), 5
PSET (t * 20000 * .01 / t2, 250 - a / 3), 2
PSET (t * 20000 * .01 / t2, 250 - Ua * .1), 6
LET t = t + h
IF t > (ti2 + t56) THEN GOTO 45
GOTO 41
45 LET Id = SQR(integral / t)
LET Isr = integral2 / t
LET integral = 0
LET integral2 = 0
LET tcycle = t
t = 0
CLS LOCATE 1, 45: PRINT "время t(мс)"
LOCATE 2, 45: PRINT "белаялиния I(А)"
LOCATE 3, 45: PRINT "синяялиния Uc(В)"
LOCATE 4, 45: PRINT "фиолетовая линия X(мм)"
LOCATE 5, 45: PRINT "красная линия V(мм/с)"
LOCATE 6, 45: PRINT "зеленаялиния a(m/S)"
LOCATE 7, 45: PRINT "коричневая линия Ua(В)"
LOCATE 8, 45: PRINT "tvost(мс)="; tvost
LOCATE 9, 45: PRINT "Id="; Id
LOCATE 10, 45: PRINT "Isr="; Isr
LOCATE 11, 45: PRINT "P(Вт)="; Isr * 15
LOCATE 12, 45: PRINT "цикл "; schet + 1
LOCATE 13, 45: PRINT "времяцикла(мс)"; tcycle * 1000
LOCATE 14, 45: PRINT "частота(Гц)"; 1 / tcycle
LET schet = schet + 1
GOTO 0
7. Результаты расчета
Минимальные значения интервалов 0…t1
, 0…t2
,при которых обеспечивается заданное время выключения тиристоров.
0…t1
=0,001 с
0…t2
=0,001001 с
время переходного процесса при включении схемы на частоте ½ от fmax
Тпп
= 35,4797 мс
активные мощности, потребляемые от источника питания Е на частоте fmin
и fmax
P(f=fmax)
=90,01246
P(f=fmin)
=428,7574
действующие значения тока нагрузки на частоте fmin
и fmax
IН(
f
=
fmax
)
= 8,39709
IН(
f
=
fmin
)
=34,11996
На рис.5 построили графики зависимостей i(t), ua
(t), v(t), x(t) при установившемся режиме и частоте f=fmax
/2.
На рис. 6 построили графики зависимостей i(t),uс
(t) в случае короткого замыкания нагрузки (обмотки якоря).
При старении конденсатора и как следствие уменьшении его емкости уменьшается время необходимое на его зарядку. Но затем вследствие малой емкости напряжение не может достичь нуля и перевалить через него. Что является причиной выхода схемы из строя
Вывод
Из проделанной работы следует, что объект исследования может работать на относительно узкой полосе частот определяемой временем срабатывания тиристоров. Тиристоры очень чувствительны к изменению параметров внутри схемы. При расчете подобных устройств необходимо учитывать многие факторы, в том числе механико-динамические.
|