| УДК 621.175.004.1
МИНИСТЕРСТВО ЭНЕРГЕТИКИ И ЭЛЕКТРИФИКАЦИИ СССР
ГЛАВТЕХУПРАВЛЕНИЕ
МЕТОДИЧЕСКИЕ УКАЗАНИЯ
ПО ЭКСПЛУАТАЦИИ КОНДЕНСАЦИОННЫХ УСТАНОВОК ПАРОВЫХ ТУРБИН ЭЛЕКТРОСТАНЦИЙ
РД 34.30.501
(МУ 34-70-122-85)
Срок действия установлен
с 01.07.86 г. до 01.07.96 г.
продлен до 31.12.99г.
РАЗРАБОТАНО Московским головным предприятием ПО "Союзтехэнерго" и Всесоюзным дважды ордена Трудового Красного Знамени научно-исследовательским теплотехническим институтом им. Ф.Э. Дзержинского (ВТИ)
ИСПОЛНИТЕЛИ А.К. Кирш, Г.М. Коновалов (ПО "Союзтехэнерго"), Л.Д. Берман, Э.П. Зернова (ВТИ)
УТВЕРЖДЕНО Главным техническим управлением по эксплуатации энергосистем 04.06.85 г.
Заместитель начальника Д.Я. Шамараков
Срок действия продлен 25.04.1996
Настоящие Методические указания, обобщающие накопленный за многие годы опыт обеспечения надежной и эффективной работы конденсационных установок паровых турбин на электростанциях системы Минэнерго СССР, предназначены для персонала районных энергоуправлений, электростанций и наладочных организаций. В них рассматриваются основные особенности рабочего процесса и конструкции элементов конденсационных установок - конденсаторов, воздушных, конденсатных и циркуляционных насосов и водоочистных устройств (исключая гидротехнические сооружения и водоохладители систем циркуляционного водоснабжения), даются рекомендации по контролю за их работой в условиях эксплуатации, рассматриваются основные причины неполадок в работе и способы их устранения.
Использование ЭВМ для контроля за технико-экономическими показателями конденсационных установок не рассматривается в настоящих Методических указаниях, поскольку оно является одной из функций АСУ ТП всего энергоблока (см. "Типовой алгоритм расчета технико-экономических показателей конденсационных энергоблоков мощностью 300, 500, 800 и 1200 МВт" М.: СПО Союзтехэнерго, 1980).
Выпуск Методических указаний не исключает составление и выпуск более детальных и учитывающих местные особенности электростанций указаний и инструкций по эксплуатации отдельных узлов конденсационных установок.
1. ОБЩИЕ СВЕДЕНИЯ
1.1. Назначение конденсационной установки
1.1.1. Основным назначением конденсационной установки паротурбинного агрегата является конденсация отработавшего пара турбины и обеспечение за последней ступенью при номинальных условиях давления пара не выше расчетного, определенного исходя из технико-экономических соображений.
Среднее давление отработавшего пара р
2
для принятых при проектировании конденсатора номинальных условий (расхода пара в конденсатор, температуры и расхода охлаждающей воды; составляет обычно 3,5-6 кПа (0,035-0,060 кгс/cм2
). Поскольку оно значительно ниже атмосферного (барометрического), ему отвечает разрежение в паровом пространстве конденсатора. В отличие от номинальных значений параметров свежего пара перед турбиной давление отработавшего пара р
2
не может поддерживаться в эксплуатации на определенном заданном уровне, а заметно изменяется в зависимости от режимных условий. Его значения, отвечающие различным условиям работы конденсационной установки при удовлетворительном ее состоянии, определяются по тепловым характеристикам (см. разд. 2.2 и 5.3).
1.1.2. Помимо поддержания давления отработавшего пара на требуемой для экономичной работы турбоагрегата уровне конденсационная установка должна также обеспечивать:
- сохранение конденсата отработавшего пара, используемого в системе питания парового котла, и его качество, соответствующее после смешения с водами, поступающими в конденсатор извне, требованиям ПТЭ (ограничение в допустимых пределах содержания в нем кислорода, растворенных солей и продуктов коррозии);
- предотвращение переохлаждения конденсата на выходе из конденсатора по отношению к температуре насыщения отработавшего пара, приводящего к потере теплоты;
- прием при нормальной работе, а также при пусках и остановах энергоблока предусмотренных его тепловой схемой сбросов в конденсатор (непосредственно через паросбросные устройства, расширители или БРУ-К) пара, горячих дренажей из других аппаратов и добавочной воды для системы питания парового котла.
1.2. Оборудование конденсационной установки
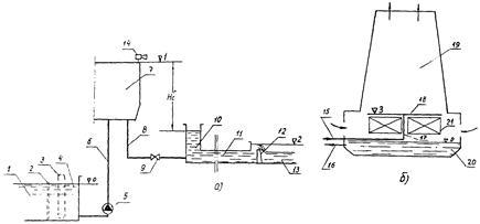
1.2.1. Применяющиеся одно- или многокорпусные поверхностные конденсаторы с водяным охлаждением, как правило, представляют собой горизонтальные кожухотрубные теплообменные аппараты, в которых на наружной поверхности трубок конденсируется отработавший пар, поступающий из турбины, а внутри трубок протекает охлаждающая вода, отводящая теплоту конденсата пара. Образовавшийся на трубках конденсат стекает из трубного пучка на днище корпуса и затем в конденсатосборники, из которых он удаляется конденсатными насосами. На рис. 1.1 приведена принципиальная схема, конденсационной установки.
Пар, поступающий в конденсатор, содержит обычно примесь неконденсирующихся газов, в основном воздуха, проникающего через неплотности в вакуумной системе турбоагрегата (см. разд. 12.1).
Для поддержания разрежения в паровом пространстве конденсатора неконденсирующиеся газы должны постоянно удаляться. Это осуществляется с помощью воздушных насосов, паро- или водоструйных эжекторов или роторных вакуум-насосов, например водокольцевых, отсасывающих из конденсатора неконденсирующиеся газы (воздух) с остаточным содержанием пара, сжимающих паровоздушную смесь и выбрасывающих ее в атмосферу.
1.2.2. При некоторых режимах работы энергоблоков (см. п. 1.1.2) осуществляется сброс свежего пара в конденсатор помимо турбины через приемно-сбросные устройства, в которых пар дросселируется и охлаждается.
1.2.3. Охлаждающая вода подается в конденсатор по напорным трубопроводам циркуляционными насосами, связывающие конденсационную установку с системой технического водоснабжения, которая в зависимости от местных условий выполняется прямоточной или оборотной.
При прямоточной системе водоснабжения вода забирается из естественного источника (реки, озера, моря) и после однократного ее использования сбрасывается в тот же источник, а при оборотной - поступает после конденсатора в водоохлаждающее устройство (градирню, брызгальный бассейн или водохранилище-охладитель); где отдает воспринятую в конденсаторе теплоту наружному воздуху, после чего вновь используется для охлаждения конденсатора.
1.2.4. При прямоточной системе водоснабжения или оборотной с водохранилищем-охладителем охлаждающая вода поступает в водоприемное устройство, в котором установлены очистные решетки и сетки, и которое объединено большей частью с береговой насосной или соединено с приемными колодцами насосов самотечными водоводами.
При оборотной системе водоснабжения с градирнями или брызгальным бассейном вода поступает в циркуляционные насосы из водосборных резервуаров градирен или из бассейна и подается циркуляционными насосами в конденсаторы с давлением, достаточным для подъема подогретой воды из конденсатора на отметку водораспределительного устройства градирен или для обеспечения достаточного давления воды перед соплами брызгального бассейна.
1.2.5. Для уменьшения затраты электроэнергии на циркуляционные насосы (при прямоточном водоснабжении или оборотном с водохранилищем-охладителем) на сбросе воды из конденсатора используется обычно сифон, а из сифонного колодца вода сбрасывается, как правило, самотеком по открытому каналу.
Сброс теплой воды производится ниже водозабора на расстоянии, исключающем ее попадание в водоприемное устройство. В месте сброса воды устраивается участок канала с большим уклоном - быстроток.

Рис. 1.1. Принципиальная схема конденсационной установки турбины К-800-240 ЛМЗ:
1
- ЦНД; 2
- конденсатор; 3
- циркуляционные насосы; 4
, 5
- конденсатные насосы первого и второго подъема; 6
- основные эжекторы; 7
- эжекторы циркуляционной системы; 8
- охладитель пара лабиринтовых уплотнений; 9
- охладитель дренажа подогревателя сетевой воды; 10
- блочная обессоливающая установка; 11
, 12
- приемно-сбросное устройство пара промперегрева и БРОУ;
- пар
- охлаждающая вода;
- конденсат;
- паровоздушная смесь
2. ОСОБЕННОСТИ РАБОЧЕГО ПРОЦЕССА И ПОКАЗАТЕЛИ РАБОТЫ КОНДЕНСАЦИОННОЙ УСТАНОВКИ
2.1. Условия теплопередачи в конденсаторе
2.1.1. Конденсация отработавшего в турбине пара, содержащего примесь неконденсирующихся газов, сопровождается как конвективной теплоотдачей, так и массоотдачей - переносом пара к поверхности трубок и выделением при этом теплоты фазового перехода. Отданная паром при его конденсации теплота передается через стенку трубок охлаждающей воде.
Условия тепло- и массообмена в конденсаторах определяются тем, что пар конденсируется из паровоздушной смеси при вакууме, причем степень конденсации пара превосходит 99,9%. Вследствие того, что по мере конденсации пара скорость паровоздушной смеси уменьшается, а концентрация в ней воздуха растет, локальные значения поверхностной плотности теплового потока, а соответственно, и плотности поперечного потока массы (конденсирующегося пара) сильно изменяются по пути движения пара (паровоздушной смеси) в трубном пучке конденсатора. Неоднородность распределения плотностей теплового потока в трубном пучке увеличивается еще из-за неравномерности распределения поступающего пара по периметру трубного пучка или отдельных его модулей и влияния конденсата, стекающего в пучке с верхних рядов трубок на нижние.
2.1.2. Основное влияние на внешние показатели работы конденсатора (средний коэффициент теплопередачи, температурный напор, давление пара, паровое сопротивление и др.), а соответственно, и на характеристики работы конденсатора при переменных режимах оказывает то обстоятельство, что по пути движения пара в трубном пучке образуются две основные зоны, различающиеся между собой условиями теплообмена с паровой стороны:
- зона интенсивной конденсации пара, в которой его температура сохраняется практически неизменной, а локальные значения коэффициента теплопередачи и плотности теплового потока, наибольшие на стороне входа пара в трубный пучок, снижаются по пути движения пара из-за уменьшения коэффициента теплоотдачи с паровой стороны по мере уменьшения скорости пара и повышения концентрации воздуха;
- зона охлаждения паровоздушной смеси, характеризующаяся относительно низкими и слабо изменяющимися локальными значениями коэффициента теплопередачи и плотности теплового потока.
2.1.3. Положение границы между двумя зонами трубного пучка зависит от режима работы конденсатора - паровой нагрузки, температуры и расхода охлаждающей воды, расхода воздуха, содержащегося в поступающем паре, а также от его состояния, в особенности степени чистоты, количества включенных воздушных насосов, их характеристики и состояния. Изменение любого из перечисленных факторов вызывает изменение и перераспределение локальных параметров парового потока в трубном пучке. Доля поверхности охлаждения, приходящаяся на зону охлаждения паровоздушной смеси, может при некотором сочетания этих факторов (например, при большой паровой нагрузке и высокой температуре охлаждающей воды) не выходить за пределы выделяемой в трубном пучке конденсатора воздухоохладительной секции и даже приближаться к нулю, а при другом их сочетании (например, при пониженной паровой нагрузке, низкой температуре охлаждающей воды, повышенном присосе воздуха) - возрастать за счет соответствующего уменьшения доли поверхности, приходящейся на зону интенсивной конденсации пара.
2.1.4. Уменьшение зоны интенсивной конденсации пара и соответствующее увеличение зоны охлаждения смеси влечет за собой, как правило, уменьшение среднего коэффициента теплопередачи, отнесенного к полной поверхности конденсатора. Лишь при уменьшении расхода (скорости) охлаждающей воды размеры зоны интенсивной конденсации увеличиваются, а значение среднего коэффициента теплопередачи уменьшается вследствие снижения коэффициента теплоотдачи с водяной стороны.
При уменьшении зоны интенсивной конденсации пара уменьшается обычно и падение давления пара в трубном пучке (паровое сопротивление конденсатора). Так, в случае понижения температуры охлаждающей воды давление пара в конденсаторе становится меньшим, а его удельный объем и скорости растут, но из-за уменьшения размеров зоны интенсивной конденсации пара падение давления в трубном пучке обычно не увеличивается, а даже становится меньшим. Увеличение при этом размеров зоны охлаждения паровоздушной смеси способствует повышению содержания кислорода в конденсаторе (см. разд. 13).
2.1.5. Между работой конденсатора и воздушного насоса существует тесная взаимная связь, проявляющаяся при всех режимах работы конденсационной установки. Любое изменение режима работы конденсатора вызывает изменение температуры отсасываемой из него паровоздушной смеси t
см
и, как следствие этого, изменение давления на стороне всасывания воздушного насоса и давления в конденсаторе.
2.1.6. Указанные выше особенности условий теплопередачи в конденсаторе определяют рациональную компоновку трубного пучка, при которой обеспечивается эффективное использование его поверхности охлаждения. Трубный пучок должен иметь достаточно большое живое сечение на стороне входа в него отработавшего пара и по пути движения потока пара в зоне интенсивной его конденсации, чтобы уменьшить падение давленая пара в этой зоне при больших локальных значениях коэффициента теплопередачи, определяющихся здесь преимущественно интенсивностью теплоотдачи с водяной стороны. В отличие от этого скорости потока в зоне охлаждения паровоздушной смеси должны быть несколько повышены по сравнению с их значениями на выходе из зоны интенсивной конденсации для повышения локальных значений коэффициента теплоотдачи от смеси к трубкам и уменьшения содержания пара в смеси, удаляемой из конденсатора, а соответственно, и давления этой смеси р
н
перед воздушным насосом.
Из того, что давление отработавшего пара в конденсаторе можно определить как
р
2
= р
н
+
Dр
к
,
где Dр
к
-
падение давления пара в конденсаторе и на тракте "конденсатор - воздушный насос", видно, что чем меньше при данной поверхности охлаждения конденсатора значения р
н
и Dр
к
, тем глубже обеспечиваемый вакуум.
2.1.7. Пленка конденсата, отекающего в конденсаторе по трубкам, имеет со стороны стенки трубки температуру, сравнительно не на много превосходящую температуру охлаждающей воды, а со стороны ее свободной поверхности равную или приближающуюся к температуре насыщения омывающего ее пара. Поэтому средняя температура конденсата, стекающего с трубок, в том числе и с нижних рядов трубок пучка на днище конденсатора, ниже температуры пара. Для устранения переохлаждения конденсата, поступающего в конденсатные насосы, по отношению к температуре отработавшего пара t
2
в трубном пучке предусматривается один или несколько сквозных проходов, через которые часть отработавшего пара поступает непосредственно под трубный пучок, где этот пар, конденсируясь на поверхности стекающих из пучка струй и капель переохлажденного конденсата, догревает его до температуры t
2
("регенерирует" конденсат). Образование проходов в трубном пучке способствует также увеличению свободного периметра трубного пучка, доступного для поступающего пара, а благодаря этому и уменьшению скорости пара на входе в трубный пучок.
2.1.8. Требования, предъявляемые к выполнению трубного пучка конденсатора, могут быть наиболее полно удовлетворены при двухзонных ленточной и модульно-ленточной его компоновках, примеры которых представлены на рис. 2.1, 2.2 и (см. также рис. 3.1-3.3). При таких компоновках основная часть трубного пучка (или модуля) имеет в поперечном разрезе форму ленты, толщина которой определяет длину пути пара в этой части, а воздухоохладительная секция - форму трапеции, суживающейся в направлении движения паровоздушной смеси.
2.1.9. Содержание кислорода в конденсате, поступающем из конденсатора в питательный тракт, не должно превосходить допустимого по ПТЭ значения.

Рис. 2.1. Компоновка трубного пучка конденсатора турбины К-750-65/3000 ПОАТ ХТЗ
(один из четырех корпусов)

Рис. 2.2. Компоновка трубного пучка конденсатора с боковым подводом пара:
1
- основной трубный пучок; 2
– воздухоохладитель; 3
- короб отвода паровоздушной смеси; 4
- сбросный короб паровоздушной смеси
В конденсаторе кислород поступает в конденсат главным образом двумя путями: он абсорбируется (растворяется) в конденсате при контакте последнего с паровоздушной смесью и попадает в конденсат вместе с механически захватываемым им при стекании в трубном пучке воздухом.
Часть этого воздуха, содержащегося в конденсате, при отекании его в виде струй и капель из трубного пучка и тонким слоем по днищу конденсатора и конденсатосборнику выделяется из жидкости и удаляется воздушным насосом.
2.2. Показатели работы конденсационной установки
2.2.1. Давление отработавшего пара в конденсаторе р
2
,как указывалось, изменяется при эксплуатации турбоагрегата в широких пределах. Оно зависит от следующих режимных условий: расхода отработавшего пара D
2
; определяющегося электрической, а для теплофикационных установок также и тепловой нагрузкой турбины, расхода W
и начальной температуры t
1в
охлаждающей воды. Поэтому для осуществления систематического эксплуатационного контроля за работой конденсационной установки необходимо располагать нормативными характеристиками, определяющими зависимость показателей ее работы при исправном состоянии оборудования и допустимых по ПТЭ присосах воздуха от указанных режимных условий. Сопоставление фактических и нормативных показателей позволяет выявить неполадки в работе конденсационной установки и нарушения воздушной плотности вакуумной системы турбоагрегата.
2.2.2. В качестве показателя работы конденсатора используется также конечный температурный напор, или разность температуры отработавшего пара t
2
(°C) и температуры охлаждающей воды на выходе из конденсатора t
2в
(°C):
dt
=
t
2
-
t
2в
.
При данных значениях D
2
, W
и t
1в
температурный напор dt
практически однозначно определяет для нормальных режимов работы турбины, при которых отработавший пар является насыщенным, давление р
2
, которое может быть найдено с помощью таблиц теплофизических свойств водяного пара по температуре
t
2
= t
1в
+ Dt
в
+ dt
, (2.1)
В формуле (2.1):
Dt
в
= t
2в
– t
1в
= , (2.2)
где Dt
в
-
нагрев воды в конденсаторе;
D
2
- расход поступающего в конденсатор пара, кг/с;
Dh
- удельная теплота конденсации отработавшего пара, мало изменяющаяся для данного турбоагрегата при разных режимах его работы, кДж/(кг×°C);
W
- расход охлаждающей воды, кг/с;
с
в
-
удельная теплоемкость воды, кДж/(кг×°C);
dt
= Dt
в
/(en
- 1),
где n =
KF/
c
в
W
(2.3)
(здесь K
- средний коэффициент теплопередачи конденсатора, Вт/м2
×°C);
F
- поверхность охлаждения конденсатора, м2
).
Из выражений (2.1)-(2.3) видно, что при заданных значениях F
, Dh
и определенных режимных параметрах D
2
,
W
и t
1в
показатели эффективности работы конденсатора р
2
и dt
определяются значением коэффициента теплопередачи K.
Из тех же формул следует, что при прочих равных условиях уменьшение паровой нагрузки D
2
приводит к понижению р
2
и dt
; уменьшение температуры охлаждающей воды t
1в
-
к увеличению dt
, но поскольку сумма t
1в
+
dt
становится при этом меньше, то t
2
, а соответственно, и р
2
уменьшаются; уменьшение расхода охлаждающей воды W
вследствие понижения при этом K
слабо влияет на dt,
но преобладающее влияние при этом увеличения Dt
в
приводит к росту р
2
.
Нормативные тепловые характеристики конденсаторов dt
= f
(D
2
, W
, t
1в
) и р
2
= f
(D
2
, W
, t
1в
) и способ пользования ими приведены в разд. 5.3. При отсутствии нормативных характеристик можно также пользоваться для контроля за работой конденсационной установки характеристиками, рассчитанными по методике, приведенной в [1].
2.2.3. При испытаниях конденсатора определяются непосредственно опытные значения среднего коэффициента теплопередачи по формуле
K
оп
= D
2
Dh/
(F
dt
cp
), (2.4)
где dt
cp
-
средняя логарифмическая разность температур пара и охлаждающей воды:
dt
cp
= Dt
в
/[2,3lg(1 + Dt
в
/dt
)].
Отношение фактического коэффициента теплопередача K
оп
к расчетному K
р
по [1], полученному при коэффициенте чистоты, равном 1, характеризует состояние конденсационной установки. Малые значения K
оп
/
K
р
, достигающие иногда из-за загрязнения поверхности охлаждения конденсатора, повышенного присоса воздуха, неисправности воздушного насоса или других причин значений 0,4-0,6, говорят о неудовлетворительной работе конденсационной установки и необходимости отыскания и устранения причин этого.
2.2.4. Важной характеристикой работы конденсатора является зависимость его гидравлического сопротивления H
от расхода охлаждающей воды. Измерениями значения H
осуществляется контроль за загрязнением трубных досок и трубок конденсатора. Гидравлическое сопротивление (падение давления охлаждающей воды, вызванное трением и местными сопротивлениями) складывается из сопротивления трубок Н
тр
и сопротивления водяных камер Н
к
(включая сопротивление при входе воды из камер в трубки и выходе из них). Значение Н
тр
зависит от внутреннего диаметра и длины трубок, их состояния (степени чистоты), числа ходов воды в конденсаторе, ее температуры и скорости. Значение Н
к
, составляющее обычно относительно небольшую долю общего сопротивления, зависит от числа ходов воды, конфигурации и размеров водяных камер, температуры и скорости течения воды. Формулы, рекомендуемые для расчета гидравлического сопротивления, приведены в [1].
3. ОСНОВНЫЕ ТИПЫ ОТЕЧЕСТВЕННЫХ КОНДЕНСАТОРОВ
3.1. Технические данные по конденсаторам паровых турбин мощностью от 50 МВт и более ПОТ ЛМЗ, ПОАТ ХТЗ и ПО ТМЗ приведены в приложении 1 (табл. П1.1-П1.3). Конструкции некоторых конденсаторов представлены на рис. 3.1-3.5.
3.2. Конденсаторы на ТЭС и ТЭЦ, работающих на органическом топливе, устанавливаются непосредственно под ЦНД турбины. В зависимости от мощности турбины, числа выхлопов из нее пара и компоновки турбоагрегата применяются одно- или многокорпусные конденсаторы. Однокорпусные конденсаторы имеют турбины К-160-130 ПОАТ ХТЗ (два выхлопа) и К-300-240 ПОТ ЛМЗ и ПОАТ ХТЗ (три выхлопа). Турбины К-100-90 и К-200-130 ПОТ ЛМЗ имеют по два корпуса - по одному на каждый выхлоп, а турбина К-500-240 ПОАТ ХТЗ - также два корпуса - каждый из них обслуживает двухпоточный ЦНД. Все эти конденсаторы имеют два хода охлаждающей воды и поперечное расположение корпусов относительно оси турбины. Конденсаторы турбины К-300-240 и K-160-130 по охлаждающей воде двухпоточные. Они имеют в водяных камерах вертикальные перегородки, позволяющие отключать по воде одну из половин конденсатора при работе турбины с соответственно пониженной нагрузкой для отыскания и отглушения поврежденных трубок или очистки отключенной половины. Возможно также не останавливать, а лишь разгружать турбину в пределах, определяющихся допустимой температурой отработавшего пара, при аварийном выходе из строя одного из блочных циркуляционных насосов. Остальные указанные выше конденсаторы имеют по два параллельно включенных по охлаждающей воде корпуса, паровые пространства которых соединены между собой перепускными патрубками, что позволяет отключать по воде один из корпусов при работе турбины.
Турбины 500, 800 и 1200 МВт ПОТ ЛМЗ имеют при четырех выхлопах одноходовые конденсаторы с аксиальным расположением корпусов (вдоль оси турбины). Аксиальные одноходовые конденсаторы имеют или два последовательно включенных по воде (через общую промежуточную водяную камеру) двухпоточных корпуса (турбины К-500-240 и К-800-240) или две параллельные группы по два последовательно включенных однопоточных корпуса (К-1200-240). Применение аксиальных конденсаторов упрощает схему и облегчает размещение циркуляционных водоводов.
Последовательное включение корпусов аксиальных конденсаторов позволило ограничить длину примененных трубок и просто осуществить их секционирование. В этих конденсаторах предусмотрена двухступенчатая конденсация отработавшего пара, при которой давление его в первой секции (первом корпусе) по ходу охлаждающей воды ниже, чем во второй секции (втором корпусе), в которую поступает вода, подогретая в первой секции. Ступенчатая конденсация пара термодинамически эффективнее одноступенчатой.


Рис. 3.1. Конденсатор K-15240 турбины K-300-340 ПОАТ ХТЗ

Рис. 3.2. Конденсатор турбины Т-100-130 ПО ТМЗ
При разделении конденсатора на секции, последовательно включенные по охлаждающей воде, но не сообщающиеся между собой со стороны пара, в секциях, расположенных со стороны входа воды, температура конденсации t
2
и давление пара р
2
понижаются по сравнению с односекционным конденсатором тех же размеров значительнее, чем увеличиваются в секциях, находящихся на стороне выхода воды (рис. 3.6). Это приводит к некоторому углублению среднего вакуума. Так, например, в двухсекционном конденсаторе турбины К-1000-60/3000 ПОТ ЛМЗ при t
1в
= 20 °C давление пара в первой секции = 4,6 кПа и во второй = 5,9 кПа. Среднее давление составляет р
2ср
= 5,25 при р
2
= 5,5 кПа при односекционном выполнении конденсатора, т.е. меньше на Dр
2
= 0,25 кПа. При повышении температуры охлаждающей воды t
1в
понижение р
2
при секционировании конденсатора и соответствующий выигрыш в экономичности турбоагрегата возрастают.

Рис. 3.3. Конденсатор турбины К-500-60/1500 ПОАТ ХТЗ:
1
- вход пара; 2
- вход охлаждающей воды в нижние поток; 3
- выход охлаждающей воды из нижнего потока; 4
- вход охлаждающей воды в верхний поток; 5
- выход охлаждающей воды из верхнего потока; 6
- основной трубный пучок; 7
- воздухоохладитель; 8
- паровые щиты; 9
- деаэрационное устройство; 10
- конденсатосборник; 11
- переходный патрубок; 12
- боковая опора; 13
- отсос паровоздушной смеси

Рис. 3.4. Продольное расположение конденсатора турбины К-800-240-3 ПОТ ЛМЗ

Рис. 3.5. Поперечный разрез конденсатора 800-КЦС-3 ПОТ ЛМЗ

Рис. 3.6. Температуры в давление в односекционных (а
) и двухсекционных (б
) конденсаторах:
F
- поверхность охлаждения конденсатора; t
1в
,
t
2в
-
начальная и конечная температуры охлаждающей воды; Dt
в
- перепад температур воды; t
2
-
температура конденсирующегося пара; р
2
- давление пара; Dр
2
- понижение среднего давления пара при секционировании;
индексы: I - первая секция; II - вторая секция
Конденсаторы теплофикационных турбин Т-100-130 и Т-250-240 ПО ТМЗ отличаются от применяющихся для конденсационных турбин наличием наряду с основным встроенного трубного пучка со своими водяными камерами и независимым подводом и отводом охлаждающей воды. Это позволяет для турбины T-100-130 при работе ее в течение отопительного периода со значительным отбором пара на сетевые подогреватели и пропуском через ЦНД лишь вентиляционного расхода пара прекратить подачу охлаждающей воды в основной трубный пучок и конденсировать вентиляционный пар на встроенном пучке, охлаждаемом сетевой водой или подпиточной водой теплосети. При этом полезно используется теплота конденсации вентиляционного пара. Использование встроенного пучка в конденсаторе турбины Т-250-240, разрешается заводом для подогрева подпиточной воды теплосети при сохранении охлаждения основного трубного пучка циркуляционной водой. Разрешена также работа на встроенном пучке с пропуском через него циркуляционной воды при закрытых задвижках на перепускных трубах от ЦСД-II к ЦНД.
3.3. В турбинах влажного пара расход отработавшего пара при той же мощности в 1,6-1,8 раза больше, чем в турбинах перегретого паря, что приводит и к соответственно большей тепловой нагрузке конденсаторов.
Конденсаторы быстроходных турбин (3000 об/мин) К-220-44, К-500-65 и К-750-65 подвальные, по воде двухходовые с поперечным расположением однопоточных корпусов. Турбина К-220-44 имеет по корпусу конденсатора на каждый из двух двухпоточных ЦНД, остальные две турбины - на каждая из четырех двухпоточных ЦНД. Боковые конденсаторы имеют у турбины К-500-60 по одному и у турбины К-1000-60 по три последовательно соединенных по воде корпуса с каждой стороны турбины, отработавший пар поступает в них как из нижней, так и из верхней половины корпуса ЦНД. В отличие от подвальных конденсаторов перегородки в водяных камерах, разделяющие два потока воды, у них горизонтальные. Для нижнего потока применяются циркуляционные насосы с меньшим давлением воды, чем для верхнего.
Применение боковых конденсаторов позволяет упростить конструкцию ЦНД и фундамента турбины и облегчает размещение крупных конденсаторов. В то же время оно приводит к необходимости применения разъемных фланцевых соединений выхлопных патрубков турбины обеих половин ЦНД с конденсатором, разборки и сборки этих соединений при вскрытиях ЦНД. Кроме того, при гидравлической опрессовке конденсатора должна заливаться водой и турбина, уплотнения которой требуют при этом герметизации. Из-за недостаточной длины поставляемых трубок боковые конденсаторы турбины К-1000-60 выполнены, как указано выше, в виде двух групп с тремя последовательно включенными по воде корпусами, что связано с трудностями эксплуатационного контроля состояния и замены трубок в среднем корпусе.
4. ВЛИЯНИЕ ВАКУУМА НА ЭКОНОМИЧНОСТЬ ПАРОТУРБИННЫХ УСТАНОВОК
4.1. Из всех параметров, определяющих в условиях эксплуатации экономичность паротурбинных установок, наибольшее влияние оказывает давление отработавшего пара. При повышении давления в конденсаторе из-за увеличения температуры охлаждающей воды или неудовлетворительной работы конденсационного устройства уменьшается располагаемый тепловой перепад в турбине, что приводит к снижению термического КПД цикла. Однако снижение КПД цикла становится несколько меньшим вследствие того, что при повышении давления за рабочими лопатками последней ступени уменьшается при заданном массовом расходе отработавшего пара его выходная скорость за последней ступенью, что ведет к некоторому увеличению внутреннего относительного КПД турбины. Противоположно направленное влияние двух указанных факторов учитывается в полной мере при определении экспериментальным путем кривой поправок к мощности турбины на противодавление в конденсаторе. В результате испытаний эта зависимость получается в виде универсальной кривой, которая может быть развернута в обычно используемую в эксплуатации сетку поправок, показывающую изменение электрической мощности турбоустановки в зависимости от противодавления или давления в конденсаторе р
2
при различных расходах отработавшего пара (рис. 4.1).
4.2. В определенном диапазоне изменения давления отработавшего пара зависимость мощности турбины от р
2
при заданном расходе пара D
2
имеет прямолинейный характер; изменение мощности при изменении давления в конденсаторе в указанном диапазоне изменения давления оказывается для данного типа турбины величиной практически постоянной.
Например, изменение р
2
на 1 кПа (0,01 кгс/см2
) (~1% вакуума) приводит к изменению мощности турбины ТЭС с начальным давлением пара 13-24 MПa (130-240 кгс/см2
) и перегревом пара примерно на 0,8-0,9% номинальной мощности.
Для турбин, работающих на насыщенном паре с начальным давлением 4,4-6,5 МПа (44-65 кгс/см2
), располагаемый теплоперепад (работа обратимого расширения 1 кг пара) значительно (почти вдвое) меньше, чем для турбин перегретого пара. Поэтому изменение давления в конденсаторе турбин, работающих на насыщенном паре, сильнее сказывается на термическом КПД цикла, а соответственно и на изменении мощности турбины. Так, для турбин, работающих на насыщенном паре, с частотой вращения 3000 об/мин, на прямолинейном участке зависимости мощности от давления в конденсаторе при изменении последнего на ±1 кПа (~0,01 кгс/см2
) развиваемая турбоагрегатом мощность изменяется примерно на 1,8% номинальной мощности турбоагрегата. Но для турбин с частотой вращения 1500 об/мин в силу особенностей аэродинамической характеристики рабочей лопатки последней ступени (большая длина, значительная веерность) соответствующее изменение мощности значительно меньше и приблизительно уравнивается с его значением для турбин ТЭС на органическом топливе.

Рис. 4.1. Поправки к мощности турбины К-300-240 ПОАТ ХТЗ на изменение давления в конденсаторе
Примечание. Средняя поправка к мощности при изменении р
2
на ±1 кПа (~0,01 кгс/см2
) ±3340 кВт в пределах, ограниченных линиями I-I и II-II.
4.3. Кривые поправок к мощности турбины на изменение противодавления имеют изгиб в нижней части; удельное изменение мощности по мере снижения давления отработавшего пара постепенно уменьшается и становится равным нулю, когда расширение пара в последней ступени происходит уже за пределами выходного сечения рабочей лопатки. При очень высоком противодавлении зависимость также имеет изгиб, объясняющийся снижением влияния режима последней ступени, на которой при высоких противодавлениях срабатывается очень малый тепловой перепад.
Следует отметить, что относительное изменение мощности за счет изменения давления в конденсаторе при заданном расходе пара и теплоты на турбину характеризует изменение экономичности энергоблока в целом, т.е. изменение удельного расхода теплоты для ТЭС.
4.4. В табл. 4.1 приведены данные по изменению мощности турбоагрегата при изменении давления в конденсаторе на ±1 кПа (0,01 кгс/см2
) в пределах прямолинейных участков поправочных кривых на давление в конденсаторе, а также изменение удельного расхода теплоты при номинальной нагрузке турбоагрегата.
Таблица 4.1
| Турбина
|
Изменение мощности, кВт
(±)
|
Изменение удельного расхода теплоты, %
(±)
|
Тип электростанции
|
| К-50-90 ПОТ ЛМЗ
|
450
|
0,90
|
|
| K-100-90 ПОТ ЛМЗ
|
900
|
0,90
|
КЭС
|
| K-100-90 ПОАТ ХТЗ
|
1000
|
1,00
|
|
| K-160-130 ПОАТ ХТЗ
|
1170
|
0,73
|
|
| K-200-130 ПОТ ЛМЗ
|
1900
|
0,95
|
|
| К-300-240 ПОАТ ХТЗ
|
3340
|
1,11
|
|
| К-300-240 ПОТ ЛМЗ
|
2760
|
0,92
|
КЭС
|
| К-500-240 ПОАТ ХТЗ
|
3880
|
0,78
|
|
| К-500-240 ПОТ ЛМЗ
|
3680
|
0,74
|
|
| К-800-240 ПОТ ЛМЗ
|
4940
|
0,62
|
|
| T-50-130 ПО ТМЗ
|
400
|
0,80*
|
|
| ПТ-60-130 ПОТ ЛМЗ
|
450
|
0,90*
|
|
| ПТ-80/100-130/13 ПОТ ЛМЗ
|
450
|
0,56*
|
ТЭЦ
|
| T-100-130 ПО ТМЗ
|
725
|
0,73*
|
|
| Т-250-240 ПО ТМЗ
|
1830
|
0,70*
|
|
| К-220-44 ПОАТ ХТЗ (3000 об/мин)
|
3980
|
1,81
|
|
| К-500-65/3000 ПОАТ ХТЗ
|
7960
|
1,59
|
|
| К-750-65/3000 ПОАТ ХТЗ
|
8900
|
1,19
|
|
| К-600-60/1500 ПОАТ ХТЗ
|
4250
|
0,85
|
С влажно-паровыми турбинами
|
| К-1000-60/1500-1
ПОАТ ХТЗ (3 ЦНД)
|
10350
|
1,04
|
| K-1000-60/1500-2
|
|
|
|
| К-1000-60/1500-3 ПОАТ ХТЗ (2 ЦНД)
|
8300**
|
0,83
|
|
| * При конденсационном режиме.
** По расчету завода
|
5. КОНТРОЛЬ ЗА РАБОТОЙ КОНДЕНСАЦИОННЫХ УСТАНОВОК
5.1. Оценка показателей работы конденсационной установки
5.1.1. Показатели работы конденсационной установки и взаимосвязь их между собой рассмотрены в разд. 2.2.
Основным интегральным показателем, отражающим влияние всех режимных факторов и состояния всех элементов конденсационной установки на ее работу, является давление отработавшего пара р
2
. Сравнение измеренного значения р
2
с его нормативным значением при соответствующих режимных условиях по типовой характеристике конденсатора данного типа (см. разд. 5.3) может, однако, служить только для общей оценки качества работы конденсационной установки, "но не позволяет выявить причины ухудшения ее работы при значениях давления р
2
, превосходящих нормативные. Для определения причин повышения значения р
2
по сравнению с нормативным должны использоваться другие показатели, доступные для определения в условиях эксплуатации, в том числе характеризующие кроме работы и состояния собственно конденсатора воздушную плотность вакуумной системы турбоагрегата, работу воздушных насосов и системы циркуляционного водоснабжения.
Оценку эффективности работы конденсационной установки по данным эксплуатационного контроля рекомендуется производить при номинальной или близкой к ней паровой нагрузке конденсатора D
2
. Отвечающие номинальному расходу отработавшего пара данные типовой характеристики наиболее точны, а показатели, используемые для оценки работы конденсационной установки, имеют при этом наибольшие значения, что также повышает точность контроля за ее работой.
5.1.2. При определенных расходах отработавшего пара и охлаждающей воды (способ контроля за расходом воды см. п. 5.2.5) и нормальном состоянии других элементов конденсационной установки эффективность работы и состояние собственно конденсатора характеризуются значением общего (среднего для всей поверхности охлаждения) коэффициента теплопередачи K
,
определяющегося формулой (2.4). Но поскольку коэффициент теплопередачи не может быть определен путем непосредственного измерения, в условиях эксплуатации значительно удобнее пользоваться для контроля за интенсивностью теплопередачи значением температурного напора на выходе из конденсатора.
Температура насыщения отработавшего пара t
2
определяется по таблицам теплофизических свойств водяного пара по точно измеренному давлению в конденсаторе (см. п. 5.2.1); t
2в
измеряется на выходе охлаждающей воды из конденсатора (см. п. 5.2.2).
При загрязнении трубок температурный напор возрастает и сравнение его со значением нормативного напора, взятого по типовой характеристике при тех же значениях основных режимных параметров - паровой нагрузки конденсатора, температуры и расхода охлаждающей воды, позволяет оценить меру ухудшения состояния внутренней поверхности конденсаторных трубок, вызываемого образующимися на ней отложениями. Как правило, загрязнение трубок со стороны пара не наблюдается.
Температурный напор должен систематически контролироваться эксплуатационным персоналом электростанции. Контроль за ним должен производиться тем чаще, чем интенсивнее происходит загрязнение трубок, но не реже чем через каждые 10 дн. Если при контроле за температурным напором обнаруживается быстрое загрязнение трубок, то при применении на электростанции профилактической обработки охлаждающей воды режим обработки должен быть соответствующим образом скорректирован (см. разд. 14). Если профилактическая обработка охлаждающей воды на электростанции по каким-либо причинам не производится или недостаточно эффективна, то согласно § 18.15 ПТЭ, при ухудшении вакуума на 0,5% по сравнению с нормативным необходимо произвести очистку трубок принятым на электростанции способом (см. разд. 14.3).
5.1.3. Нагрев охлаждающей воды в конденсаторе Dt
в
= t
2в
– t
1в
характеризует при заданной паровой нагрузке конденсатора D
2
расход охлаждающей воды. Нагрев охлаждающей воды зависит от ее расхода, расхода отработавшего пара и от разности энтальпии отработавшего пара и уходящего из конденсатора конденсата Dh
; последняя, как отмечалось в п. 2.2.2, мало изменяется с изменением расхода пара D
2
(в пределах 2-3%). Для паровых нагрузок, близких к номинальной, значение Dh
указывается в типовой характеристике.
При известном D
2
расход охлаждающей воды может быть определен из теплового баланса конденсатора по значению нагрева воды Dt
в
(см. п. 5.2.5). Поскольку контроль за нагревом охлаждающей воды не вызывает трудности, он используется, в частности, для анализа влияния на расход охлаждающей воды режима и качества работы циркуляционных насосов (если отсутствуют данные непосредственного измерения расхода охлаждающей воды). Повышенный нагрев охлаждающей воды может свидетельствовать о недостаточной подаче воды циркуляционными насосами.
5.1.4. Значение гидравлического сопротивления конденсатора Н
, меньшее нормативного, также может служить признаком недостаточной подачи воды насосами. По значению гидравлического сопротивления конденсатора осуществляется контроль за загрязнением посторонними предметами трубных досок конденсатора, а также живого сечения конденсаторных трубок. Измерение гидравлического сопротивления конденсатора не может, однако, достаточно отчетливо обнаружить загрязнение внутренней поверхности трубок, в особенности образования небольшого слоя накипи, незначительно уменьшающего сечения трубок. В таких случаях более чувствителен контроль по температурному напору (см. п. 5.1.2). Значительные же загрязнения трубок илистыми отложениями, застрявшей рыбой, взвешенными крупными частицами могут заметно отражаться на значении гидравлического сопротивления. Резко увеличивается гидравлическое сопротивление при загрязнении трубных досок (водорослями, листьями, ракушками или другими крупным наносами). Обнаруженное измерениями (см. п. 5.2.6) значительное увеличение значения Н
может служить основанием для отключения половины конденсатора по охлаждающей воде и очистки трубных досок.
Зависимость гидравлического сопротивления конденсатора от расхода охлаждающей воды представляется графически в форме кривой, близкой к проходящей через начало координат параболе, постоянный множитель которой растет с увеличением степени загрязнения конденсатора.
5.1.5. Присосы воздуха в вакуумную систему турбоустановки слабо влияют на эффективность работы конденсационной установки, если количество воздуха, удаляемого из конденсатора воздухоудаляющими устройствами, находится в пределах значений, допускаемых согласно § 18.15 ПТЭ, и запас в рабочей подаче воздухоудаляющих устройств (пароструйных, водоструйных эжекторов), комплектующих данную турбоустановку, удовлетворяет рекомендациям [1].
Это не исключает, однако, необходимости периодического контроля за воздушной плотностью вакуумной системы турбоустановки для своевременного принятия мер, необходимых для поддержания присосов воздуха в допустимых пределах (см. разд. 12).
Согласно ПТЭ, контроль за воздушной плотностью вакуумной системы должен производиться по значению, непосредственно измеренного тем или иным способом расхода отсасываемого из конденсатора воздуха (см. п. 5.2.7). Проверка воздушной плотности вакуумной системы по скорости падения вакуума при отключенных воздухоудаляющих устройствах не должна применяться.
5.1.6. Переохлаждение конденсата (понижение температуры конденсата на выходе из конденсатора по сравнению с температурой насыщения, соответствующей давлению в конденсаторе может вызываться в регенеративном конденсаторе либо неисправностью автоматического электронного регулятора уровня конденсата в конденсатосборнике и заливом конденсатом нижних рядов трубок, либо чрезмерными присосами воздуха в вакуумную систему, особенно при низкой температуре и большом расходе охлаждающей воды. Для его предотвращения необходимо следить за исправным действием регулятора уровня при всех режимах и поддерживать требуемую плотность вакуумной системы (см. разд. 12).
Переохлаждение конденсата вызывает дополнительный расход пара в ПНД № 1 для компенсации излишне отведенной в конденсатор теплоты основного конденсата и, следовательно, недовыработку электроэнергии на участке проточной части турбины от последнего по ходу пара отбора до конденсатора. Понижение экономичности турбоагрегата при переохлаждении конденсата на 5 °C составляет 0,1-0,2%.
5.1.7. Совершенство конденсационной установки характеризуется также ее деаэрирующей способностью, обеспечивающей в современных конденсаторах минимальное содержание кислорода в конденсате, поступающем из конденсатора в питательную систему котла. Нарушение нормальной деаэрации в конденсаторе, а также попадание в конденсат воздуха через неплотности на участке "конденсатосборник - конденсатный насос" обнаруживается по результатам химических анализов проб конденсата, периодически отбираемых за конденсатным насосом, в которых определяется концентрация кислорода.
Согласно § 22.15 ПТЭ, содержание кислорода в конденсате после конденсатных насосов должно быть не более 20 мкг/кг.
5.1.8. Водяная плотность вальцовочных соединений конденсаторных трубок с трубными досками, отсутствие коррозионных и эрозионных повреждений трубок, вызывающих попадание охлаждающей воды в паровое пространство конденсатора и далее вместе с конденсатом в контур питательной воды, должны предотвращать повышение общей жесткости конденсата на выходе из конденсатора сверх допускаемой ПТЭ. Согласно § 22.15 ПТЭ, общая жесткость конденсата, контролируемая путем химических анализов проб конденсата, не должна превышать для прямоточных котлов и энергоблоков с влажнопаровыми турбинами (до конденсатоочистки) 0,5 мкг-экв/кг и для котлов с естественной циркуляцией значений указанных в табл. 5.1.
Таблица 5.1
| Давление пара
|
Наибольшая допустимая жесткость (мкг-экв/кг) для котлов
|
| на жидком топливе
|
на топливе других видов
|
| 4,0 МПа (40 кгс/см2
)
|
5
|
10
|
| от 4,0 до 10 МПа (от 40 до 100 кгс/см2
)
|
3
|
5
|
| 10 МПа (100 кгс/см2
) и выше
|
1
|
1
|
При непрерывной очистке 100% конденсата, поступающего из конденсатора в контур питательной воды, допускается временное повышение его общей жесткости сверх указанных норм на 0,5 мкг-экв/кг в течение не более 4 сут при условии соблюдения норм качества питательной воды (контроль за качеством конденсата и обеспечение гидравлической плотности конденсатора см. разд. 11).
5.2. Методы измерения режимных параметров, при контроле за работой конденсационной установки
5.2.1. Давление отработавшего пара, поступающего в конденсатор из выхлопного патрубка современной мощной турбины, распределено в выходном сечении патрубка весьма неоднородно, что объясняется закруткой потока пара и изменением направления его движения после выхода из последней ступени турбины, а также наличием в патрубке элементов жесткости (иногда и ПНД № 1). Абсолютные давления в различных точках переходного патрубка конденсатора могут различаться на 0,3-0,5 кПа (0,003-0,005 кгс/см2
). Такие отклонения от среднего давления могут вызвать ошибку при определении температурного напора в 1-2 °C, что повлечет за собой неправильную оценку состояния поверхности охлаждения. Поэтому значение р
2
должно определяться путем осреднения значений давления, измеренных в ряде точек.
В [2, 4-7] даются рекомендации по размещению первичных преобразователей давления отработавшего пара в конденсаторах для повседневного контроля. Отбор сигнала должен производиться на расстоянии 1 м выше верхнего ряда трубок конденсатора и примерно 0,5 м от боковых стенок переходного патрубка. Чтобы исключить влияние на значение сигнала динамического воздействия потока пара и обеспечить измерение его статического давления, на концах соединительных (импульсных) трубок в паровом пространстве конденсатора устанавливаются плоскопараллельные пластины размером 230´280 мм (см. рис. П2.1 приложения 2). В центре пластины приваривается штуцер с отверстием диаметром 10 мм и резьбой под накидную гайку М 20´1,5 мм. Могут применяться и сетчатые зонды (см. рис. П2.1), представляющие собой перфорированный стакан толщиной стенки 2 мм с четырьмя рядами отверстий диаметром 3 мм (по восемь отверстий в ряду); внутрь стакана вставляется скрученная спирально латунная сетка № 028 размером 75/300 мм. Сетчатые зонды, в частности, удобны при организации отбора сигналов давлений с одновременным их усреднением путем присоединения соединительных трубок из разных точек к общему центральному стакану, от которого ведется соединительная трубка к вторичному прибору (рис. 5.1). Для очень крупных турбин с количеством точек отбора сигналов более четырех возможно применение нескольких таких устройств. Такой прием позволяет обойтись значительно меньшим количеством вторичных, приборов, что упрощает обслуживание приборов и проведение эксплуатационного контроля. Зонды обычно укрепляются (хомутами или проволокой) на первом от трубного пучка ряду анкерных связей переходного патрубка. При этом плоскопараллельные пластины устанавливаются узким торцом (230 мм) навстречу потоку отработавшего пара, а сетчатые зонды - параллельно анкерным связям. Материал для изготовления зондов - сталь Ст.3. Приборы, измеряющие абсолютное давление (вакуум), должны располагаться выше точки отбора сигнала, чтобы исключить возможность скопления воды в соединительных трубках.

Pиc. 5.1. Измерение давления (вакуума) в нескольких точках с использованием одного вторичного прибора:
1
- стенка переходного патрубка конденсатора; 2
- сетчатый зонд; 3
- сигнальная (импульсная) трубка диаметром 16´2 мм; 4
- центральный стакан; 5
- к вторичному прибору
Прокладку соединительных линий от места забора сигнала до вторичного прибора необходимо производить с соблюдением правил монтажа приборов, работающих под вакуумом, а именно:
- внутренний диаметр соединительных трубок должен быть не менее 10-12 мм;
- соединительные линии должны быть проложены по кратчайшей трассе, без изломов и сплющивания на поворотах с непрерывным уклоном не менее 1:10 в сторону отбора сигнала;
- должна быть проведена герметичность соединительных линий;
- запорные устройства на линиях вывода сигнала, имеющие сальники и резьбовые соединения, не должны применяться; предпочтительны зажимы на участках, резиновой толстостенной трубки;
- вторичные приборы должны присоединяться с помощью толстостенной вакуумной резиновой трубки.
Для эксплуатационного контроля удобнее производить измерение непосредственно абсолютного давления отработавшего пара. В качестве первичных преобразователей рекомендуется применять средства измерения, указанные в приложении 3 и [8].
Удобным для использования в эксплуатации и для точного контроля за правильностью показаний штатных приборов непрямого действия, измеряющих абсолютное давление в конденсаторе, является баровакуумметр (запаянная с одного конца трубка, заполненная ртутью). Прибор такого типа обеспечивает высокую точность измерения абсолютного давления, при этом исключен прямой контакт находящегося в трубке небольшого количества ртути с окружающей средой.
Применение для разовой проверки основного прибора ртутного чашечного вакуумметра может быть допущено лишь кратковременно в исключительных случаях, при этом должно также измеряться барометрическое давление с помощью инспекторского ртутного барометра или барометра-анероида типа БАММ-1. К показаниям этих приборов должны вноситься все необходимые поправки (на капиллярность, температуру столба ртути и др.
). Должна быть предусмотрена возможность продувки соединительной линии непосредственно перед прибором, измеряющим абсолютное давление (вакуум). Перед проведением эксплуатационного контроля следует произвести продувку линия.
В связи с невозможностью обеспечить в сжатые сроки установку на всех турбоагрегатах для измерения абсолютного давления высокоточных приборов типа "Сапфир" и качестве временной меры может быть рекомендован способ определения давления в конденсаторе по температуре насыщения измеренной термопреобразователями сопротивления медными или платиновыми ТСП-8053, ТСП-8054; вторичный прибор - автоматический мост КСМ-4 со шкалой 0-100 °C. Термометры сопротивления помещаются в изготовленных из тонкостенной трубки соответствующего диаметра длинных гильзах, которые располагаются в переходном патрубке в тех же точках, что и зонды давления, согласно указаниям [2, 5-7].
Для того чтобы избежать оттока теплоты от первичных преобразователей, циркуляция воздуха в гильзе должна быть исключена закупоркой входного отверстия гильзы. До установки термометров сопротивления в гильзы целесообразно произвести их градуировку. С этой целью термометры, подлежащие установке в конденсаторе, помещаются в аналогичные гильзы, погруженные в сосуд с водой, температура которой измеряется точным лабораторным ртутным термометром. Следует производить проверку всего комплекса, включающего в себя термометры сопротивления, соединительные провода и автоматический мост. При проведении измерений температуры в переходном патрубке конденсатора к отсчитанным по шкале значениям температуры желательно вводить зафиксированные при проверке поправки.
Независимо от временной схемы измерений для определения абсолютного давления в конденсаторе с помощью термометров сопротивления должна быть также подготовлена схема для непосредственного измерения давления, к которой впоследствии будет подключен прибор "Сапфир" или другой высокоточный прибор, измеряющий абсолютное давление. Используя эту схему, следует проверить с помощью ртутного прибора правильность определения давления в конденсаторе по среднему арифметическому значению температуры, измеренной в нескольких точках переходного патрубка.
При определении давления отработавшего пара по показаниям термометров, установленных в гильзах, возможны погрешности в результате, например, образования пленки конденсата на поверхности обтекаемых влажным паром гильз, лучистого теплообмена гильз с другими поверхностями в конденсаторе или других причин, которые не представляется возможным учесть. Погрешность в определении температуры пара, например, на 0,2 °C приводит к ошибке в определении вакуума до 0,1%. Именно поэтому способ определения давления по температуре пара рекомендуется лишь как временный с переходом в дальнейшем к непосредственному измерению абсолютного давления в конденсаторе.
Когда поступавший в конденсатор пар перегрет, например, в режимах пуска турбоагрегата, давление в конденсаторе должно контролироваться с помощью пружинного мановакуумметра или другого прибора, измеряющего непосредственно давление (разрежение).
5.2.2. Измерение температуры охлаждающей воды на входе в конденсатор, где поток ее однороден по температуре, может производиться одним термометром на каждом водоводе к конденсатору. При дублировании же измерения температуры охлаждающей воды перед конденсатором термометрические гильзы должны располагаться на сдвинутых одна относительно другой по периметру образующих водовода.
На выходе из конденсатора распределение температур по сечению потока охлаждающей воды существенно неоднородно, поэтому температуру воды в каждом из сливных водоводов следует измерять в нескольких точках по его сечению. При этом сечения сливных водоводов, в которых производятся измерения температур воды, должны располагаться на расстоянии не менее пяти диаметров сливного водовода от водяных камер конденсатора, т.е. за участком, на котором в основном завершается перемешивание потока.
Длина устанавливаемых гильз должна составлять около 300 мм. Термометрические гильзы могут изготавливаться из трубки внутренним диаметром не менее 12 мм и толщиной стенки 2-2,5 мм. Измерение следует производить с помощью термометров сопротивления типа ТСП с пределами измерения 0-50 °C. Расположение шести гильз в сливных водоводах показано на рис. 5.2. В гильзы следует залить воду. При совпадении показаний всех шести термометров в дальнейшем можно использовать только один из них. Однако надо иметь в виду, что однородность поля температур в сливном водоводе сильно зависит от режима работы конденсатора. Для определения средней температуры охлаждающей воды после конденсатора при неравномерном поле ее температур в сечении водовода можно использовать так называемую проточную гильзу (рис. 5.3). Применение проточной гильзы сокращает требуемое для эксплуатационного контроля количество термометров и упрощает проведение контроля.
5.2.3. Измерение температуры конденсата отработавшего пара производится термометрами сопротивления типа ТСП, установленными в термометрической гильзе на участке трубопровода между конденсатосборником и задвижкой на входе в конденсатный насос. Длина погруженной части гильзы принимается l
= 0,5D
+ 5 мм, где D
-
диаметр трубопровода (мм), но не короче 300 мм. В гильзу заливается вода.

Рис. 5.2. Расположение гильз для измерения температуры охлаждающей воды в сливном водоводе диаметром 1600 мм:
а
- на вертикальном участке; б
- на горизонтальном участке

Рис. 5.3. Проточная гильза для измерения средней температуры охлаждающей воды после конденсатора:
1
- сливной водовод; 2
- перфорированная трубка диаметром 40-50 мм, отверстия диаметром 8-10 мм, шаг отверстий 60-80 мм; 3
- вентиль; 4
- ртутный термометр или термометр сопротивления
5.2.4. Паровая нагрузка конденсатора (расход отработавшего пара в конденсатор) определяется при проведении эксплуатационного контроля за работой конденсационной установки по давлению пара в камере одного из регенеративных отборов низкого давления -давлению пара в контрольной ступени. Отборы, которые рекомендуется использовать для определения расхода отработавшего пара, указаны в [2, 5-7] для каждого типа конденсатора. Там же указан способ расчета расхода отработавшего пара по измеренному в контрольной ступени давлению.
Давление, принимаемое за контрольное, обычно составляет 50-300 кПа (0,5-3,0 кгс/см2
) при номинальной паровой нагрузке конденсатора. Вследствие изменений давления в контрольной ступени при колеблющейся паровой нагрузке ЦНД возможно при обычном присоединении манометра скопление воды на отдельных участках соединительных линий, приводящее к ошибкам измерений. Для предотвращения этого должна применяться измерительная схема, обеспечивающая при всех условиях полное заполнение водой соединительных линий. Последнее достигается при использовании конденсационного сосуда, устанавливаемого в точке отбора давления, как это показано на рис. П2.2 для горизонтального участка паропровода вблизи камеры отбора; для вертикального участка паропровода присоединение выполняется аналогично. На рис. П2.3 приведен эскиз конденсационного сосуда, изготавливаемого из отрезка трубы D
y
150 мм. Поправка на высоту присоединения, которую следует вводить к измеренному вторичным прибором значению давления, определяется как разность отметки верхнего обреза внутренней трубы 3
и присоединительной чашки манометра. Поправка имеет знак "минус", поскольку конденсационный сосуд всегда располагается выше точки размещения прибора. Вторичный прибор - пружинный манометр (мановакуумметр) класса 0,6. Манометр желательно периодически проверять в измерительной лаборатории с записью полученных значений поправок. К измеренному при проведении эксплуатационного контроля значению давления вводится также и эта поправка. К конечному результату для получения абсолютного давления прибавляется барометрическое давление МПа ( кгс/см2
), где В
- барометрическое давление, мм рт.ст.
5.2.5. Измерение расхода охлаждающей воды производится с помощью сегментных сужающих устройств, устанавливаемых при блочной, схеме водоснабжения на прямолинейных участках напорных водоводов и при схеме водоснабжения с магистральными водоводами перед конденсаторами (см. разд. 8.3).
Рекомендации по расчету, изготовлению и установке сегментных сужающих устройств подробно изложены в [3] .В качестве вторичного прибора, измеряющего перепад давлений на сужающем устройстве при проведении эксплуатационного контроля, монет быть использован водяной П-образный двухстекольный дифманометр (см. рис. П2.4). Для постоянного контроля за расходом охлаждающей воды к сегментной диафрагме следует подключить мембранный электрический дифманометр (ДМЭ) класса 1,0 с выходным сигналом 0-5 мА и пределами измерения в соответствии с выбранным перепадом на сегментной диафрагме.
Расход охлаждающей воды (м3
/ч) может быть определен и косвенным путем из теплового баланса конденсатора:
,
где rв
- плотность воды, равная 1,0 т/м3
.
Непосредственное определение по тепловому балансу расходов охлаждающей воды для двух половин двухпоточного конденсатора невозможно вследствие того, что неизвестно точное распределение расхода конденсирующегося пара D
2
между двумя половинами конденсатора. В этом случае задача может быть решена путем последовательного приближения.
Для контроля за водопотреблением на электростанциях Минэнерго СССР рекомендованы к использованию электромагнитные расходомеры. При невозможности использования какого-либо из описанных выше способов определения W
могут быть применены расходомеры этого типа, например, электромагнитный расходомер ИР-56 с преобразователем расхода ПРИЛI и счетной приставкой С-2А (допустимая погрешность ±1%), изготавливаемый Таллиннским приборостроительным заводом, а также электромагнитный расходомер "Индукция-51" (погрешность ±1,5%), изготавливаемый заводом "Ленводприбор".
5.2.6. Гидравлическое сопротивление конденсатора при избыточном давлении воды на входе в конденсатор и выходе из него может быть определено как разность давлений в подводящем напорном и сливном водоводах циркуляционной воды, измеренных в непосредственной близости к конденсатору. Точки отбора сигналов могут располагаться как ниже, так и выше пола машинного зала (рис. 5.4, а
). Измерение давлений производится проверенными пружинными манометрами для точных измерений (МТИ) класса 0,6; манометры устанавливаются на одной высоте, что исключает необходимость введения поправок на высоту их присоединения. Соединительные трубки должны быть заполнены водой.
В случае разрежения в сливной линии (использование сифона) точка отбора сигнала должна располагаться в верхней точке сливной трубы или в верхней точке водяной камеры, если вода из камеры отводится снизу. Выбор точки измерения на вертикальном участке сливной трубы может привести к ошибочным результатам из-за неопределенности состояния столба воды в опускной части сифона; присоединение же прибора к зоне сливной трубы, где давление выше атмосферного, неудобно, так как эта зона находится уже за пределами конденсатора - на горизонтальном участке сливной трубы.
Прибор, измеряющий разрежение, должен располагаться ниже точки присоединения соединительной трубки к верхней части сливной линии и на одном уровне с прибором, измеряющим давление воды перед конденсатором (см. рис. 5.4, б
); в этом случае к показаниям приборов также не надо вводить поправку на высоту их присоединения. Соединительные линии должны быть заполнены водой.
Гидравлическое сопротивление в этом случае определяется как сумма значений давления перед конденсатором и разрежения после конденсатора.
При рассмотренном выше способе измерения гидравлического сопротивления конденсатора не учитываются гидравлическое сопротивление сливной трубы, а также сливной камеры, если вода отводится из нее снизу. Для целей контроля за состоянием конденсатора это не существенно, поскольку задачей является в этом случае определение не абсолютного значения гидравлического сопротивления конденсатора, а изменение этого сопротивления, вызванное засорением трубных досок, трубок ила другими причинами, нарушающими нормальную эксплуатацию конденсатора. К тому же сопротивление вертикального участка сливной трубы незначительно.

Рис. 5.4. Измерение гидравлического сопротивления конденсатора
Гидравлическое сопротивление конденсатора может быть измерено и непосредственно с помощью манометра, присоединенного к соединительным трубкам вместо двух отдельных приборов.
5.2.7. Измерение расхода воздуха, отсасываемого из конденсатора пароструйным эжектором, практически равного сумме всех присосов в вакуумную систему, производится с помощью штатного дроссельного воздухомера, представляющего собой набор дроссельных сужающих устройств различного диаметра на поворотном диске и снабженного устройством для измерения перепада давления на сужающем устройстве. В случае отсутствия штатного расходомера используется изготавливаемое на электростанции дроссельное устройство (см. рис. П2.5) или дроссельный воздухомер ВТИ.
Если выхлоп эжектора закрытый (присоединен к атмосферной трубе), устройство для измерения расхода воздуха выполняется по рис. П2.5, а
и перепад давлений на сужающем устройстве измеряется с помощью присоединенной до и после него U
-образной трубки, заполняемой водой. Приоткрытом (в машинный зал) выхлопе устройство выполняется по рис. П2.5, б
; перепад давлений измеряется U
-образной трубкой, заполненной водой, одно колено которой сообщается с атмосферой.
Расход сухого воздуха (кг/ч) подсчитывается по формуле
G
в
= к
×0,0065d
2
;
где d
-
диаметр расточки сужающего устройства, мм;
h
-
перепад давлений на сужающем устройстве, мм вод. ст.;
к
- поправочный коэффициент, зависящий от температуры паровоздушной смеси перед сужающим устройством:
| t
см
°C
|
40
|
60
|
80
|
| к
|
1,11
|
1,00
|
0,74
|
Температура смеси t
см
измеряется ртутным термометром или ТСП в наклонной гильзе, установленной навстречу потоку смеси перед сужающим устройством на расстоянии 200-300 мм от нее. Диаметр расточки сужающего устройства принимается исходя из значения допустимого присоса воздуха (согласно § 18.15 ПТЭ) и возможности измерения перепада давлений водяным столбом высотой не более 300-400 мм, чтобы избежать чрезмерного повышения давления на выхлопе эжектора.
5.2.8. При использовании в качестве воздушных насосов водоструйных эжекторов воздухомеры дроссельного типа не могут быть применены. В таких случаях для определения расхода воздуха DG
в
, отсасываемого из конденсатора воздушным насосом, может применяться способ контроля за воздушной плотностью вакуумной системы, разработанный ВТИ. Этот способ основывается на том, что при большом присосе воздуха давление в конденсаторе изменяется в соответствии с характеристикой водоструйного эжектора при отсасывании им сухого воздуха. Такую характеристику, построенную для различных температур рабочей воды, следует иметь для каждого эксплуатируемого эжектора (рис. 5.5).
При необходимости определить расход отсасываемого воздуха нужно путем последовательной установки на патрубке, присоединенном к камере смешения эжектора, сменных калиброванных сопл все большего диаметра добавлять воздух в приемную камеру эжектора, фиксируя значения давления в конденсаторе, соответствующие определенным значениям расхода добавляемого воздуха (точки 1
-3
на рис. 5.5). При некотором значении расхода добавляемого через сопло воздуха DG
в
давление в конденсаторе р
2
значительно увеличится по сравнению с измеренными раньше (точка 3
на рис. 5.5). Это показывает, что суммарный расход отсасываемого воздуха вышел за пределы, в которых конденсатор работает на горизонтальном участке зависимости p
2
=
f
(G
в
),
и перешел на участок, где характеристика p
2
=
f
(G
в
) практически совпадает с характеристикой эжектора p
н
=
f
(G
в
) на сухом воздухе (см. разд. 9.3). Измерив это давление в конденсаторе и отметив на оси ординат характеристики соответствующее значение р
2(3)
,
следует провести через эту точку горизонтальную прямую до пересечения с соответствующей данной температуре рабочей воды
характеристикой эжекторов (точка 3
). Полученной точке пересечения соответствует на оси абсцисс суммарный расход воздуха G
вс
= G
в
+
DG
в
,
где G
в
-
расход воздуха, поступающего через неплотности в системе;
DG
в
- расход воздуха, дополнительно подводимого через сопло.
Вычитая из G
вс
значение DG
в
, можно определить присос воздуха в вакуумную систему G
в
.

Рис. 5.5. Определение присосов воздуха при работе водоструйного эжектора:
I
- характеристики эжектора на сухом воздухе при различной температуре рабочей воды p
н
=
f
(G
в
); II
- зависимость давления в конденсаторе от расхода отсасываемого воздуха p
2
=
f
(G
в
),
DG
в
- расход добавляемого воздуха; G
в
- естественный присос воздуха в вакуумную систему; G
вс
-
расход воздуха при давлении в конденсаторе р
2(3)
Устройство для впуска воздуха приведено на рис. 5.6. Вследствие сверхкритического перепада давлений на соплах расход воздуха через каждое сопло определяется только диаметром отверстия и составляет:
| Диаметр сопла, мм
|
2,7
|
3,9
|
5,5
|
6,7
|
7,7
|
8,7
|
| Расход воздуха, кг/с (кг/ч)
|
0,0013
(5)
|
0,0027
(10)
|
0,0055
(20)
|
0,0083
(30)
|
0,0111
(40)
|
0,0139
(50)
|
| Диаметр сопла, мм
|
9,5
|
10,9
|
12,2
|
15,0
|
17,3
|
19,3
|
| Расход воздуха, кг/с (кг/ч)
|
0,0167
(60)
|
0,0222
(80)
|
0,028
(100)
|
0,0417
(150)
|
0,0583
(210)
|
0,0694
(250)
|
Сопла изготавливаются из нержавеющей стали или бронзы (см. рис. П2.6). Для удобства пользования на каждом сопле следует выбить цифрами диаметр отверстий и расход воздуха.
Рекомендации по проведению измерений и обработке их результатов приведены также в [4].

Рис. 5.6. Устройство для установки калиброванного сопла для добавочного впуска воздуха при определении расхода воздуха, отсасываемого водоструйным эжектором:
а
- с накидной гайкой; б
- с прижатием сопла атмосферным давлением; 1
- всасывающий патрубок эжектора; 2
– труба; 3
- вентиль; 4
- сопло; 5
- накидная гайка; 6
- прокладка; 7
- башмак с наружной резьбой; 8
- штуцер для отбора давления; 9
- фланец
5.3. Нормативные характеристики конденсационных установок
5.3.1. В [2, 5-7] приведены нормативные характеристики конденсационных установок большинства эксплуатирующихся на электростанциях турбин, предназначенные для нормирования, планирования и контроля за состоянием конденсационных установок в процессе эксплуатации. Они составлены на основании обобщения результатов двух-трех тепловых испытаний однотипных конденсационных установок турбин во всем диапазоне сезонного изменения температуры охлаждающей воды и при изменении в рабочем диапазоне всех остальных определяющих режим конденсационных установок величин (паровой нагрузки, расхода охлаждающей воды и др.). Испытания проводились на отлаженных конденсационных установках, проработавших после монтажа пуска турбоагрегатов более 4000-5000 ч, при практически чистых поверхностях охлаждения конденсаторов. Воздушная плотность вакуумной системы перед проведением испытания обеспечивала нормальную работу турбоустановки с одним воздухоудаляющим устройством.
При отсутствии результатов испытаний конденсационных установок данного типа для построения нормативных характеристик использовались составленные ВТИ им. Ф.Э. Дзержинского Руководящие указания [1]. Сопоставление опытных характеристик конденсаторов с расчетными, определенными по методике ВТИ, показали хорошую их сходимость.
Для конденсационных установок теплофикационных турбин более ранних выпусков, в которых применялись конденсаторы 50 КЦС-3 ПОТ ЛМЗ, 50 КЦС-6 ПОТ ЛМЗ, 100 КЦС-2 ПОТ ЛМЗ, 100 КЦС-4 ПОТ ЛМЗ, следует пользоваться характеристиками, приведенными в [2].
5.3.2. Нормативные характеристики конденсационных установок содержат графики зависимости температурного напора dt
и давления отработавшего пара р
2
от паровой нагрузки конденсатора D
2
и температуры охлаждающей воды t
1в
(рис. 5.7 и 5.8). Эти зависимости даются для двух значений расхода охлаждающей воды - номинального и около 0,7 номинального. В характеристиках конденсаторов теплофикационных турбин дополнительно включены также графики для расхода охлаждающей воды около 0,5 номинального значения, учитывая малую паровую нагрузку конденсатора в отопительный период и, соответственно, больший диапазон уменьшения расхода охлаждающей воды для оптимизации режима турбоустановки. В зоне малых паровых нагрузок (50% и ниже) и низких температур охлаждающей воды, в основном при режимах, характерных для турбин типа П, Т и ПТ, в течение отопительного сезона характер зависимости температурного напора от паровой нагрузки меняется: температурный напор сохраняется практически постоянным с понижением нагрузки (рис. 5.9) или даже возрастает при значительном ее понижении вследствие увеличения размеров вакуумной зоны турбоагрегата, а также, соответственно, присосов воздуха и влияния характеристики воздухоудаляющего устройства.

Рис. 5.7. Температурный напор конденсатора K-15240 ПОАТ ХТЗ в зависимости от расхода пара D
2
и температуры охлаждающей воды t
1в
(при номинальном расходе охлаждающей воды W
= 34800 м3
/ч)

Рис. 5.8. Давление в конденсаторе К-15240 ПОАТ ХТЗ в зависимости от расхода пара D
2
и температуры, охлаждающей воды t
1в
(при номинальном расходе охлаждающей воды W
=
34800 м3
/ч)
Нормативные характеристики включают в себя также зависимость гидравлического сопротивления конденсатора от расхода охлаждающей воды (рис. 5.10) и сетку поправок к мощности турбины в зависимости от давления в конденсаторе (см. рис. 4.1).

Рис.5.9. Температурный напор в конденсаторе К2-3000-2 ПО ТМЗ в зависимости от расхода пара D
2
и температуры охлаждающей воды t
1в
(при номинальном расходе охлаждающей воды W
= 7000 м3
/ч)

Рис. 5.10. Гидравлическое сопротивление конденсатора К-15240 ПОАТ ХТЗ в зависимости от расхода охлаждающей воды
Для турбин типа Т непосредственное определение паровой нагрузки конденсатора по значению давления в контрольной ступени невозможно. Поэтому в характеристики [6] включены вспомогательные графики для определения расхода отработавшего пара турбины.
5.3.3. По измеренным или определенным рекомендованными выше способами основным параметрам (паровой нагрузке, температуре входящей охлаждающей воды и расходу охлаждающей воды) по зависимости dt
=
f
(D
2
, t
1в
) определяется нормативный температурный напор. С ним и сравнивается температурный напор, определенный по данным эксплуатационных измерений. Поскольку нормативные графики даны для двух значений расхода охлаждающей вода, значения температурного напора для расхода охлаждающей воды, отличающегося от расходов, для которых построены нормативные графики, определяются линейной интерполяцией.
При высоких температурах охлаждающей воды (20-25 °C) температурный напор слабо зависит от ее расхода, при низких температурах охлаждающей воды влияние ее расхода более существенно.
Нормативное значение гидравлического сопротивления конденсатора находится по соответствующему графику для фактически измеренного (или определенного расчетом по балансу конденсатора) расхода охлаждающей воды.
Сетка поправок на вакуум позволяет оценить снижение мощности турбоустановки при заданном расходе пара, вызванное повышением давления отработавшего пара в эксплуатации (по сравнению с нормативным). Изменение мощности определяется по кривой для расхода отработавшего пара, к которому относятся рассматриваемые данные эксплуатационного контроля. Для турбин типа К изменение мощности, отнесенное к мощности на зажимах генератора, измеренной при проведении эксплуатационного испытания, по абсолютному значению равно относительному изменению удельного расхода тепла турбоустановкой (удельного расхода топлива энергоблоком), но имеет обратный знак (см. табл. 4.1).
6. НЕПОЛАДКИ И НАРУШЕНИЯ В РАБОТЕ КОНДЕНСАЦИОННОЙ УСТАНОВКИ
Любое нарушение нормальной работы конденсационной установки, вызванное теми или иными причинами, проявляется прежде всего в повышении давления отработавшего пара по сравнению с его значением по нормативной характеристике для данных эксплуатационных условий. Причинами ухудшения работы конденсационной установки могут быть различные факторы, анализ и сопоставление которых позволяет определить истинную причину ухудшения показателей конденсационной установки, определить и принять меры к восстановлению нормальной работы, возможные неполадки в работе конденсационной установки, их внешние признаки и необходимые мероприятия для приведения показателей конденсационной установки в норму приведены в табл. 6.1.
Таблица 6.1
| Признаки неполадки
|
Основные причины
|
Способы устранения
|
| 1. Увеличенный по сравнению с нормативным температурный напор
|
1.1. Загрязнение конденсаторных трубок (проверяется визуально осмотром трубок в отключенной по воде половине конденсатора)
|
При осуществлении на электростанции профилактических мероприятий (обработка охлаждающей воды) проверить и наладить режим обработки воды (см. разд. 14.1-14.3), при запущенном состоянии трубок произвести их чистку.
При борьбе с отложениями путем периодических чисток произвести чистку трубок принятым на электростанции способом (см. разд. 14.4)
|
| |
1.2. Повышенные присосы воздуха в вакуумную систему. Пароструйные эжекторы работают на перегрузочной (крутой) ветви своей характеристики
|
Найти места присосов в вакуумной части установки, устранить неплотности (см. разд. 12)
|
| |
1.3. Ухудшение работы эжектора из-за недостаточного давления рабочей среды (дара, воды) перед ним, недостаточного поступления воды в охладители пароструйного эжектора или неполадок в воздухоудаляющем устройстве
|
Восстановить давление пара или воды. Произвести наладку, технический осмотр воздухоудаляющего устройства и устранить неисправность (см. разд. 9)
|
| 2. Увеличение нагрева охлаждающей воды в конденсаторе по сравнению с нормативным значением
|
|
|
| 2.1. С увеличением гидравлического сопротивления конденсатора
|
2.1. Сокращение расхода охлаждающей воды вследствие загрязнения трубных досок, неисправности водоочистительных устройств на водозаборе или значительного загрязнения трубок
|
Очистить трубные доски с отключением поочередно половин конденсатора; проверить состояние вращающихся сеток, устранить неисправности и наладить работу сеток (см. разд. 8.1); очистить трубки
|
| 2.2. С уменьшением гидравлического сопротивления конденсатора, уменьшением разрежения в верхней точке сливной камеры и соответствующим увеличением давления воды перед конденсатором
|
2.2. Ухудшение работы сифона из-за неполного открытия сливной задвижки (затвора) или скопления воздуха в верхней части сливных камер
|
Проверить открытие задвижки (затвора) на сливной линии, открыть ее полностью; включить в работу эжектора циркуляционной системы; восстановить нормальное разрежение (см. разд. 8)
|
| 2.3. С уменьшением давления охлаждающей воды перед конденсатором
|
2.3. Нарушение нормальной работы циркуляционных насосов
|
Проверить и наладить работу циркуляционных насосов (см. разд. 8)
|
| 2.4. С повышением давления перед конденсатором
|
2.4. Засорение сопл градирни или брызгального устройства (при оборотной системе водоснабжения)
|
Промыть сопла
|
| 3. Увеличение содержания кислорода в конденсате после, конденсатных насосов сверх нормируемых ПТЭ
|
3.1. См. п. 1.2. табл. 6.1
|
|
| 3.2. Появление присосов воздуха на участке трубопровода от конденсатора до конденсатного насоса
|
Найти места присосов, устранить неплотности (см. разд. 12)
|
| 4. Переохлаждение конденсата
|
4.1. См. п. 1.2 табл. 6.1
|
|
| 4.2. Повышение уровня конденсата в конденсаторе, приводящее к заливу нижних рядов трубок из-за неисправности регулятора уровня конденсата
|
Исправить регулятор уровня конденсата в конденсаторе и наладить его работу
|
| 5. Повышенная жесткость конденсата
|
5.1. Присосы охлаждающей воды в основном конденсаторе
|
Проверить водяную плотность конденсатора, обнаружить и устранить места присоса охлаждающей воды
|
| 5.2. Присосы охлаждающей воды в конденсаторе
|
Проверить водяную плотность конденсатора ТПН, обнаружить и устранить неплотности в конденсаторе
|
7. ПУСК И ОСТАНОВ КОНДЕНСАЦИОННОЙ УСТАНОВКИ
7.1. Последовательность пусковых операций конденсационной установки тесно связана с технологией пуска турбоустановки или энергоблока в целом, поэтому операции по пуску конденсационной установки не следуют непосредственно одна за другой, а бывают разделены известным промежутком времени, в течение которого производятся операции по пуску собственно турбины и другого вспомогательного оборудования.
7.2. Перед пуском конденсационной установки проверяется, заполнены ли конденсатор и деаэратор водой (конденсатом); если конденсатор опорожнен, то нижнюю его часть со стороны парового пространства следует заполнить из бака запаса конденсата (БЗК) до верхней отметки водоуказательного стекла.
7.3. Далее следует:
- проверить соответствие положения задвижек на тракте циркуляционной воды указаниям инструкции по эксплуатации;
- при наличии сифона и пароструйных эжекторов циркуляционной системы включить последние в работу;
- включить циркуляционные насосы (при насосах поворотно-лопастного типа установить до их пуска рабочие лопатки под необходимым углом);
- установить необходимый расход воды через конденсатор (при центробежных насосах);
- проверить разрежение в сливных циркуляционных водоводах и при недостаточном разрежении включить в работу эжекторы циркуляционной системы;
- включить в работу один из конденсатных насосов с подачей конденсата через линию рециркуляции в конденсатор, а при наличии в схеме БОУ включить один КЭН I подъема и один КЭН II подъема со сбросом конденсата через линию рециркуляции после КЭН II подъема (за сальниковым подогревателем) в конденсатор;
- включить регулятор уровня в конденсаторе и, подавая в конденсатор обессоленную воду из БЗК, заполнить деаэратор, бустерные и главные питательные насосы;
- подать пар на концевые уплотнения и включить в работу эжектор уплотнений последовательность этих операций может быть различной при пусках турбоустановки из разных тепловых состояний и уточняется в местной инструкции);
- включить в работу пусковой и основной эжекторы и начать набор вакуума; пусковой эжектор отключить после достижения вакуума в конденсаторе 66,5 кПа (500 мм рт.ст.).
7.4. При останове турбоустановки (энергоблока) конденсационная установка выключается из работы на завершающей стадии; операции по останову следуют в порядке, обратном указанному в п. 7.3.
После прекращения поступления пара в турбину (закрытия стопорных клапанов) и закрытия задвижек на паропроводах к ПСБУ следует:
- выключить после полного останова ротора турбины основной эжектор и эжектор уплотнения;
- остановить конденсатные насосы I и II подъема;
- остановить циркуляционные насосы (после понижения температуры выхлопного патрубка турбины до 55 °C).
Детально выполнение операций по останову конденсационной установки указывается в инструкции по эксплуатации данной конкретной турбоустановки или энергоблока.
7.5. Последовательность операций по пуску и останову циркуляционных и конденсатных насосов, а также эжекторов рассмотрена в разд. 8-10.
8. СИСТЕМА ЦИРКУЛЯЦИОННОГО ВОДОСНАБЖЕНИЯ КОНДЕНСАТОРОВ
8.1. Решетки, водоочистные сетки и фильтры
8.1.1. Качество естественных и оборотных вод, используемых для технического водоснабжения, характеризующееся составом и количеством содержащихся в них примесей, весьма разнообразно. Поступающая в заборные устройства вода содержит, как правило, большое количество механических примесей, состав которых зависит от источника и системы водоснабжения, качества укрепления берега водоема или водотока в зоне водозабора, наличия и качества сбрасываемых в этой зоне промышленных, сельскохозяйственных и коммунальных стоков и др. Наиболее часто в воде содержатся следующие примеси: береговая растительность и прибрежный мусор (листва, сучья и др.), водные растительные и животные организмы (водоросли, рыба, моллюски и др.), промышленные и бытовые отходы (щепа, строительный мусор и др.).
Для очистки поступающей воды от крупного мусора и шуги в подводящем канале на водозаборе служат грубые решетки, изготовляющиеся из вертикальных стальных полос толщиной 14-16 мм и шириной 50-100 мм и устанавливаемые через каждые 40-100 мм. Размер ячеек от 40´300 до 100´600 мм, большая сторона ячейки располагается вертикально.
Для более тонкой очистки охлаждающей воды, подаваемой в конденсаторы, масло- и газоохладители турбоагрегатов, от механических примесей, могущих вызвать забивание трубных досок и трубок конденсаторов, уменьшение и даже прекращение протока воды через некоторые охлаждаемые аппараты, за грубыми решетками устанавливаются вращающиеся сетки с ячейками размером от 4´4 до 10´10 мм. Вращающиеся сетки разных типов отличаются одна от другой подводом в них и отводом после очистки циркуляционной воды. Наиболее широко применяются сетки следующих типов: Т-2000 и Т-3000 с внутренним подводом воды (рис. 8.1, а
), Т-2000 и Т-3000 с наружным подводом воды см. рис. 8.1, б
) и Л-3100 с лобовым подводом воды (см. рис. 8.1, в
). В системах водоснабжения с напорными бассейнами применяются вращающиеся сетки конусного типа.
В сетках такого типа практически устранена возможность попадания мусора и взвешенных частиц в чистый отсек циркуляционной воды перед конденсаторами через зазоры между подвижными и неподвижными частями сетки.
8.1.2. Установленные в водоприемнике решетки и вращающиеся сетки не исключают возможности заноса в конденсаторы и другие аппараты крупных твердых примесей, которые могут попадать в охлаждающую воду в пределах самой системы водоснабжения, в том числе остатков моллюсков (ракушек), проникших через сетки в виде мелких личинок, а затем развившихся внутри системы и отмерших (см. п. 14.2.3). В таких случаях может возникнуть необходимость, особенно при очистке трубок конденсаторов резиновыми шариками, в установке непосредственно перед водяными камерами конденсаторов дополнительных фильтров с отверстиями диаметром 6-10 мм. Фильтры выполняются цилиндрическими или коническими с поступлением воды в них снаружи и из внутренней их полости в конденсатор. Задержанные фильтром твердые предметы удаляются с его наружной поверхности закрученным (вихревым) потоком воды и отводятся в сливной водовод. Закручивание водяного потока перед фильтром осуществляется по мере надобности на короткое время с помощью поворотной заслонки или направляющих лопастей или же постоянно путем выполнения корпуса фильтра спиральным.
8.1.3. Из-за износа и деформаций деталей вращающихся сеток, в частности сочленений транспортной цепи, дефектов монтажа, а также конструктивных недостатков вращающихся сеток в них остаются или появляются в процессе работы зазоры в местах сопряжения отдельных деталей подвижных и неподвижных элементов, что приводит к попаданию в конденсатор мусора и других взвесей, содержащихся в воде.
Особенно большое количество мусора может проникать при внутреннем и наружном подводе воды через зазор между отдельными звеньями (секциями) сетки по всей ее ширине. На вертикальных участках этот зазор может составлять 10-15 мм, а снизу на повороте сетки - достигать 20-35 мм. Для обеспечения плотности стыков секций их следует уплотнять полосами из резины или прорезиненной ткани толщиной 4 мм, прикрепленной с помощью болтов и стальных планок к смежной секции (рис. 8.2).
Прямой проход воды помимо лобовых сеток в нижней их части должен быть надежно перекрыт; уплотнение выполняется с помощью полосы из прорезиненной ткани толщиной 10 мм (рис. 8.3). Полоса с одной стороны крепится к порогу окна для входа воды в сетку с помощью стальных болтов и планки. Противоположная сторона полосы упирается в полотна сит.

Рис. 8.1. Схема подвода охлаждающей воды к вращающейся сетке:
а
- внутренний подвод; б -
наружный подвод; в
- лобовой подвод;
1
- вход воды; 2
- выход воды

Рис. 8.2. Уплотнение зазора между секциями сеток с наружным и внутренним подводами воды:
1
- полоса из прорезиненной ткани; 2
- стальные планки; 3
- болтовые крепления планок

Рис. 8.3. Уплотнение нижней части лобовых сеток:
1
- полоса из прорезиненной ткани (толщина 10 мм); 2
- болтовое крепление; 3
- стальная планка
Зазор в боковых уплотнениях не должен превосходить 2-3 мм. Для поддержания нормального зазора между нижней направляющей и щеками боковых уплотнений необходимо по мере износа шарнирных соединений подтягивать транспортерные цепи с помощью натяжных устройств. Натяжение цепей необходимо проверять не реже чем один раз в месяц.
Зазоры между направляющими уголками каркаса сетки и строительными конструкциями, являющиеся следствием неудовлетворительного монтажа сеток, должны быть тщательно забетонированы.
Как показал опыт эксплуатации, наиболее долговечными являются проволочные полотна сеток, изготовленные из нержавеющей стали. Поскольку на лобовых сетках не устанавливаются защитные сита, прочность фильтрующих полотен сит должна быть повышена путем применения проволоки диаметром до 1 мм.
Частота включений промывочного устройства сеток зависит от скорости загрязнения сетки. Включение промывочного устройства производится либо эксплуатационным персоналом согласно местной инструкции (если вода чистая), либо автоматически по сигналу от перепада гидростатического давления на сетке по достижении его значения около 2 кПа (200 мм вод. ст.). Автоматизация включения промывочного устройства является весьма эффективным средством поддержания на должном уровне чистоты охлаждающей воды.
Для улучшения очистки полотен сит от мусора рекомендуется заменить промывочные трубы с истечением воды через щели трубами с истечением воды через круглые отверстия, расположенные в один ряд (рекомендуется 25 отверстий диаметром 6 мм на 1 м длины каждой промывочной трубы). Для полного удаления грязи со сточного желоба к торцам последнего необходимо подвести воду через 3-4 сопла, расположенные по всей ширине желоба и направленные выходными отверстиями в сторону сточного канала.
При эксплуатации вращающихся сеток следует использовать рекомендации, выдаваемые наладочными организациями или содержащиеся в соответствующих технических материалах.
8.2. Типы и характеристики циркуляционных насосов
8.2.1. На современных электростанциях широко применяются вертикальные осевые насосы с поворотными лопастями типа ОПВ с подачей в диапазоне 10000-120000 м3
/ч и давлением 50-200 кПа (5-20 м вод. ст.). Насосы типа ОПВ допускают регулирование подачи воды от максимальной до 70-80% максимальной путем изменения угла установки рабочих лопастей и до 60% максимальной при использовании электродвигателей с двумя частотами вращения.
Центробежные насосы вертикального исполнения типа В с подачей до 10000 м3
/ч и давлением до 300 кПа (30 м вод. ст.) используются преимущественно в оборотных системах водоснабжения с охлаждением воды в градирнях. Горизонтальные центробежные насосы с двухсторонним всасыванием типа Д с подачей до 12000 м3
/ч и давлением около 250 кПа (25 м вод. ст.) применяются на электростанциях небольшой мощности.
В последнее время на электростанциях применяются также вертикальные (центробежно-осевые) диагональные насосы типа ДПВ с подачей до 40000 м3
/ч и давлением свыше 200 кПа (20 м вод. ст.). Они применяются при оборотных системах водоснабжения с градирнями, а также при турбоагрегатах с боковым расположением конденсаторов. Основные технические характеристики циркуляционных насосов приведены в приложении 4.
8.2.2. Напорная характеристика центробежного насоса представляет собой плавно ниспадающую кривую - давление Н
уменьшается по мере увеличения подачи Q
(рис. 8.4); мощность, потребляемая насосным агрегатом N
на
, растет с увеличением подачи и имеет тенденцию к уменьшению в зоне крутого спада характеристики, практически за пределами ее рабочей зоны; КПД насоса hн
или насосного агрегата hна
достигает максимума при номинальной подаче, после чего происходит уменьшение КПД. Насос может забирать воду из-под уровня, расположенного ниже или выше его оси. Допускаемый подпор обычно указывается в виде абсолютного значения давления, т.е. с прибавлением 100 кПа (10 м вод. ст.). Таким образом, допускаемый кавитационный запас Dh
доп
>
100 кПа (10 м вод. ст.) обозначает подпор, а Dh
доп
< 100 кПа (10 м вод. ст.) - всасывание, причем допустимая высота всасывания равна = Dh
доп
-
100 кПа.
Центробежные насосы работают при постоянной частоте вращения, и регулирование их подачи осуществляется дросселированием задвижкой, т.е. без существенного снижения потребляемой мощности при уменьшении подачи.
Циркуляционный насос подбирается для заданной характеристики тракта таким образом, чтобы точка пересечения характеристик тракта и насоса соответствовала бы номинальной подаче насоса (на рис. 8.4 точка 1
), при которой КПД насосного агрегата имеет максимальное значение и допускается минимальное значение подпора.

Рис. 8.4. Характеристика центробежного насоса:
Н -
давление насоса; N
на
-
мощность на зажимах электродвигателя; hна
- КПД насосного агрегата; Dh
доп
-
допустимый подпор; Q
-
подача насоса; Q
н
- номинальная подача насоса; H
геод
- геодезическая высота подъема; - - - - - характеристика сети
Пуск центробежного насоса производится при закрытой напорной задвижке; после достижения насосным агрегатом номинальной частоты вращения напорная задвижка открывается и насос включается в параллельную работу с другими насосами или работает на самостоятельную сеть. Циркуляционные насосы центробежного типа не вызывают трудностей при включении в параллельную работу и успешно эксплуатируются при параллельной работе на общий водовод (два, три и более насосов). Надежность работы насосов обеспечивается тем, что изменение (снижение) характеристики вследствие износа практически несущественно и не может сколь-либо заметно влиять на подачу насоса. Основной причиной уменьшения подачи центробежного насоса в процессе эксплуатации может быть увеличение гидравлического сопротивления сети или геодезического подъема, связанное с изменениями в тракте циркуляционной воды. При повышении в этом случае давления рабочая точка смещается по характеристике влево с соответствующим уменьшением подачи.
8.2.3. Поворотно-лопастные насосы типа ОПВ и ДПВ имеют механизм для разворачивания от руки или с помощью серводвигателя (электрического или гидравлического) лопастей рабочего колеса от минимального угла dмин
до максимального dмакс
, что приводит к почти эквидистантному смещению напорной характеристики насосов вверх. На рис. 8.5 показаны характеристики насоса типа ОПВ при неизменной частоте вращения и разных значениях угла d (аналогичные характеристики у насосов типа ДПВ).
Характеристики насосов указанных типов имеют при данном d два основных участка: плавно ниспадающий рабочий участок (правая ветвь) и более круто падающий нерабочий участок (левая ветвь, прилегающая к оси ординат). Между ними расположен переходной восходящий участок. Если характеристика сети пересекает характеристику насоса в пределах ее рабочего участка, насос работает устойчиво. Если же сопротивление сети возрастает таким образом, что точка пересечения характеристик переходит на верхнюю точку рабочего участка характеристики насоса (точка 5
), система становится неустойчивой и насос практически скачкообразно переходит на нерабочий участок его характеристики при том же давлении (точка 6
). Работа насоса сопровождается при этом кавитационными явлениями, гидравлическим ударами, вибрацией, стуками, что, как правило, приводит к его повреждению, вплоть до поломки лопастей.
Завод-изготовитель запрещает работу осевых и диагональных насосов на нерабочей ветви характеристики. Исходя из условий надежности и экономичности эксплуатация насосов, завод ограничивает рабочую зону режимов работы осевых и диагональных насосов. На рис. 8.5 границы этой зоны показаны жирной линией. На этом рисунке нанесены также линии допустимого кавитационного запаса Dh
доп
и линии постоянного КПД насоса hн
.
Поворотом рабочих лопастей обычно достигается изменение подачи насоса от 100 до 70-80% максимального значения. Эти режимы лежат да характеристике тракта в диапазоне подач от точки 1
до точки 2
. Применение двухскоростных электродвигателей позволяет расширить диапазон регулирования.

Рис. 8.5. Характеристика осевого насоса типа ОПВ:
Н –
давление; Q
- подача; dмакс
, dмин
-
максимальный и минимальный угол поворота лопастей насоса; hн
- КПД насоса; Dh
доп
- допустимый кавитационный запас; h
геод
-
геодезическая высота подъема воды; h
сл.к
- высота до верхней точки сливной камеры; H
макс
- линия максимально допустимого статического давления при пуске насоса на заполненный водовод;
- - - - - характеристика тракта системы водоснабжения (остальные обозначения см. рис. 8.4)
Циркуляционные насосы типа ОПВ и ДПВ могут работать параллельно на общую сеть при условии установки рабочих лопастей однотипных насосов на одинаковый угол. Следует, однако, учитывать, что насосы одного типа могут иметь из-за различного их состояния несовпадающие между собой точно напорные характеристики. Поэтому блочное включение насосов типа ОПВ и ДПВ с раздельной работой каждого насоса на свой участок сети является предпочтительным. В этом случае исключается взаимное воздействие насосов при несовпадении их характеристик, случайном различии углов установки лопастей или разной степени износа проточных частей насосов. При параллельной же работе осевых насосов увеличение гидравлического сопротивления сети может привести к тому, что один из параллельно включенных насосов, характеристика которого по указанным выше причинам отличается от напорных характеристик других насосов, перейдя на недопустимый режим работы, отвечающий нерабочей ветви характеристики.
Пуск насосов типа ОПВ к ДНВ более сложен, чем центробежных, а подключение их в параллельную работу сопряжено зачастую со значительными трудностями; в ряде случаев подключение в параллель к уже работающим следующего насоса оказывается невозможным без применения дополнительных устройств (см. разд. 8.4).
Вследствие особенностей формы напорной характеристики осевые и диагональные насосы более чувствительны к изменению характеристики сети из-за различных эксплуатационных неполадок.
8.3. Схемы циркуляционного водоснабжения
8.3.1. При блочной схеме (рис 8.6, а
) каждой насос работает на свой тракт (на отдельные половины или часть корпусов конденсатора), благодаря чему исключается параллельная работа циркуляционных насосов и схема имеет минимальное количество арматуры на тракте (только на сливном водоводе устанавливается задвижка или затвор, в некоторых случаях запорный орган на сливе вообще не устанавливается). При блочной схеме применяются, как правило, осевые и диагональные насосы.
На рис. 8.7, а
показано, условное продольное сечение по тракту водоснабжения блочной схемы с подачей воды из реки (прямоточное водоснабжение) или с охлаждением воды в водохранилище-охладителе, а на рис. 8.7, б
- сечение по тракту оборотной системы водоснабжения с охлаждением воды в градирне.
При прямоточном водоснабжении и оборотном с водохранилищем-охладителем используется, как правило, действие сифона в системе подачи воды и слива охлаждающей воды, что приводит к уменьшению геодезической высоты подачи воды.

Рис. 8.6. Схема циркуляционного водоснабжения:
а -
блочная; б -
с напорными коллекторами (магистральными водоводами); 1
- циркуляционные насосы; 2
- напорные водоводы; 3
- конденсатор; 4
- сливной водовод; 5
- задвижка (затвор); 6
– сливные каналы (закрытые или открытые)

Рис. 8.7. Блочная схема водоснабжения конденсатора:
а
- прямоточная система или охлаждение в водохранилище-охладителе; б
- с охлаждением в градирне; 1
- приемный ковш; 2
- грубые решетки и место для установки шандор, отключающих аванкамеру; 3
- вращающаяся сетка; 4
- аванкамера; 5
- циркуляционный насос; 6
- напорный водовод; 7
- конденсатор; 8
- сливной водовод; 9
- задвижка (затвор); 10
- сифонный колодец; 11
- закрытый сливной канал; 12
- водосливной порог; 13
- открытый канал; 14
- эжектор циркуляционной системы; 15
- из конденсатора; 16
- к циркуляционному насосу; 17
- стояк градирни; 18
- водораспределительное устройство; 19
- вытяжная башня градирни; 20
- водосборный бассейн градирни; 21
- оросительное устройство
Как следует из рис. 8.7, а,
верхняя точка сливной водяной камеры конденсатора (отметка 1
) располагается значительно выше уровня воды в сифонном колодце 10
. Закрытый слив под уровень воды в сифонном колодце обеспечивает неразрывность потока воды и позволяет использовать действие сифона. Геодезическая высота подъема воды, которую должен преодолеть циркуляционный насос, равна при этом разности уровней воды на водосливном пороге (отметка 2
) а в аванкамере перед насосом (отметка 0
). Поскольку плотность столба воды в сливной части сифона из-за нагрева воды в конденсаторе и выделения из воды при нагреве растворенного в ней воздуха несколько меньше плотности столба воды перед конденсатором, потенциальная энергия столба вода перед конденсатором используется не полностью. Эта потеря учитывается условным КПД сифона, равным отношения средней плотности воды в сливной трубе к плотности воды в напорной трубе перед конденсатором.
Верхняя часть сливной камеры конденсатора находится под разрежением, равным разности атмосферного давленая над уровнем воды в сифонном колодце и давления столба воды за вычетом гидравлических потерь на сливном участке до сифонного колодца.
Воздух, выделяющийся при нагреве воды в конденсаторе, может скапливаться в верхней части сливной камеры (при неблагоприятной ее форме), что влечет за собой ухудшение работы конденсатора, так как при этом уменьшается высота и, следовательно, эффективность действия сифона и могут оказаться незаполненными водой верхние трубки конденсатора, т.е. выключиться из работы часть поверхности охлаждения конденсатора. Нормальная работа сифона восстанавливается путем удаления воздуха эжектором циркуляционной системы 14
(см. рис. 8.7).
В тех случаях, когда наблюдается скапливание воздуха в верхней части сифона (это свойственно, например, конденсаторам турбин К-300-240 ПОТ ЛМЗ), целесообразно устанавливать водоуказательные стекла на верхней части сливных камер для контроля за работой сифона.
Теоретически высота сифона равна 10 м (атмосферное давление). Но с учетом гидравлического сопротивления сливного участка и некоторого запаса для предотвращения разрыва столба жидкости (срыва сифона) высота его обычно принимается не более 7-8 м.
В отличие от системы водоснабжения, в которой используется сифон, в системе с градирнями (см. рис. 8.7, б
) насос должен преодолеть значительно большую высоту геодезического подъема (с отметки 0
в водосборном бассейне градирни на отметку 3
ее водораспределительного устройства) и, кроме того, обеспечить достаточное давление перед соплами. Поэтому при оборотной системе водоснабжения с градирнями применяется одноступенчатая схема подачи воды на конденсаторы с центробежными вертикальными насосами, обеспечивающими большее давление, чем осевые и диагональные насосы, или двухступенчатая схема с подачей воды отдельными насосами на конденсаторы и из них на градирни.
8.3.2. Схема с напорными коллекторами (магистральными водоводами, см. рис. 8.6, б
) предусматривает установку на береговой насосной станции группы однотипных насосов, подающих воду по магистральным водоводам большого диаметра (не менее двух) к конденсаторам турбин.
Отвод воды из конденсаторов по сливным водоводам производится через сифонные колодцы соответственно в два сливных закрытых или открытых канала. Водосливной порог выполняется обычно в конце каждого из двух сливных каналов.
К каждому из магистральных напорных водоводов подключены, как правило, два-три осевых насоса, работающих параллельно. Если же к напорному водоводу подключается большее число осевых насосов (от нескольких береговых насосных станций), должны предусматриваться мероприятия, обеспечивающие надежность работы насосов на общий напорный водовод. При применении центробежных насосов одинакового типоразмера количество насосов, подключаемых к одному магистральному водоводу, обычно не ограничивается.
Надежность снабжения конденсаторов охлаждающей водой обеспечивается подключением к каждому магистральному водоводу одной из половин каждого конденсатора (или корпуса). Кроме задвижек на подводящем и отводящем водоводах конденсатора устанавливается обратный клапан на каждом насосе и запорная задвижка для отключения насоса от магистрального водовода. Иногда имеется также перемычка с задвижкой между подводящими водоводами каждой половины конденсатора.
Схема с магистральными водоводами применяется преимущественно на ТЭЦ, а также на электростанциях, находящихся в значительном удалении от источника водоснабжения.
8.3.3. Для обеспечения надежности эксплуатации электростанций применяется также схема водоснабжения, при которой циркуляционные насосы подают воду из водохранилища-охладителя в напорный бассейн (рис. 8.8). Из напорного бассейна вода самотеком поступает в конденсаторы турбин и сбрасывается из них в водохранилище. Вместимость напорного бассейна определяется необходимым временем охлаждения конденсаторов в режиме полного обесточивания приводов циркуляционных насосов.
8.3.4. При большой разнице отметок площадки электростанции и уровня воды в источнике водоснабжения, при которой для подачи воды требуется давление, превышающее максимально возможное для выпускаемых заводами насосов, применяется схема с двумя ступенями подъема воды, т.е. с двумя насосными станциями и промежуточным бассейном.
8.3.5. При прямоточном водоснабжении или использовании водохранилища комплексного назначения (служащего кроме охлаждения циркуляционной воды для хозяйственно-питьевого водоснабжения, культурно-бытовых нужд населения и разведения промысловых рыб) схема водоснабжения может включать в себя градирню или брызгальное устройство для понижения температуры сбрасываемой в источник водоснабжения подогретой циркуляционной воды в соответствии с требованиями санитарных и рыбохозяйственных органов.
8.4. Пуск насосов типа ОПВ и ДПВ
8.4.1. Вследствие особенностей напорных характеристик осевых и диагональных насосов пуск их в работу требует выполнения ряда специфических требований. В частности, пуск этих насосов при закрытой напорной задвижке категорически запрещается, так как в этом режиме происходит резкое увеличение давления, что может привести к разрыву напорного трубопровода до задвижки, поломке рабочих элементов насоса из-за перегрузки и выходу из строя электродвигателя.
8.4.2. Завод-изготовитель предписывает производить пуск насоса при заполненном водой тракте циркуляционной воды и значении давления, не превышающем максимально допустимое, указанное на характеристике (см. рис. 8.5, линия Н
макс
).

Рис. 8.8. Схема водоснабжения АЭС с напорным бассейном:
1
- приемный ковш (водохранилище); 2
- насос; 3
- напорный водовод; 4
- клапан срыва сифона (для предотвращения обратного вращения насоса при останове электродвигателя); 5
- напорный бассейн; 6
- напорный водовод к конденсатору; 7
- затворы; 8
- конденсатор; 9
- сливная линия; 10
- водохранилище; Н
геод
-
геодезическая высота подъема воды насосом; Н
к
-
напор, срабатываемый в тракте "напорный бассейн – конденсатор - водохранилище"
Пуск осевого насоса, снабженного механизмом поворота лопастей на ходу, при заполненной водой системе производится при минимальном угле поворота лопастей. После достижения включенным электродвигателем номинальной частоты вращения насос выходит на рабочую точку 2
(см. рис. 8.5). Далее увеличением угла поворота лопастей насос выводится на необходимую по условиям эксплуатации подачу (максимальная подача - рабочая точка 1
- достигается при максимальном угле поворота лопастей).
Если же лопасти допускают разворот только при остановленном насосе, он пускается при необходимом по режимным условиям угле поворота лопастей и при достижении номинальной частоты вращения выходит на режим, соответствующий точке 1
.
8.4.3. При блочной схеме водоснабжения, предусматривающей использование сифона (см. рис.8.6, а
), требование пуска насоса при заполненной системе не всегда может быть выполнено, поскольку после останова насоса вся циркуляционная система опорожняется - вода сливается через насос в аванкамеру и из сливного водовода в сбросной тракт. Заполнение же системы большой вместимости с помощью эжектора циркуляционной оистемы (см. рис. 8.7) требует значительного времени. Поэтому пуск осевого насоса, если отсутствуют другие средства для предварительного заполнения всего тракта циркуляционной системы водой и ввода в действие сифона, часто производится при незаполненной водой системе. Если насос снабжен механизмом для перестановки лопастей на ходу, пуск его производится при минимальном угле поворота лопастей.
Последовательность пусковых операций и изменение режима работы при этом следующие. После включения электродвигателя и достижения насосом номинальной частоты вращения рабочая точка насоса оказывается в правой части рабочей ветви его характеристики, поскольку давление насоса я момент пуска минимальное (например, точка 3
на рис. 8.5). По мере заполнения напорного водовода и водяного объема конденсатора давление насоса увеличивается вследствие продолжающегося увеличения столба жидкости и рабочая точка насоса перемещается по характеристике при dмин
на нерабочую ветвь (точка 4
). В этом режиме работы насоса происходит заполнение водой конденсатора и сливной линии и вступает в работу сифон, после чего необходимое давление насоса уменьшается и он переходит на режим работы, соответствующий точке 2
(соответственно гидравлической характеристике тракта). Затем установкой лопастей под необходимым углом достигается требуемая подача насоса (например, точка 1
на рис. 8.5).
Для ускорения начала действия сифона обычно несколько прикрывается задвижка (затвор) на сливной линии. После включения в работу сифона, что легко обнаруживается по показанию мановакуумметра, присоединенного к верхней точке сливной камеры конденсатора, задвижка (затвор) на сливной линии должна быть немедленно полностью открыта.
При пуске насоса с минимальным углом поворота лопастей переход его с рабочей части характеристики на нерабочую происходит практически незаметно, поскольку провал характеристики при минимальном угле выражен не резко (см. рис. 8.5).
Если же при пуске насоса угол поворота лопастей максимальный, например в случае неподвижно закрепленных лопастей или при невозможности перестановки лопастей на ходу, процесс протекает с заметно выраженным изменением режима при переходе с рабочей ветви характеристики (точка 5
) на нерабочую (точка 6
). При режиме в точке 7
завершается заполнение системы водой, вступает в работу сифон и по мере снижения давления насоса последний переходит через точки 6
и 5
на рабочую ветвь в точку 1
.
Перед пуском насоса эжектор циркуляционной системы должен быть включен в работу и оставаться включенным в течение всего периода пуска насоса до выхода его на рабочую точку и создания нормального значения разрежения в верхней точке сливной камеры конденсатора.
8.4.4. При блочной схеме водоснабжения с охлаждением воды в градирне (см. рис.8.7, б
) после останова циркуляционного насоса сливная линия остается заполненной водой до уровня нижнего ряда трубок конденсатора, а из напорного водовода и водяного пространства конденсатора вода сливается через насос. Поскольку в этом случае расчетное давление насоса выбирается таким образом, чтобы обеспечить подачу воды на водораспределительное устройство градирни, перемещение рабочей точки насоса при заполнении системы водой в период пуска происходит только в пределах рабочей части его характеристики.
8.4.5. При включении осевого (или диагонального) насоса на параллельную работу с насосами, работающими на общую напорную магистраль (например, при схеме рис. 8.6 насоса III в параллель к уже работающим насосам IV и V), возможен помпажный режим работы пускаемого насоса, если он не выйдет на рабочую часть характеристики, а останется на ее нерабочей части. В момент пуска дополнительно включенного насоса обратный клапан на его напорной линии закрыт, для его открытия насос должен развить давление несколько большее, чем давление в магистрали (точка 1
на рис. 8.9, отвечающая режиму работы двух насосов до включения дополнительного насоса). Подача пускаемого насоса незначительна, поскольку закрыт обратный клапан, и рабочая точка этого насоса находится на нерабочей части характеристики А. После повышения давления пускаемого насоса до точки 2
открывается обратный клапан и в магистраль начинает поступать из этого насоса вода, а рабочая точка перемещается по нерабочей части характеристики А насоса от точки 2
до точки 4
с подачей Q
'. Соответственно по характеристике системы Г перемещается и рабочая точка теперь уже трех работающих параллельно насосов (из точки 1
в точку 4
), давление пускаемого насоса и уже работавших насосов сравнивается.
Поскольку нижняя точка провала характеристики А между нерабочей и рабочей частью характеристики (точка а
) лежит ниже точки установившегося режима (точка 4
), пускаемый насос остается работать на нерабочей части характеристики, т.е. в помпажном режиме в точке 4
. При этом обратный клапан открывается не полностью и находится в неустойчивом положении из-за недостаточной скорости воды, поэтому возможно его закрытие. Эксплуатация осевого насоса в этом режиме может привести к повреждению деталей насоса, поэтому категорически запрещается.
Если же провал характеристики А насоса между нерабочей и рабочей частью характеристики относительно мал (см. пунктир на рис. 8.9), то возможно перемещение рабочей точки пускаемого насоса на рабочую часть характеристики в точку 3
c подачей Q
". Подача трех работающих насосов отвечает на характеристике Г и на суммарной характеристике В трех работающих параллельно насосов точке 3
'.

Рис. 8.9. Пуск осевого насоса типа ОПВ в параллельную работу к работающим насосам:
А - характеристика пускаемого насоса; Б - суммарная характеристика насосов, находящихся в работе; В - суммарная характеристика насосов после подключения дополнительного насоса;
Г - гидравлическая характеристика системы водоснабжения
8.4.6. Для предотвращения попадания осевого насоса при его включении в параллельную работу с другими насосами в помпажный режим должны применяться линии холостого сброса воды из напорного водовода до обратного клапана, обычно объединяемые в общий сбросной водовод (на рис. 8.6, б
показано пунктиром для насосов III-V). Слив воды из линии холостого сброса должен производиться в водохранилище вне приемного ковша, так как слив воды в ковш приводит к сильному замутнению в нем воды и поступлению грязи в конденсатор.
Насос пускается при открытой задвижке на холостом сбросе, и вследствие малого при этом значения давления начальный режим отвечает рабочей части напорной характеристики насоса в правой ее части (например, точка 5
на рис. 8.9). Затем постепенно прикрывается задвижка на сбросной линии, давление насоса увеличивается до значения, соответствующего открытию обратного клапана (точка 2
), и насос выходит на режим параллельной работы с другими насосами (например, точка 3
на рис. 8.5). Сечение линии холостого сброса определяется из расчета пропуска через нее 60-70% максимальной подачи насоса.
8.5. Неполадки в работе циркуляционной системы
8.5.1. Нарушение нормальной работы циркуляционного насоса и, как следствие этого, снижение подачи или отключение насоса из-за невозможности по условиям надежности дальнейшей его эксплуатации может вызываться либо неполадками и повреждениями собственно насоса, либо влиянием на подачу насоса и надежность эксплуатации отклонения по каким-либо причинам гидравлического сопротивления циркуляционного тракта от расчетного. Уменьшение расхода охлаждающей воды, например, только на 10% приводит к ухудшению вакуума в летнее время примерно на 0,4%, в зимнее время - на 0,2%. Такое ухудшение вакууме равносильно потере экономичности турбоустановки на перегретом паре и энергоблока соответственно примерно на 0,4 и 0,2%, а для турбин на влажном паре с частотой вращения 3000 об/мин соответственно на 0,7 и 0,4%.
В табл. 8.1 рассмотрены возможные нарушения в работе циркуляционной системы, связанные непосредственно с неполадками и повреждениями в осевых и диагональных насосах.
Циркуляционные насосы центробежного типа относятся к наиболее надежному оборудованию систем циркуляционного водоснабжения. Неисправности в их работе могут вызываться в основном неполадками в системе смазки подшипников, износом уплотнений, лишь незначительно влияющими на характеристику и КПД насоса, и некоторыми другими более мелкими дефектами, которые обнаруживаются эксплуатационным персоналом при осмотре насоса.
8.5.2. К изменению подачи циркуляционного насоса может привести изменение характеристики сети, в частности из-за понижения уровня воды в источнике и увеличения из-за этого геодезической высоты подъема воды Н
геод
. Как показано на рис. 8.10, при увеличении геодезической высоты подъема с Н
геод
до насос переходит с режима, определяющегося точкой а
его характеристики, на режим, соответствующей точке б
, и подача насоса уменьшается с Q
до Q
'.
Таблица 8.1
| Неполадка
|
Основная причина
|
Способ устранения
|
| 1. Контроль по заводской или снятой при испытаниях [9] характеристике показывает, что давление при данном угле поворота лопастей по указателю не соответствует измеренной или определенной из теплового баланса конденсатора подаче; вибрация в допустимых пределах
|
Угол поворота лопастей по указателю не соответствует фактическому
|
Произвести корректировку указателя угла поворота лопастей
|
| 2. Механизм поворота лопастей не обеспечивает при крайних его положениях полный диапазон изменения подачи насоса
|
Неправильно установлены ограничители перемещения крестовины механизма поворота лопастей
|
Отрегулировать положение ограничителей, установив рабочие лопасти в соответствии с контрольными отметками на основании лопасти и ступице колеса [10, 11] или при ремонте насоса - с помощью специального угломера
|
| 3. Вибрация и биение вала насоса давление и подача насоса пульсируют и не соответствуют рабочему режиму
|
Кавитационный режим насоса из-за уменьшения подпора на стороне всасывания (увеличения высоты всасывания) или закрутки потока в аванкамере
|
Изменить режим насоса, устранить причины уменьшения подпора (см. п. 8.2.2)
|
| 4. Пульсация давления и увеличение его сверх допустимого; подача значительно меньше расчетной по характеристике; электродвигатель перегревается, агрегат сильно вибрирует
|
Насос работает на нерабочей части характеристики из-за повышенного гидравлического сопротивления сети
|
Немедленно уменьшить сопротивление сети (открыть не полностью открытую задвижку, включить эжектор циркуляционной системы для восстановления сифона и др.). При невозможности уменьшения сопротивления сети на ходу остановить насос и привести тракт циркуляционной воды в нормальное состояние
|
| 5. Насос не подает воду, электродвигатель перегружен при допустимом подпоре (высоте всасывания; и исправном состоянии циркуляционного тракта; усиленная вибрация
|
Ошибочно включен электродвигатель и вращается в неправильном направлении (возможна поломка лопастей, расцентровка ротора насоса)
|
Немедленно остановить насос; переменить направление вращения вала электродвигателя; проверить центровку вала, крепление лопастей
|
| 6. Колеблется мощность электродвигателя, шум и стуки в насосе, вибрация
|
Механические заедания лопастей насоса о поверхность камеры рабочего колеса
|
Остановить насос, произвести ремонт и центровку насоса
|
| 7. Давление ниже соответствующего характеристике насоса; вибрация
|
Значительный износ торцов лопастей рабочего колеса и камеры
|
Сменить или отремонтировать лопасти, камеру рабочего колеса
|
| 8. Повышенная потребляемая мощность при соответствии подачи и давления насоса характеристике; вибрация
|
Малы зазоры между валом и вкладышами подшипников. Сильная затяжка сальников
|
Остановить насос, проверить - зазоры в подшипниках и сальниках, заменить вкладыши подшипников и сальниковые набивки
|

Рис. 8.10. Гидравлические характеристики сети:
1
- при расчетных условиях; 2
- при повышенной геодезической высоте подъема; 3
- при повышенном гидравлическом сопротивлении сети
Увеличение геодезической высоты подъема за счет снижения уровня воды, вызываемого изменением гидрологического режима источника водоснабжения (реки, озера, водохранилища), регулированием стока воды или засушливым сезоном, учитывается при выборе насоса. Возможны, однако, случаи превышения проектной геодезической высоты подъема воды, в том числе вызванного условиями эксплуатации. Так, уровень воды в аванкамере 4
(см. рис. 8.7) заметно снижается при значительном загрязнении вращающихся сеток из-за несвоевременной их чистки, неисправности промывочного устройства (см. разд. 8.1) или заноса грубых решеток водной растительностью, мусором или шугой в осенне-зимнее время. Увеличение геодезической высоты подъема может вызываться также неудовлетворительной работой сифона на сливе воды, когда уровень ее в верхней части сливной камеры конденсатора снижается из-за скопления воздуха, выделившегося при нагреве воды, а такие воздуха, попадающего через неплотности в вакуумной части циркуляционной системы или захватываемого водой на водозаборе.
Контроль геодезической высоты подъема воды циркуляционными насосами производится по мерным рейкам, установленным в точках, определяющих гидростатику системы: в заборном ковше, в аванкамере, в сифонном колодце, на водосливном пороге при сливе воды в открытый канал.
Снижение уровня вода в аванкамере приводит кроме увеличения геодезической высоты подъема воды танке к уменьшению подпора на входе в насос (увеличению высоты всасывания), что может повлечь за собой переход насоса на недопустимый режим работы (см. п. 3 табл. 8.1).
8.5.3. К снижению подачи насоса приводит и увеличение гидравлического сопротивления циркуляционной системы при неизменной геодезической высоте подъема воды, так как характеристика сети становится при этом более крутой (ср. две характеристики при одинаковой высоте подъема Н
геод
на рис. 8.9).
Гидравлическое сопротивление тракта циркуляционной воды складывается из сопротивления отдельных его участков (см. рис. 8.7). В табл. 8.2 перечислены участки тракта, сопротивление которых по тем или другим причинам может увеличиваться в процессе эксплуатации, указаны причины увеличения сопротивления и способы устранения причин повышенного гидравлического сопротивления.
8.5.4. Контроль за гидравлическим сопротивлением всей системы в целом осуществляется по давлению, развиваемому циркуляционными насосами (с учетом геодезической высоты подъема воды, определяемой по водомерным рейкам). Гидравлические сопротивления отдельных участков определяются путем измерения давления в начале и конце участка проверенными пружинными манометрами. При этом вводятся поправки на разницу отметок точек присоединения приборов. Оценка состояния участка производится путем сравнения измеренного сопротивления с определенным ранее при испытании системы водоснабжения или полученным при предыдущих эксплуатационных проверках. Для контроля за заполнением сливной камеры конденсатора рекомендуется установка водоуказательных стекол.
Таблица 8.2
| Участок тракта
|
Основная причина увеличения сопротивления
|
Способ устранения
|
| 1. Грубые решетки, воздающиеся сетки, участок подвода воды к рабочему колесу (камерный, коленчатый подвод)
|
1.1. Занос грубых решеток водной растительностью, мусором, шугой
|
Периодическая, очистка грубых решеток ручным или механическим способом; борьба с шугой путем рециркуляции подогретой воды после конденсаторов
|
| 1.2. Загрязнение вращающихся сеток из-за несвоевременной их очистки, неисправности промывочного устройства
|
Наладка работы промывочного устройства, периодическое ручное или автоматическое включение промывочного устройства
|
| |
1.3. Низкое качество выполнения подвода к насосу (неровности стенок, уступы, оставленные при бетонировании; неубранный строительный мусор)
|
Устранение строительных дефектов и счистка участка подвода воды к насосу
|
| 2. Узел переключения систем водоснабжения с напорными коллекторами (магистральными водоводами)
|
2.1. Неполное открытие обратного клапана дискового типа вследствие заедания, неуравновешенности диска, малой скорости воды сравнительно с расчетной для клапана данного размера (при полном открытии обратного клапана дискового типа его гидравлическое сопротивление составляет 1,0 кПа, или 0,1 м вод. ст.); потери давления в не полностью открытом клапане могут достигать 10-20 кПа (1-2 м вод. ст.)
|
Устранение заеданий клапана в опорных цапфах и по краям диска; наладка работы клапана с привлечением завода-изготовителя
|
| |
2.2. Неполное открытие напорной задвижки из-за заеданий или неправильной установки концевых выключателей электропривода
|
Устранение заеданий; настройка концевых выключателей электропривода задвижки
|
| 3. Напорный водовод
|
Занос илом и взвешенными веществами, особенно на изгибах водовода, крутых поворотах; недостаточно тщательная очистка водоводов после монтажа
|
Отключение и опорожнение водовода; тщательная его очистка
|
| 4. Напорные задвижки перед конденсаторами (для систем водоснабжения с напорными коллекторами, магистральными водоводами)
|
См. п. 2.2. настоящей таблицы
|
|
| 5. Конденсатор
|
5.1. Занос трубных досок водной растительностью, мусором (из-за неудовлетворительной работы вращающихся сеток), отмершими ракушками и др.
|
Отключение конденсатора по половинам и очистка трубных досок; наладка работы вращающихся сеток; очистка системы от моллюсков (ракушек) (см. разд. 8.1 и 14.3)
|
| |
5.2. Сильное загрязнение и уменьшение проходного сечения конденсаторных трубок
|
Отключение конденсатора по половинам и чистка трубок принятым на электростанции методом; наладка профилактических мероприятий против отложений в трубках
|
| 6. Сливной водовод с задвижкой (затвором)
|
Уменьшение действия сифона (разрежения в верхней точке конденсатора при полностью заполненной водой сливной камере) из-за неполного открытия сливной задвижки, вызванного заеданием или неправильной установкой концевых выключателей электропривода
|
Устранение заедания; настройка концевых выключателей электропривода задвижки
|
| 7. Закрытый сливной канал
|
Занос мусором (неудовлетворительная очистка после сооружения или ремонта, попадание мусора из сифонного колодца при повышенном уровне в нем воды, что проявляется в повышении уровня воды в сифонном колодце при заданном расходе охлаждающей воды через конденсатор)
|
Отключение закрытого сливного канала, очистка канала и сифонного колодца
|
| 8. Водораспределительное устройство градирни оборотных систем водоснабжения (напорная система водораспределения)
|
Уменьшение проходного сечения разбрызгивающих сопл из-за отложения накипи, засорения взвешенными частицами; засорение водораспределительных труб
|
Очистка сопл и водораспределительных труб принятым на электростанции способом [11]
|
| 9. Задвижки на тракте "конденсатор-градирни"
|
Неполное открытие задвижек вследствие заедания, неправильной установки концевых выключателей электроприводов
|
Устранение заеданий; настройка концевых выключателей электроприводов задвижек
|
9. ВОЗДУШНЫЕ НАСОСЫ
9.1. Основные типы воздушных насосов
9.1.1. Для поддержания разрежения в конденсаторе необходимо постоянное удаление из него поступающих вместе с отработавшим паром неконденсирующихся газов, в основном воздуха, проникающего извне через неплотности в вакуумной системе турбоагрегата.
В предназначенные для этого воздушные насосы поступает из конденсатора наряду с неконденсирующимися газами также и некоторое количество несконденсировавшегося пара.
Отсасываемая из конденсатора парогазовая смесь, как правило, насыщена паром, содержание его в смеси определяется ее давлением и температурой. Чем ниже давление и температура смеси, тем меньше содержание в ней пара. Газы сжимаются в насосе и выбрасываются в атмосферу, а содержание пара в газах на выходе из насоса зависит от конструкции и режима работы последнего.
9.1.2. Из различных по принципу действия вакуумных насосов в конденсационных установках отечественных турбостроительных заводов в настоящее время применяются для удаления газов насосы струйного типа, в которых рабочей (эжектирующей) средой служит пар (пароструйные эжекторы) или вода (водоструйные эжекторы). В дальнейшем намечается также, применение водокольцевых вакуумных насосов, принадлежащих к числу ротационных насосов вытеснения.
9.1.3. В пароструйном эжекторе (рис. 9.1) пар, поступающий при начальном давлении р
р
в сопло 1
, расширяется в сопле до давления р
н
в приемной камере эжектора 2
. Поскольку отношение давлений р
р
/р
н
в эжекторах конденсационных установок выше критического, в них применяются сопла Лаваля. Истекающая из сопла с большой скоростью струя рабочего пара увлекает (эжектирует) воздух или паровоздушную смесь из приемной камеры 2
в камеру смешения 3
. Последняя состоит из последовательно расположенных конфузорного (3, а
) и цилиндрического (3, б
) участков. Применение в камерах смешения пароструйных эжекторов конфузорных участков позволяет увеличить расход отсасываемого воздуха, при котором наступает при прочих равных условиях перегрузка эжектора (см. п. 9.2.4).
По пути движения рабочего пара и отсасываемой среды в камере смешения происходят их перемешивание и выравнивание распределения скорости смеси по ее поперечному сечению. Уменьшение кинетической энергии смешанного потока при выравнивании профиля скоростей сопровождается повышением его давления. Дальнейший рост давления до противодавления р
с
происходит в диффузоре 4
. Значение р
с
определяется барометрическим давлением и падением давления в тракте выхлопа эжектора.
9.1.4. Водоструйные эжекторы выполняются двух типов, различающихся между собой нормой и длиной проточной части: с камерой смешения, состоящей, как и в пароструйном эжекторе, из конфузорного участка и относительно короткого цилиндрического участка, за которым расположен диффузор; с удлиненной камерой смешения, цилиндрической на всем ее протяжении и без диффузора за ней. В эжекторах обоих типов рабочая вода поступает в приемную камеру через суживающееся сопло, по истечении из которого водяная струя быстро распадается на капли.
При отсосе из конденсатора паровоздушной смеси содержащийся в ней пар конденсируется на поверхности водяной струи, что приводит лишь к незначительному повышению ее температуры. В камере смешения диспергированная водяная струя и эжектируемый воздух или паровоздушная смесь движутся сперва раздельно со скольжением газовой (парогазовой) среды относительно жидкой. Затем в некотором сечении камеры смешения (или диффузора), положение которого зависит от режимных условий, в частности от противодавления р
с
, происходит возмущение двухфазного водовоздушного потока, сопровождавшееся его перемешиванием и торможением, приводящим к повышению давления смешанной среды.

Рис. 9.1. Устройство пароструйного эжектора:
1
- рабочее сопло; 2
- приемная камера; 3
- камера смешения (а
- конфузорный участок; б
- цилиндрический участок); 4
- диффузор; 5
- рабочий пар; 6
- паровоздушная смесь из конденсатора
С увеличением противодавления р
с
зона повышения давления смещается навстречу потоку. По достижении ею входного сечения камеры сечения приемная камера эжектора затапливается водой и происходит срыв работы эжектора.
9.1.5. Водокольцевой ротационный насос (рис. 9.2) имеет цилиндрический корпус, в котором эксцентрично расположено рабочее колесо с лопатками. Внутрь корпуса подводится через гидравлические уплотнения вала некоторое количество воды. При вращении рабочего колеса приводным электродвигателем вода оттесняется под действием центробежной силы к стенкам корпуса, где в результате этого образуется вращающееся водяное кольцо, а между внутренней поверхностью последнего и ступицей колеса - серповидное рабочее пространство.

Рис. 9.2. Устройство водокольцевого насоса:
1
- вал; 2
- ступица рабочего колеса; 3
- лопатки; 4
- корпус; 5
- водяное кольцо; 6
- впускные отверстия; 7
- выпускные отверстия
Воздух или паровоздушная смесь поступает в водокольцевой насос и удаляется из него через отверстия в одной или двух торцевых крышках корпуса.
Каждая пара рабочих лопаток образует ограниченную ими, ступицей рабочего колеса и водяным кольцом полость с изменяющимся по мере ее перемещения объемом, в котором происходят обычные для поршневого насоса процессы расширения и сжатия.
При движении данной полости от ее верхнего крайнего положения вниз содержащаяся в ней среда расширяется, давление в ней понижается до значения, меньшего, чем давление в конденсаторе, и в нее поступает из конденсатора воздух или паровоздушная смесь. При движении полости вверх объем ее уменьшается, содержащаяся в ней среда сжимается до давления, большего, чем давление на выхлопе, и выбрасывается из нее.
Удаляемая паровоздушная смесь насыщена паром при температуре рабочей воды, которая и определяет возможное минимальное давление на входе в насос.
Поскольку в процессе работы насоса находящаяся в нем вода вследствие трения, повышения температуры газа при сжатии и конденсации содержащегося в смеси пара нагревается, часть ее должна постоянно отводиться и заменяться более холодной свежей водой или же охлаждаться в специальном теплообменнике и после этого возвращаться в насос. Взамен воды, безвозвратно выносимой из насоса в результате захвата ее уходящим воздухом, подводится подпиточная вода. Для улавливания большей части уносимой воздухом воды за насосом устанавливается сепаратор.
9.2. Пароструйные эжекторы
9.2.1. Одноступенчатые пароструйные эжекторы по схеме рис. 9.1 применяются лишь при степени повышения давления р
с
/р
н
, не превосходящей примерно 4-6. В паротурбинных установках они используются в качестве:
- пусковых эжекторов, создающих при пуске турбоагрегата разрежение в паровом пространстве конденсатора, понижающих в нем давление примерно до 20-30 кПа, после чего включаются основные эжекторы конденсаторов (см. п. 9.2.2);
- пусковых эжекторов циркуляционной системы, создающих разрежение в водяном пространстве конденсаторов для заполнения их и сливных циркуляционных трубопроводов водой и используемых также для удаления воздуха, который может скапливаться при работе турбоагрегата в верхней части системы при наличии в ней сифона;
- эжекторов концевых уплотнений турбины, отсасывающих из уплотнений паровоздушную смесь.
Поскольку, пусковые эжекторы предназначаются для кратковременной работы, они не снабжаются обычно теплообменниками для конденсации рабочего пара, но в некоторых турбоустановках имеют на стороне выхлопа охладитель, представляющий собой теплообменный аппарат поверхностного типа, трубки которого охлаждаются циркуляционной водой.
Перед эжекторами концевых уплотнений устанавливаются поверхностные охладители для конденсации пара, содержащегося в паровоздушной смеси, выходящей из лабиринтовых уплотнений, а на стороне выхлопа эжектора - охладители для конденсации рабочего пара.
На рис. 9.3 показана конструкция пускового пароструйного эжектора и эжектора системы концевых уплотнений. Производительность пусковых эжекторов конденсаторов характеризуется расходом отсасываемого воздуха при минимальном давлении р
н
которое должно быть обеспечено в системе при пуске турбоагрегата до включения основных эжекторов (см. п. 9.2.1).
9.2.2. Основные пароструйные эжекторы, предназначенные для удаления из конденсатора воздуха при нормальной работе турбины, должны обеспечивать степень повышения давления отсасываемого воздуха до 25-30 (от 3-6 кПа до барометрического давления) и поэтому выполняются, как правило, с двумя или тремя последовательно включенными ступенями.
За первой ступенью двухступенчатого эжектора и за первой и второй ступенями трехступенчатого эжектора устанавливаются охладители для конденсации уходящего из них пара и охлаждения паровоздушной смеси, поступающей в следующую ступень. Поэтому в следующие за ними ступени поступает для дальнейшего сжатия воздух с относительно небольшим остаточным содержанием пара, что создает условие для эффективного (с меньшей затратой энергии) сжатия смеси. Установка между ступенями промежуточных охладителей, а также концевого охладителя за последней ступенью эжектора позволяет использовать энтальпию рабочего пара для подогрева основного конденсата, поступающего в систему питания котла, и сохранить конденсат пара, расходуемого на эжектор.
Промежуточный и концевой охладители выполняются в современных пароструйных эжекторах поверхностными. Охлаждающая вода (основной конденсат) подается в охладители из напорного коллектора конденсатных насосов. Дренаж из охладителей отводится раздельно или каскадно в направлении от концевого охладителя к охладителю первой ступени эжектора и направляется в паровое пространство конденсатора.

Рис. 9.3. Пусковой пароструйный эжектор:
1
- диффузор; 2
- камера смешения; 3
- дистанционное кольцо; 4
- сопло; А
- вход отсасываемого воздуха; Б
- подвод рабочего пара; В
- выход паровоздушной смеси
9.2.3. Технические данные основных пароструйных эжекторов приведены в табл. П5.1 (приложение 5).
Проточные части и охладители всех трех ступеней эжектора ПОАТ ХТЗ типа ЭП-3-75 расположены в общем стальном корпусе с двумя внутренними перегородками, отделяющими вторую ступень от первой и третью от второй. Сверху корпуса расположена крышка, также состоящая из трех отделенных одна от другой камер, в которых сверху крепятся рабочие сопла, а снизу соединенные между собой камеры смещения и диффузоры соответствующих ступеней эжектора. Вторая и третья камеры верхней крышки эжектора имеют в нижнем днище отверстия, через которые паровоздушная смесь поступает из первой ступени во вторую и из второй ступени в третью. Из охладителя последней воздух с небольшой примесью пара выбрасывается через воздухомер дроссельного типа в атмосферу.
Снизу корпуса эжектора расположена горизонтальная трубная доска, в которой крепятся U-образные трубки охладителей, и нижняя крышка с водяными камерами. По охлаждающей воде (основному конденсату) охладители трех ступеней эжектора включены последовательно в направлении от охладителя первой ступени к концевому.
Перепуск дренажа осуществляется каскадно через гидрозатворы за охладителем каждой ступени.
Модернизированные схемы питания рабочим пером эжекторов типов ПО-3-150 и ЭП-3-55/150 предусматривают подвод пара к первым двум ступеням эжектора из общего коллектора, перед которым расположен регулирующий орган, а к третьей - индивидуальный подвод пара со своим регулирующим органом. Это позволяет в случае необходимости регулировать расход пара на третью ступень, а также использовать третью ступень эжектора при отключенных по пару первых двух ступенях в качестве пускового эжектора.
9.2.4. Основные эжекторы при работе турбоустановки в нормальном режиме отсасывают из конденсатора насыщенную паровоздушную смесь, содержание пара в которой зависит от ее давления и температуры. Противодавление первой ступени в двухступенчатом эжекторе и первой и второй - в трехступенчатом определяется давлением всасывания следующей за ней ступени и сопротивлением расположенного перед ней промежуточного охладителя. Оно растет с увеличением расхода воздуха G
в
, содержащегося в отсасываемой из конденсатора паровоздушной смеси. Последняя ступень работает с практически постоянным противодавлением.
В зависимости от противодавления ступень пароструйного эжектора может работать в двух различных режимах, одному из которых отвечает при отсасывании паровоздушной смеси постоянный объемный расход U
н
(м3
/с), не зависящий от G
в
и p
с
, а другому (в области более высоких p
с
) - понижающийся с увеличением G
в
объемный расход.
Давление (кПа) на входе в первую ступень эжектора при' отсасывании паровоздушной смеси, имеющей температуру t
см
, составляет
p
н
= + а
G
в
,
где - давление насыщенного пара при температуре t
см
, кПа;
множитель а
= 287×10-3
(t
см
+ 273)/U
н
, кПа с/кг;
287 - газовая постоянная воздуха, Дж/(кг×К) [Па×м3
/кг×К)].
Рабочим режимом для пароструйного эжектора конденсационной установки является так называемый предельный режим его первой ступени, при котором U
н
= const независимо от противодавления и температуры отсасываемой паровоздушной смеси t
см
. Соответственно рабочие участки его характеристик представляют собой семейство параллельных прямых линий, отвечающих каждая определенному значению t
см
или (рис. 9.4). Чем выше температура t
см
, тем больше р
н
при данном G
в
, т.е. выше расположен рабочий участок характеристики эжектора.
При некотором значении G
в
*, зависящем от конструктивных размеров и состояния проточных частей и охладителей всех ступеней эжектора, первая ступень переходит на перегрузочный режим, при котором U
н
понижается с увеличением G
в
, что приводит к резкому росту р
н
.
Работа эжектора в этом режиме (см. круто поднимающиеся участки характеристик на рис. 9.4) не должна допускаться во избежание повышения давления в конденсаторе сверх допустимого его значения и срабатывания защиты турбины по вакууму.
Пусковые и вспомогательные эжекторы, выполняемые одноступенчатыми, работают при практически постоянном противодавлении, и их характеристики не имеют перегрузочного участка.

Рис. 9.4. Характеристики пароструйного эжектора ЭП-3-75:
при отсасывании паровоздушной смеси; - при отсасывании сухого воздуха
9.2.5. Конденсационная установка оснащается, как правило, не менее чем двумя пароструйными эжекторами, присоединенными по рабочему пару и отсасываемой смеси к общим коллекторам. При этом предусматривается, что поддержание заданного давления в конденсаторе при расчетном режиме его работы и расчетном расходе воздуха обеспечивается одним эжектором. Максимальный расход воздуха G
в
*, отвечающий переходу эжектора на перегрузочную ветвь его характеристики, принимается в 2-3 раза превосходящим нормально допускаемый по ПТЭ присос воздуха в вакуумную систему турбоагрегата. При повышении присосов воздуха, которые не могут быть устранены без останова турбоагрегата, сверх G
в
* = (2¸3)G
вн
бесперебойная работа турбоагрегата с номинальной нагрузкой должна обеспечиваться дополнительным включением еще одного или более эжекторов.
9.2.6. Нарушения нормальной работы пароструйных эжекторов - повышение давления всасывания р
н
сверх отвечающего характеристике эжектора, неустойчивая их работа (пульсация давления на стороне всасывания), появление стуков внутри корпуса, выбросы пара и воды из концевого охладителя - могут вызываться дефектами сборки эжектора при первоначальном его монтаже или ремонте, износом его проточной части и другими причинами, указанными ниже.
9.2.7. К дефектам изготовления и сборки эжекторов относятся:
- неправильное взаимное расположение сопл и камер смешения: их несоосность, расположение сопла под углом к камере смешения или на расстоянии от входа в камеру смешения, отклоняющемся от оптимального для данной ступени;
- установка после ремонта сопл не на своих местах (не в своих ступенях);
- неплотности в сварных и фланцевых соединениях в пределах эжектора;
Неполадки в работе пароструйных эжекторов, могущие возникать в условиях эксплуатации, их основные причины и способы устранения указаны в табл. 9.1.
9.2.8. Недостаточное давление пара, поступающего к эжектору, понижение его давления перед соплами вследствие засорения паровых сеток и самих сопл приводят к уменьшению расхода рабочего пара. В некотором диапазоне изменения расхода рабочего пара, тем более узком, чем больше расход воздуха G
в
, содержащегося в отсасываемой паровоздушной смеси, давление всасывания эжектора р
н
может оставаться на уровне, не препятствующем нормальной эксплуатации турбины. Но понижение расхода рабочего пара ниже определенного предела может привести к резкому уменьшению объемного расхода эжектора U
н
и недопустимому повышению давления всасывания р
н
(перегрузке эжектора).
При попадании в сопла твердых предметов могут оказаться засоренными сопла не всех ступеней эжектора. При этом раньше других приводит к перегрузке эжектора засорение сопла последней ступени. Перегрузка эжектора в результате снижения расхода рабочего пара может быть предотвращена при умеренном присосе воздуха путем включения дополнительного эжектора. Но в любом случае должна быть возможно быстрее обнаружена и устранена причина понижения давления пара, поступающего в эжекторы, или произведена очистка паровых сеток и сопл.
Недостаточный расход рабочего пара является одной из основных причин ухудшения работы пароструйного эжектора, вследствие чего необходимо следить за поддержанием номинальных параметров пара перед эжекторами, чистотой паровых сеток и сопл.
9.2.9. Ухудшение условий теплообмена в охладителях влечет за собой повышение температуры, а соответственно, и увеличение содержания пара в паровоздушной смеси, поступающей в расположенную за данным охладителем ступень эжектора. Это приводит в результате увеличения падения давления в охладителе и давления всасывания расположенной за ним ступени эжектора к росту противодавления находящейся перед охладителем ступени, которая может оказаться при этом перегруженной. Перегрузка же любой ступени эжектора приводит к переходу его на круто поднимающуюся перегрузочную ветвь его характеристики (см. рис. 9.4), т.е. к значительному повышению давления р
н
на входе отсасываемой из конденсатора паровоздушной смеси в первую ступень эжектора и давления в конденсаторе.
9.2.10. При пуске турбины, когда вся ее проточная часть и некоторые другие связанные с нею элементы системы оказываются под вакуумом, присос воздуха в систему является повышенным. Для создания и повышения разрежения в системе пусковой эжектор должен при этом отсасывать больше воздуха, чем проникает в нее извне через неплотности. При уравнивании же расходов воздуха, проникающего в систему и удаляемого из нее, дальнейшее понижение давления в системе прекращается.
Таблица 9.1
| Признак неполадки
|
Основная причина
|
Способ устранения
|
| 1. Повышенное давление всасывания эжектора по сравнению с соответствующим режиму (G
в
, t
см
) по его характеристике (при отсутствии перегрузки эжектора). Нагрев воды в охладителях выше нормы
|
Избыточный расход рабочего пара вследствие повышенного давления в паропроводе перед эжектором
|
Понизить давление рабочего пара в пределах, не вызывающих нарушений устойчивой работы и перегрузки эжектора
|
| 2. Неустойчивая работа эжектора - пульсации давления всасывания и выхлопа паровоздушной смеси
|
Недостаточный расход рабочего пара вследствие:
- пониженного давления в паропроводе перед эжектором;
- засорения паровых сеток или рабочих сопл (отложения солей из пара или заноса с паром твердых примесей - продуктов коррозии, окалины и др.)
|
Обеспечить требуемое давление в паровой магистрали; очистить сетки или сопла работающего эжектора от солей путем впрыскивания в подводящий паропровод конденсата; механически очистить сетки или сопла остановленного эжектора
|
| 3. Перегрузка эжектора (резкое возрастание давления всасывания) при расходе отсасываемого воздуха, лежащего в пределах, отвечающих рабочему участку его характеристики, сопровождающаяся иногда стуками (гидравлическими ударами)
|
3.1. Недостаточный расход или высокая температура поступающего в охладители эжектора основного конденсата
|
Выявить причину пониженного расхода конденсата или его повышенной температуры и устранить ее
|
| 3.2. Загрязнение поверхности теплообмена охладителей с водяной или паровой стороны
|
Произвести механическую или химическую очистку трубок охладителей
|
| 3.3. Уменьшение поверхности теплообмена охладителей вследствие заглушения большого числа поврежденных трубок или потопления трубного сучка, вызванного течами через неплотности в трубках, повышенным расходом рабочего пара (при износе сопл) или засорением дренажных линий
|
Заменить поврежденные трубки новыми. Заменить изношенные сопла. Очистить дренажные линии и перепускные трубки
|
| |
3.4. Рециркуляция воздуха через одну из ступеней эжектора вследствие опорожнения, или работы неполным сечением перепускных дренажных трубок между ступенями (обнаруживается по их нагреву), или неплотностей в перегородках, разделяющих охладители разных ступеней, расположенных в одном корпусе, или сварных соединений перегородок с корпусом
|
Наладить нормальный дренаж конденсата из охладителей (в случае необходимости изменить диаметр дренажных линий или установить ограничительные диафрагмы). Проверить и при необходимости изменить высоту гидрозатвора на дренажных линиях
|
| |
3.5. Повышенное противодавление за последней ступенью эжектора, вызванное засорением патрубка или воздухомера на выхлопе или значительным сопротивлением дожигательной установки
|
Устранить засорения и обеспечить противодавление, не отражавшееся на работе эжектора
|
| 4. "Запаривание" эжектора - выброс из концевого охладителя через выхлопной патрубок значительного количества пара, заметное повышение температуры выбрасываемой паровоздушной смеси
|
Ухудшение условий теплообмена в концевом охладителе (см. пп. 3.1-3.3 настоящей таблицы и п. 9.2.9 Методических указаний)
|
Заявить и устранить причины ухудшения условий теплообмена
|
Прекращение понижения давления в системе при пуске турбины может иногда происходить при разрежении, недостаточном для толчка и разворачивания турбины. Это может вызываться двумя причинами:
чрезмерно большим присосем воздуха, если, например, не подан пар из уплотнения турбины или имеются неплотные и даже не закрытые своевременно перед включением эжекторов запорные органы, или пониженной производительностью эжекторов при недостаточном в период пуска турбины расходе рабочего пара из-за пониженного давления пара в магистрали или засорения паровых сеток или сопл. Схема питания эжекторов паром в период пуска турбины должна обеспечивать поддержание нормального давленая пара перед ними. Если же и при расчетном расходе пара не удается достигнуть требуемого разрежения в системе, следует обнаружить и устранить источники повышенного присоса воздуха.
9.3. Водоструйные эжекторы
9.3.1. Водоструйные эжекторы применяются в качестве как основных, так и пусковых эжекторов конденсационной установки, а также для отсоса воздуха из верхних точек водяных камер циркуляционной системы и отсоса паровоздушной смеси из уплотнений турбины. В отличие от пароструйных эжекторов они всегда выполняются одноступенчатыми. Водоструйные эжекторы ПОАТ ХТЗ применяет в качестве пусковых, а ПОТ ЛМЗ - в качестве основных на энергоблоках 300, 800 и 1200 МВт.
На рис. 9.5 представлена конструкция одной из модификаций пускового эжектора с короткой цилиндрической камерой смешения и диффузором.
В качестве основных применяются в последнее время водоструйные эжекторы ВТИ с удлиненной камерой смещения без диффузора. Вследствие меньших потерь при сжатии водовоздушной смеси в удлиненной камере смешения эти эжекторы примерно в два раза экономичнее применявшихся ранее водоструйных эжекторов с короткой каморой смешения. На рис. 9.6 изображен семиканальный эжектор ЭВ7-1000 ВТИ, серийно выпускаемый ПОТ ЛМЗ. Он имеет семь рабочих сопл и столько же примыкающих одна к другой цилиндрических камер смешения (труб), в каждую из которых поступает истекающая из соответствующего сопла струя рабочей воды, захватывающая из общей приемной камеры воздух (паровоздушную смесь). При давлении рабочей воды перед соплами р
р
= 0,4 MПа ее суммарный объемный расход составляет около U
p
= 0,28 м3
/с (1000 м3
/ч), объемный расход эжектируемой среды (при отсосе сухого воздуха) U
н
=
1 м3
/с (3600 м3
/ч), объемный коэффициент эжекции U
н
/
U
p
= 3,57.
| 
|

|
| Рис. 9.5. Пусковой водоструйный эжектор ПОАТ ХТЗ:
1
- камера смешения; 2
- приемная камера; 3
- сопло; А
- подвод рабочей воды; Б
- вход отсасываемого воздуха; В
- выход воздуховодяной смеси
|
Рис. 9.6. Семиканальный основной водоструйный эжектор ЭВ7-1000 ВТИ
|
9.3.2. Применяются две схемы включения водоструйных эжекторов по рабочей воде. Более простой является разомкнутая схема, принятая в отечественных установках. При этой схеме рабочая вода для эжектора подается подъемными насосами из напорного циркуляционного водовода (в отдельных редких случаях - из сливного). Между насосом рабочей воды и эжектором устанавливается коническая сетка с лючком для ее ручной очистки. Водовоздушная смесь обычно сбрасывается из эжектора в сливной циркуляционный водовод либо в сливной канал (рис. 9.7, а
). При оборотном водоснабжении с градирнями иногда применяются низконапорные водоструйные эжекторы, не требующие установки подъемного насоса для подачи рабочей воды в эжектор, что еще больше упрощает схему (см. рис. 9.7, б
).
9.3.3. На зарубежных установках с водоструйными эжекторами распространена замкнутая схема, при которой рабочая вода циркулирует в контуре "эжектор - сливной бак - насос - эжектор" (рис. 9.8). В бане происходит выделение из воды воздуха, после чего она вновь забирается насосом и подается на эжектор.
При такой схеме можно исключить потерю пара, конденсирующегося в эжекторе, но для этого требуется осуществление постоянного эксплуатационного контроля и регулирования температуры и качества воды в контуре.
9.3.4. Под характеристикой водоструйного эжектора обычно понимается зависимость давления всасывания р
н
от расхода эжектируемого сухого воздуха G
в
(частого или находящегося в смеси с паром) при прочих неизменных условиях. Давление р
н
увеличивается с ростом G
в
. При G
в
= 0 давление р
н
близко к давлению насыщенного пара р
п
при температуре рабочей воды t
p
.

Рис. 9.7. Разомкнутая схема включения водоструйного эжектора по рабочей воде:
а –
с подъемным насосом; б -
без подъемного насоса; 1
- конденсатор; 2
- водоструйный эжектор; 3
- подвод циркуляционной воды; 4
- отвод циркуляционной воды; 5
- сливной канал; 6
- подъемный насос; 7
- обратный клапан (или гидрозатвор); р -
давление в различных точках тракта между конденсатором я эжектором
При отсасывания сухого воздуха и неизменных значениях давления рабочей воды р
р
и ее температуры t
p
водоструйные эжекторы имеют в диапазоне давлений всасывания р
н
, отвечающих условиям работы турбоагрегата под нагрузкой (до 15-20 кПа), практически линейную характеристику. Эжекторы с удлиненной цилиндрической камерой смешеная сохраняют такую характеристику вплоть до значений давления всасывания, приближающихся к атмосферному давлению.

Рис. 9.8. Замкнутая схема включения водоструйного эжектора:
1
- конденсатор; 2
- водоструйный эжектор; 3
- сливной бак; 4
- подъемный насос; 5
- добавочная холодная вода; 6
- сброс воды в дренаж; 7
- обратный клапан (или гидрозатвор)
9.3.5. Характеристики эжектора при отсасывании сухого воздуха, соответствующие р
р
= const и разным температурам рабочей воды t
р
,
эквидистантны (рис. 9.9, а
). Они имеют одинаковый угол наклона, а ординаты их различаются на значение, равное разности давлений насыщения , соответствующих температурам t
p
. Поэтому значение U
н
практически не зависит от температуры воды.
С увеличением до определенных значений давления рабочей воды р
р
(или диаметра сопла d
1
) давление всасывания эжектора уменьшается и характеристика протекает более полого (см. рис. 9.9 ,б
). При этом увеличиваются объемные расходы эжектора U
н
и рабочей воды U
p
(м3
/с), определяемый из выражения
U
p
= 0,035j ,
где j = 0,93¸0,97 - коэффициент скорости;
d
1
-
диаметр сопла, м;
р
п
и р
н
-
давление, Па.
Сжатие воздуха в водоструйном эжекторе происходит до противодавления р
с
[кПа], устанавливающегося на выходе из эжектора в сливной трубе. Оно определяется высотой установки эжектора над уровнем воды в ставном баке h
(M
) , средней плотностью водовоздушной смеси rсм
(кг/м3
) в сливной трубе и гидравлическим сопротивлением последней Dр
тр.сл
(кПа):
р
с
= р
б
- h
rсм
g
×10-3
+ Dр
тр.сл
, (9.1)
где р
б
-
барометрическое давление, кПа.

Рис. 9.9. Характеристики водоструйного эжектора на сухом воздухе:
а
- при разных температурах рабочей воды ( );
б
- при разных давлениях рабочей воды ( )
Уменьшение противодавления р
с
обычно приводит к увеличению объемной производительности эжектора, за исключением тех случаев, когда при малых расходах отсасываемого воздуха он работает в предельном режиме с постоянной U
н
. Из уравнения (9.1) видно, что уменьшение р
с
может быть достигнуто путем увеличения h
. Однако это увеличение ограничивается условием обеспечения устойчивости работы сифона в сливной трубе за эжектором (не более 7-8 м). Кроме того, при увеличении h
уменьшается давление перед соплами р
р
, что приводит к уменьшению U
н
. При р
р
до 0,3 МПа значение h
принимается в пределах 4-6 м.
5.3.6. В условиях эксплуатации основные эжекторы на сухом воздухе отсасывают из конденсатора смесь воздуха с паром, содержание которого в смеси тем больше, чем меньше расход отсасываемого воздуха G
в
. Пар практически полностью конденсируется на струе рабочей воды и поэтому не требует затраты энергии на его сжатие. При отсасывании паровоздушной смеси с большим содержанием в ней пара объемный и массовый расход водоструйного эжектора значительно выше, чем при отсасывании им сухого воздуха. Соответственно растут скорость смеси по тракту от конденсатора до эжектора и падения давления на всех участках тракта. Заметно увеличивается также и паровое сопротивление приемной камеры эжектора, что видно из рис. 9.10, на котором приведены характеристики эжектора при отсасывании сухого воздуха (пунктирная линия) и паровоздушной смеси (сплошная линия). По мере увеличения G
в
массовый расход пара, содержащегося в отсасываемой смеси, G
п
и объемный расход эжектора U
пвс
уменьшаются (см. рис. 9.10, б
), а давление всасывания эжектора р
н
при прочих равных условиях приближается к его значению при работе на сухом воздухе. При некотором значении G
в
=
G
в
* обе характеристики практически совпадают.
9.3.7. При малых G
в
и больших содержаниях пара в отсасываемой эжектором смеси повышенными являются также потери давления в конденсаторе Dр
к
и воздушной линии "конденсатор - эжектор" Dр
тр
, причем сумма Dр
к
+ Dр
тр
уменьшается с увеличением G
в
.
В результате зависимость давления в конденсаторе р
2
= р
н
+
Dр
к
+
Dр
тр
от G
в
имеет в области, примыкающей к оси ординат, практически горизонтальный участок, переходящий затем в наклонную ветвь этой зависимости, близко совпадающую с характеристикой эжектора при работе его на сухом воздухе (см. рис. 9.10, а
). При режиме работы конденсационной установки, отвечающем наклонной ветви характеристики, давление в конденсаторе растет с увеличением G
в
, что приводит к снижению экономичности работы турбины. Однако в отличие от пароструйного эжектора, не допускающего работу установки при его перегрузке, водоструйный эжектор обеспечивает при работе его на участке характеристики, отвечающем G
в
> G
в
*, устойчивое поддержание давления в конденсаторе в соответствии со своей характеристикой на сухом воздухе. Это позволяет не отключать турбину из-за резкого ухудшения вакуума при выходе на перегрузочную ветвь, как в случае пароструйных эжекторов, а проводить работы по устранению появившихся повышенных присосов воздуха на работающей турбине.

Рис. 9.10. Влияние расхода отсасываемого воздуха на показатели работы водоструйного эжектора и конденсатора:
а
- давление всасывания эжектора р
н
и в конденсаторе р
2
; б -
объемные и массовые расходы пара, содержащегося в отсасываемой паровоздушной смеси, и объемный расход отсасываемого сухого воздуха;
при отсасывании паровоздушной смеси;
при отсасывании сухого воздуха
При малых присосах воздуха (в пределах норм ПТЭ) конденсаторы с основными водоструйными эжекторами работают, как правило, на горизонтальном участке характеристики p
2
= f
(G
в
). Положение рабочей точки на этой характеристике зависит как от G
в
, так и от D
2
, t
1в
и t
p
.
Чем больше D
2
, t
1в
и t
p
» t
1в
.
, т.е. чем больше р
2
, тем протяженнее горизонтальный участок (рис. 9.11). Протяженность горизонтального участка увеличивается также и при увеличении объемного расхода эжектора в результате увеличения р
р
,
d
1
или уменьшения р
с
(рис. 9.12).

Рис. 9.11. Зависимости давления в конденсаторе р
2
от присоса воздуха G
в
при разных температурах рабочей воды ( );
- р
2
;
-
p
н

Рис. 9.12. Зависимость давления в конденсаторе р
2
,
и приемной камере эжектора р
н
от расхода воздуха при изменения объемной производительности эжектора 
9.3.8. При допустимом по ПТЭ нормальном присосе воздуха G
в.н
расчетное давление в конденсаторе должно обеспечиваться одним из установленной группы эжекторов, а остальные подключаются при пониженной воздушной плотности вакуумной системы турбоагрегата, приводящей к увеличению давления в конденсаторе. При этом должны быть приняты меры к возможно более быстрому устранению неплотностей. Отключение ненужных по условиям работы конденсационной установки эжекторов позволяет уменьшить затрату энергии на удаление воздуха. Для реализации максимальной экономии целесообразно, чтобы каждый эжектор был снабжен индивидуальным насосом рабочей воды.
При работе турбоагрегата с глубокими разгрузками при низких температурах рабочей воды, когда горизонтальный участок характеристики эжекторов очень мал, а присосы воздуха из-за увеличения вакуумной зоны возрастают, может быть целесообразным при соответствующем технико-экономическом обосновании включение в работу всей группы эжекторов.
9.3.9. Основные водоструйные эжекторы устанавливаются вертикально с отводом из каждого водовоздушной смеси через свою сбросную трубу, заведенную под уровень воды в сливном колодце. При этом сопротивление сливной трубы при обычной скорости смеси (около 2 м/с) невелико и давление р
c
определяется согласно равенству (9.1) в основном значении h
.
9.3.10. Если по условиям компоновки горизонтальные участки на сливной трубе неизбежны, то их делают возможно более короткими и располагают возможно ниже в зоне более высоких давлений сбросной воды.
Объединение сливных линий нескольких эжекторов, а также объединение их с другими сбросными водоводами от турбоустановки не допускается, так как это может приводить к образованию в них воздушных мешков и, как следствие этого, к пульсациям давления, вибрации труб и срыву сифона водоструйного эжектора. Перед установкой эжектора на место или после его ремонта следует проверить отсутствие смещений и перекосов в проточной части. Прокладки не должны вытесняться внутрь проточной части эжектора.
Во избежание стока в конденсатор воды при попадании ее в виде брызг из эжектора в воздушную линию участок последней, примыкающий к приемной камере, выполняется обычно с наклоном в сторону эжектора.
Таблица 9.2
| Признак неполадки
|
Основная причина
|
Способ, устранения
|
| Увеличение давления всасывания р
н
по сравнению с нормативным
|
Снижение давления рабочей воды перед соплом эжектора в результате неисправности насоса, засорения сетки на линии подвода рабочей воды к эжектору или при ее отсутствии засорения рабочего сопла
|
Проверить и наладить работу насоса. Прочистить сетку и сопло эжектора
|
| Повышенное по сравнению с давлением насыщения при температуре рабочей воды давление
|
Наличие неплотностей в приемной камере эжектора и линии подвода паровоздушной смеси
|
Отыскать неплотности и устранить их
|
| в приемной камере при безрасходном режиме эжектора (перед включением его в параллельную работу с другими эжекторами)
|
|
|
| Нарушение нормальной работы сифона, увеличение давления в верхней части сливной трубы
|
Засорение сливной трубы, появление в ней неплотностей, возникновение воздушных мешков при наличии горизонтальных участков на отводящей трубе
|
Принять меры для доведения давления до нормального
|
| Попадание воды из эжектора в конденсатор при внезапном отключении насоса рабочей воды (ухудшение качества конденсата)
|
Незакрытие обратного клапана на воздушной линии
|
Наладить обратный клапан
|
После сборки и установки эжектор следует проверить на плотность. Для того чтобы убедиться в исправности эжектора, производится его контрольное испытание на сухом воздухе и полученная характеристика сравнивается с заводской или нормативной. При безрасходном режиме (G
в
= 0) давление в приемной камере не должно превышать давление насыщенного пара при температуре рабочей воды.
9.3.11. Нарушения нормальной работы водоструйного эжектора, их причины и способы устранения приведены в табл. 9.2, а основные технические характеристики эжекторов - в табл. П5.2 (приложение 5).
10. КОНДЕНСАТНЫЕ НАСОСЫ
10.1. Типы и характеристики конденсатных насосов
10.1.1. В турбоустановках электростанций устанавливаются два конденсатных насоса подачей по 100% или три насоса - по 50% номинального расхода конденсата из конденсатора. При очистке 100% конденсата в фильтрах блочных обессоливающих установок (БОУ) для подачи конденсата через регенеративные подогреватели низкого давления в деаэратор устанавливаются две ступени конденсатных насосов.
В качестве конденсатных насосов на электростанциях применяются исключительно центробежные насосы горизонтального и вертикального типов (табл. П6.1, приложение 6).
Горизонтальные насосы с подачей до 80 м3
/ч, давлением до 1,55 МПа (155 м вод. ст.) типа КС - однокорпусные, секционные с односторонним расположением колес. Горизонтальные насосы с подачей до 140 м3
/ч и давлением до 1,4 МПа (140 м вод. ст.) типа КСЛ - спиральные, трехступенчатые с двухсторонним подводом воды к рабочему колесу первой ступени и односторонним к колесам второй и третьей ступеней.
Для крупных энергоблоков с начальным давлением пара 12,8 и 23,5 МПа (130 и 240 кгс/см2
) используются вертикальные конденсатные насосы типа КсВ с подачей до 2200 м3
/ч и напором до 2,2 МПа (220 м вод. ст.). Насосы типа КсВ с подачей 500 м3
/ч - двухкорпусные, секционные с односторонним расположением рабочих колес. Перед колесом первой ступени установлено для повышения всасывающей способности насоса предвключенное колесо (винт). Насосы КсВ с подачей более 500 м3
/ч и давлением до 1,2 МПа (120 м вод. ст.) выполняются с первым колесом двухстороннего всасывания соответственно с двумя предвключенными винтами и одним-двумя колесами одностороннего расположения. Насос КсВ с подачей 2200 м3
/ч и давлением 0,9 МПа (90 м вод. ст.) имеет только одно колесо двухстороннего всасывания.
Допустимый кавитационный запас насосов типа КсВ (минимальный подпор) составляет от 2 до 3 м.
10.1.2. По техническим требованиям, предъявляемым к конденсатным насосам, они должны обеспечивать герметичность, исключающую подсос воздуха через работающий и находящийся в резерве насосы. Их ресурс работы до первого капитального ремонта должен составлять не менее 20 тыс. ч. Насосы должны иметь стабильную плавно падающую напорную характеристику в зоне подач от номинальной до 30% номинальной.
10.1.3. Наклон напорной характеристики конденсатных насосов (рис. 10.1) составляет обычно 15-20%.
Поскольку конденсатный насос первой ступени откачивает конденсат при температуре насыщения, соответствующей давлению в паровом пространстве конденсатора, важной его характеристикой является значение допускаемого навигационного запаса Dh
доп
, тем больше, чем больше подача насоса. Снижение уровня в конденсаторе приводит к уменьшению подпора и может привести к срыву насоса, если подпор снизится ниже значения, соответствующего первому критическому режиму кавитации. Поэтому должна обеспечиваться надежная работа регулятора уровня в конденсаторе и регулирующего клапана на линии конденсата.
10.2. Пуск и неполадки в работе конденсатных насосов
10.2.1.Пуск конденсатного насоса производится при полностью открытой задвижке на стороне всасывания и закрытой напорной задвижке. После достижения номинальной частоты вращения насосного агрегата проверяется соответствие давления в напорном патрубке его значению по характеристике при холостом ходе насоса. Не допускается работа насоса при закрытой напорной задвижке более 5 мин во избежание его разогрева и запаривания. Открытием напорной задвижки устанавливается необходимая подача. После включения в работу регулятора уровня в конденсаторе, воздействующего на регулирующий клапан на линии конденсата, напорная задвижка открывается полностью.
После пуска насоса регулируются затяжка сальниковых уплотнений и подача воды на охлаждение сальника, постоянно контролируются температура масла в подшипниках, которая не должна превышать 50 °C, и уровень масла в подшипнике.

Рис. 10.1. Основные характеристики конденсатного насоса
10.2.2. На конденсатном насосе, находящемся в резерве, напорная задвижка должна находиться в открытом состоянии. При пуске этого насоса по АВР после достижения значения его давления, равного давлению в конденсатной магистрали, обратный клапан на напорной линии насоса открывается и насос входит в параллельную работу с работающим насосом.
10.2.3. В табл. 10.1 указаны возможные неполадки в работе конденсатных насосов, их причины и способы устранения.
Таблица 10.1
| Признак неполадки
|
Основная причина
|
Способ устранения
|
| Снижение подачи и давления насоса
|
Недостаточный подпор на входе в насос
|
Увеличить подпор, проверить и наладить работу регулятора уровня в конденсаторе
|
| |
Значительный подсос воздуха в подводящем трубопроводе
|
Подтянуть гайки фланцев, заменить прокладки в период останова турбоагрегата
|
| |
Засорены или повреждены рабочие колеса (например, после ремонтных работ в конденсаторе)
|
Прочистить каналы в рабочих колесах, заменить колеса на запасные
|
| |
Износились уплотнения рабочих колес
|
Заменить уплотнительные кольца, установить нормальные зазоры
|
| Насос не подает конденсат
|
Неправильное направление вращения ротора
|
Изменить направление вращения электродвигателя
|
| |
Закрыта задвижка на всасывающем трубопроводе
|
Открыть задвижку
|
| |
Скопление воздуха в корпусе насоса при закрытых вентилях на линиях отсоса воздуха из верхней части насоса в конденсатор
|
Открыть вентили на линиях отсоса
|
| Перегрузка электродвигателя
|
Подача насоса больше указанной в ТУ
|
Отрегулировать подачу насоса
|
| Туго затянуты сальники
|
Отпустить буксы сальников
|
| |
Заедание в подшипниках
|
Проверить и отрегулировать подшипники
|
| Вибрация насоса, пульсация давления
|
Насос находится в режиме сильней кавитации
|
Увеличить подпор
|
| Нарушена центровка насоса
|
Отцентровать насос
|
| |
Ротор насоса разбалансирован (после ремонта или переборки)
|
Произвести динамическую балансировку ротора
|
| |
Велик зазор во вкладыше нижнего подшипника
|
Заменить вкладыш
|
| |
Вибрирует трубопровод
|
Усилить крепление трубопровода
|
| |
Увеличены зазоры в верхнем подшипнике вертикального насоса или в опорных подшипниках горизонтального насоса
|
Перезалить вкладыши подшипника
|
| |
Изношена зубчатая муфта
|
Заменить муфту
|
| |
Низкая температура масла в подшипниках
|
Повысить температуру масла (до 40-45 °C) путем регулировки подачи воды на его охлаждение
|
| Повышенная протечка через сальники
|
Изношена или неправильно установлена набивка сальника
|
Осмотреть сальник, сменить набивку
|
| Изношена рубашка вала, большое биение вала под сальником
|
Заменить или отремонтировать рубашку, устранить биение ротора
|
| Перегреваются подшипники
|
Плохая центровка насосного агрегата
|
Отцентровать насосный агрегат
|
| Мало масла в подшипнике, загрязнение масла
|
Восстановить нормальный уровень масла, заменить масло
|
| |
Зазоры в подшипниках выполнены не по заводскому чертежу
|
Установить требуемые зазоры, пришабрить вкладыши
|
| Подсос воздуха через остановленный насос
|
Не подается конденсат на уплотнения сальников
|
Проверить состояние трубопровода подвода конденсата и вентиля; отрегулировать подачу конденсата
|
| Набивка сальника перекрывает отверстие для подвода конденсата
|
Перенабить сальник
|
| Неплотности в уплотнениях стыков насоса
|
Подтянуть гайки, сменить прокладки или кольца
|
| Неплотности в стыках секций (в секционных насосах типа КС)
|
Ослаблена затяжка стяжных шпилек
|
После останова и остывания насоса затянуть гайки, проверить штихмасом равномерность затяжки
|
| Повреждены уплотнительные прокладки
|
Заменить прокладки
|
| |
Резкие колебания температуры перекачиваемого конденсата
|
Проверить плотность при установившейся температуре
|
11. ВОДЯНАЯ ПЛОТНОСТЬ КОНДЕНСАТОРОВ
11.1. Нормы жесткости конденсата и причины их нарушения
11.1.1. Водяные неплотности, приводящие к присосам охлаждающей воды в паровое пространство конденсатора и повышению вследствие этого солесодержания конденсата, могут возникать в трубках конденсатора и соединениях трубок с трубными досками. Для выполнения высоких требований, предъявляемых на современных электростанциях к качеству питательной воды, присосы охлаждающей воды в конденсаторах должны сводиться до минимума даже при наличии 100%-ной ионообменной конденсатоочистки.
Согласно техническим условиям на поставку заводами-изготовителями мощных паровых турбин, присос охлаждающей воды в паровое пространство конденсатора не должен быть выше 0,001% расхода охлаждающей воды. По ПТЭ нормируется жесткость исходного конденсата перед конденсатоочисткой во избежание ее удорожания и сокращения межрегенерационного периода. Согласно нормам ПТЭ, в зависимости от типа энергоблока и начальных параметров пара перед турбиной общая жесткость конденсата за конденсатором не должна превосходить 0,5-1,0 мкг-экв/кг. Соответствующий максимально допустимый присос охлаждающей воды, зависит в каждом конкретном случае от ее солесодержания.
11.1.2. В условиях эксплуатации о водяной плотности конденсатора судят по данным текущего контроля качества конденсата (результатам химических анализов проб, отбираемых не реже одного раза в смену, или по показаниям автоматических солемеров). Появление значительных водяных неплотностей обнаруживается по увеличению жесткости (электрической проводимости) конденсата и проверяется путем гидравлического испытания конденсатора.
При работающем конденсаторе для количественной сценки присоса охлаждающей воды можно воспользоваться соотношением между жесткостью конденсата и охлаждающей воды или содержаний в них каких-либо примесей, например, хлоридов или кремниевой кислоты.
Если жесткость охлаждающей воды составляет Ж
о
или содержание в ней примеси (индикатора) С
о
, а в конденсате за конденсатным насосом соответственно Ж
к
и С
к
,
то присос, выраженный в процентах от расхода охлаждающей воды, определяется из соотношения
, (11.1)
где D
к
= D
2
+ D
др
- сумма расходов конденсата отработавшего пара D
2
и поступающих в конденсатор дренажей D
др
.
11.1.3. Причинами образования водяных неплотностей в конденсаторах могут быть:
- коррозионные и эрозионные повреждения трубок с водяной и паровой стороны;
- механические повреждения трубок;
- дефекты вальцевания трубок в трубных досках;
- дефекты приварки основных трубных досок к корпусу конденсатора или сварки между собою частей сборных трубных досок.
11.2. Коррозионные и эрозионные повреждения трубок
11.2.1. Выбор материалов конденсаторных трубок определяется в основном качеством охлаждающей воды [15]. В конденсаторах поставки отечественных турбостроительных заводов установлены, как правило, трубки из медных сплавов: медно-цинковых (латуней), легированных для увеличения их стойкости против коррозии оловом, а в случаях возможности эрозионно-коррозионных повреждений алюминием и содержащих также небольшое количество мышьяка для снижения их склонности к обесцинкованию (латуни ЛО-70-1, ЛА-77-2, ЛОМш 70-1-0,05 и ЛАМш 77-2-0,05), и медно-никелевых, легированных железом и марганцем (сплавы MHЖ-5-1, МНЖ-Мц-5-1-0,8 или МНЖМц-30-1-1). Состав и механические свойства указанных сплавов определяются ГОСТ 21646-76, ГОСТ 10092-75 и ТУ 48-21-465-82 (зa рубежом применяются также трубки из медно-никелевого сплава с 10% никеля, нержавеющих сталей и титана). Толщина стенок трубок принимается 1 мм.
11.2.2. В латунных трубках коррозионные повреждения проявляются в форме общего обесцинкования, пробочного обесцинкования, коррозионного растрескивания, ударной коррозии и коррозионной усталости. Форма и скорость развития коррозионного процесса зависят от агрессивности охлаждающей воды, ее скорости в трубках, чистоты трубок и состояния металла.
При благоприятных условиях (пресные, слабоминерализованные, не загрязненные стоками воды, хорошо отожженные мягкие трубки) наблюдается лишь медленный процесс общего обесцинкования латунных трубок (образования с водяной стороны трубки постепенно углубляющегося слоя красной губчатой меди), приводящий к необходимости замены трубок вследствие утонения и уменьшения механической прочности их стенок по истечении 15-20 лет и более. Однако повышенная агрессивность охлаждающих вод, загрязнение трубок содержащимися в воде примесями, а также дефекты изготовления трубок приводят к их местному (пробочному) обесцинкованию или коррозионному растрескиванию, что существенно сокращает срок службы трубок.
При местном обесцинковании на внутренней поверхности латунных трубок образуются небольшие (диаметром до 3-5 мм) язвины и пробки губчатой меди, быстро проникающие вглубь стенки и образующие в результате выпадения пробок, сквозные свищи-отверстия. Растрескивание трубок происходит при наличии в них растягивающих напряжений, большей частью остаточных напряжений, не снятых из-за неудовлетворительного их отжига после изготовления (латунные трубки должны быть "мягкими"). При пробочном обесцинковании и коррозионном растрескивании выход трубок из строя может начаться уже через 3-5 лет после их установки, а необходимость замены трубного пучка конденсатора из-за большого числа заглушенных трубок и ускорившегося выхода их из строя может возникнуть по истечении 8-10 лет, а иногда и быстрее.
Поскольку мышьяк или применяющийся для той же цели фосфор увеличивает склонность латуней к растрескиванию, [содержание этих веществ или сумма их содержаний (As
+ Р
) не должны превышать 0,02-0,035% и перед установкой трубок на место необходимо убедиться с помощью аммиачной пробы в том, что в них практически отсутствуют остаточные напряжения. Ртутная проба не пригодна для проверки отсутствия остаточных напряжений в латунных трубках вследствие ее недостаточной чувствительности (аммиачная проба позволяет обнаружить напряжения от 5 Н/мм2
, а ртутная - лишь от 100 Н/мм2
и более). При наличии остаточных напряжений трубки могут быть иногда отожжены с помощью перегретого пара на электростанции [16].
11.2.3. При высокоминерализованных водах, главным образом морских, входные концы латунных трубок могут подвергаться ударной коррозии или эрозионно-корозионному разрушению, связанному с повреждением защитной пленки на поверхности металла под действием ударов, вызываемых кавитацией, и содержащихся в воде абразивных примесей (песка, золы). Легирование латуни алюминием повышает ее стойкость против эрозии, вследствие чего трубки из алюминиевой латуни нашли применение в основном на приморских электростанциях, где срок их службы составляет в среднем около 10 лет. Но при загрязненных стоками морских водах и содержании в воде сульфидов стойкость их недостаточна.
Для защиты входных концов латунных трубок от ударной коррозии в них вставляются втулки из пластмассы длиной 150-250 мм или на участок той же длины наносится покрытие из эпоксидной смолы или другого синтетического материала. Втулка или покрытие должны иметь плавное очертание на входе и сходящую на нет толщину по их длине, так как наличие уступа при переходе к металлу приводит к образованию очага коррозии последнего. При морских водах целесообразно также применение электрохимической (протекторной или катодной) защиты.
11.2.4. В последнее время в конденсаторах мощных паровых турбин электростанций, поставляемых отечественными заводами применяются в основном трубки из медно-никелевого сплава МНЖ-Мц 5-1-0,8 (мягкие), при высокоминерализованных и загрязненных морских водах - из сплава МНЖ-Мц 30-1-1.
Трубки из сплава МНЖ-Мц 5-1-0,8 применяются взамен латунных при пресных и чистых морских водах, не содержащих сульфидов и аммиака. Сплав с 30% Ni хорошо противостоит действию аммиака, и трубки из этого сплава могут применяться в выходной зоне трубного пучка (воздухоохладительной секции), если при трубках из других медных сплавов в этой зоне наблюдается их аммиачная коррозия (см. п. 11.2.6). Но этот сплав непригоден при кислых водах.
Трубки из медно-никелевых сплавов подвержены язвенной коррозии под отложениями, и даже сравнительно редкие локальные отложения могут приводить к образованию в них течей. При кислых водах или содержания в воде сульфидов они могут подвергаться пробочному обезникелеванию.
Трубки из нержавеющих сталей и титана, не применяющиеся пока в отечественных конденсаторах стационарных турбоустановок, здесь не рассматриваются.
11.2.5. Для предотвращения или замедления коррозии конденсаторных трубок из медных сплавов с водяной стороны наряду с выбором их материала, учитывающим свойства охлаждающей воды, и выполнением требований, предъявляемых к их изготовлению, транспортировке и хранению, весьма важным является поддержание в условиях эксплуатации достаточной чистоты внутренней поверхности трубок (см. разд. 14) и осуществление в случае необходимости мероприятий, способствующих образованию на этой поверхности прочной и плотной защитной пленки.
Образованию на поверхности медных сплавов оксидной пленки, обладающей повышенными защитными свойствами, способствует содержание в воде гидратированных окислов железа. При этом на поверхности естественной оксидной пленки - слоя, состоящего в основном из окислов меди, образуется сцепленный с ним второй оксидный слой, представляющий собой гомогенный слой окиси железа. Поскольку окислов железа, попадающих в охлаждающую воду в результате коррозии стальных элементов водозаборных сооружений, обычно недостаточно, рекомендуется особенно при соленых (морских) и солоноватых водах дозирование в охлаждающую воду сульфата железа (FeSO4
) или других соединений железа или же установка в передней водяной камере конденсатора железных анодов. Этот метод упрочнения защитной пленки пригоден как для новых, так и для проработавших уже трубок.
При непрерывном вводе сульфата железа исходят из дозы Fe++
, составляющей 0,01-0,03 мг Fe/кг (или 0,05-0,15 кг FeSO4
×7H2
O/кг), при периодическом вводе дозу увеличивают, например при ежесуточном дозировании в течение 1 ч до 1 мг Fe/кг (или 5 мг FeSO4
×7H2
O/кг). Дозирование сульфата железа рекомендуется учащать в первый период работы новых трубок и после перерывов в работе конденсатора с опорожнением его от воды, так как при высушивании трубок защитная пленка может растрескиваться и частично отслаиваться. Концентрированный раствор сульфата железа должен вводиться в охлаждающую воду возможно ближе к конденсатору во избежание преждевременного его окисления и выпадения соединений железа в виде хлопьев. Должно обеспечиваться хорошее перемешивание вводимого раствора с основной массой воды.
Образованию стабильной защитной пленки на поверхности трубок при дозировании сульфата железа может препятствовать значительное содержание в воде абразивных примесей (песка, золы).
11.2.6. Повреждения трубок, вызываемые эрозией или коррозией их с паровой стороны, наблюдаются значительно реже. Они могут вызываться эрозией в первых двух рядах трубного пучка со стороны входа в него пара, содержащего капельную влагу, при значительной скорости последнего ("каплеударная" эрозия) или в местах ввода в конденсатор горячих дренажей и аммиачной коррозией трубок на стороне выхода паровоздушной смеси из воздухоохладительной секции трубного пучка, где концентрация газов (аммиака, кислорода и двуокиси углерода) являются наиболее высокой.
Поскольку скорость пара на входе в трубный пучок ограничивается в отечественных конденсаторах по соображениям, связанным с улучшением их теплотехнических показателей, значительная эрозия трубок в первых рядах трубного пучка в них, как правило, не наблюдается. Локальная эрозия возможна при большой неоднородности распределения скоростей пара, поступающего в трубный пучок, в местах повышенных его скоростей. Образование вследствие этого неплотностей может быть избегнуто путем установки в периферийных рядах трубок с большей толщиной стенки (до 1,5-2 мм вместо обычной толщины 1 мм) или изготовленных из более стойкого к эрозии материала.
Аммиачная коррозия трубок из латуни или медно-никелевого сплава, содержащего 5% Ni с паровой стороны в зоне выхода паровоздушной смеси из трубного пучка, может возникать при аммиачно-гидразинной обработке питательной воды и продолжительной работе турбоагрегата на режимах, при которых концентрация газов (аммиака, кислорода и двуокиси углерода) в удаляемой из конденсатора парогазовой смеси является сильно повышенной (при частичных нагрузках, значительных присосах воздуха и низких температурах охлаждающей воды). Она может быть устранена путем установки в воздухоохладительной секции пучка трубок из материала, стойкого к аммиачной коррозии (например, медно-никелевого сплава с 30% Ni); или орошения трубок воздухоохладительной секции конденсатом из основного трубного пучка.
11.2.7. Для обнаружения коррозионных или эрозионно-коррозионных повреждений трубок на более ранней стадии, до начала быстро нарастающего выхода их из строя из-за образования сквозных отверстий, следует периодически осуществлять контроль за состоянием трубок, особенно со стороны охлаждающей воды. Контроль за состоянием трубок может осуществляться путем:
- визуального (при длине трубок менее 8 м) или визуально-оптического с помощью эндоскопов) осмотра внутренней поверхности трубок;
- выемки из конденсатора образцов трубок для проверки наличия, характера и размеров локальных повреждений с обеих сторон стенки и ее толщины, контроля за состоянием защитной пленки на внутренней поверхности;
- применения метода вихревых токов (токовихревого прибора с внутренним датчиком-зондом), позволяющего выявить повреждения трубок с внутренней и наружной стороны, а также производственные дефекты, не обнаруженные при приемке трубок (раковины, посторонние включения и др.).
11.3. Неплотности в трубных досках
11.3.1. Достаточного внимания требует к себе обеспечение плотности многочисленных соединений трубок с трубными досками. Эти соединения выполняются, как правило, путем вальцевания трубок в отверстиях трубных досок. Вальцевание трубок следует производить автоматическими или полуавтоматическими вальцовками с ограничением максимального крутящего момента и в соответствии с инструкцией завода-изготовителя конденсатора.
Установка и вальцевание трубок при сборке нового конденсатора производится монтажной организацией под наблюдением представителя завода, при замене трубок в старых конденсаторах - специализированной ремонтной организацией.
11.3.2. При выполнении всех требований, предъявляемых к вальцеванию, соединения трубок с трубными досками обладают достаточно высокой прочностью и плотностью.
Течи в этих соединениях могут вызываться недостаточной предварительной очисткой отверстий в трубных досках, недовальцеванием части трубок или вальцеванием их на недостаточную глубину (она должна составлять 0,75-0,90 толщины трубной доски) и другими дефектами производства, не обнаруженными при проверке плотности соединений после окончания вальцевания и выявившимися в условиях последующей эксплуатации при воздействиях на вальцовочные соединения продольных усилий в трубках, вибрации трубок и др.
Если за время предыдущей работы конденсатора замена в нем трубок производилась уже несколько раз, возможно нарушение в результате повторных выемок и вальцеваний трубок правильности формы отверстий в трубных досках. В таких случаях целесообразно выправить отверстия с помощью развертки. Но разность между диаметром отверстий и наружным диаметром трубок не должна при этом превышать примерно 0,6 мм.
Обнаруженные неплотности вальцовочных соединений должны быть устранены путем подвальцевания трубок (незначительные капиллярные неплотности, оставшиеся после вальцеваний, при повторной проверке обычно не обнаруживаются благодаря заполнению их продуктами коррозии трубной доски из углеродистой стали). В случае необходимости дополнительное уплотнение вальцовочных соединений может быть достигнуто путем нанесения на трубные доски со стороны водяной камеры покрытия из битумной мастики или синтетического материала [17].
При высоком солесодержании охлаждающей воды для предотвращения ее присоса в паровое пространство через неплотности в трубных досках последние выполняются иногда двойными: трубки вальцуются с каждой стороны в двух досках, установленных с зазором между ними 15-20 мм. Полость между каждой парой досок заполняется конденсатом, давление которого поддерживается на уровне, превосходящем давление охлаждающей воды в водяной камере, вследствие чего при неплотностях в вальцовочных соединениях первой и второй досок охлаждающая вода не может проникать в паровое пространство. Применение двойных трубных досок может приводить к трудностям при замене поврежденных трубок в условиях эксплуатации.
11.3.3. Иногда водяные неплотности могут возникать в сварных соединениях трубных досок с корпусом конденсатора или соединениях между собой частей крупных трубных досок, разрезаемых перед транспортировкой конденсатора, из-за непроваров или образования трещин в сварных швах.
В зависимости от размера этих неплотностей они могут устраняться путем подварки, нанесения двух-трех слоев масляной краски при выключенной по воде половине конденсатора и вакууме в паровом пространстве иди нанесения уплотняющего покрытия (см. п. 11.3.2).
11.4. Механические повреждения трубок
11.4.1. Одной из возможных причин механических повреждений трубок в конденсаторах является возникновение их вибраций. При значительной амплитуде колебаний трубок возможно образование в них усталостных трещин вблизи основных и промежуточных (спорных) трубных досок, фрикционная коррозия трубок в отверстиях опорных досок и взаимное истирание трубок вплоть до образования сквозных отверстий при недостаточных расстояниях и контакте между ними в средней части свободных пролетов. Вибрационные повреждения трубок наблюдаются в современных конденсаторах редко, но их возможность следует учитывать при анализе причин выхода трубок из строя.
В конденсаторах турбин колебания трубок с большой амплитудой могут вызываться двумя основными причинами: совпадением частоты собственных колебаний трубок с частотой вращения не полностью отбалансированного ротора турбины или другого близко расположенного вращающегося механизма (резонансная вибрация) или действием аэродинамических сил, возникающих при поперечном обтекании трубок паровым потоком (аэродинамическая вибрация).
11.4.2. Отстройка частоты собственных колебаний трубок от частоты основной возмущающей силы (частоты вращения турбины), основывающаяся на расчетах вибрации, лабораторных опытах и анализе эксплуатационного опыта, принимается обычно не менее 25% для свободных колебаний трубок первого порядка основного тона и до 12-15% для колебаний следующие порядков. Исходя из этого выбираются число и длина свободных пролетов трубок между основными и опорными трубными досками [15].
В случае поломок трубок при выяснении их причин следует, однако, иметь в виду, что при правильном расположении опорных трубных досок по высоте, обеспечивающем требуемый прогиб трубок и хороший контакт их со стенками отверстий в опорных досках, частота собственных колебаний трубок не является одинаковой для всего трубного пучка и для любого режима работе конденсатора. Это связано в основном с влиянием на частоту собственных колебаний трубок действующих на них продольных сил, возникающих вследствие различий коэффициентов температурного удлинения материалов трубок и корпуса конденсатора и деформаций трубных досок. Возможно так же, как уже отмечалось, что вибрация вызывается не турбиной, а другим механизмом с частотой вращения, отличающейся от частоты вращения турбины. Если поломки трубок наблюдаются в первых двух-трех рядах трубного пучка на стороне входа в него пара, более вероятно, что они вызываются автоколебаниями трубок под действием парового потока.
11.4.3. Появление и поддержание автоколебаний трубок в периферийных рядах трубного пучка является результатом действия аэродинамических сил, возникающих вследствие периодических отрывов паровых вихрей попеременно с одной и другой стороны кормовой части поперечно обтекаемых трубок; турбулентных пульсаций парового потока; смещений трубок в процессе их колебаний из их равновесного положения, приводящих к изменению поля течения и баланса сил, действующих на трубки (аэроупругой нестабильности).
В условиях конденсаторов паровых турбин автоколебания с большими амплитудами вызываются в основном аэроупругой нестабильностью, проявляющейся при превышении паровым потоком некоторой критической скорости U
кр
в узком сечении между трубками. При U
£ U
кр
амплитуды вибраций невелики, а при U
³ U
кр
, когда изменение баланса сил, действующих на трубку, приводит к тому, что энергия, воспринимаемая трубками от потока, становится большей, чем затрачиваемая на преодоление сил демпфирования трубок, амплитуды колебаний быстро возрастают и могут достигнуть опасных значений. Поскольку распределение скоростей поступающего пара по периметру трубного пучка неоднородно, превышение критической скорости U
кр
и возникновение аэроупругих вибраций могут носить локальный характер. Скорость пара может превзойти U
кр
также при отключении одной из половин конденсатора. При превышении границы аэроупругой нестабильности преобладающая часть энергии колебаний приходится на низкие частоты.
В настоящее время отсутствует общепринятая методика расчета аэроупругих вибраций для трубных пучков. Применительно к условиям конденсаторов турбин можно пользоваться для ориентировочной оценки возможности возникновения их автоколебаний эмпирической формулой, предложенной американской фирмой "Вестингауз" на основе анализа эксплуатационного опыта:
l
макс
= 1,06[EI
/(rп
d
н
)]1/4
, (11.1)
где l
макс
- максимальная длина пролета, при которой трубки устойчивы к автоколебаниям, м;
Е
- модуль упругости материала трубок; Па;
I
-
экваториальный момент инерции кольцевого поперечного сечения трубки, м4
;
rп
- плотность пара, кг/м3
;
w
п
-
средняя скорость пара на выходе из выхлопного патрубка турбины, м/с;
d
н
-
наружный диаметр трубок.
Для крайних пролетов, где трубки с одной стороны закреплены, постоянный множитель в формуле (11.1) может быть увеличен до 1,3. При определении l
макс
принимаются наиболее неблагоприятные режимные условия, при которых значение rп
является наибольшим, т.е. отвечающим более холодному времени года.
11.4.4. При вибрационных разрушениях трубок, вызванных завышенными свободными пролетами, не обеспечивающими в каких-либо зонах трубного пучка достаточной отстройки частоты собственных колебаний трубок от частоты возмущающей силы при всех режимных условиях, для предупреждения дальнейших повреждений свободные пролеты трубок в соответствующие зонах должны быть уменьшены. Для этого в средней части всех или только больших пролетов, если длины пролетов по длине конденсатора неодинаковы, в зазорах между трубками могут быть установлены деревянные (из дуба, бука) или пластмассовые вставки (рис. 11.1 и 11.2). Если же при установке пластмассовых вставок возникают трудности, при замене трубок в конденсаторе между ними в средней части пролетов могут укладываться поперечные шланги из синтетического каучука, из которых предварительно откачивается воздух для того, чтобы они приобрели плоскую форму. После установки трубок шланги сообщаются с атмосферой и расширяются, обеспечивая требуемое повышение жесткости пучка между опорными трубными досками.
11.4.5. Помимо вибраций причинами механических повреждений трубок могут быть возникшие при их изготовлении, транспортировке или хранении дефекты (трещины, надрывы и др.), не выявленные до установки трубок на место, перевальцевание, приведшее к подрезке или чрезмерному утонению стенки в месте перехода развальцованного ее конца к основной части трубки, а также внешние причины, например попадание в конденсатор из турбины отломившихся кусков бандажа и лопаток, стеллитовых пластинок и др.

Рис. 11.1. Расположение клиньев в трубном пучке конденсатора:
1
- основные трубные доски; 2
- промежуточные опорные перегородка; 3
- деревянные клинья

Рис. 11.2. Расположение пластмассовых вставок в трубном пучке:
1
- трубки; 2
- пластмассовые вставки
11.5. Способы отыскания водяных неплотностей
11.5.1. Основным методом отыскания мест присосов охлаждающей воды в паровое пространство конденсатора (поврежденных трубок, неплотных вальцовочных соединений и др.) является гидравлическая опрессовка конденсатора. Паровое пространство конденсатора заливается конденсатом или химически очищенной водой на 0,5 м выше уровня соединения горловины конденсатора с выхлопным патрубком турбины, и со стороны водяных камер, из которых спущена охлаждающая вода, производится осмотр основных трубных досок, предварительно высушенных сжатым воздухом.
Заливка конденсатора водой позволяет обнаружить места относительно больших течей, обнаружить же небольшие, а тем более капиллярные неплотности, при этом не удается, так как разность давлений в паровом пространстве конденсатора и в водяной камере оказывается значительно меньше перепада давлений в условиях эксплуатации, особенно в верхней части парового пространства. Дня выявления меньших неплотностей над зеркалом воды создается избыточное давление 30-50 кПа (0,8-0,5 кгс/см2
) с помощью сжатого воздуха, причем для поддержания этого давления закрываются торцы концевых лабиринтовых уплотнений, закрепляется атмосферный клапан и закрывается задвижки на линиях отсоса паровоздушной смеси из конденсатора.
Для подсушки трубных досок и предотвращения их потения рекомендуется заливать конденсатор водой с температурой 50-60 °C. Но при этом из-за сжатого состояния трубок могут оказаться невыявлеными имеющиеся в трубках кольцевые трещины.
11.5.2. Отыскание малых неплотностей достигается при использовании люминесцентного метода гидроопрессовки. При этом в воду, заливаемую в паровое пространство конденсатора, подмешивается люминофор, обладающий свойством светиться под действием ультрафиолетовых лучей. Обычно в качестве люминофора применяется флуоресцеин С20
Н12
О5
или лучше растворимый в воде флуоресцеин натрия-урания С20
Н12
О5
Na2
, для получения которого растворяется в воде флуоресцеин и равное по массе количество едкого натра NаОН. Для лучшего перемешивания заранее приготовленного концентрированного раствора люминофора с остальной водой они подаются в конденсатор одновременно.
При облучении трубных досок ультрафиолетовыми лучами проникающая через неплотности вода с люминофором светится ярким желтовато-зеленым светом, что позволяет обнаружить в затемненной водяной камере даже очень мелкие течи. При люминесцентном методе опрессовки также целесообразно создание над поверхностью воды повышенного давления с помощью сжатого воздуха.
В качестве источника ультрафиолетового излучения может быть применен люминоскоп типа "Полюс" ленинградского завода "Геологоразведка", питаемый постоянным током напряжением 6 В, или излучатель конструкции Свердловэнерго с лампами УФО-4а, питаемый от сети переменного тока напряжением 12 В. При облучении трубных досок излучатель должен находиться на расстоянии от них примерно 150-200 мм.
11.5.3. Иногда применяется пневматическая опрессовка конденсатора без заполнения его водой, а лишь путем создания в его паровом пространстве избыточного давления воздуха, для поддержания которого должны приниматься меры по предварительному уплотнению проверяемого участка системы, указанные в п. 11.5.1. Места возможных неплотностей могут проверяться при этом, например, путем покрытия их с помощью кисти мыльным раствором, в котором даже при небольших неплотностях образуются в местах выхода воздуха легко обнаруживаемые пузыри.
11.5.4. На работающей турбине отыскание мест неплотностей в трубках конденсатора может производиться при отключении по охлаждающей воде одной из его половин. Для обнаружения неплотностей к трубной доске с одной стороны прижимается тонкая пластиковая пленка или на доску наносится слой мыльной пены (это не может быть сделано одновременно с другой стороны, соответствующий участок трубной доски с другой стороны следует чем-либо закрыть). Наличие неплотностей обнаруживается при этом по вдавливанию пленки или засасыванию пены внутрь поврежденных трубок.
11.5.5. Водяные неплотности могут быть также обнаружены с помощью галогенного (галоидного) или гелиевого течеискателя, используемого при отыскании воздушных неплотностей в вакуумной системе турбоагрегата (см. разд. 12). Если от отключенной половины работающего конденсатора медленно спускать охлаждающую воду и одновременно ввести в водяную камеру над уровней воды газ-индикатор, то последний при обнажении ряда, в котором имеются поврежденные трубки, проникнет в паровое пространство конденсатора, поступит вместе с пробой отсасываемой воздухоудаляющим устройством из конденсатора паровоздушной смеси в датчик течеискателя и вызовет появление сигнала.
Для отыскания неплотностей в трубках может быть применен аналогичным образом (при медленном сливе воды из отключенной половины действующего конденсатора) также датчик ультразвукового дефектоскопа. При протекании наружного воздуха через небольшие неплотности (свищи, трещины) в трубке возникают ультразвуковые колебания, которые могут быть обнаружены датчиком дефектоскопа.
12. ВОЗДУШНАЯ ПЛОТНОСТЬ ВАКУУМНОЙ СИСТЕМЫ
12.1. Допустимые присосы воздуха
12.1.1. Повышенные сверх допустимых присосы воздуха в вакуумную систему турбоагрегата принадлежат наряду с загрязнением конденсатора к числу основных причин повышения давления отработавшего пара по сравнению с нормативным. Поэтому необходимы систематический эксплуатационный контроль за воздушной плотностью вакуумной системы, отыскание и устранение неплотностей при возрастании присосов воздуха сверх допустимых [21].
Присосы воздуха, превосходящие допустимые, могут приводить кроме ухудшения вакуума и соответствующего понижения экономичности турбоагрегата также к росту содержания кислорода в конденсате, поступающем в питательную систему, и значительному переохлаждению конденсата при низкой температуре охлаждающей воды.
При воздушных насосах, характеристики которых (см. разд. 9) имеют очень крутые перегрузочные участки (например, двух- и трехступенчатые пароструйные эжекторы, двухступенчатые водокольцевые насосы с ограниченной подачей второй ступени), чрезмерные присосы воздуха, исчерпывающие предусматриваемый запас подачи воздушных насосов в пределах рабочих участков их характеристик, могут повлечь за собой необходимость останова турбины.
12.1.2. Вакуумная система турбоагрегата включает в себя кроме конденсационной установки все находящиеся в рабочем диапазоне нагрузок энергоблока под разрежением части турбоагрегата и системы регенеративного подогрева конденсата. Размеры ее и количество охватываемых ею элементов, в которых возможно образование неплотностей, зависят от мощности турбины, ее типа и конструкции, начальных параметров пара и частоты вращения, а также от нагрузки турбины, так как при понижении последней зона разрежения в турбоагрегате увеличивается.
Присосы воздуха G
вн
(кг/ч) в диапазоне изменения паровой нагрузки конденсатора 40-100% не должны превышать значений, определяемых по формуле
G
вн
= а
+ bN
, (12.1)
где N
- номинальная электрическая мощность турбоустановки на конденсационном режиме, МВт.
Значения коэффициентов, а
и b
принимаются для турбин ТЭС соответственно 8 и 0,065, а для турбин насыщенного пара - 10 и 0,1.
12.1.3. Обычно для отсоса воздуха из конденсатора устанавливаются два-три (реже больше) воздушных насоса. При двух или трех воздушных насосах предусматривается, что при расчетных условиях работы конденсатора и указанных выше (см. п. 12.1.2) допустимых присосах воздуха номинальное давление в конденсаторе р
2
должно обеспечиваться при включении лишь одного из воздушных насосов, а перегрузка воздушного насоса при наличии у его характеристики крутой перегрузочной ветки должна наступать при
=
(2¸3)G
вн
.
Если при значительных присосах воздуха включение двух (или трех) воздушных насосов позволяет поддерживать давление в конденсаторе хотя и более высокое, чем расчетное, но допустимое по техническим условиям для работы турбины, это не исключает необходимости отыскания и устранения неплотностей при первой же возможности для обеспечения экономичной работы турбоагрегата и ограничения содержания кислорода в конденсате турбины.
Методы контроля за воздушной плотностью вакуумной системы турбоагрегата см. пп. 5.2.7 и 5.2.8.
12.2. Отыскание воздушных неплотностей в вакуумной системе
12.2.1. Неплотности, вызывающие повышенные присосы воздуха, могут возникать в разных местах вакуумной системы, в том числе:
- во фланцевых и сварных соединениях турбины, конденсатора и других элементов турбоустановки, включая горизонтальные разъемы ЦНД, присоединения к ЦНД паровых ресиверов и линий для отбора пара, регенеративную систему, перепускные патрубки, вакуумные паровые, дренажные, конденсатные и воздушные трубопроводы и насосы и др.;
- в креплениях крышек смотровых и ремонтных люков, атмосферных предохранительных клапанов мембранного типа (при отсутствии достаточного слоя уплотняющей воды);
- в линиях отбора проб, соединительных (импульсных) линиях к измерительным приборам и регуляторам, креплениях гильз, уплотнениях водоуказательных стекол или в самих стеклах при их растрескивании или поломке;
- в лабиринтовых уплотнениях ЦНД главной турбины при увеличении в них зазоров или понижении давления пара в магистрали, из которой поступает пар в уплотнения, а также в концевых уплотнениях приводных турбин питательных насосов и систем охлаждения роторов электродвигателей питательных электронасосов (при сбросе уплотняющего и охлаждающего конденсата через гидрозатвор в конденсатор);
- в линзовых компенсаторах при образовании в них трещин и в стенках горловин и корпусов конденсатора при растрескивании их в местах ввода горячих дренажей без устройств защитных рубашек.
Если в вакуумных линиях применена обычная не вакуумная) запорная и регулировочная арматура, она во многих случаях оказывается наиболее частым источником повышенных присосов воздуха, главным образом через неплотные сальники штоков. В таких случаях арматуру следует заменить на бессальниковую с сильфонным уплотнением штоков или имеющую гидравлическое уплотнение сальников (рис. 12.1 и 12.2). В более крупной арматуре обычного исполнения гидравлические уплотнения сальников могут быть выполнены в мастерских электростанций.

Рис. 12.1. Бессальниковый вентиль:
1
- корпус; 2
– седло; 3
- уплотняющая резиновая подкладка; 4
- сильфон; 5
- шток; 6
– крышка
Присосы через запорные органы могут также вызываться неплотным их закрытием из-за износа запирающих поверхностей или попадания в зазор между ними окалины, грата или других твердых частиц.
Если при отыскании неплотностей обнаруживаются течи через фланцевые соединения и подтягивание болтов не устраняет их, следует сменить прокладки, а в случае необходимости обварить фланцы. При капиллярных трещинах в сварных швах неплотность можно устранить, зачистив шов и окрасив его два-три раза масляной краской при разрежении в системе, чтобы краска засасывалась в капиллярные трещины.
12.2.2. Отыскание воздушных неплотностей в вакуумной системе при остановленном турбоагрегате может производиться путем опрессовки ее водой или сжатым воздухом.
При гидравлической опрессовке паровое пространство конденсатора или другие участки системы заполняются конденсатом, но поскольку при этом трудно обнаружить воздушные неплотности, над уровнем воды создается с помощью сжатого воздуха от компрессора давление, превосходящее барометрическое, или применяется опрессовки только сжатым воздухом. При опрессовке водой под давлением или сжатым воздухом следует руководствоваться указаниями, приведенными в пп. 11.5.1 и 11.5.3.
Вследствие большой разветвленности вакуумных систем мощных турбоагрегатов отыскание воздушных неплотностей путем опрессовки оказывается весьма трудоемким (опрессовывать приходится отдельные участки системы) и требующим значительного времени. К тому же такой способ не позволяет проверить возможные источники присосов воздуха, недоступные для визуального осмотра, недостаточно чувствителен и может применяться лишь при холодном, а не рабочем состоянии установки, например по окончании капитального ремонта турбины.
Более чувствительны и допускают применение их на ходу турбины методы отыскания воздушных неплотностей с помощью галогенных или гелиевых (масс-спектрометрических) течеискателей. Они позволяют во многих случаях при работающей турбине устранять повышенные присосы воздуха, обнаруженные при текущем эксплуатационном контроле за работой конденсационной установки.

Рис. 12.2. Реконструкция сальника задвижки:
а -
запрессовка стального стакана в крышку задвижки; б -
приварка чугунного стакана к крышке; 1
- грундбукса сальника; 2
- сальниковая набивка; 3
- стальной стакан; 4
- резиновые кольца толщиной 10 мм; 5
- фонарь гидроуплотнения; 6
- подвод конденсата на гидроуплотнение давлением 5-6 кгс/см2
(0,5-0,6 МПа); 7
- крышка задвижки с корпусом сальника; 8
- резиновое кольцо; 9
- стальное уплотнительное кольцо; 10
- клинкеты; 11
- резиновая прокладка фланцевого соединения крышки; 12
- шток задвижки; 13
- чугунный стакан
12.2.3. Галогенный течеискатель состоит из двух блоков: щупа, в котором расположен датчик, и измерительного блока, в котором сигнал датчика после его усиления поступает на указывающий стрелочный прибор и звуковое сигнальное устройство.
Чувствительным элементом датчика является диод, в котором анодом служит платиновая спираль (эмиттер), разогреваемая электрическим током до температуры 800-900 °C. При контакте раскаленной платиновой спирали с паром или газом, содержащим галоген (фреон, четыреххлористый углерод или др.), она резко увеличивает эмиссию положительных ионов, поступающих на катод, что используется для получения сигнала. Датчик может быть вмонтирован или в выносной (атмосферный) щуп или же в щуп, встроенный в находящуюся под разрежением трубу, по которой отсасывается из конденсатора паровоздушная смесь или производится отбор смеси, поступающей в воздушный насос.
Для обнаружения течей в вакуумной системе турбоагрегата проверяемые па плотность места (фланцевые или сварные соединения, сальники арматуры и др.) обдуваются паром или газом, содержащим галоген. Обычно в качестве индикатора используются пары фреона, поступающие через шланг с наконечником (соплом) из переносного баллона с жидким фреоном. При наличии в обдуваемом месте неплотности фреон проникает внутрь системы и удаляется из нее вместе с паровоздушной смесью, отсасываемой из конденсатора воздушным насосом. Обычно отбираемая проба паровоздушной смеси сперва охлаждается в поверхностном теплообменнике для уменьшенное содержания в ней водяного пара, а затем поступает в датчик, где омывает эмиттер. При наличии в пробе галогена в измерительном контуре возникает всплеск ионного тока, обнаруживаемый по показанию стрелочного прибора и звуковому сигналу.
При отыскании воздушных неплотностей в вакуумных системах турбоагрегатов могут применяться серийные галогенные течеискатели атмосферного и вакуумно-атмосферного типов ГТИ-3, ВАГТИ-4). Схемы их применения приведены на рис. 12.3 и 12.4.

Рис. 12.3. Применение галогенного течеискателя для отыскания мест неплотностей в вакуумной системе турбины при пароструйном эжекторе:
1
- пароструйный эжектор; 2
- воздухомер; 3
- охладитель паровоздушной смеси; 4
- щуп (датчик) течеискателя; 5
- измерительный блок; 6
- термометр; 7
- вентиль для выпуска помимо воздухомера; 8
- конденсатор; 9
- баллон с фреоном; 10
- отвод удаляемой смеси к охладителю

Рис. 12.4. Применение галогенного течеискателя для отыскания мест неплотностей в вакуумной системе турбины при водоструйном эжекторе:
1
- водоструйный, эжектор; 2
- гидрозатвор; 3
- конденсатор; 4
- охладитель паровоздушной смеси; 5
- струйный насос; 6
- вакуумный датчик; 7
- измерительный блок течеискателя; 8
- баллон с фреоном; 9
- проверяемая на плотность задвижка; 10
- устройство для пуска фреона; 11
- калибровочное сопло
13. ДЕАЭРАЦИЯ КОНДЕНСАТА В КОНДЕНСАТОРЕ
13.1. Деаэрирующая способность конденсатора
13.1.1. Требование ПТЭ о том, чтобы в конденсате, поступающем из конденсатора турбины в питательную систему котла, включающую в себя основной деаэратор, содержание кислорода не превосходило 20 мкг/кг, имеет целью предотвратить вынос в деаэратор при гидразинно-аммиачном водном режиме продуктов коррозии - окислов железа и меди, образующихся на участке "конденсатор-деаэратор". Поступая с водой из деаэратора в котел, эти продукты коррозии способствуют пережогу его экранных и конвективных труб.
При нейтрально-окислительном водном режиме ограничение содержания кислорода в конденсате, поступающем из конденсатора, позволяет более устойчиво поддерживать требуемый водный режим. 13.1.2. В условиях конденсации пара, содержащего примесь воздуха, в конденсаторе паровой турбины по пути движения парового потока в трубном пучке от входа в него до выхода отсасываемой воздухоудаляющим устройством паровоздушной смеси образуются, как было указано выше (см. разд. 2), две характерные зоны: интенсивной конденсации пара и охлаждения паровоздушной смеси, причем граница между этими зонами перемещается в зависимости от режимных условий. Чем меньше паровая нагрузка, температура, а при некоторых условиях и расход охлаждающей воды и чем больше присос воздуха, тем больше доля поверхности охлаждения конденсатора, приходящаяся на зону охлаждения паровоздушной смеси, в которой концентрация воздуха значительно выше, чем в зоне интенсивной конденсации, и благоприятнее условия для абсорбции, а главное механического захвата воздуха конденсатом, т.е. увеличения содержания кислорода в конденсате, стекающем из трубного пучка.
Однако в современных конденсаторах регенеративного типа с ленточной и модульно-ленточной компоновкой трубного пучка, обеспечивающей доступ части отработавшего пара в расположенную под пучком нижнюю часть парового пространства, при работе воздухоудаляющего устройства в режиме, не выходящем за пределы рабочего участка его характеристики, дегазация конденсата на его пути от трубного пучка до конденсатосборника обычно достаточна для поддержания в конденсате, удаляемом из конденсатора при различных эксплуатационных условиях, содержания кислорода до 10-20 мкг/кг, т.е. не превосходящего допустимое по ПТЭ [21].
Сказанное иллюстрируют опытные данные Союзтехэнерго для турбины K-100-90 с двумя пароструйными эжекторами ЭП-3-600, представленные на рис. 13.1 и 13.2. Графики показывают, что резкое увеличение содержания кислорода в конденсате наблюдается при значительном снижении паровой нагрузки конденсатора и температуры охлаждающей воды и сопутствует резкому повышению давления в конденсаторе из-за перегрузки эжекторов при повышении присоса воздуха, обусловленном увеличением размеров вакуумной зоны турбоагрегата с понижением D
2
и t
1в
.
При работе эжекторов на рабочем участке их характеристики изменение в широких пределах D
2
и t
1в
практически не сказалось на содержании кислорода в конденсате. Аналогичные опытные данные получены для конденсаторов различных типов при температурах охлаждающей воды от 1 до 26 °C.

Рис. 13.1. Характеристика деаэрирующей способности конденсатора турбины К-100-90 по испытаниям в различных условиях:
1
- температура охлаждающей воды t
1в
= 5¸7 °C, расход воздуха G
в
= 0,014¸0,0278 кг/с (50¸100 кг/ч);
2 - t
1в
= 6¸10 °C; G
в
= 0,0028¸0,0033 кг/с (10¸12 кг/ч);
3 - t
1в
= 26 °C; G
в
= 0,005 кг/с (18 кг/ч)

Рис. 13.2. Деаэрация в конденсаторе турбины K-100-90 при различных присосах воздуха:
1
- в работе один эжектор; 2
- в работе два эжектора (паровая нагрузка конденсатора близка к номинальной, температура охлаждающей воды к 6 °C)
Из сказанного следует, что конденсаторы с рационально спроектированным трубным пучком обеспечивают, как правило, достаточно высокую степень деаэрации конденсата отработавшего пара, поступающего в конденсатосборники, и не требуют при нормальных условиях их работы дополнительной деаэрации этого конденсата (например, в деаэрационных конденсатосборниках).
Применение в ряде конструкций конденсаторов специальных деаэрационных устройств, расположенных под трубным пучком или в конденсатосборниках, рассчитано в основном на дополнительную деаэрацию конденсата лишь в тех случаях, когда присосы воздуха в; вакуумную систему турбоагрегата значительно возрастают по сравнению с допустимыми по ПТЭ и не могут быть по условиям эксплуатации быстро устранены, а воздухоудаляющие устройства обеспечивают еще допустимое для работы турбины давление отработавшего пара.
В конденсаторах теплофикационных турбин с отопительной тепловой нагрузкой применение дополнительных деаэрационных устройств определяется условиями, рассмотренными ниже (см. п. 13.2.2).
13.2. Деаэрация в конденсаторе дренажей и добавочной воды
13.2.1. В конденсатор поступают, кроме отработавшего пара, также различные дренажи (из ПНД, холодильников пароструйных эжекторов и др.), причем дренажи из вакуумных аппаратов имеют обычно значительное содержание кислорода. Однако при направлении дренажей в паровой объем конденсатора (не под уровень конденсата в конденсатосборнике) и раздроблении их при этом на струи и капли дегазация дренажей оказывается достаточной и не вызывает ухудшения качества конденсата, забираемого из конденсатора. Это определяется еще тем, что массовый расход дренажей незначителен по сравнению с расходом отработавшего пара.
13.2.2. В конденсатор обычно поступает еще добавочная химически очищенная вода для восполнения потерь пара и конденсата в контуре электростанция (блока). Для конденсационных электростанций расход добавочной воды относительно невелик и составляет до 2-3% расхода пара на турбину. Для ТЭЦ вследствие невозврата конденсата пара, отбираемого на производственные нужды потребителей тепла, он может быть весьма значительным. К тому же паровая нагрузка конденсаторов теплофикационных турбин обычно значительно меньше номинальной.
При подводе добавочной воды в паровое пространство конденсатора через перфорированные трубы дегазация ее в условиях конденсационных электростанций, а иногда и ТЭЦ, так же, как и дегазация дренажей, даже при температуре добавочной воды, более низкой, чем температура насыщения пара в конденсаторе, оказывается достаточной для сохранения требуемого по ПТЭ содержания кислорода в смеси конденсата и добавочной воды на выходе из конденсатора.
Менее благоприятными являются условия в конденсаторах теплофикационных турбин с отопительной нагрузкой, в которые в течение отопительного периода поступает лишь незначительное количество пара, предназначенного для охлаждения проточной части ПНД. В таких конденсаторах поддержание в смеси конденсата и добавочной воды допустимого содержания кислорода может быть достигнуто с помощью встроенных в конденсатор деаэрационных устройств барботажного типа, эффективность которых обеспечивается подачей в них испаряющихся горячих дренажей. Применение указанных устройств экономичнее, чем подвод в деаэраторный конденсатосборник пара из отбора турбины или подача добавочной воды в основной деаэратор.
13.3. Предотвращение попадания в конденсат кислорода на участке
"конденсатор – деаэратор
13.3.1. Эксплуатационный контроль за содержанием кислорода в конденсате производится обычно путем периодического анализа пробы конденсата, отобранной из трубопровода после конденсатных насосов.
Однако даже при вполне удовлетворительной деаэрации в конденсаторе, обеспечивающей низкое, лежащее в пределах нормы содержание кислорода в конденсате отработавшего пара, концентрация кислорода в конденсате на выходе из конденсатных насосов зачастую оказывается более высокой и значительно превышающей допустимую по ПТЭ. Причиной этого являются присосы воздуха на заполненном конденсатном участке тракта от конденсатосборников конденсатора до вакуумной части конденсатного насоса включительно. Если воздух, проникающий в вакуумную часть системы, заполненную паром, в преобладающей его доле отводятся воздухоудаляющим устройством конденсационной установки, то воздух, проникающий через неплотности и с дренажами непосредственно в конденсат, остается в потоке конденсата, что и приводит даже при очень незначительных присосах воздуха к повышенному содержанию кислорода в конденсате на выхода из конденсатного насоса.
В случаях повышения концентрации кислорода за конденсатными насосами для отыскания неплотностей целесообразно отбирать пробы конденсата непосредственно из конденсатосборника, т.е. из-под вакуума, и сравнивать результаты анализов этих проб с результатами анализов проб, взятых в штатной точке после конденсатных насосов. Отбор проб из-под вакуума может быть осуществлен по методике, изложенной в [20].
13.3.2. Кислород проникает в конденсат на тракте "конденсатор - деаэратор" в результате подвода под уровень конденсата в конденсатосборник различных дренажей с большим содержанием кислорода, а также через неплотности в различных местах конденсатного тракта [22] в:
- фланцевых соединениях конденсатопроводов от конденсатора до конденсатных насосов;
- уплотнениях штоков задвижек;
- концевых уплотнениях конденсатных насосов горизонтального типа или стыков конденсатных насосов вертикального типа;
- линиях дренажа греющего пара ПНД, находящихся под вакуумом;
- концевых уплотнениях сливных насосов ПНД;
- сварных стыках конденсатосборника и других элементов конденсатора, находящихся под уровнем конденсата.
13.3.3. Для поддержания допустимого содержания кислорода в конденсате, деаэрированном в конденсаторе, должны быть осуществлены следующие мероприятия:
- выполнение всех вводов дренажей и других потоков, которые могут иметь значительное содержание кислорода, в паровую часть конденсатора с раздроблением жидкости на струи и капли. При этом должно быть исключено непосредственное попадание капельной влаги при пониженных объемных расходах отработавшего пара на выходные кромки последних ступеней турбины (трубки защищаются от действия жидких струй дефлекторами, а ввод жидких потоков в паровое пространство осуществляется в нижней части конденсатора);
- уплотнение всех фланцевых соединений трубопроводов конденсата, находящихся под вакуумом, прокладками из мягкой резины толщиной 4-6 мм;
- применение на всасывающей линии конденсатных насосов первого подъема и сливных насосов специальной вакуумной арматуры или герметизация уплотнений штоков установленных обычных задвижек (см. рис. 12.2); для задвижек с вертикальным расположением штока допускается установка ванн, охватывающих место уплотнения штока и имеющих постоянный подвод конденсата, обеспечивающий неизменный уровень его в ванне;
- установка на клинкеты задвижек запорного резинового кольца толщиной 10-15 мм, обеспечивающего герметичность входного отверстия штока при полностью открытой задвижке и позволяющего вести пере набивку сальника на работающем оборудовании;
- тщательное наблюдение за состоянием концевых уплотнений конденсатных и сливных насосов горизонтального типа, тщательное уплотнение стыков корпуса конденсатных насосов типа КсВ;
- монтирование байпасов на обратных клапанах насосов для проверки плотности корпуса конденсатных насосов, периодическая опрессовка насосов давлением конденсата при закрытой задвижке на всасывающей линии;
- тщательное обследование всех сварных соединений на участке "конденсатосборник – конденсатный насос", заполнение парового пространства водой и устранение выявленных неплотностей. Отыскание мест неплотностей может быть облегчено применением раствора флуоресцеина (см. п. 11.5.2). Такой же поиск неплотностей может быть произведен в зоне вакуумных ПНД.
14. ПРЕДОТВРАЩЕНИЕ ЗАГРЯЗНЕНИЯ И ПЕРИОДИЧЕСКАЯ ЧИСТКА КОНДЕНСАТОРОВ
14.1. Причины и характер загрязнения конденсаторов
14.1.1. Загрязнения трубок конденсаторов, особенно отложения на их внутренней поверхности, омываемой охлаждающей водой, а также забивание трубных досок и трубок со стороны входа воды более крупными предметами приводят к ухудшению теплотехнических показателей работы конденсаторов - коэффициента теплопередачи, температурного напора и давления отработавшего пара по сравнению с их значениями для соответствующих режимных условий по нормативным (заводским) характеристикам. Вызывается это малой теплопроводностью отложений на стенках трубок и увеличением гидравлического сопротивления конденсатора, приводящим к уменьшению расхода и скорости охлаждающей воды.
Вследствие существенного различия применявшихся для охлаждения конденсаторов вод по составу и количеству содержащихся в них примесей характер и интенсивность загрязнений конденсаторов с водяной стороны сильно зависят от местных условий. При прямоточной системе водоснабжения характер отложений в конденсаторах определяется в основном взвешенными веществами, органическими и минеральными примесями, содержащимися в воде, поступающей из естественного источника (реки, озера, моря), а при оборотной системе - от качества подпиточной воды, поступающей из естественного источника, ее упаривания при испарительном охлаждении, загрязнения ее при контакте с содержащим агрессивные газы и летучую золу воздухом в водоохладителе и др. В самой системе водоснабжения в охлаждающую воду могут попадать продукты коррозии металлов или разрушения других материалов, окалина, грат, а также развившиеся в системе и отмершие водные организмы.
14.1.2. В зависимости от указанных выше местных условий возможны следующие основные типы загрязнений конденсаторов, которые могут встречаться на практике порознь или в различных сочетаниях:
- отложения не растворенных в воде взвешенных веществ (золы, песка, глины, остатков растительных веществ, ила и др.), выпадающих, особенно при пониженных скоростях воды в трубках, в виде шлама;
- органические обрастания, вызываемые содержащимися в вода ответными и растительными микроорганизмами, образующими при их закреплении и развитии на стенках трубок слизистые отложения;
- минеральные обложения, вызываемые выпадением из пересыщенного раствора карбонатов кальция и магния (преимущественно при оборотном водоснабжения, см. п. 14.3.2) и гипса (при морской охлаждающей воде с высоким содержанием сульфатов);
- забивание трубных досок и трубок не удержанными решетками и сетками крупными примесями - водорослями, листьями, щепой и другим мусором, а также ракушками моллюсков, проникших в систему водоснабжения в виде личинок, а затем развившихся в ней и отмерших.
При выборе и применении методов предотвращения загрязнения конденсаторов или методов и периодичности их чистки необходимо учитывать, что как характер, так и интенсивность загрязнений конденсаторов с водяной стороны не являются для данной электростанции неизменными, а подвергаются сезонным изменениям в течение года и могут также заметно изменяться от года к году, вследствие изменений метеорологических, гидрологических и гидрохимических условий, жизнедеятельности водных организмов, расходов и качества сбрасываемых в источник водоснабжения сточных вод и других причин, включая потребление воды электростанцией и режим ее работы. Загрязнение периферийных трубок в трубном пучке конденсатора с паровой стороны, вызываемое содержанием в отработавшем паре солей и продуктов коррозии металла, попаданием в конденсатор с паром мастики, выжимаемой из разъема ЦНД турбины, или другими причинами, как правило, не отражается существенно на его работе.
14.1.3. Из сказанного в п. 14.1.2 следует, что возможность каких-либо однозначных рекомендаций по выбору метода борьбы с загрязнением конденсаторов со стороны охлаждающей воды практически исключена. Этот выбор должен производиться в каждом отдельном случае индивидуально с учетом всех местных условий [23] и технико-экономического сопоставления возможных вариантов. Последние могут предусматривать в случае необходимости сочетания различных методов механической очистки, физической и химической обработки воды и чистки конденсаторов.
При выборе метода борьбы с загрязнением конденсаторов должно учитываться также и, то, что отложения на стенках трубок особенно неравномерно расположенные на их поверхности, приводят к образованию очагов коррозии металла, а содержание в воде абразивных твердых взвесей (например, песка или золы) - к эрозионно-коррозионному износу трубок, т.е. в обоих случаях - к преждевременному выходу трубок из строя.
14.1.4. Должно предусматриваться, как правило, применение профилактических средств, обеспечивающих практически постоянное поддержание чистоты, поверхности охлаждения конденсаторов в условиях длительной их непрерывной эксплуатации в межремонтные периоды. При этом среднее значение вакуума в конденсаторе и соответственно экономичность (при определенных условиях также располагаемая мощность) турбоагрегата выше, чем при периодических чистках конденсаторов. Это наряду с увеличением срока службы трубок позволяет не только оправдать более высокие затраты на профилактические мероприятия, но и получить в результате их осуществления значительный экономический выигрыш.
14.2. Предотвращение загрязнения конденсаторов при прямоточном водоснабжении
14.2.1. Механическая чистка подаваемой для охлаждения конденсаторов воды от твердых веществ (мусора, растительности, крупных водных организмов и др.) с помощью решеток, сеток и фильтров рассмотрена в разд. 8.1.
Содержащиеся в воде и не задерживаемые решетками и сетками взвешенные частицы (см. п. 14.1.2) могут приводить к образованию в трубках шлама. Это наблюдается главным образом при сезонном уменьшении расхода охлаждающей воды в период низких наружных температур, при недостаточной подаче циркуляционных насосов и др. Предотвращение шламообразования в трубках может достигаться путем поддержания в них скорости воды, достаточной для выноса ею содержащихся в воде мелких взвешенных частиц. Обычно рекомендуется, чтобы скорость воды была не ниже 1-1,4 м/с.
Осаждению содержащихся в воде мелких взвесей может способствовать их агломерация. В зарубежной практике иногда дозируются в воду вещества (сульфонаты лигнина, производные полиакриламина), образующие при их диссоциации анионы, адсорбирующиеся на поверхности взвешенных частиц. Приобретающие при этом отрицательный заряд частицы взаимно отталкиваются, что препятствует их агломерации и осаждению.
Некоторые содержащиеся в воде твердые частицы, в особенности песок и летучая зола, обладают абразивными свойствами, что следует учитывать при выборе материала и средств борьбы с коррозией трубок (см. разд. 11.2).
14.2.2. Наряду с другими мелкими взвесями в систему водоснабжения электростанции могут, как это уже указывалось, проникать через сетки в водоприемных устройствах личинки моллюсков, большей частью двустворчатых - дрейсены, мидии и другие, имеющие размеры до 250 мкм. Личинки, поселившиеся на твердых поверхностях в водоприемниках и водоводах, особенно в застойных зонах, где скорость воды мала (примерно до 0,3 м/с), развиваются и растут. Развитие моллюсков наблюдается обычно при температуре воды, превышающей примерно 12 °C. Длина раковин взрослых особей может достигать 30-60 мм.
Отмершие моллюски отваливаются от поверхности, их раковины частью осаждаются в водоприемнике и частью увлекаются водой. При отсутствии на напорных водоводах перед водяными камерами фильтров они попадают в конденсаторы, забивают трубные доски и засоряют трубки.
Одним из средств борьбы с образованием значительных отложений ракушек в водоприемнике и загрязнением конденсаторов ракушками является механическая очистка поверхностей, на которых закрепились личинки, по достижении моллюсками размеров, при которых они еще могут уноситься водой через наименьшие по диаметру трубки в конденсаторах и других теплообменных аппаратах (маслоохладителях и др.), охлаждаемых циркуляционной водой. Для механической очистки поверхностей от моллюсков применяются скребки, щетки, ерши или другие устройства. Но поскольку ручная очистка очень трудоемка, предпочтительно применение механизированных очистных устройств указанных типов (скребковых, щеточных и др.), гидравлических очистных снарядов, химических или физических методов очистки (см. разд. 14.4).
Для уменьшения обрастаний водозаборных сооружений и подводящих водоводов моллюсками рекомендуется устранение в них зон пониженных скоростей воды и нанесение на их поверхности необрастающей токсичной краски.
14.2.3. При химических методах борьбы с загрязнением конденсаторов ракушками вынос моллюсков до превышения ими указанных выше максимально допустимых размеров достигается путем периодической дозировки в воду токсичных веществ - биоцидов, приводящих к их отмиранию. Наиболее часто в качестве биоцидов используются хлор и его соединения - хлорная известь, двуокись хлора, гипохлориты, пентахлорфенолят натрия и др. Иногда применяется также медный купорос, растворимые соединения меди и ртути и другие биоциды или их смеси.
Выбор биоцида, требуемая его доза, периодичность и продолжительность его подачи зависят от вида моллюска и свойств воды, например при хлорировании воды - от ее хлоропоглощаемости, определяющейся содержанием в ней веществ, окисляющихся хлором. При этом должны приниматься во внимание требования охраны поверхностных вод от загрязнений и технико-экономические соображения.
Хлорирование воды производится наиболее часто два раза в сутки в течение 45 мин каждый раз. Согласно § 22.17 ПТЭ, остаточное содержание активного хлора в воде на выходе из конденсатора должно быть в пределах 0,3-0,5 мг/кг, причем одновременно должна подвергаться хлорированию охлаждающая вода, поступающая в конденсаторы не более чем двух турбин, а иногда лишь в один или даже половину конденсатора. Однако в зависимости от местных условий требуемые периодичность, продолжительность и дозировка хлора, определяемые опытным путем, могут существенно различаться.
При необходимости уничтожения более взрослых форм моллюсков ранее практиковалось длительное (в течение 6-7 сут) воздействие на них "перехлорированной" воды с дозой активного хлора 2-10 мг/л через большие интервалы времени - 40-60 сут. Такие дозы хлора и большая продолжительность хлорирования большей частью недопустимы, однако, с экологической точки зрения.
14.2.4. Умерщвление и удаление из водоподводящего тракта моллюсков, достигших размеров, допускающих еще вынос их циркуляционной водой через трубки конденсаторов и других аппаратов, могут осуществляться также термическим методом, при котором через водоподводящий тракт должна сбрасываться обратным током вода температурой 40-45 °C, летальной для моллюсков. При блочной схеме водоснабжения мощных турбоагрегатов применение этого метода может быть реализовано лишь путем отключения одного из двух вертикальных циркуляционных насосов, подающих воду в двухпоточный конденсатор, с тем, чтобы за счет сифона в циркуляционных водоводах образовался обратный ток воды через соответствующую половину конденсатора и отключенный насос. При ухудшении в допустимых пределах вакуума в конденсаторе вода, поступающая в подводящий тракт, может быть догрета до необходимой температуры. Применение такого метода чистки от моллюсков требует расчета режима вращения осевого циркуляционного насоса при обратном токе воды, имеющей повышенную температуру, и времени выбега ротора.
14.2.5. С водой могут также поступать в систему, поселяться и развиваться в ней водные микроорганизмы - зоопланктон (бактерии) и фитопланктон (микроводоросли).
В трубках конденсаторов поселяются и быстро размножаются при благоприятных для их жизнедеятельности температурах воды (15-40 °C), образуя на их стенках слизистые отложения, преимущественно зооглейные и нитчатые бактерии (при большом содержании в воде серы и железа также серо- и железобактерии). Микроводоросли, содержащие хлорофилл и требующие для своего развития освещения, в конденсаторах не развиваются. Биологические обрастания трубок, могут включать в себя инфузории и другие простейшие организмы (червей, микрогрибки и др.). Для борьбы с биологическими обрастаниями конденсаторов, вызываемыми развитием микроорганизмов, применяется, как правило, хлорирование циркуляционной воды. Хлорирование воды производится периодически - продолжительностью примерно по 1 ч через каждые 6-12 ч. Доза активного хлора зависит от свойств воды и составляет примерно до 5-7 мг/л. Для конкретной воды она устанавливается при отсутствии промышленного опыта путем лабораторного исследования, исходя из обеспечения по истечении времени, требуемого для прохождения воды от места введения в нее хлора до наиболее удаленного конденсатора, остаточного содержания свободного хлора в пределах 0,3-0,5 мг/кг.
Доза хлора и контроль за его остаточным содержанием в сбросной воде должны удовлетворять требованиям охраны поверхностных вод от загрязнений.
14.2.6. Эффективным средством предотвращения образования в трубках конденсаторов слизистых органических отложений, не вызывающим вредных экологических последствий, является осуществление циркуляции через трубки эластичных шариков из губчатой резины. Резиновые шарики, имеющие диаметр, превосходящий на 1-2 мм внутренний диаметр трубок, подаются специальным насосом в напорный циркуляционный водовод и, попадая вместе с охлаждающей водой в напорную водяную камеру конденсатора, продавливаются через трубки под действием разности давлений на входе и выходе из них, благодаря чему предотвращается закрепление микроорганизмов на стенках трубок. Шарики, прошедшие через трубки, улавливаются установленными в сливном водоводе сетками и вновь возвращаются в насос для подачи в напорный водовод.
Количество подаваемых резиновых шариков определяется из расчета очистки каждой трубки в период осуществления их циркуляции примерно через 5 мин. Периодичность и продолжительность циркуляции шариков зависят от характера и степени загрязненности воды. При агрессивной воде, например морской, интервалы между включениями установки для шариковой очистки трубок должны быть более продолжительными во избежание повреждения защитной оксидной пленки на поверхности металла.
Этот метод, получивший широкое распространение за рубежом, проходит в СССР опытно-промышленную проверку, по окончании которой смогут быть даны более конкретные рекомендации по его применению.
14.3. Предотвращение загрязнения конденсаторов при оборотном водоснабжении
14.3.1. При оборотных системах возникает задача борьбы с обрастанием (цветением) открытых и освещаемых охладителей циркуляционной воды в результате развития растительных организмов-водорослей и фитопланктона, а при водохранилищах-охладителях - также высшей водной растительности тростника, камыша, осоки и др.).
Зарастание и цветение водоохладителей не только отражается на их работе, но может ухудшить и работу конденсаторов в результате забивания отмершей растительностью водоочистных сеток и фильтров, что должно учитываться при проектировании и эксплуатации систем водоснабжения.
14.3.2. При оборотных системах водоснабжения с испарительным охлаждением воды, особенно в градирнях или брызгальных устройствах (бассейнах, каналах), основной причиной загрязнения конденсаторов является обычно образование твердых минеральных отложений (накипи) на стенках трубок. Оно связано с тем, что рост солесодержания циркуляционной воды по сравнению с солесодержанием исходной подпиточной воды в результате ее упаривания и потери водой в охладительном устройстве значительной части содержащейся в ней свободной двуокиси углерода приводят к распаду растворенных в воде бикарбонатов кальция и магния, переходящих при этом в плохо растворимые карбонаты, выпадающие в форме твердых кристаллов из пересыщенного, раствора.
14.3.3. Для каждой воды существует зависящая от ее состава и температуры предельная карбонатная жесткость, при превышении которой карбонатные соли выпадают из раствора. Значения предельной карбонатной жесткости тем меньше, чем больше общее солесодержание воды. Поэтому при одном и том же значении карбонатной жесткости и той же температуре вода может не обладать склонностью к накипеобразованию в случае низкого общего солесодержания и обладать этой склонностью при высоком ее общем солесодержании. Значения предельной карбонатной жесткости воды данного состава определяются экспериментальным путем.
Предварительная оценка склонности воды к накипеобразованию может производиться по значению "индекса стабильности" Ризнара
IR
= 2pHs
– pH, (14.1)
где pHs
- число рН, соответствующее равновесному состоянию (насыщению) раствора углекислых соединений;
рН - действительное значение рН для данной воды.
Число pHs
определяется функциями температуры воды f
1
(t
), содержания в ней кальция f
2
(Са++
), общей щелочности f
3
(Щ
o
) и общего солесодержания f
4
(p
) и подсчитывается по формуле
pHs
= f
1
(t
) - f
2
(Са++
) - f
3
(Щ
o
) + f
4
(p
) + 8,05. (14.2)
Значения функций f
1
, f
2
, f
3
, f
4
могут быть найдены на рис. 14.1.
При IR
= 7 вода нейтральная (равновесное состояние), при IR
< 7 - коррозионно-активная (кислая) и при IR
>
7 - склонная к образованию накипи (щелочная).
Следует, однако, иметь в виду, что IR
не является универсальным показателем, пригодным для любых вод, так как не отражает влияния всех примесей, которые могут содержаться в воде, на стабильность раствора бикарбонатов. Необходимо также учитывать, что состав подпиточной и циркуляционной воды не постоянен, а подвержен сезонным колебаниям.
При выборе методов борьбы с накипеобразованием, особенно при водах, существенно отличающихся по содержанию в них тех или иных примесей от состава достаточно хорошо изученных на практике вод, целесообразно проведение лабораторных исследований при условиях, приближающихся к натурным, в частности при наличии теплообмена и определенной его интенсивности, соответствующих значениях температуры воды и стенки труб и скорости воды.

Рис. 14.1. Номограмма для определения рН равновесного насыщения воды карбонатом кальция
14.3.4. Для предотвращения накипеобразования применяются следующие основные методы и их сочетания:
- продувка оборотной системы, ограничивающая степень упаривания в ней воды, а соответственно и максимальную карбонатную жесткость циркуляционной воды при данном составе подпиточной воды;
- понижение жесткости подпиточной воды и ограничение рН циркуляционной воды путем дозирования серной или соляной кислоты, при взаимодействии с которыми часть карбонатных солей переводится в хорошо растворимые сульфаты или хлориды и освобождается часть связанной двуокиси углерода, реже путем известкования и катионирования воды;
- стабилизация пересыщенного раствора карбонатных солей (повышение предельной карбонатной жесткости воды, при которой выпадающие из раствора карбонатные соли образуют накипь) путем дозирования поверхностно-активных веществ (фосфатов, акрилатов или др.), которые при незначительных их концентрациях, адсорбируясь на зародышах кристаллов, препятствуют их росту, агломерации и отложению на стенках трубок;
- обогащение воды, прошедшей через водоохладители (градирни, брызгальные установки), двуокисью углерода;
- осуществление циркуляции через трубки конденсатора шариков из эластичной губчатой резины (см. п. 14.2.6), удаляющих осаждающиеся на стенках, трубок кристаллы карбонатных солей (для очистки трубок от имеющейся на них накипи используются резиновые шарики с корундовым пояском).
Предложены кроме шариковой очистки, другие методы безреагентной борьбы с накипеобразованием (магнитная обработка воды, воздействие ультразвуком и др.), но они не апробированы, и вопрос об их эффективности остается пока на стадии изучения.
14.3.5. Продувка оборотных систем водоснабжения с градирнями и брызгальными установками происходит частично в результате уноса капельной влаги из водоохладителя потоком воздуха, но в основном она осуществляется путем слива из системы части циркуляционной воды с повышенной карбонатной жесткостью Ж
ц
и замены еe свежей подпиточной водой с меньшей жесткостью Ж
д
.
Значение Ж
ц
при отсутствии продувки составляет
Ж
ц
= Ж
j, (14.3)
где j - степень упаривания воды в системе.
При предельной карбонатной жесткости (мг-экв/л) циркуляционной воды размер непрерывной продувки (слива воды из системы) определяется из уравнения
, (14.4)
где р
1
, р
2
, р
3
- потери воды соответственно на испарение, унос и продувку, в доли единицы или %.
Значение
следует определять по экспериментальным данным, подученным при близких к рассматриваемым условиям на действующих установках, а при отсутствии таких данных - на экспериментальном контуре с оборотным охлаждением воды. Иногда применяется упрощенный метод определения
, заключающийся в определении карбонатной жесткости исследуемой воды после встряхивания ее с CaCO3
или пропускания через фильтр с мраморной крошкой и достижения насыщения раствора CaCO3
.
Если жесткость подпиточной воды Ж
д
относительно велика и поддержание карбонатной жесткости циркуляционной воды на допустимом уровне требует слишком большой продувки, последняя может быть уменьшена путем обработки воды, приводящей к понижению Жц
(см. п. 14.3.7) или увеличению
(см. п. 14.3.8).
14.3.6. При водохранилищах-охладителях непрерывная продувка в указанной выше форме не осуществляется, хотя в проточных водохранилищах, созданных запруживанием рек, происходит некоторый водообмен. Основным средством борьбы с накипеобразованием при охлаждении воды в таких водохранилищах, а также в непроточных водохранилищах (в том числе наливных), подпитываемое водой из рек, является смена в них воды в период весенних паводков, когда часть минерализованной воды сбрасывается перед половодьем из водохранилища и заменяется паводковыми водами, имеющими малое солесодержание. Это позволяет при благоприятных условиях избежать образования накипи в конденсаторах на протяжении всего года. При определении количества заменяемой воды необходимо исходить из прогноза сезонного изменения минерализации воды в водохранилище и предельной карбонатной жесткости циркуляционной воды.
Объем сбрасываемой минерализованной воды не должен превосходить обеспеченный объем воды, который может быть восполнен за счет притока паводковых вод и подан из внешнего источника для заполнения водохранилища до НПУ. Уровень воды в водохранилище не должен опускаться в период сброса минерализованной воды ниже минимальной отметки, обеспечивающей возможность работы циркуляционных насосов.
14.3.7. Для понижения карбонатной жесткости щелочной воды ее нейтрализации ("подкисления") - применяется обычно серная кислота, что по экономическим и эксплуатационным соображениям предпочтительнее применения соляной кислоты.
В сравнительно редких случаях, например при работе системы на морской воде, обработка ее серной кислотой может повлечь за собой увеличение концентрации в воде сульфата кальция до значений, при которых возможно выпадение из раствора гипса. Образование гипсовой накипи может быть предотвращено путем соответствующей продувки системы и полностью исключено при нейтрализации воды соляной кислотой. Для предохранения бетонных и железобетонных элементов системы (градирен, бассейнов) от разрушения сульфатом кальция может оказаться необходимым поддержание концентрации последнего в воде на уровне, более низком, чем тот, при котором начинается выпадение гипса.
Нейтрализация воды кислотой применяется в системах с градирнями и брызгальными, бассейнами, причем предварительно подготовленный раствор кислоты может подаваться или в подпиточную, что предпочтительно, или в циркуляционную воду. В обоих случаях требуемая доза кислоты определяется начальной жесткостью Ж
д
и заданной остаточной карбонатной жесткостью Ж
о
подпиточной воды. Эта доза (г/м3
), определяется по формуле:
, (14.5)
где g
э
- удельный расход 100%-ной кислоты (г/м3
воды), необходимый для понижения карбонатной жесткости воды на 1 мг-экв/л;
K
- относительное содержание кислоты в техническом продукте.
Для серной кислоты g
э
= 49,0, для соляной - 36,4 г/м3
.
Содержание H2
SO4
в купоросном масле 0,925, в башенной кислоте 0,75.
Значение Ж
о
принимается не менее 1,5 мг-экв/л при использовании подземных вод и 2-2,5 мг-экв/л при использовании поверхностных вод. Эти значения Ж
о
предохраняют систему от попадания в нее свободной кислоты, вызывающей коррозию насосов и других металлических элементов системы.
14.3.8. Метод стабилизации карбонатной жесткости воды на более высоком уровне также используется в оборотных системах с градирнями и брызгальными бассейнами. Для этой цели применяются неорганические полифосфаты - гексаметафосфат и триполифосфат натрия, тринатрийфосфат и др. Требуемая дозировка фосфата зависит от солевого состава и температуры воды, причем существует предел перенасыщения раствора карбонатных солей, при превышении которого увеличение дозы фосфата не препятствует отложению накипи, которая, однако, оказывается при этом более рыхлой и легче удаляемой, чем при отсутствии фосфатирования.
При карбонатной жесткости подпиточной воды до 3 мг-экв/л, ее постоянной жесткости до 2 мг-экв/л и поддержании в циркуляционной воде концентрации 1,5-2,0 мг Р2
О5
/л безнакипный режим обеспечивается при карбонатной жесткости циркуляционной воды до Ж
ц
= 4¸4,5 мг-экв/л. В случае необходимости поддержание Ж
ц
на указанном уровне может обеспечиваться продувкой системы. Степень упаривания воды в системе должна быть не более 1,6.
Поскольку присутствие в воде фосфатов благоприятствует развитию биологических обрастаний конденсаторов и цветению воды в охлаждающих устройствах, фосфатирование воды, как правило, нецелесообразно сочетать с ее хлорированием.
В последнее время в СССР и за рубежом установлено, что более эффективными реагентами для стабилизации карбонатной жесткости воды являются фосфороорганические соединения и поликрилаты. Опыт применения на ТЭЦ с градирнями оксидоэтиладендифосфоновой кислоты (ОЭДФ) привел при поддержании в циркуляционной воде концентрации ОЭДФ 0,7-1,0 мг/л к повышению стабильной жесткости воды Ж
ц
до 5-6,5 мг-экв/л против 4,5 мг-экв/л при применении фосфатов и позволил уменьшить продувку системы примерно в 3 раза. Кислота ОЭДФ малотоксична и по действующим временным нормам в воде, используемой для хозяйственно-бытовых и питьевых целей, допускается концентрация ее до 2 мг/л.
Требуемая при фосфатировании доза реагента определяется для различных вод опытным путем. Количество вводимого реагента с учетом убыли его в связи с образованием труднорастворимых соединений (например, ортофосфата кальция при применении неорганических полифосфатов) может быть ориентировочно определено по формуле (мг/л)
, (14.6)
где С -
заданная концентрация Р2
О5
или другого реагента в циркуляционной воде, мг/л;
А -
размерная постоянная, составляющая 0,2-0,4 при градирне и 0,04-0,08 л/(мг×ч) при брызгальном бассейне;
U
- вместимость системы охлаждения, м3
;
G
g
= W
(P
1
+ Р
2
+ Р
3
) - расход подпиточной воды (W
– расход циркуляционной воды), м3
/ч;
K
- относительное содержание реагента в техническом продукте.
Значение K
(содержание Р2
О5
) составляет для гексаметафосфата натрия 0,50-0,52, тринатрийфосфата 0,17-0,18, суперфосфата 0,16-0,18.
14.3.8. При подпиточной воде, имеющей карбонатную жесткость, близкую к предельной карбонатной жесткости охлаждающей воды при фосфатировании, и высокую некарбонатную жесткость, фосфатирование может оказаться недостаточным для предотвращения образования накипи в конденсаторе. В таких случаях может оказаться целесообразным сочетание фосфатирования с предварительным подкислением добавочной воды. Это позволяет сократить расход серной кислоты на подкисление и ограничить размер продувки системы примерно до 1-1,5% расхода циркуляционной воды.
14.3.9. Рекарбонизация циркуляционной воды с использованием уходящих из паровых котлов дымовых газов для насыщения воды содержащейся в газах двуокисью углерода устраняет потребность в получении со стороны реагентов для химической обработки воды, что особенно существенно для оборотных систем водоснабжения с водохранилищами-охладителями. Она требует, однако, сооружения и эксплуатации ряда устройств для подачи и очистки значительного количества дымовых газов, содержащих золу и агрессивные примеси.
Очистка отбираемых из газохода котла за дымососом газов от золы может осуществляться в циклоне, электрофильтре или абсорбере, подача очищенных газов для обработки добавочной или циркуляционной воды - вентилятором или водоструйным эжектором [23]. Вследствие возникших при эксплуатации установок для рекарбонизации воды трудностей поддержания требуемого режима обработки воды при колебаниях состава как газов, так и воды уточной дозировки газов, предотвращения коррозии оборудования при передозировке двуокиси углерода и др.) этот метод обработки охлаждающей воды не получил распространения на электростанциях.
14.4. Периодическая чистка трубок конденсаторов от отложений
14.4.1. Для поддержания чистоты поверхности охлаждения конденсаторов в условиях эксплуатации должны, как правило, применяться рассмотренные выше профилактические меры, предотвращающие образование отложений в трубках. В тех случаях, когда на электростанции отсутствуют необходимые для этого устройства, приходится прибегать к периодической чистке конденсаторов. При этом постепенное ухудшение вакуума в течение периода между очередными чистками вызывает снижение экономичности турбоустановки. Чистки требуют останова или разгружения турбоагрегата, а механическая чистка - также и больших трудозатрат.
Согласно §18.15 ПТЭ, чистка конденсатора должна производиться при ухудшении вакуума по сравнению с его значением по нормативной характеристике на 0,5% (абс.), чему соответствует понижение давления пара в конденсаторе по сравнению с нормативным примерно на 0,5 кПа (0,005 кгс/см2
).
В зависимости от характера образующихся на внутренней поверхности трубок отложений применяются химический, термический и механический способы их периодической чистки.
14.4.2. При отложениях на стенках трубок накипи, состоящей в основном из карбоната кальция, довольно прочно связанного со стенкой, применяется химический способ чистки, заключающийся в промывке конденсатора кислотой, растворяющей накипь. Поскольку кислотная промывка сопровождается выделением газообразной двуокиси углерода, для обеспечения равномерного растворения отложений должны приниматься меры для предотвращения при промывке пенообразования.
При химической чистке должно быть также исключено коррозионное воздействие применяемого реагента на металл трубки. В настоящее время для чистки конденсаторов турбин рекомендуется применять следующие моющие вещества:
1. Водный конденсат низкомолекулярных кислот (ВК НМК), представляющий собой 25-35%-ную смесь муравьиной, уксусной, пропионовой, валериановой, масляной и капроновой кислот; промывка производится 5-7%-ным раствором ВК НМК с ингибитором коррозии И-1-Е или И-2-В в количестве 0,2-0,5%.
2. Техническая соляная 2-5%-ная кислота с ингибитором В-2 или ПБ-5 с добавкой для пеногашения ВК НМК из расчета 0,35 кг (100%-ного) на 1 кг накипи.
В случае применения технической соляной кислоты с ингибитором ПБ-5 или В-2, но без добавки для пеногашения ВК НМК в моющий раствор постоянно поддерживается концентрация кислоты не более 2%.
14.4.3. Количество реагентов (кг), необходимое для химической чистки конденсатора, рассчитывается по количеству накипи, отложившейся в трубках, которое определяется как
, (14.7)
где dн
- средняя толщина отложений, мм;
F
о
-
внутренняя поверхность конденсаторных трубок, покрытая отложениями, м2
;
r-
плотность отложений, кг/м3
(средняя плотность карбонатных отложений может быть принята 2000 кг/м3
).
Толщина слоя накипи определяется прямым измерением предварительно вынутых из конденсатора образцов трубок или при осмотре трубок в разных зонах трубного пучка. Количество ВК НМК (кг), необходимое для химической чистки конденсатора, определяется по формуле
, (14.8)
где 1,8 - количество 100%-ного ВК НМК, необходимое для растворения 1 кг карбонатной накипи, кг;
Свк
- концентрация технического ВК НМК, используемого для химической чистки, % (обычно поставляется 25-35%-ный ВК НМК).
Количество соляной кислоты (кг), необходимое для чистки конденсатора при содержании добавки ВК НМК для пеногашения
, (14.9)
где A
1
- количество накипи, растворяемое содержащимся в промывочном растворе ВК НМК, кг;
0,73 - количество 100%-ной соляной кислоты, необходимое для растворения 1 кг карбонатной накипи, кг;
С
HCl
- концентрация технической соляной кислоты, используемой для химической чистки, % (обычно поставляется 20-25%-ная соляная кислота).
При применении соляной кислоты без добавки ВК НМК в формуле (14.9) принимается А
1
= 0.
14.4.4. Для проведения химической чистки трубок конденсаторов создается специальная схема (рис. 14.2).
Она включает в себя насос, промежуточный бак, систему трубопроводов и арматуры, смонтированные на общей раме. Установка переносная, при необходимости транспортируется мостовым краном к намеченному для химической чистки конденсатору и системой штатных трубопроводов соединяется с конденсатором и с трубопроводами сброса растворов после чистки, подачи технической воды и реагентов.
Промывочный раствор циркулирует по замкнутому контуру "промежуточный бак 2
- насос 3
- первый и второй ходы конденсатора 1
- промежуточный бак". Подводящий и отводящий водоводы отглушаются специально встроенными шиберными выемными заслонками 1
, рис. 14.3).
Промывочные растворы после окончания чистки конденсатора сбрасываются в специальную емкость для последующей чистки или сжигания в топке энергетического котла. На каждом конденсаторе должны быть врезаны специальные штуцера для присоединения трубопроводов подачи и отвода промывочного раствора, ввода кислых и щелочных растворов в процессе чистки. В период нормальной эксплуатации конденсатора на штуцера устанавливаются заглушки.

Рис. 14.2. Установка для химической чистки трубок конденсаторов:
1
– конденсатор; 2
- промежуточный бак (вместимостью 20 м3
); 3
- насос; 4
- пробоотборник; 5
- заглушка; 6
- линия рециркуляции кислотного раствора; 7
- линия отвода газов; 8
- линия подачи кислоты и щелочи; 9
- линия рециркуляции промывочного раствора; 10
- линия сброса промывочного раствора; 11
- линия подачи технической воды; 12
– линия аварийного опорожнения бака

Рис. 14.3. Шиберная выемная заслонка:
1
- заслонка; 2
- корпус заслонки; 3
- прижимная шпилька; 4
- крышка заслонки; 5
- колпачковая гайка; 6
- ребро жесткости; 7
и 8
- паронитовые прокладки; 9
- резиновая прокладка; 10
- отключенный циркуляционный водовод; 11
- циркуляционный водовод к камере конденсатора
Подача кислоты или щелочи осуществляется либо в промежуточный бак, либо в водяную камеру конденсатора между первым и вторым ходом воды через специальный распределительный коллектор. Диаметры трубопроводов установки для очистки выбираются по условиям обеспечения заполнения водяного пространства конденсатора водой и опорожнения его от пробивочного раствора в течение 15-30 мин. Вместимость промежуточного бака зависит от мощности турбоустановки (размеров конденсатора) и должна бить для турбины мощностью 25 МВт не менее 10 м3
, 50-100 МВт - 15-17, 150-200 МВт -20-22, 300-800 МВт - 30-50 м3
. Подача насоса выбирается исходя из скорости движения раствора, в конденсаторных трубках примерно 0,1 м/с. Рекомендуются насосы 6 ВДВ, 8 ВДВ, 12 ВДВ с подачей 500-1200 м3
/ч.
При поочередной химической чистке одного из двух конденсаторов турбины или одной половины конденсатора на работающей турбине все присоединения к другому работающему конденсатору долены быть отделены заглушками.
Чистка осуществляется согласно составленной на электростанции специальной инструкции.
Продолжительность операции по чистке, например, одного конденсатора турбины K-200-130 составляет около 20 ч.
14.4.5. Для чистки трубок конденсатора от органических и илистых отложений эффективны, наименее трудоемки и требуют относительно малой затраты времени термические методы, основанные на высушивании отложений в трубках. Высушенные отложения растрескиваются, отслаиваются от стенок трубки и после подачи циркуляционной воды в трубки смываются потоком воды. Для сушки отложений применяются два способа: сушка воздухом и вакуумная сушка.
14.4.6. При сушке органических и илистых отложений турбоагрегат разгружается. Для сушки отключается одна половина конденсатора по циркуляционной воде, водяные камеры и трубные доски отключенной половины конденсатора очищаются от мусора. Нагрузка турбоагрегата поддерживается при этом на уровне, при котором температура в паровом пространстве конденсатора составляет до 50 °C (р
2
» 12 кПа, или 0,012 кгс/см2
). Через прорезиненные рукава, присоединенные к люкам со стороны входа воды в отключенную половину конденсатора, воздух, подогретый в калорифере примерно до 50 °C, прогоняется через трубки (рис. 14.4).
Продолжительность сушки определяется характером и толщиной слоя отложений, а также температурой воздуха, подаваемого в конденсатор, и составляет от 3 до 8 ч.
Возможна чистка конденсаторов и без подогрева воздуха, но продолжительность высушивания отложений оказывается при этом существенно большей.

Рис. 14.4. Установка для сушки отложений в трубках конденсатора с подогревом воздуха:
а -
подогрев воздуха в электрокалорифере после вентилятора; б -
подогрев воздуха в паровом калорифере на входе в вентилятор; 1
- конденсатор; 2
- вентилятор; 3
- калорифер; 4
- гибкий рукав
Подлежащими контролю параметрами процесса сушки является температура отработавшего пара, которая не должна превышать допустимую по ТУ завода-изготовителя, и температура подогреваемого в калорифере воздуха не должна превышать 50 °C.
Для подачи подогретого воздуха при термической сушке конденсаторов турбин K-200-130 может быть применен вентилятор СВМ-5М (подача до 12000 м3
/ч), турбины К-300-240 два вентилятора ВА-8 (по 10000 м3
/ч) и паровой калорифер АПВ-280-190.
14.4.7. Высушивание органических и илистых отложений может быть ускорено путем создания разрежения в водяном пространстве отключенной половины конденсатора с тем, чтобы температура насыщения при давлении в паровом пространстве была бы выше температуры насыщения при давлении внутри конденсаторных трубок. Такой метод вакуумной сушки отложений находится еще на стадии промышленного опробования.
На рис. 14.5 схематически показана установка для вакуумной сушки. Вакуумная плотность конденсатора с водяной стороны достигается установкой на время очистки специальных шиберных заглушек на подводящем и отводящем водоводах охлаждающей воды, аналогичных применяющимся при химической чистке конденсаторов. Фланцы изготавливаются из листовой стали толщиной 12 мм и ввариваются в водоводы. Для создания и поддержания в водяном пространстве отключенной для чистки половины конденсатора необходимого вакуума используются основные и пусковые эжекторы; для конденсации пара, образующегося при выпаривании влаги из слоя отложений на трубках, в вертикальном участке сливной трубы конденсатора устанавливается смешивающий конденсатор, охлаждаемый водой, отбираемой после фильтров маслоохладителей.
Откачка охлаждающей воды и конденсата, скапливающихся в напорном и сливном водоводах, производится водоструйным насосом, рабочей водой которого является охлаждающая вода газоохладителей.
В связи с тем, что при проведении вакуумной сушки в водяных камерах и в сливных и напорных водоводах конденсатора создается глубокий вакуум - абсолютное давление до 9,8 кПа (0,1 кгс/см2
), эти элементы конденсатора, не рассчитанные на восприятие внешнего давления, должны быть подвергнуты проверке на прочность, при необходимости должны быть произведены работы по их упрочнению.
Чистка двух половин конденсатора турбины K-160-130 ПОАТ ХТЗ потребовала около 14 ч.
14.4.8. Механическая чистка трубок конденсаторов относится к способам наиболее трудоемким, требующим затраты ручного труда и значительного времени. Она, как правило, применяется только при проведении капитальных ремонтов турбин или для окончательной очистки трубок от накипи после проведения химической чистки, если обнаружится, что трубки недостаточно очищены кислотной промывкой.
Механическая чистка конденсаторов производится щетинными ершами, укрепленными на длинных шомполах и приводимых в действие вручную, а также резиновыми цилиндриками или поршеньками, проталкиваемыми через трубку шомполами, водой или воздухом под давлением с помощью пистолетов различной конструкции или других устройств.

Рис. 14.5. Установка для вакуумной сушки:
1
- конденсатор; 2
- подводящий водовод; 3
- сливной водовод; 4
- шиберная заглушка; 5
- сопловая камера (смешивающий конденсатор); 6
- водоструйный насос; 7
- к основному эжектору; 8
- охлаждающая вода; 9
- из напорного коллектора насосов газоохладителей; 10
- перемычка диаметром 100 мм
Гидравлический пистолет, в котором используется вода давлением 1-1,2 МПа (10-12 кгс/см2
), служит для проталкивания ершей и работает следующим образом. В 200-300 трубок конденсатора вставляются стальные ерши с резиновыми шайбами, которые прогоняются через трубки поступающей из пистолета водой. При чистке трубок открываются только люки, а крышка водяной камеры служит упором для пистолета, на конце которого имеется маленький гидравлический домкрат. Вода, проникающая через неплотности резиновых шайб на ерше и через ерш, смачивает отложения на стенке трубки; ерш взрыхляет отложения, смешивая их с водой; резиновые шайбы снимают отложения со стенок трубки и вместе с водой выносят их из трубки в заднюю водяную камеру конденсатора.
14.4.9. Для чистки трубок конденсатора от твердых накипных отложений начинает находить применение метод разрушения отложений с помощью струй воды, вытекающих с большой скоростью из сопл, к которым подводится вода под высоким давлением. Установка состоит из насосного агрегата с подачей до 18 м3
/ч, создающего давление 29-39 МПа (около 300-400 кгс/см2
), глубокого высокопрочного шланга и аппарата для очистки: полого штока со сменной сопловой головкой. Сопловая головка в зависимости от подлежащего очистке объекта может быть вращающейся под действием реактивных сил струи воды, может также создавать при соответствующем расположении сопл усилие для поступательного движения головки по длине очищаемой трубки. Струя воды разрушает накипные отложения, не повреждая металла трубки, и выносит их из трубки.
15. ОПТИМАЛЬНЫЙ РЕЖИМ ЭКСПЛУАТАЦИИ КОНДЕНСАЦИОННОЙ УСТАНОВКИ
15.1. Оптимальный расход охлаждающей воды
15.1.1. При прямоточном водоснабжении эксплуатационный персонал электростанции может влиять на вакуум только путем изменения расхода охлаждающей воды, что позволяет при известных условиях достигнуть повышения экономичности турбоустановки за счет уменьшения затраты мощности на привод циркуляционных насосов.
Подача воды насосами ОПВ может быть изменена в диапазоне 20-30% (от 100 до 80-70%) поворотом лопастей рабочего колеса. Регулируемый диапазон изменения подачи может быть существенно расширен применением для привода циркуляционных насосов двухскоростных электродвигателей (например, с частотой вращения 365 и 485 об/мин). Как известно, регулирование дросселированием неэкономично, так как практически не приводит к уменьшению затраты электроэнергии на перекачку циркуляционной воды. Этот способ, на электростанциях не применяется.
15.1.2. Увеличение расхода охлаждающей воды через конденсатор всегда приводит к углублению вакуума и при исходном вакууме ниже предельного для данной турбины - к соответствующему увеличению развиваемой турбоустановкой мощности и, следовательно, к повышению ее экономичности брутто. Поскольку, однако, увеличение расхода охлаждающей воды требует дополнительной затраты мощности на привод циркуляционных насосов, экономическая целесообразность увеличения расхода охлаждающей воды зависит от изменения мощности турбоустановки нетто, т.е. от соотношения между приростом мощности турбоагрегата в результате углубления вакуума и дополнительной затратой мощности на циркуляционные насосы. Увеличение расхода воды целесообразно только в том случае, если прирост мощности турбины больше увеличения затраты мощности на привод циркуляционных насосов. Расход охлаждающей воды, отвечающий наибольшему выигрышу мощности, является оптимальным для заданных значений паровой нагрузки конденсатора (электрической нагрузки турбоагрегата) и температуры охлаждающей воды.
15.2. Графики оптимальных расходов охлаждающей воды
15.2.1. Построение режимных графиков работы циркуляционных насосов производится расчетным путем. При расчетах используются следующие нормативные или полученные из испытаний при реальных условиях данной электростанции характеристики:
- типовая энергетическая характеристика турбоагрегата, включающая сетку поправок к мощности на изменение давления в конденсаторе; могут также использоваться данные проведенных тепловых испытаний турбоагрегата на данной электростанции;
- типовая нормативная энергетическая характеристика конденсационной установки [2, 5-7];
- характеристика циркуляционных насосов (давление и потребляемая мощность в зависимости от подачи для разных значений угла поворота лопастей, для разной частоты вращения двухскоростного электродвигателя); используются характеристики, полученные при испытании насосов [9], или модельные, приведенные в каталогах насосного оборудования [12, 13];
- гидравлическая характеристика тракта, циркуляционной воды от аванкамеры до переливного порога сифонного колодца (определяется согласно [9]).
15.2.2. Влияние на значение оптимального расхода охлаждающей воды ее температуры и электрической нагрузки энергоблока иллюстрирует график (рис. 15.1), построенный для энергоблока 300 МВт с включенными по блочной схеме насосами ОПВ-5-110, приводимыми двухскоростными электродвигателями (365/485 об/мин). На этом графике представлена зависимость изменения мощности энергоблока нетто DN
бл
(разности прироста развиваемой турбиной мощности и дополнительной затраты мощности на привод циркуляционных насосов) от расхода охлаждающей воды при разных ее температурах и нагрузках энергоблока 300 и 160 МВт. При расчетах значений DN
бл
в качестве исходного принимался расход охлаждающей воды 23000 м3
/ч.
График (см. рис. 15.1) показывает, что при номинальной нагрузке энергоблока и высокой температуре охлаждающей воды экономически оправданным является максимально обеспечиваемый установленными циркуляционными насосами расход охлаждающей воды; при нагрузке 160 МВт (около 60% номинальной) оптимальный расход охлаждающей воды меньше. С уменьшением температуры охлаждающей воды значения оптимального расхода воды также уменьшаются..
Значительное влияние на изменение мощности энергоблока нет-то в результате изменения расхода охлаждающей воды оказывает характер кривых изменения мощности турбины в зависимости от вакуума (см. рис. 4.1). В зоне очень малых давлений в конденсаторе (глубокого вакуума, близкого к предельному) прирост мощности турбины при понижении давления в конденсаторе резко уменьшается(нижний изгиб кривой), при этих условиях возрастает роль изменения мощности, затрачиваемой на циркуляционные насосы.
15.2.3. По результатам определения оптимальных расходов охлаждающей воды при различных условиях строитоя график оптимальных значений подачи циркуляционных насосов, представленный на рис. 15.2,

Рис. 15.1. Приращение мощности (нетто) турбоагрегата 300 МВт в зависимости от температуры и расхода охлаждающей воды:
- при нагрузке 300 МВт;
- при нагрузке 160 МВт

Рис. 15.2. Оптимальные расходы охлаждающей воды в конденсаторы турбины 300 МВт в зависимости от нагрузки турбоагрегата и температуры воды:
1
- максимально возможная подача циркуляционных насосов
Максимальная подача циркуляционных насосов при заданной гидравлической характеристике системы водоснабжения определяется установленным ТУ наибольшим углом поворота рабочих лопастей насоса или в случае ограничения по электрической части насосного агрегата допустимой нагрузкой электродвигателей. Из графика (см. рис. 15.2) видно, что в рассматриваемом случае при номинальной нагрузке энергоблока максимальная подача насосов (максимальный расход охлаждающей воды) экономически оправдана в диапазоне температур охлаждающей воды от 11 °C и выше. При температурах ниже 11 °C целесообразно снижение расхода воды примерно до 75% максимального значения. При нагрузке энергоблока 50% диапазон работы с максимальным расходом воды сильно сужается: начиная с температуры воды 23 °C и ниже целесообразно снижение расхода воды примерно до 60% максимального значения при наиболее низкой температуре.
15.2.4. Из приведенных графиков видно, что диапазон изменения расхода воды обеспечивается при работе энергоблоков в режиме поддержания оптимального расхода охлаждающей воды, или в режиме оптимального вакуума.
В отдельных случаях в течение года, в частности в паводковый период, может происходить изменение уровня воды в источнике водоснабжения, что оказывает влияние на гидравлическую характеристику циркуляционного тракта.
В том случае, если изменение уровня достигает 30-40 кПа (3-4 м вод. ст.), расчет оптимальных расходов охлаждающей воды должен быть произведен для нескольких значений уровня води в реке или водохранилище.
15.3. Указания к расчету оптимальных расходов охлаждающей воды
15.3.1. В табл. 15.1 показан порядок расчета оптимальных расходов охлаждающей воды для турбоустановки с блочной системой циркуляционного водоснабжения (два циркуляционных насоса) и водохранилищем-охладителем при различных нагрузках энергоблока и температурах охлаждающей воды.
15.3.2. Затрата мощности на электродвигатели определяется по рис. 15.3. Диаграмма строится по напорной характеристике насоса - зависимости давления насоса Н
от подачи Q
для различных углов поворота лопастей d (по данным испытании или по каталогу-справочнику [12, 13]). Затрата мощности на приводной электродвигатель N
эд
(кВт), указанная в нижней части диаграммы, рассчитывается по формуле
,
где Q
= W
+ W
сн
- подача насоса, м3
/ч;
H
- давление, развиваемое насосом, м вод. ст.;
r -
плотность воды, кг/м3
;
hн
и hэд
- соответственно КПД насоса [12, 13] и электродвигателя (по справочнику).

Рис. 15.3. Диаграмма для определения мощности, потребляемой циркуляционным насосом
Кривые мощности на нижней части диаграммы рассчитываются и отроятся на диаграмме для различных углов поворота лопастей d аналогично верхней части диаграммы.
Таблица 15.1
| Наименование
|
Обозна
чение
|
Способ определения
|
Режимы насосов
|
| 1
|
2
|
...
|
п
|
1
|
2
|
...
|
п
|
| 1. Электрическая нагрузка турбоагрегата, МВт
|
N
э
|
Задается
|
Номинальная ...
|
До ...
|
| 2. Расход пара в конденсатор, кг/с (т/ч)
|
D
2
|
По тепловой характеристике турбины для N
э
|

|

|
| 3. Удельная теплота, передаваемая отработавшим паром охлаждающей воде, кДж/кг (ккал/кг)
|
Dh
|
Принимается 2250 кДж/кг (540 ккал/кг) или определяется по тепловой характеристике турбины
|

|

|
| 4. Подача двух насосов, м3
/ч
|
Q
|
Задается от минимального до максимального значения
|
...
|
...
|
...
|
...
|
...
|
...
|
...
|
...
|
| 5. Суммарная затрата мощности на электродвигатели двух насосов, кВт
|
N
эд
|
Мощность одного электродвигателя по характеристике
N
эд
= f
(Q
)
(см. рис. 15.3)
|
...
|
...
|
...
|
...
|
...
|
...
|
...
|
...
|
| 6. Приращение затраты мощности на электродвигатели, кВт
|
DN
эд
|
N
эд
- 
|
0
|
...
|
...
|
...
|
0
|
...
|
...
|
...
|
| 7. Расход воды на с.н. энергоблока, м3
/ч
|
W
с.н
|
По данным электростанции
|

|

|
| 8. Расход охлаждающей воды на конденсатор, м3
/ч
|
W
|
Q
- W
с
.
н
|
...
|
...
|
...
|
...
|
...
|
...
|
...
|
...
|
| 9. Нагрев воды в конденсаторе от максимального до минимального значения, °C
|
Dt
в
|

|
...
|
...
|
...
|
...
|
...
|
...
|
...
|
...
|
| 10. Расчет приращения мощности брутто при различных температурах охлаждающей воды
|
|
|
|
|
|
|
|
|
|
|
| 10.1. t
1в
- минимальная
|
|
|
|
|
|
|
|
|
|
|
| 10.1.1. Температура воды на выходе, °C
|
t
2в
|
t
1в
+ Dt
в
|
...
|
...
|
...
|
мин
|
...
|
...
|
...
|
...
|
| 10.1.2. Температурный напор в конденсаторе, °C
|
dt
|
По нормативной характеристике конденсатора для t
1в
, D
2
и W
|
...
|
...
|
...
|
...
|
...
|
...
|
...
|
...
|
| 10.1.3. Температура насыщения отработавшего пара, °C
|
t
2
|
t
2в
+ dt
|
макс
|
...
|
...
|
мин
|
...
|
...
|
...
|
...
|
| 10.1.4. Давление пара в конденсаторе, кПа (кгс/cм2
)
|
р
2
|
По таблицам теплофизических свойств водяного пара по t
2
|
макс
|
...
|
...
|
мин
|
...
|
...
|
...
|
...
|
| 10.1.5. Приращение мощности турбоагрегата брутто, кВт
|
DN
т
|
По поправочной кривой на давление в конденсаторе по отношению к 
|
0
|
...
|
...
|
...
|
0
|
...
|
...
|
...
|
| 10.1.6. Приращение мощности энергоблока брутто, кВт
|
DN
бл
|
DN
т
- DN
эд
|
0
|
...
|
...
|
...
|
0
|
...
|
...
|
...
|
| 10.2. t
1в
= 5 °C и т.д. (аналогично для других значений t
1в
)
|
|
|
|
|
|
|
|
|
|
|
Способ пользования диаграммой показан пунктиром для определенной подачи насоса (точка 1
) и заданной характеристики тракта определяется требуемый угол поворота лопастей (точка 2
) и на нижней части диаграммы по Q
и d (точка 3
) находится мощность электродвигателя (точка 4
).
15.3.3. По результатам расчетов, сведенным в табл. 15.1, строятся предоставленные для рассмотренного примера на рис. 15.1 зависимости приращения мощности энергоблока нетто DN
бл
от расхода охлаждающей воды через конденсатор для различных нагрузок энергоблока N
э
и значений температуры охлаждающей воды t
1в
.
По найденным и построенным на графиках зависимостям DN
бл
от температуры охлаждающей воды и нагрузки энергоблока определяются значения оптимального расхода охлаждающей воды W
опт
, которые и наносятся на графике режимов (см. рис. 15.2) в зависимости от температуры охлаждающей воды t
1в
. Для разных нагрузок энергоблока.
Для большего удобства этот график может быть дополнен вспомогательным графиком, показывающим для данной характеристики циркуляционного тракта зависимость угла поворота лопастей рабочих колес циркуляционных насосов от подачи насосов. Этот график позволяет эксплуатационному персоналу непосредственно определить основной регулировочный параметр насоса - угол поворота лопасти - для обеспечения необходимого согласно графику (см. рис. 15.2) оптимального расхода охлаждающей воды.
15.3.4. В рассмотренном выше примере было принято, что характеристики двух циркуляционных насосов и гидравлические характеристики циркуляционных трактов двух половин конденсатора полностью идентичны. Если же характеристики насосов и циркуляционных трактов, относящиеся к разным половинам конденсаторов, неодинаковы, то расчет затраты мощности на электродвигатели насосов ведется раздельно, для каждого по своей характеристике (см. рис. 15.3), а затем затраты мощности на электродвигатели двух насосов складываются.
15.3.5. Как видно из рис. 15.2, при низких температурах охлаждающей воды и малых электрических нагрузках энергоблока расход воды через конденсатор из соображений обеспечения максимальной экономичности энергоблока должен быть существенно снижен (за счет уменьшения угла поворота лопастей, перехода на более низкую частоту вращения электродвигателя). Так, например, при нагрузке энергоблока 160 МВт и температуре воды 5 °C оптимальный расход охлаждающей воды составляет всего 25000 м3
/ч. Этому расходу воды соответствует пониженная примерно до 1,3 м/с скорость воды в трубках. При малых скоростях воды трубки быстро загрязняются, главным образом из-за отложений содержащихся в воде взвешенных веществ, вследствие чего снижение расхода охлаждающей воды до расчетного оптимального значения может привести к отрицательному эффекту. Интенсивность отложений в трубках при снижении скорости воды зависит от ее качества и может быть различной на каждой конкретной электростанции и изменяться во времени.
Поскольку оценить влияние этого обстоятельства расчетным путем, не представляется возможным, допустимый нижний предел уменьшения расхода охлаждающей воды должен устанавливаться и корректироваться с учетом изменения качества воды на основе данных эксплуатационного опыта на каждой электростанции.
15.3.6. Изложенная в разд. 15.2 и 15.3 методика определения оптимального расхода охлаждающей воды конденсаторов энергоблоков относится к случаю блочной системы водоснабжения, т.е. к наиболее простому случаю; для решения такой задачи обычно оказывается достаточными уже выпущенные по данному типу оборудования нормативные материалы, за исключением гидравлической характеристики системы водоснабжения, которая, как правило, индивидуальна для каждой электростанции, эта характеристика, а также и другие, если они отсутствуют, должны быть сняты для фактических условий работы оборудования на данной электростанции силами служб наладки электростанции или РЭУ (ПЭО).
Используя в качестве примера форму табл. 15.1 и графики на рис. 15.1-15.3, построенные применительно к энергоблоку 300 МВт, можно силами электростанции или РЭУ рассчитать, и построить для блочных схем водоснабжения график оптимальных расходов охлаждающей воды через конденсаторы.
15.3.7. Если в качестве водоохладителей в блоке применены градирни, задача определения оптимального расхода охлаждающей воды становится более сложной, поскольку температура поступающей в конденсатор воды зависит в этом случае от гидравлического режима градирни и метеорологических условий, вследствие чего она не может быть однозначно задана.
Задача значительно усложняется также в случае центральной береговой насосной с подачей воды к конденсаторам турбин по общим магистральным водоводам, особенно для ТЭЦ с разнотипными турбоагрегатами, которые к тому же могут эксплуатироваться с переменными в течение суток паровыми нагрузками конденсатора. При этой схеме циркуляционного водоснабжения изменение расхода охлаждающей воды кроме поворота лопастей дополнительно достигается изменением количества насосов, работающих параллельно на общий магистральный водовод. Решение этой задачи выходит за рамки настоящих Методических указаний.
Приложение 1
ТЕХНИЧЕСКИЕ ДАННЫЕ КОНДЕНСАТОРОВ ПАРОВЫХ ТУРБИН
Таблица П1.1
Конденсаторы конденсационных турбин ТЭС
| Наименование
|
Завод-изготовитель
|
| ПОТ ЛМЗ
|
ПОТ ЛМЗ
|
ПОТ ЛМЗ
|
ПОАТ ХТЗ
|
ПОАТ ХТЗ
|
ПОТ ЛМЗ
|
ПОАТ ХТЗ
|
ПОТ ЛМЗ
|
ПОАТ ХТЗ
|
ПОТ ЛМЗ
|
ПОТ ЛМЗ
|
ПОТ ЛМЗ
|
| Тип конденсатора
|
50 КЦС-3
|
50 КЦС-5
|
100 КЦС-2,
100 КЦС-4
|
K-100-3685
|
K-150-9115
|
200-КЦС-2, 200-КЦС-3
|
K-15240
|
300-КЦС-1,
300-КЦС-3
|
K-11520
|
500-КЦС-4
|
800-КЦС-3
|
1200-КЦС-3
|
| Тип турбины
|
K-60-90-1, К-60-90-2
|
К-50-90-3
|
K-100-90-2, K-100-90-6
|
К-100-90
|
K-160-130
|
K-200-130
|
К-300-240
|
К-300-240
|
К-500-240
|
К-500-240-4
|
К-800-240-3
|
К-1200-240-3
|
| Количество корпусов конденсатора
|
1
|
1
|
2
|
2
|
1
|
2
|
1
|
1
|
2
|
2
|
2
|
2
|
| Расчетные значения:
|
|
|
|
|
|
|
|
|
|
|
|
|
| номинального расхода пара в конденсатор,* кг/с (т/ч)
|
39
(140)
|
39
(140)
|
78
(280)
|
74,1
(266,5)
|
92,2
(330,9)
|
111
(400)
|
156,5 (563,6)
|
159,0 (573,4)
|
266,6
(960)
|
248
(892)
|
400
(1440)
|
596
(2140)
|
| давления пара в конденсаторе, кПа (кгс/см2
)
|
2,95
(0,03)
|
3,43
(0,035)
|
3,43
(0,035)
|
2,95
(0,03)
|
3,43
(0,035)
|
3,43
(0,035)
|
3,43
(0,035)
|
3,43
(0,035)
|
4,42
(0,045)
|
3,5
(0,0357)
|
3,43
(0,035)
|
3,38
(0,0344)
|
| расхода охлаждающей воды* кгс/(м3
/ч)
|
2220
(8000)
|
2220
(8000)
|
4440
(16000)
|
4540
(16350)
|
5790 (20800)
|
6940
(25000)
|
9670 (34800)
|
10000 (36000)
|
14300 (51480)
|
14300 (51480)
|
20300 (73000)
|
29100 (104500)
|
| температуры охлаждающей воды, °C
|
10
|
10
|
10
|
10
|
12
|
10
|
12
|
12
|
15
|
12
|
12
|
12
|
| Площадь поверхности охлаждения*, м2
|
3000
|
3000
|
6000
|
7370
|
9115
|
9000
|
15240
|
15400
|
23040
|
22500
|
40200
|
60000
|
| Диаметр трубок, мм
|
25/23
|
25/23
|
25/23
|
25/23
|
28/26
|
30/28
|
28/26
|
28/26
|
28/26
|
28/26
|
28/26
|
28/26
|
| Длина трубок в одном корпусе, мм
|
6650
|
6650
|
6650
|
7350
|
8850
|
8065
|
8850
|
8930
|
8890
|
8930
|
12000
|
12000
|
| Количество трубок*
|
5800
|
5800
|
11600
|
12760
|
11712
|
11940
|
19592
|
19600
|
29480
|
28436
|
39250
|
57144
|
| Число ходов охлаждающей воды
|
2
|
2
|
2
|
2
|
2
|
2
|
2
|
2
|
2
|
1
|
1
|
1
|
| Гидравлическое сопротивление, кПа
(м вод. ст.)
|
30,3
(3,6)
|
35,3
(3,6)
|
35,3
(3,6)
|
32,4
(3,3)
|
39,2
(4,0)
|
37,3
(3,8)
|
42,2
(4,3)
|
47,1
(4,8)
|
39,3
(4)
|
44,1
(4,5)
|
58,8
(6)
|
58,8
(6)
|
| Расположение корпусов относительно оси турбины
|
Подвальное, поперечное
|
Подвальное, поперечное
|
Подвальное, поперечное
|
Подвальное, поперечное
|
Подвальное поперечное
|
Подвальное поперечное
|
Подвальное поперечное
|
Подвальное поперечное
|
Подвальное, поперечное
|
Подвальное, продольное, последова
тельное соединение корпусов по охлаждаю
щей воде
|
Подвальное, продольное, последова
тельное соединение корпусов по охлаждающей воде
|
Подвальное, продольное, последова
тельное соединение корпусов по охлаждающей воде
|
| Приведены суммарные значения для всех корпусов конденсатора.
|
Таблица П1.2
Конденсаторы теплофикационных турбин
| Наименование
|
Завод- изготовитель
|
| ПОТ ЛМЗ
|
ПОТ ЛМЗ
|
ПОТ ЛМЗ
|
ПОТ ЛМЗ
|
ПО ТМЗ
|
ПО ТМЗ
|
ПО ТМЗ
|
ПОТ ЛМЗ
|
ПО ТМЗ
|
| Тип конденсатора
|
50-КЦС-4
|
К2-3000-2
|
60-КЦС
|
80-КЦС
|
КГ2-6200
|
К-2-6000-1
|
КГ2-12000-1
|
180-КЦС
|
K2-14000-1
|
| Тип турбины
|
ВПТ-50-3,
ВПТ-50-2
|
T-50-130
|
ПТ-60-130/3
|
ПТ-80/100-130/13
|
T-100-130
|
ПТ-135/165-130/15
|
T-175/210-130
|
T-180/210-130
|
Т-250/300-240-2
|
| Количество корпусов конденсаторов
|
1
|
1
|
1
|
1
|
2
|
1
|
2
|
1
|
1
|
| Расчетные значения:
|
|
|
|
|
|
|
|
|
|
| номинального расхода пава в конденсатор,1
кг/с (т/ч)
|
45,8
(165)
|
38,9
(140)
|
50
(180)
|
60,4
(220)
|
77,8*
(280)
|
88,9**
(320)
|
141,67**
(510)
|
128
(461)
|
148,6**
(535)
|
| давления пара в конденсаторе, кПа (кгс/см2
)
|
5,98
(0,06)
|
3,92
(0,04)
|
3,92
(0,04)
|
5,88
(0,06)
|
5,6
(0,057)
|
7,3
(0,074)
|
5,0
(0,051)
***
6,4 (0,065)
|
6,27
(0,064)
|
5,8
(0,059)
|
| расхода охлаждающей воды,1
кгс(м3
/ч)
|
2220
(8000)
|
1945
(7000)
|
2220
(8000)
|
2220
(8000)
|
4444
(16000)
|
3444
(12400)
|
6889
(24800)
|
6111
(22000)
|
7778
(28000)
|
| температуры охлаждающей воды, °C
|
20
|
15
|
15
|
20
|
20
|
20
|
20
|
20
|
20
|
| Площадь поверхности охлаждения, 1х, 2х, м2
|
3000
|
3000
|
3000
|
3000
|
6180
|
6010
|
11960
|
9000
|
13800
|
| Диаметр, трубок, мм
|
25/23
|
24/22
|
25/23
|
25/23
|
24/22
|
24/22
|
24/22
|
28/26
|
24/22
|
| Длина трубок в одном корпусе3
, мм
|
6650
|
7330
|
6600
|
6600
|
7500
|
9000
|
9000
|
9000
|
9000
|
| Количество трубок1, 2
|
5800
|
5310
|
5800
|
5800
|
11110
|
9098
|
18148
|
11374
|
20756
|
| Число ходов охлаждающей воды3
|
2
|
2
|
2
|
2
|
2
|
2
|
1
|
2
|
2
|
| Гидравлическое сопротивление, кПа (м вод. ст.)
|
35,3
(3,6)
|
37,3
(3,8)
|
35,3
(3,6)
|
35,3
(3,6)
|
59,96
(6,4)
|
54,91
(5,6)
|
74,53
(7,6)
|
48,1
(4,9)
|
54,91
(5,6)
|
| Расположение корпусов относительно оси турбины
|
Подвальное, поперечное
|
Подвальное, поперечное
|
Подвальное, поперечное
|
Подвальное, поперечное
|
Подвальное, поперечное
|
Подвальное, поперечное
|
Подвальное, поперечное, последовательное соединение корпусов по охлаждающей воде
|
Подвальное, поперечное
|
Подвальное, поперечное
|
| 1
Приведены суммарные значения для всех корпусов конденсатора.
2
Значения, включающие встроенный пучок (в конденсаторах, где он применен).
3
Для конденсаторов ТМЗ для основных трубных пучков.
* Для номинальной конденсационной мощности.
** Для максимальной конденсационной мощности.
*** Для первого и второго корпусов по ходу воды.
|
Таблица П1.3
Конденсаторы влажнопаровых турбин
| Наименование
|
Завод-изготовитель
|
| |
ПОАТ ХТЗ
|
ПОАТ ХТЗ
|
ПОАТ ХТЗ
|
ПОАТ ХТЗ
|
ПОАТ ХТЗ
|
ПОАТ ХТЗ
|
ПОАТ ХТЗ
|
ПОАТ ХТЗ
|
ПОАТ ХТЗ
|
ПОТ ЛМЗ
|
| Тип конденсатора
|
K-10120
|
K-12150
|
K-8170
|
К-12150
|
К-10120
|
К-22550
|
К-16560
|
К-16360
|
К-33160
|
1000-КЦС-1
|
| Тип турбины
|
К-220-44
|
К-220-44
|
К-220-44-2
|
К-500-65/3000
|
К-500-65/3000
|
K-500-60/1500
|
К-750-65/3000
|
К-1000-60/1500-1
|
К-1000-60/1500-2
|
K-1000-60/3000
|
| Количество корпусов конденсатора
|
2
|
2
|
2
|
4
|
4
|
2
|
4
|
6
|
3
|
4
|
| Расчетные значения:
|
|
|
|
|
|
|
|
|
|
|
| номинального расхода пара в конденсатор*, кг/с (т/ч)
|
202,2 (728,03)
|
212,5
(765)
|
199,47 (718,08)
|
490
(1764)
|
456,6
(1643,6)
|
489,8
(1763,4)
|
705,4
(2539,64)
|
936,5
(3371,58)
|
958,3
(3450)
|
883,3
(3180)
|
| давления пара в конденсаторе, кПа (кгс/см2
)
|
3,43 (0,035)
|
5,09 (0,052)
|
2,94
(0,03)
|
4,9
(0,05)
|
3,92
(0,04)
|
5,88
(0,06)
|
4,41
(0,045)
|
3,92
(0,04)
|
3,92
(0,04)
|
5,09
(0,052)
|
| расхода охлаждающей воды, кг/с (м3
/ч)
|
12205
(43940)
|
15410
(55480)
|
10152
(36550)
|
26370
(94920)
|
23572
(84860)
|
25458
(91650)
|
34059
(122612)
|
44422
(159920)
|
47170
(169812)
|
47222
(170000)
|
| температуры охлаждающей воды, °C
|
12
|
12
|
5
|
18
|
12
|
22
|
15
|
15
|
15
|
20
|
| Площадь поверхности охлаждения,* м2
|
20240
|
24300
|
16340
|
48600
|
40480
|
45110
|
66240
|
91180
|
99430
|
88000
|
| Диаметр трубок, мм
|
28/26
|
28/26
|
28/26
|
28/25
|
28/25
|
28/26
|
28/26
|
28/26
|
28/26
|
28/26
|
| Длина трубок в одном корпусе, мм
|
8890
|
8850
|
8890
|
8890
|
8890
|
9890
|
11460
|
8890
|
14000
|
12000
|
| Количество трубок*
|
25860
|
31225
|
20900
|
62448
|
51720
|
51864
|
65824
|
116644
|
80808
|
83800
|
| Число ходов охлаждающей воды
|
2
|
2
|
2
|
2
|
2
|
2
|
2
|
1
|
2
|
1
|
| Гидравлическое сопротивление, кПа (м вод. ст.)
|
39,1
(3,99)
|
39,2
(4)
|
39,1
(3,99)
|
35,6
(3,63)
|
35,7
(3,64)
|
42,2
(4,3)
|
5,15
|
6,96
|
7,59
|
7,15
|
| Расположение корпусов относительно оси турбины
|
Подвальное, поперечное
|
Подвальное, поперечное
|
Подвальное поперечное
|
Подвальное, поперечное
|
Подвальное, поперечное
|
Боковое, продольное
|
Подвальное, поперечное
|
Боковое, продольное, две группы по три корпуса, последовательно соединенных по воде
|
Подвальное, поперечное
|
Подвальное, поперечное. Две группы по два корпуса, последовательно соединенных по воде
|
| * Суммарные значения для всех корпусов.
|
Приложение 2
УСТРОЙСТВА ДЛЯ КОНТРОЛЯ ЗА РАБОТОЙ КОНДЕНСАТОРА
(рис. П2.1 - П2.6)

Рис. П2.1. Отбор сигнала для измерения давления (вакуума) в конденсаторе:
1
- плоскопараллельные пластины; 2 - сетчатый зонд; 3
- стенка переходного патрубка; 4
- к вторичному прибору

Рис. П2.2. Измерение давления в контрольной ступени турбины:
1
- конденсационный сосуд; 2
- труба D
y
50 мм; 3
- соединительная (импульсная) трубка диаметром 16´2 мм; 4
- запорный вентиль; 5
- накидная гайка М20´1,5 мм с ниппелем под манометр

Рис. П2.3. Конденсационный сосуд для измерения давления:
1
- днище; 2
- патрубок диаметром 16´2 мм; 3
- труба D
y
50 мм; 4
- крышка; 5
- пробка; 6
- прокладка толщиной 2-3 мм; 7
– стакан

Рис. П2.4. Водяной П-образный дифманометр:
1
- резиновая вакуумная трубка диаметром 10´3 мм; 2
- стеклянная трубка внутренним диаметром 10-12 мм и длиной 1200 мм; 3
- тройник; 4
– зажим; 5
- соединительная импульсная трубка диаметром 16´2 мм; 6
- запорный вентиль D
y
10 мм; 7
– продувка
| 
|

|
| Рис. П2.5. Устройства для измерения расхода воздуха, удаляемого из конденсатора пароструйным эжектором:
а -
выхлоп эжектора через атмосферную трубу (закрытый); б -
выхлоп эжектора в машинный зал (открытый); 1
- выхлопная труба; 2
- фланец; 3
- измерительная диафрагма; 4
- точка отбора сигнала
|
Рис. П2.6. Мерное калиброванное сопло для впуска воздуха
|
Приложение 3
НОМЕНКЛАТУРА РЕКОМЕНДУЕМЫХ СРЕДСТВ ИЗМЕРЕНИЯ ДАВЛЕНИЯ В КОНДЕНСАТОРЕ
| Наименование
|
Тип, модель
|
НТД
|
Пределы измерения абсолютного давления, кПа (кгс/см2
)
|
Основная допускаемая погрешность, %
|
Изготовитель
|
| Преобразователь тензорезисторный абсолютного давления
|
"Сапфир"
22 ДА,
модель 2020
|
ТУ 25.02.720135-81
|
0-6 (0-0,06)
0-10 (0-0,10)
0-16 (0-0,16)
|
0,50
0,25
0,25
|
Завод "Манометр"
(г. Москва)
|
| Миллиамперметр самопишущий
|
КСУ-4, модель 48.340.50.005
|
ТУ 25.05.1290.78
|
0-6 (0-0,06)
0-10 (0-0,10)
0-16 (0-0,16)
|

0,50
|
Завод "Львовприбор"
|
| Преобразователь тензорезисторный абсолютного давления
|
"Сапфир"
651 ДА
|
ТУ 25.02.032173.79
|
0-6,3 (0-0,063)
0-10 (0-0,10)
0-16 (0-0,16)
|
0,50
0,25
0,25
|
Ивано-франковский приборострои
тельный завод
|
| Миллиамперметр самопишущий
|
КСУ-4
|
ТУ 25.05.1290.78
|
0-6 (0-0,06)
0-10 (0-0,10)
0-16 (0-0,16)
|

0,50
|
Завод "Львовприбор"
|
| Манометр абсолютного давления сильфонный электрический с усилителем УП-20
|
МАС-Э3, модель 9533
|
ГОСТ 14763-78,
ТУ 25.05.1290.74
|
0-6 (0-0,06)
0-10 (0-0,10)
0-16 (0-0,16)
|
1,5
1,5
1,0
|
Завод "Манометр"
(г. Москва)
|
| Миллиамперметр самопишущий
|
КСУ-4, модель 48.346.50.005 на три точки измерения
|
ТУ 25.05.1290.78
|
0-6 (0-0,06)
0-10 (0-0,10)
0-16 (0-0,16)
|

0,50
|
Завод "Львовприбор"
|
Приложение 4
ОСНОВНЫЕ ТЕХНИЧЕСКИЕ ХАРАКТЕРИСТИКИ ЦИРКУЛЯЦИОННЫХ НАСОСОВ
Таблица П4.1
Основные технические характеристики центробежных насосов
| Тип насоса
|
Частота вращения, об/мин
|
Диаметр рабочего колеса, мм
|
Подача, м3
/с
(м3
/с)
|
Давление, развиваемое насосом, кПа (м вод. ст.)
|
Мощность на валу насоса, кВт
|
КПД насоса, %
|
Допускаемый кавитационный запас, кПа (м вод. ст.)
|
Завод-изготовитель
|
| |
|
|
Горизонтальные
|
|
|
|
|
| Д4000-22
(32Д-19)
|
750
730
|
740
|
6300 (1,75)
|
270
(27)
|
580
|
79
|
100
(10)
|
ПО "Насос
энергомаш"
|
| |
750
730
|
650
|
4900
(1,36)
|
220
(22)
|
400
|
80
|
80
(8)
|
| |
590
|
740
|
4000 (1,11)
|
220
(22)
|
300
|
80
|
50
(5)
|
|
| |
|
650
|
4800 (1,33)
|
105
(10,5)
|
173
|
80
|
60
(6)
|
|
| 48Д-22
|
485
|
985
|
12500 (3,47)
|
236
(23,6)
|
914
|
38
|
-
|
Уралгидро
маш
(г. Сысерть)
|
| 48Д-22а
|
485
|
912
|
10000 (2,78)
|
185
(18,5)
|
586
|
86
|
-
|
| |
|
|
вертикальные [12]
|
|
|
|
|
| 36В-22
|
500
|
1010
|
7850 (2,18)
|
278
(27,8)
|
680
|
87,0
|
87
(8,7)
|
ПО "Насос
энергомаш"
|
| |
|
975
|
7750 (2,15)
|
240
(24,0)
|
590
|
85,2
|
86
(8,6)
|
|
| |
|
940
|
7480 (2,08)
|
210
(21,0)
|
510
|
83,2
|
87
(8,7)
|
|
| |
|
1690
|
22600 (6,28)
|
269
(26,9)
|
1935
|
86,0
|
80
(8,0)
|
|
| 55В-22
|
300
|
1650
|
21200 (5,83)
|
265
(26,5)
|
1780
|
86,0
|
30
(3,0)
|
|
| |
|
1550
|
21250 (5,9)
|
210
|
1400
|
85,0 .
|
82
(8,2)
|
|
| |
|
2010
|
31500
(3,75)
|
276
(27,6)
|
2750
|
86,0
|
86
(8,6)
|
|
| 72В-22
|
250
|
1940
|
30600
(8,5)
|
244
(24,4)
|
2355
|
85,2
|
87
(8,7)
|
|
| |
|
1870
|
29700 (8,25)
|
214
(21,4)
|
2060
|
83,0
|
88
(8,8)
|
|
Таблица П4.2
Основные технические характеристики осевых насосов Уралгидромаша [13]
| Типоразмер насоса
|
Подача
|
Давление, развиваемое насосом, кПа (м вод. ст.)
|
Частота вращения, об/мин
|
КПД насоса (не менее), %
|
Допускаемый кавитационный запас, кПа
(м вод. ст.)
|
Пределы изменений угла установки лопастей
|
Тип электродвигателя
|
Мощность, кВт
|
| м3
/ч
|
м3
/с
|
| ОПВ 2-87
|
10700
|
2,97
|
136
(13,6)
|
585
|
86
|
115
(11,5)
|
+2°
-10°
|
ВАН 118/41-10У3
ДВДА 173/29-10-12УХЛ4
|
630 500/315
|
| ОПВ 3-87
|
11700
|
3,25
|
210 (21,0)
|
730
|
86
|
125
(12,5)
|
+4°
-4°
|
ВАН 118/51-8УЗ
|
1000
|
| ОПВ 5-87
|
11500
|
3,19
|
97
(9,7)
|
585
|
85
|
100
(10,0)
|
+2°30'
-6°30'
|
ВАН 118/41-10У3
ДВДА 173/29-10-12УХЛ4
|
630 500/315
|
| ОПВ 16-87
|
8800
|
2,44
|
48
(4,8)
|
485
|
85
|
75
(7,5)
|
+6°
-9°
|
ВАН 118/28-12У3
|
315
|
| |
10600
|
2,94
|
68
(6,8)
|
585
|
85
|
90
(9,0)
|
|
ВАН 118/23-10У3
|
315
|
| ОПВ 2-110
|
18000
|
5,0
|
150 (15,0)
|
485
|
85
|
120 (12,0)
|
+2°
-10°
|
ВАН 143/51-12У3
|
1000
|
| ОПВ 3-110
|
18700
|
5,19
|
220 (22,0)
|
585
|
86
|
130
(13,0)
|
+2°30'
-4°
|
АВ16-49-10УХЛ4
ДВДА 215/49-10-12УХЛ4
СДВ 16-44-10УХЛ4
|
1600 1600/1000 1600
|
| ОПВ 5-110
|
19200
|
5,33
|
105 (10,5)
|
485
|
85
|
110
(11,0)
|
+2°30'
-6°30'
|
ВАН 143-51-12У3
АБ16-31-12УХЛ4
СДВ 16-31-12УХЛ4
|
1000
800
800
|
| ОПВ 16-110
|
13300
|
3,69
|
42
(4,2)
|
365
|
85
|
65
(6,5)
|
+6°
-9°
|
ВАН 143/35-16УЗ
ВАН 118/51-12УЗ
|
500
630
|
| |
18000
|
5,0
|
75
(7,5)
|
485
|
85
|
110
(11,0)
|
|
|
|
| ОПВ 2-145
|
30500
|
8,47
|
147 (14,7)
|
355
|
86
|
120
(12,0)
|
+2°
-10°
|
АВ 17-49-16
ДВДА 215/64-16-20УХЛ4
|
1600 1400/700
|
| ОПВ 5-145
|
33500
|
9,30
|
105 (10,5)
|
365
|
85
|
110
(11,0)
|
+2°30'
-6°30'
|
АВ 17-69-16
АВ 17-49-16
СДВ 17-39-16У4
|
1250
1600
1600
|
| ОПВ 10-145
|
33500
|
9,30
|
170 (17,0)
|
365
|
86
|
120
(12,0)
|
+3°
-10°
|
АВ 17-69-16
СДВ 17-59-16К
ДВДА 260/64-14-16К
|
2500
2500
320/2400
|
| ОПВ 16-145
|
30500
|
8,47
|
74
(7,4)
|
355
|
85
|
115
(11,5)
|
+6°
|
АВ 17-31-16
ДВДА 215/64-10-20УХЛ4
|
1000 1400/700
|
| |
2450
|
6,80
|
46
(4,6)
|
290
|
85
|
70
(7,0)
|
-9°
|
АВ 16-41-16УХЛ4
|
800
|
| ОПВ 2-185
|
50000
|
13,8
|
152 (15,2)
|
290
|
86
|
130
(13,0)
|
+2°
-10°
|
ВДС-325/44-20УХЛ4 ДВДА 260/79-20-24У3
|
4000 3200/1600
|
| ОПВ 10-185
|
57500
|
15,9
|
186
(18,6)
|
290
|
86
|
130
(13,0)
|
+3°
-10°
|
ВДС2-325/44-20УХЛ4 ДВДА 260/99-20-24У3
ВДС 2-325/44-18УХЛ4
|
4000 4000/2500
5000
|
| ОПВ 11-185
|
68000
|
18,9
|
180
(18,0)
|
333
|
86
|
150
(15,0)
|
0°
-8°
|
ВДС-2-325/44-18УХЛ4
|
5000
|
| ОПВ 16-135
|
44000
|
12,2
|
55
(5,5)
|
250
|
84
|
100
(10,0)
|
+6°
|
ДВДА 260/79-20-24У3
|
3200/1600
|
| |
49700
|
13,8
|
75
(7,5)
|
290
|
84
|
120
(12,0)
|
-9°
|
ВДС 2-325/44-20УХЛ4
|
4000
|
| ОПВ 10-260
|
11700
|
32,5
|
190
(19,0)
|
214
|
86
|
140
(14,0)
|
+3°
-9°
|
ВДС 375/130-24
|
12500
|
| ОПВ 11-260
|
12420
|
34,5
|
150
(15,0)
|
214
|
86
|
130
(13,0)
|
0°
-8°
|
ВДС-375/130-24
|
12500
|
| Примечания:
1. Маркировка насосов с неподвижными лопастями ОВ.
2. Напоры и подача указаны при угле поворота лопастей 0°.
3. Допускаемый кавитационный запас соответствует барометрическому давлению 760 мм рт. ст. и учитывает атмосферное давление.
4. К условным обозначениям насосов добавляются следующие буквы:
К - с подводом камерного типа; Э - с электроприводом поворота лопастей; ЭП - с электрогидроприводом поворота лопастей.
|
Таблица П4.3
Основные технические характеристики диагональных насосов Уралгидромаша
| Тип насоса
|
Частота вращения, об/мин
|
Диаметр рабочего колеса, мм
|
Угол установки лопастей град.
|
Подача, м/ч
(м3
/c)
|
Давление, развиваемое насосом, кПа
(м вод. ст.)
|
Мощность на валу насоса, кВт
|
КПД, %
|
Допускаемый кавитационный запас, кПа
(м вод. ст.)
|
| 96 ДПВ 4,5/2,3 К
|
485
|
1020
|
+2
|
13300 (3,69)
|
210
(21,0)
|
865
|
85,0
|
120
(12,0)
|
| 130 ДПВ 6/23 ЭГ
|
365
|
1350
|
-
|
28800 (8,0)
|
230
(23,0)
|
2200
|
88,0
|
135
(13,5)
|
| 170 ДПВ 12/22 ЭГ
|
300
|
1750
|
-
|
43200 (12,0)
|
220
(22,0)
|
3500
|
88,0
|
120
(12,5)
|
Приложение 5
ТЕХНИЧЕСКИЕ ДАННЫЕ ОСНОВНЫХ ЭЖЕКТОРОВ
Таблица П5.1
| Технические данные основных пароструйных эжекторов
|
| Наименование
|
Тип эжектора
|
| ЭП-3-75 ПОАТ ХТЗ
|
ЭП-3-150 ПОАТ ХТЗ
|
| Давление на стороне всасывания в расчетном режиме, кПа (кгс/см2
)
|
2,70 (0,0275)
|
3,06 (0,0310)
|
| Расчетные, расходы воздуха/гремучего газа, кг/с (кг/ч)
|
0,007/0 (25/0)
|
0,014/0 (50/0)
|
| Температура отсасываемой смеси, °C
|
17,5
|
17,0
|
| Расход охлаждающей воды, кг/с (т/ч)
|
46 (165)
|
132 (500)
|
| Температура охлаждающей воды на входе, °C
|
27,6
|
26,6
|
| Расход пара на эжектор, кг/с (кг/ч)
|
0,315 (1135)
|
0,60 (2164)
|
| Давление рабочего пара, МПа (кгс/см2
)
|
0,510 (5,2)
|
0,510 (5,2)
|
| Номер ступени
|
I
|
II
|
III
|
I
|
II
|
III
|
| Расход рабочего пара, кг/с (кг/ч)
|
0,052 (186)
|
0,092 (332)
|
0,146 1527)
|
0,107 (385)
|
0,279 (1004)
|
0,403 (1452)
|
| Геометрические размеры ступеней сжатия
|
|
|
|
|
|
|
| Диаметры, мм:
|
|
|
|
|
|
|
| критического сечения сопла 
|
9,0
|
12,4
|
15,6
|
13,5
|
19,5
|
22,0
|
| выходного сечения сопла 
|
42
|
32
|
30
|
67
|
56
|
40
|
| входного сечения камеры смешения d
2
|
113
|
86
|
54
|
162
|
110
|
63
|
| выходного сечения камеры смешения d
3
|
73
|
55
|
35
|
114
|
84
|
50
|
| выходного сечения диффузора d
c
|
138
|
130
|
104
|
250
|
216
|
125
|
| Длина, мм:
|
|
|
|
|
|
|
| конической части камеры смешения L
к
|
330
|
242
|
210
|
340
|
186
|
93
|
| цилиндрической части камеры смешения L
ц
|
300
|
220
|
140
|
340
|
250
|
150
|
| диффузора L
д
|
370
|
425
|
390
|
780
|
660
|
400
|
| Расстояние от сопла до камеры смешения L
е
, мм
|
78
|
71
|
-1
|
160
|
92
|
68
|
| Площадь поверхности теплообменников F
, м2
|
14,0
|
9,6
|
7,6
|
40,0
|
30,0
|
20,0
|
| Давление выхлопа при расчетном расходе воздуха, кПа (кг/см2
)
|
-
|
-
|
-
|
-
|
-
|
-
|
| Максимальная рабочая подача эжектора (по сухому воздуху), кг/с (кг/ч)
|
|
0,021 (75)
|
0,042 (150)
|
¬ 0,042 (150) ®
|
Продолжение таблицы П5.1
| Наименование
|
Тип эжектора
|
| ЭП-3-100/300 ПОАТ ХТЗ
|
ЭП-3-55-150 ПОАТ ХТЗ
|
| Давление на стороне всасывания в расчетном режиме, кПа (кгс/см2
)
|
3,78 (0,0385)
|
3,68 (0,0375)
|
| Расчетные расходы воздуха/гремучего газа, кг/с (кг/ч)
|
0,011/0,017 (40/60)
|
0,011/0,004 (40/15)
|
| Температура отсасываемой смеси, °C
|
17,0
|
21,0
|
| Расход охлаждающей воды, кг/с (т/ч)
|
63 (227)
|
132 (500)
|
| Температура охлаждающей воды на входе, °С
|
28,0
|
28,7
|
| Расход пара на эжектор, кг/с (кг/ч)
|
1,04 (3746)
|
0,98 (3552)
|
| Давление рабочего пара, МПа (кгс/см2
)
|
0,510 (5,2)
|
0,510 (5,2)
|
| Номер ступени
|
I
|
II
|
III
|
I
|
II
|
III
|
| Расход рабочего пара, кг/с (кг/ч)
|
0,403 (1452)
|
0,291 (1047)
|
0,346 (1247)
|
0,34 (1224)
|
0,386
(1391)
|
0,260 (937)
|
| Геометрические размеры ступеней сжатия
|
|
|
|
|
|
|
| Диаметры, мм:
|
|
|
|
|
|
|
| критического сечения сопла 
|
28,5
|
22,5
|
24,5
|
24,0
|
25,6
|
21,0
|
| выходного сечения сопла 
|
112
|
54
|
40
|
105
|
70
|
35
|
| входного сечения камеры смешения d
2
|
172
|
112
|
82
|
225
|
120
|
65
|
| выходного сечения камеры смешения d
3
|
147
|
85
|
55
|
170
|
96
|
52
|
| выходного сечения диффузора d
c
|
370
|
196
|
161
|
290
|
184
|
111
|
| Длина, мм:
|
|
|
|
|
|
|
| конической части камеры смешения L
к
|
325
|
420
|
300
|
262
|
200
|
110
|
| цилиндрической части камеры смешения L
ц
|
912
|
650
|
360
|
497
|
500
|
220
|
| диффузора L
д
|
1000
|
666
|
636
|
571
|
365
|
304
|
| Расстояние от сопла до камеры смешения L
с
, мм
|
116
|
64
|
0
|
130
|
80
|
32
|
| Площадь поверхности теплообменников F
, мм2
|
30,0
|
12,5
|
-
|
51,0
|
37,0
|
25,0
|
| Давление выхлопа при расчетном расходе воздуха, кПа (кгс/см2
)
|
¬ 117,5 (1,2) ®
|
¬ 117,5 (1,2) ®
|
| Максимальная рабочая подача эжектора (по сухому воздуху), кг/с (кг/ч)
|
¬ 0,083 (300) ®
|
¬ 42 (150) ®
|
Продолжение таблицы П5.1
| Наименование
|
Тип эжектора
|
| ЭП-3-220 ПОАТ ХТЗ
|
ЭП-3-600 ПОТ ЛМЗ
|
| Давление на стороне всасывания в расчетном режиме, кПа (кгс/см2
)
|
4,18 (0,0426)
|
2,45 (0,0250)
|
| Расчетные расходы воздуха/гремучего газа, кг/с (кг/ч)
|
0,011/0,055 (40/20)
|
-
|
| Температура отсасываемой смеси, °C
|
23,0
|
-
|
| Расход охлаждающей воды, кг/с (т/ч)
|
153 (550)
|
20,3(75); 12,3 (46);
8,0 (29)
|
| Температура охлаждающей воды на входе, °C
|
31,0
|
-
|
| Расход пара на эжектор, кг/с (кг/ч)
|
0,825 (2973)
|
0,167 (600)
|
| Давление рабочего пара, МПа (кгс/см2
)
|
0,784 (8,0)
|
1,27 (13,0)
|
| Номер ступени
|
I
|
II
|
III
|
I
|
II
|
III
|
| Расход рабочего пара, кг/с (кг/ч)
|
0,231 (833)
|
0,231 (833)
|
0,363 (1507)
|
0,056 (200)
|
0,056 (200)
|
0,056 (200)
|
| Геометрические размеры ступеней сжатия
|
|
|
|
|
|
|
| Диаметры, мм:
|
|
|
|
|
|
|
| критического сечения сопла 
|
16,0
|
16,0
|
20,3
|
6,3
|
6,8
|
12,0
|
| выходного сечения сопла 
|
76
|
45
|
31
|
32
|
21
|
14
|
| входного сечения камеры смешения d
2
|
157
|
92
|
68
|
135
|
70
|
33
|
| выходного сечения камеры смешения d
3
|
133
|
75
|
58
|
92
|
46
|
22
|
| выходного сечения диффузора d
c
|
300
|
187
|
138
|
135
|
89
|
60
|
| Длина, мм:
|
|
|
|
|
|
|
| конической части камеры смешения L
к
|
113
|
122
|
72
|
256
|
146
|
77
|
| цилиндрической части камеры смешения L
ц
|
792
|
600
|
422
|
265
|
165
|
140
|
| диффузора L
д
|
622
|
430
|
423
|
400
|
400
|
370
|
| Расстояние от сопла до камеры смешения L
с
, мм
|
154
|
87
|
67
|
65
|
40
|
20
|
| Площадь поверхности теплообменников F
, мм2
|
40,0
|
30,0
|
20,0
|
14,3
|
8,4
|
5,1
|
| Давление выхлопа при расчетном расходе воздуха, кПа (кгс/см2
)
|
¬ 108 (1,1) ®
|
-
|
-
|
-
|
| Максимальная рабочая подача эжектора (по сухому воздуху), кг/с (кг/ч)
|
¬ 0,061 (220) ®
|
¬ 0,019 (70) ®
|
Продолжение таблицы П5.1
| Наименование
|
Тип эжектора
|
| ЭП-3-600-4 ПОТ ЛМЗ
|
ЭП-3-600-4(М) ПОТ ЛМЗ
|
| Давление на стороне всасывания в расчетном режиме, кПа (кгс/см2
)
|
2,45 (0,0250)
|
|
| Расчетные расходы воздуха/гремучего газа, кг/с (кг/ч)
|
0,0194 (70)
|
-
|
| Температура отсасываемой смеси, °C
|
-
|
-
|
| Расход охлаждающей воды, кг/с (т/ч)
|
19,4 (70)
|
19,4 (70)
|
| Температура охлаждающей воды на входе, °C
|
30
|
30
|
| Расход пара на эжектор, кг/с (кг/ч)
|
0,167 (600)
|
0,203 (730)
|
| Давление рабочего пара, МПа (кгс/см2
)
|
1,27 (13,0)
|
0,49 (5,0)
|
| Номер ступени
|
I
|
II
|
III
|
I
|
II
|
III
|
| Расход рабочего пара, кг/с (кг/ч)
|
0,056 (200)
|
0,056
(200)
|
0,056 (200)
|
-
|
-
|
-
|
| Геометрические размеры ступеней сжатия
|
|
|
|
|
|
|
| Диаметры, мм:
|
|
|
|
|
|
|
| критического сечения сопла 
|
6,8
|
6,8
|
6,8
|
11,2
|
11,2
|
11,2
|
| выходного сечения сопла 
|
32
|
21
|
14
|
-
|
-
|
-
|
| входного сечения камеры смешения d
2
|
135
|
70
|
33
|
-
|
-
|
-
|
| выходного сечения камеры смешения d
3
|
92
|
46
|
22
|
80
|
47
|
30
|
| выходного сечения диффузора d
c
|
135
|
90
|
60
|
-
|
-
|
-
|
| Длина, мм:
|
|
|
|
|
|
|
| конической части камеры смешения L
к
|
256
|
146
|
90
|
-
|
-
|
-
|
| цилиндрической части камеры смешения L
ц
|
270
|
180
|
150
|
-
|
-
|
-
|
| диффузора L
д
|
394
|
394
|
360
|
-
|
-
|
-
|
| Расстояние от сопла до камеры смешения L
с
, мм
|
65
|
40
|
20
|
11
|
0
|
0
|
| Площадь поверхности теплообменников F
, мм2
|
14,2
|
8,0
|
5,1
|
-
|
-
|
-
|
| Давление выхлопа при расчетном расходе воздуха, кПа (кгс/см2
)
|
-
|
-
|
-
|
-
|
-
|
-
|
| Максимальная рабочая подача эжектора (по сухому воздуху), кг/с (кг/ч)
|
-
|
-
|
-
|
¬ 0,019 (70) ®
|
Окончание таблицы П5.1
| Наименование
|
Тип эжектора
|
| ЭП-3-700-1 ПОТ ЛМЗ
|
ЭП-3-2, ЭП-3-2А
ЭПО-3-135 I и
ЭПО-3-135 II
|
| Давление на стороне всасывания в расчетном режиме, кПа (кгс/см2
)
|
-
|
3,4 (0,033)
|
| Расчетные расходы воздуха/гремучего газа, кг/с (кг/ч)
|
-
|
0,0236 (85)
|
| Температура отсасываемой смеси, °C
|
-
|
-
|
| Расход охлаждающей воды, кг/с (т/ч)
|
19,4 (70)
|
19,4/55,6 (70/200)
|
| Температура охлаждающей воды на входе, °C
|
-
|
26,0
|
| Расход пара на эжектор, кг/с (кг/ч)
|
0,194 (700)
|
0,236 (830)
|
| Давление рабочего пара, МПа (кгс/см2
)
|
0,49 (5,0)
|
0,49 (5,0)
|
| Номер ступени
|
I
|
II
|
III
|
I
|
II
|
III
|
| Расход рабочего пара, кг/с (кг/ч)
|
-
|
-
|
-
|
0,083 (300)
|
0,083 (300)
|
0,064 (230)
|
| Геометрические размеры ступеней сжатия
|
|
|
|
|
|
|
| Диаметры, мм:
|
|
|
|
|
|
|
| критического сечения сопла 
|
13,5
|
11,2
|
10,0
|
12,0
|
12,0
|
10,4
|
| выходного сечения сопла 
|
-
|
-
|
-
|
55,4
|
33
|
18
|
| входного сечения камеры смешения d
2
|
-
|
-
|
-
|
100
|
63
|
42
|
| выходного сечения камеры смешения d
3
|
65
|
35
|
26
|
67
|
43
|
28
|
| выходного сечения диффузора d
c
|
-
|
-
|
-
|
127
|
87
|
60
|
| Длина, мм:
|
|
|
|
|
|
|
| конической части камеры смешения L
к
|
-
|
-
|
-
|
315
|
190
|
135
|
| цилиндрической части камеры смешения L
ц
|
-
|
-
|
-
|
290
|
225
|
110
|
| диффузора L
д
|
-
|
-
|
-
|
430
|
315
|
230
|
| Расстояние от сопла до камеры смешения L
с
, мм
|
50
|
0
|
0
|
50
|
5
|
4,0
|
| Площадь поверхности теплообменников F
, мм2
|
-
|
-
|
-
|
14,2
|
8,0
|
5,1
|
| Давление выхлопа при расчетном расходе воздуха, кПа (кгс/см2
)
|
-
|
-
|
-
|
-
|
-
|
-
|
| Максимальная рабочая подача эжектора (по сухому воздуху), кг/с (кг/ч)
|
¬ 0,019 (70) ®
|
¬ 0,0375(135) ®
|
Таблица П5.2
Технические данные основных водоструйных эжекторов
| Наименование
|
Тип эжектора
|
| ЭB-4-1400 ЛМЗ
|
ЭВ ПОАТ ХТЗ
|
ЭВ-7-1000 ВТИ
|
ЭВ-7-1700 ВТИ
|
| Диаметр рабочего сопла, мм
|
75
|
45
|
46
|
56
|
| Количество рабочих сопл
|
4
|
4
|
7
|
7
|
| Диаметр камеры смешения, мм
|
115´4
|
82´4
|
100´7
|
125´7
|
| Расчетная температура рабочей воды, °C
|
10
|
20
|
20
|
12
|
| Номинальное давление рабочей вода, кПа (кгс/см2
)
|
343,2
(3,5)
|
735,5
(7,5)
|
343,2
(3,5)
|
343,2
(3,5)
|
| Объемная производительность на сухом воздухе*, м3
/ч
|
2160
|
1920
|
3500
|
5950
|
| Расчетный расход рабочей воды, м3
/ч
|
1545
|
830
|
1000
|
1700
|
| * При давлении рабочей воды, зависящем от типа циркуляционного и подъемного насосов и отличающемся от номинального объемная производительность требует пересчета.
|
Приложение 6
ОСНОВНЫЕ ТЕХНИЧЕСКИЕ ХАРАКТЕРИСТИКИ КОНДЕНСАТНЫХ НАСОСОВ
| Тип насоса
|
Подача, м3
/ч
|
Давление развиваемое насосом, кПа
(м вод. ст.)
|
Допускаемый кавитационный запас, кПа
(м вод. ст.)
|
Частота вращения, об/мин
|
Мощность, кВт
|
КПД, %
|
Применяется в турбоустановке
|
Количество насосов
|
| Кс-80-155
|
80
|
1550
(155)
|
16
(1,6)
|
3000
|
52
|
65
|
ПГ-80/100-130/3 ПОТ ЛМЗ
|
3
|
| Кс-125-140
|
125
|
1400
(140)
|
16
(1,6)
|
3000
|
77
|
62
|
T-50-130-6 ПО ТМЗ
|
3
|
| КсВ-200-220
|
200
|
2200
(220)
|
25
(2,5)
|
1500
|
164
|
73
|
К-220-44
|
2
|
| КсВ-320-160
|
320
|
1600
(160)
|
20
(2,0)
|
1500
|
185
|
75
|
T-175/210-130 ПО ТКЗ
|
2
|
| |
|
|
|
|
T-110/120-130-4 ПО ТКЗ
|
2
|
| |
|
|
|
|
|
|
ПТ-135/165-130-15 ПО ТМЗ
|
2
|
| |
|
|
|
|
|
|
К-200-130 ПОТ ЛМЗ
|
3
|
| |
|
|
|
|
|
|
T-180/200-130-1 ПОТ ЛМЗ
|
3
|
| КсВ-500-85
|
500
|
850
(85)
|
16
(1,6)
|
1000
|
154
|
75
|
К-500-240 ПОТ ЛМЗ
|
3
|
| |
|
|
|
|
К-300-240 ПОАТ ЛМЗ
|
3
|
| |
|
|
|
|
|
|
Т-250-240 ПО ТМЗ
|
3
|
| КсВ-500-150
|
500
|
1500
(150)
|
25
(2,5)
|
1500
|
272
|
75
|
К-160-130 ПОАТ XTЗ
|
2
|
| КcBA-500-220
|
500
|
2200
(220)
|
25
(2,5)
|
1500
|
400
|
75
|
К-220-44 ПОАТ ХТЗ
|
3
|
| KcB-1000-95
|
1000
|
950
(95)
|
35
(3,5)
|
1000
|
342
|
76
|
К-800-240 ПОТ ЛМЗ
|
3
|
| KсBA-1000-180
|
1000
|
1800
(180)
|
35
(3,5)
|
1500
|
613
|
80
|
К-500-60/1500 ПОАТ ХТЗ
|
3
|
| КсВА-1500-120
|
1500
|
1200
(120)
|
23
(2,3)
|
740
|
600
|
80
|
К-500-65/3000 ПОАТ ХТЗ
К-500-60/1500 ПОАТ ХТЗ
|
3
3
|
| KcB-1500-120
|
1850
|
950
(95)
|
28
(2,8)
|
740
|
592
|
79
|
К-1000-60/1500 ПОАТ ХТЗ К-1000-60/3000 ПОТ ЛМЗ
|
3
|
Список использованной литературы
1. РУКОВОДЯЩИЕ указания по тепловому расчету поверхностных конденсаторов мощных турбин тепловых и атомных электростанций. М.: СТО Союзтехэнерго, 1982.
2. НОРМАТИВНЫЕ характеристики конденсационных установок паровых турбин типа К. М.: СЦНТИ ОРГРЭС, 1974.
3. МЕТОДИЧЕСКИЕ указания по организации измерений расхода воды в водоводах большого диаметра с помощью сегментных диафрагм. М.: СПО Союзтехэнерго, 1979.
4. МЕТОДИЧЕСКИЕ указания по испытаниям конденсационных установок паровых турбин: МУ 34-70-010-82. М.: СПО Союзтехэнерго, 1982.
5. ТИПОВАЯ энергетическая характеристика конденсатора 300-КЦС-3 турбины К-300-240 ЛМЗ: ТХ-34-70-001-82. М.: СПО Союзтехэнерго, 1982.
6. НОРМАТИВНЫЕ характеристики конденсаторов турбин T-50-130 ТМЗ, ПТ-60-130/13 и ПТ-80/100-130/13 ЛМЗ. М.: СПО Союзтехэнерго, 1981.
7. ТИПОВАЯ энергетическая характеристика конденсатора 800 КЦС-3 турбины К-800-240-3 ЛМЗ. М.: СПО Союзтехэнерго, 1984.
8. МЕТОДИКА выполнения измерения давления отработавшего пара в конденсаторах паровых турбин: МТ 34-70-004-82. М.: СПО Союзтехэнерго, 1983.
9. МЕТОДИЧЕСКИЕ указания по испытанию циркуляционных насосов и систем циркуляционного водоснабжения паротурбинных установок электростанций: МУ 34-70-002-82. М.: СПО Союзтехэнерго, 1982.
10. ВРЕМЕННЫЕ указания по технологии ремонта вертикальных поворотно-лопастных циркуляционных насосных агрегатов ОП энергоблоков 150, 200 и 300 МВт. М.: СЦНТИ ОРГРЭС, 1972.
11. ИНСТРУКЦИЯ по эксплуатации башенных градирен на тепловых электростанциях. М.: СЦНТИ ОРГРЭС, 1972.
12. ОСЕВЫЕ насосы типа "О", "ОП" и центробежные вертикальные типа В". М.: Изд. ЦИНТИхимнефтемаш, 1970.
13. ОСЕВЫЕ вертикальные насосы типа ОВ и ОПВ ПО "Уралгидромаш". М.: ЦИНТИхимнефтемаш, 1983.
14. ЭНЕРГЕТИЧЕСКИЕ насосы. Каталог. М.: ЦИНТИхимнефтемаш, 1974.
15. ФУКС С.Н. Гидравлическая и воздушная плотность конденсаторов паровых турбин. М.: Энергия, 1967.
16. РУКОВОДЯЩИЕ указания по реконструкции конденсаторов паровых турбин. М:
Госэнергоиздат, 1954.
17. ЭКСПЛУАТАЦИОННЫЙ циркуляр № Т-3/64. О повышении гидравлической плотности конденсаторов паровых турбин. М.: БТИ ОРГРЭС, 1964.
18. ЭКСПЛУАТАЦИОННЫЙ циркуляр № T-6/71. О поддержании необходимой воздушной плотности вакуумных систем турбин К-600-240. М.: СЦНТИ Энергонот ОРГРЭС, 1971.
19. СПОСОБ обнаружения неплотностей в вакуумной системе паровых турбин вакуумным атмосферным галоидным течеискателем ВАГТИ-4. М.: ВТИ, 1970.
20. ИНФОРМАЦИОННОЕ сообщение № T-17/61. Отбор проб на химанализ из-под вакуума. М.: БТИ ОРГРЭС, 1961.
21. ПРАВИЛА технической эксплуатации электрических станций и сетей. М.: Энергия, 1977.
22. СБОРНИК директивных материалов по эксплуатации энергосистем. Теплотехническая часть. М.: Энергоиздат, 1981.
23. РУКОВОДЯЩИЕ указания по предотвращению образования минеральных и органических отложений в конденсаторах турбин и их очистке. М.: СЦНТИ ОРГРЭС, 1975.
ОГЛАВЛЕНИЕ
1. ОБЩИЕ СВЕДЕНИЯ
1.1. Назначение конденсационной установки
1.2. Оборудование конденсационной установки
2. ОСОБЕННОСТИ РАБОЧЕГО ПРОЦЕССА И ПОКАЗАТЕЛИ РАБОТЫ КОНДЕНСАЦИОННОЙ УСТАНОВКИ
2.1. Условия теплопередачи в конденсаторе
2.2. Показатели работы конденсационной установки
3. ОСНОВНЫЕ ТИПЫ ОТЕЧЕСТВЕННЫХ КОНДЕНСАТОРОВ
4. ВЛИЯНИЕ ВАКУУМА НА ЭКОНОМИЧНОСТЬ ПАРОТУРБИННЫХ УСТАНОВОК
5. КОНТРОЛЬ ЗА РАБОТОЙ КОНДЕНСАЦИОННЫХ УСТАНОВОК
5.1. Оценка показателей работы конденсационной установки
5.2. Методы измерения режимных параметров при контроле за работой конденсационной установки
5.3. Нормативные характеристики конденсационных установок
6. НЕПОЛАДКИ И НАРУШЕНИЯ В РАБОТЕ КОНДЕНСАЦИОННОЙ УСТАНОВКИ
7. ПУСК И ОСТАНОВ КОНДЕНСАЦИОННОЙ УСТАНОВКИ
8. СИСТЕМА ЦИРКУЛЯЦИОННОГО ВОДОСНАБЖЕНИЯ КОНДЕНСАТОРОВ
8.1. Решетки, водоочистные сетки и фильтры
8.2. Типы и характеристики циркуляционных насосов
8.3. Схемы циркуляционного водоснабжения
8.4. Пуск насосов типа ОПВ и ДПВ
8.5. Неполадки в работе циркуляционной системы
9. ВОЗДУШНЫЕ НАСОСЫ
9.1. Основные типы воздушных насосов
9.2. Пароструйные эжекторы
9.3. Водоструйные эжекторы
10. КОНДЕНСАТНЫЕ НАСОСЫ
10.1. Типы и характеристики конденсатных насосов
10.2. Пуск в неполадки в работе конденсатных насосов
11. ВОДЯНАЯ ПЛОТНОСТЬ КОНДЕНСАТОРОВ
11.1. Нормы жесткости конденсата и причины их нарушения
11.2. Коррозионные и эрозионные повреждения трубок
11.3. Неплотности в трубных досках
11.4. Механические повреждения трубок
11.5. Способы отыскания водяных неплотностей
12. ВОЗДУШНАЯ ПЛОТНОСТЬ ВАКУУМНОЙ СИСТЕМЫ
12.1. Допустимые присосы воздуха
12.2. Отыскание воздушных неплотностей в вакуумной системе
13. ДЕАЭРАЦИЯ КОНДЕНСАТА В КОНДЕНСАТОРЕ
13.1. Деаэрирующая способность конденсатора
13.2. Деаэрация в конденсаторе дренажей и добавочной воды
13.3. Предотвращение попадания в конденсат кислорода на участке "конденсатор - деаэратор"
14. ПРЕДОТВРАЩЕНИЕ ЗАГРЯЗНЕНИЯ И ПЕРИОДИЧЕСКАЯ ЧИСТКА КОНДЕНСАТОРОВ
14.1. Причины и характер загрязнения конденсаторов
14.2. Предотвращение загрязнения конденсаторов при прямоточном водоснабжении
14.3. Предотвращение загрязнения конденсаторов при оборотном водоснабжении
14.4. Периодическая чистка трубок конденсаторов от отложений
15. ОПТИМАЛЬНЫЙ РЕЖИМ ЭКСПЛУАТАЦИИ КОНДЕНСАЦИОННОЙ УСТАНОВКИ
15.1. Оптимальный расход охлаждающей воды
15.2. График оптимальных расходов охлаждающей воды
15.3. Указания к расчету оптимальных расходов охлаждающей воды
Приложение 1. Технические данные конденсаторов паровых турбин
Приложение 2. Устройства для контроля за работой конденсатора
Приложение 3. Номенклатура рекомендуемых средств измерения давления в конденсаторе
Приложение 4. Основные технические характеристики циркуляционных насосов
Приложение 5. Технические данные основных эжекторов
Приложение 6. Основные технические характеристики конденсатных насосов
|