Банк рефератов содержит более 364 тысяч рефератов, курсовых и дипломных работ, шпаргалок и докладов по различным дисциплинам: истории, психологии, экономике, менеджменту, философии, праву, экологии. А также изложения, сочинения по литературе, отчеты по практике, топики по английскому.
Полнотекстовый поиск
Всего работ:
364139
Теги названий
Разделы
Авиация и космонавтика (304)
Административное право (123)
Арбитражный процесс (23)
Архитектура (113)
Астрология (4)
Астрономия (4814)
Банковское дело (5227)
Безопасность жизнедеятельности (2616)
Биографии (3423)
Биология (4214)
Биология и химия (1518)
Биржевое дело (68)
Ботаника и сельское хоз-во (2836)
Бухгалтерский учет и аудит (8269)
Валютные отношения (50)
Ветеринария (50)
Военная кафедра (762)
ГДЗ (2)
География (5275)
Геодезия (30)
Геология (1222)
Геополитика (43)
Государство и право (20403)
Гражданское право и процесс (465)
Делопроизводство (19)
Деньги и кредит (108)
ЕГЭ (173)
Естествознание (96)
Журналистика (899)
ЗНО (54)
Зоология (34)
Издательское дело и полиграфия (476)
Инвестиции (106)
Иностранный язык (62791)
Информатика (3562)
Информатика, программирование (6444)
Исторические личности (2165)
История (21319)
История техники (766)
Кибернетика (64)
Коммуникации и связь (3145)
Компьютерные науки (60)
Косметология (17)
Краеведение и этнография (588)
Краткое содержание произведений (1000)
Криминалистика (106)
Криминология (48)
Криптология (3)
Кулинария (1167)
Культура и искусство (8485)
Культурология (537)
Литература : зарубежная (2044)
Литература и русский язык (11657)
Логика (532)
Логистика (21)
Маркетинг (7985)
Математика (3721)
Медицина, здоровье (10549)
Медицинские науки (88)
Международное публичное право (58)
Международное частное право (36)
Международные отношения (2257)
Менеджмент (12491)
Металлургия (91)
Москвоведение (797)
Музыка (1338)
Муниципальное право (24)
Налоги, налогообложение (214)
Наука и техника (1141)
Начертательная геометрия (3)
Оккультизм и уфология (8)
Остальные рефераты (21692)
Педагогика (7850)
Политология (3801)
Право (682)
Право, юриспруденция (2881)
Предпринимательство (475)
Прикладные науки (1)
Промышленность, производство (7100)
Психология (8692)
психология, педагогика (4121)
Радиоэлектроника (443)
Реклама (952)
Религия и мифология (2967)
Риторика (23)
Сексология (748)
Социология (4876)
Статистика (95)
Страхование (107)
Строительные науки (7)
Строительство (2004)
Схемотехника (15)
Таможенная система (663)
Теория государства и права (240)
Теория организации (39)
Теплотехника (25)
Технология (624)
Товароведение (16)
Транспорт (2652)
Трудовое право (136)
Туризм (90)
Уголовное право и процесс (406)
Управление (95)
Управленческие науки (24)
Физика (3462)
Физкультура и спорт (4482)
Философия (7216)
Финансовые науки (4592)
Финансы (5386)
Фотография (3)
Химия (2244)
Хозяйственное право (23)
Цифровые устройства (29)
Экологическое право (35)
Экология (4517)
Экономика (20644)
Экономико-математическое моделирование (666)
Экономическая география (119)
Экономическая теория (2573)
Этика (889)
Юриспруденция (288)
Языковедение (148)
Языкознание, филология (1140)

Реферат: Металлургия цветных металлов

Название: Металлургия цветных металлов
Раздел: Рефераты по металлургии
Тип: реферат Добавлен 22:45:09 07 марта 2007 Похожие работы
Просмотров: 4755 Комментариев: 18 Оценило: 5 человек Средний балл: 4.4 Оценка: неизвестно     Скачать

Курсовая работа на тему:

Металлургия цветных металлов

Содержание

1. Введение

2. Описание технологии получения катодной меди

3. Выбор технологии плавки на штейне

4. Теоретические основы процесса Ванюкова

5. Расчет материального и теплового баланса

6. Заключение

Введение

Металлургия меди, а также других тяжелых цветных ме­таллов является ведущим звеном отечественной цветной металлур­гии. На долю тяжелых цветных металлов в РФ прихо­дится значительная часть валовой продукции отрасли.

Значение меди из года в год возрастает, особенно в связи с бурным развитием энергетики, электроники, машинострое­ния, авиационной, космической и атомной техники. Дальнейшее развитие и технический уровень медного и никелевого производств во многом определяют технический прогресс многих отраслей на­родного хозяйства нашей страны, в том числе микропроцессорной техники. Для получения меди используются всевозможные способы плавок, например, плавка медных концентратов в электрических, отражательных, шахтных печах, при использовании процесса конвертирования медных штейнов, благодаря автогенным плавкам во взвешенном состоянии, на штейне и др. На сегодняшний день существует несколько основных процессов автогенных плавок : процесс «Норанда», «Уоркра», «Мицубиси» и Ванюкова. К сожалению, разработка новый конструкций печей и различных процессов требует значительных капиталовложений, а свободный средств у Российских предприятий недостаточно. В данной курсовой работе будет рассмотрена технология А.В. Ванюкова или ПЖВ.

Технология получения катодной меди

Электролитическое рафинирование меди преследует две цели:

1) получение меди высокой чистоты (99,90—99,99% Си), удовлетворяющей требованиям большинства потребителей;

2) извлечение попутно с рафинированием благородных и других ценных компонентов (Se, Те, Ni, Bi и др.).

Следует отметить, что чем выше в исходной меди содержание благородных металлов, тем ниже будет себестоимость электролит­ной меди. Именно поэтому при конвертировании медных штейнов стремятся использовать в качестве флюса золотосодержащие кварциты.

Для осуществления электролитического рафинирования меди аноды, отлитые после огневого рафинирования, помещают в элект­ролизные ванны, заполненные сернокислым электролитом. Между анодами в ваннах располагаются тонкие медные листы — катод­ные основы.

При включении ванн в сеть постоянного тока происходит элек­трохимическое растворение меди на аноде, перенос катионов через электролит и осаждение ее на катоде. Примеси меди при этом в основном распределяются между шламом (твердым осадком на дне ванн) и электролитом.

В результате электролитического рафинирования получают катодную медь; шлам, содержащий благородные металлы; селен;

теллур и загрязненный электролит, часть которого иногда исполь­зуют для получения медного и никелевого купоросов. Кроме того, вследствие неполного электрохимического растворения анодов получают анодные остатки (анодный скрап).

Электролитическое рафинирование меди основано на различии ее электрохимических свойств и содержащихся в ней примесей. В таблице приведены нормальные электродные потенциалы меди и наиболее часто встречающихся в ней примесей.

Медь относится к группе электроположительных металлов, ее нормальный потенциал +0,34 В, что позволяет осуществлять процесс электролиза в водных растворах (обычно в сернокислых).

На катоде протекают те же электрохимические реакции, но в обратном направлении. Соотношение между одновалентной и двух­валентной медью в растворе определяется равновесием реакции диспропорционирования.

Следовательно, в состоянии равновесия концентрация в растворе ионов Сu+ примерно в тысячу раз меньше, чем кон­центрация ионов Си2+ . Тем не менее реакция имеет сущест­венное значение для электролиза. Она в частности определяет переход меди в шлам. В начальный момент вблизи анода в раст­воре соотношение двух- и одновалентной меди соответствует кон­станте равновесия. Однако вследствие большего заряда и меньшего ионного радиуса скорость перемещения двухвалентных ионов к катоду превышает скорость переноса ионов одновалентных. В ре­зультате этого в прианодном слое концентрация ионов Си2+ ста­новится выше равновесной и реакция начинает идти в сто­рону образования тонкого порошка меди, выпадающего в шлам.

Как указывалось выше, электролитическое рафинирование осу­ществляют в сернокислых растворах. Электроположительный потенциал меди позволяет выделить медь на катоде из кислых растворов без опасения выделения водорода. Введение в электро­лит наряду с медным купоросом свободной серной кислоты су­щественно повышает электропроводность раствора. Объясняется это большей подвижностью ионов водорода по сравнению с под­вижностью крупных катионов и сложных анионных комплексов.

Для улучшения качества катодной поверхности в электролиты для рафинирования меди на всех заводах обязательно вводят разнообразные поверхностно-активные (коллоидные) добавки:

клей (чаще столярный), желатин, сульфитный щелок. В процессе электролиза на поверхности катода могут образо­вываться дендриты, что уменьшает в данном месте расстояние между катодом и анодом. Уменьшение межэлектродного расстоя­ния ведет к уменьшению электрического сопротивления, а следо­вательно, к местному увеличению плотности тока. Последнее в свою очередь обусловливает ускоренное осаждение меди на дендри­те и ускоренный его рост. Начавшийся рост дендрита в конечном итоге может привести к короткому замыканию между катодом и анодом. При наличии дендритов сильно развитая поверхность ка­тода удерживает большое количество электролита и плохо промы­вается, что не только ухудшает качество товарных катодов, но и может вызвать брак катодной меди по составу. Одно из объясне­ний механизма действия поверхностно-активных веществ заклю­чается в том, что они адсорбируются на наиболее активных частях поверхности и при этом вызывают местное повышение элек­трического сопротивления, что и препятствует росту дендрита. В результате поверхность катодов получается более ровной, а катод­ный осадок более плотным. После выравнивания катодной поверх­ности коллоидная добавка десорбирует в электролит.

Растворы коллоидных добавок непрерывно вводят в циркули­рующий электролит. Вид и расход поверхностно-активных веществ различны для каждого предприятия. Обычно применяют одновре­менно две добавки. На 1 т получаемой катодной меди расходуют 15—40 г клея, 15—20 г желатина, 20—60 г сульфитных щелоков или 60—100 г тиомочевины.

Основными требованиями, предъявляемыми к электролиту, явля­ются его высокая электропроводность (низкое электрическое сопротивление) и чистота. Однако реальные электролиты, помимо сульфата меди, серной кислоты, воды и необходимых добавок, обязательно содержат растворенные примеси, содержащиеся до этого в анодной- меди. Поведение примесей анодной меди при электролитическом рафинировании определяется их положением в ряду напряжений. По электрохимическим свойствам примеси можно разделить на четыре группы:

I группа — металлы более электроотрицательные, чем медь (Ni, Fe, Zn и др.);

II группа — металлы, близко стоящие в ряду напряжений к-меди (As, Sb, Bi);

III группа — металлы более электроположительные, чем медь (Au, Ag и платиноиды);

IV группа — электрохимически нейтральные в условиях рафи­нирования меди химические соединения (Cu2S, Cu2Se, Cu2Te, AuTe2, Ag2Te).

Примеси первой группы, обладающие наиболее электроотрица­тельным потенциалом, практически полностью переходят в электро­лит. Исключение составляет лишь никель, около 5% которого из анода осаждается в шлам в виде твердого раствора никеля в меди. Твердые растворы по закону Нернста становятся даже более электроположительными, чем медь, что и является причиной их перехода в шлам.

Особо по сравнению с перечисленными группами примесей-ведут себя свинец и олово, которые по электрохимическим свой­ствам относятся к примесям I группы, но по своему поведению в процессе электролиза могут быть отнесены к приме­сям III и IV групп. Свинец и олово образуют нерастворимые в сернокислом растворе сульфат свинца PbS04 и метаоловянную кислоту H2SnO3. Электроотрицательные примеси на катоде в условиях электро­лиза меди практически не осаждаются и постепенно накаплива­ются в электролите. При большой концентрации в электролите металлов первой группы электролиз может существенно рас­строиться.

Накопление в электролите сульфатов железа, никеля и цинка снижает концентрацию в электролите сульфата меди. Кроме того, участие электроотрицательных металлов в переносе тока через электролит усиливает концентрационную поляризацию у катода.

Электроотрицательные металлы могут попадать в катодную медь в основном в виде межкристаллических включений . раство­ра или основных солей, особенно при их значительной концентра­ции в электролите. В практике электролитического рафинирования меди не рекомендуется допускать их концентрацию в растворе свыше следующих значений, г/л: 20 Ni; 25 Zn; 5 Fe.

Примеси II группы (As, Sb, Bi), имеющие близкие к меди электродные потенциалы, являются наиболее вредными с точки зре­ния возможности загрязнения катода. Будучи несколько более электроотрицательными по сравнению с медью, они полностью растворяются на аноде с образованием соответствующих суль­фатов, которые накапливаются в электролите. Однако сульфаты этих примесей неустойчивы и в значительной степени подверга­ются гидролизу, образуя основные соли (Sb и Bi) или мышьяко­вистую кислоту (As). Основные соли сурьмы образуют плавающие в электролите хлопья студенистых осадков («плавучий» шлам), которые захватывают частично и мышьяк.

В катодные осадки примеси мышьяка, сурьмы и висмута могут попадать как электрохимическим, так и механическим путем в результате адсорбции тонкодисперсных частичек «плавучего» шлама. Таким образом, примеси II группы распределяются между электролитом, катодной медью и шламом. Предельно допустимые концентрации примесей II группы в электролите составляют, г/л:

9 As; 5 Sb и 1,5 Bi.

Более электроположительные по сравнению с медью примеси (III группа), к которым относятся благородные металлы (главным образом, Au и Ag), в соответствии с положением в ряду напряже­ний должны переходить в шлам в виде тонкодисперсного остатка. Это подтверждается практикой электролитического рафинирования меди.

Переход золота в шлам составляет более 99,5% от его содер­жания в анодах, а серебра — более 98%. Несколько меньший переход серебра в шлам по сравнению с золотом связан с тем, что серебро способно в небольшом количестве растворяться в электролите и затем из раствора выделяться на катоде. Для умень­шения растворимости серебра и перевода его в шлам в состав электролита вводят небольшое количество иона хлора.

Несмотря на практически полный переход золота и серебра в шлам, они все же в небольшом количестве попадают в катодные осадки. Объясняется это механическим захватом взмученного шлама и отчасти явлением катофореза. На механический перенос шлама на катод влияют применяемая плотность тока и взаимосвя­занная с ней скорость циркуляции электролита. С увеличением скорости циркуляции вследствие взмучивания шлама переход золо­та и серебра на катод возрастает. При выборе плотности тока и способа циркуляции электролита необходимо учитывать содержание благородных металлов в анодах. В случае их повышенного содер­жания плотность тока должна быть меньше. Снижению переноса шлама на катод способствует также наличие в ванне зоны отстаи­вания (область от нижнего конца катода до дна ванны). На многих заводах электролит перед его возвращением в ванну в цикле цирку­ляции подвергают фильтрованию, что уменьшает потери шлама и обеспечивает получение более чистой меди.

Аналогично электроположительным примесям ведут себя при электролизе меди химические соединения (примеси IV группы). Хотя в принципе химические соединения и могут окисляться на аноде и восстанавливаться на катоде, что используют в специаль­ных процессах, в условиях электролитического рафинирования меди анодного потенциала недостаточно для их окисления. Поэтому при электролизе меди в электродных процессах они не участвуют и по мере растворения анода осыпаются на дно ванны. В виде селенидов и теллуридов переходят в шлам более чем 99% селена и теллура.

Таким образом, в результате электролитического рафинирования анодной меди все содержащиеся в ней примеси распределяются между катодной медью, электролитом и шламом'.

Основными характеристиками, определяющими параметры и пока­затели электролитического рафинирования меди, являются плот­ность тока, выход металла по току, напряжение на ванне, удельный расход электроэнергии.

Плотность тока является важнейшим параметром процесса элек­тролиза. Она выражается в амперах на единицу поверхности элек­трода ( D = I / S ). В металлургии меди ее принято выражать в ампе­рах на квадратный метр площади катодов. По закону Фарадея на каждый 1 А • ч электричества осаждается 1 электрохимический эквивалент металла. Для меди он равен 1,1857 г/А • ч. Следова­тельно, с увеличением плотности тока интенсивность (производи­тельность) процесса электролиза возрастает. Величина плотности тока, при которой проводят процесс элек­тролитического рафинирования, определяет все его основные техни­ко-экономические показатели: напряжение на ванне, выход по току, расход электроэнергии, а также капитальные и эксплуатационные затраты. С увеличением плотности тока при прочих равных услови­ях увеличивается производительность цеха, уменьшаются число потребных ванн, затраты на капитальное строительство и рабочую силу, но возрастают затраты на электроэнергию. Следует отметить, однако, что с увеличением плотности тока увеличиваются потери благородных металлов за счет большего взмучивания шлама и захвата его растущим катод­ным осадком. В настоящее время применение особых режимов элек­тролиза (реверсивного тока, измененной системы циркуляции элек­тролита и др.) позволяет довести плотность тока до 500 А/м2 и более.

Электрохимический эквивалент меди составляет 1,1857 г/А • ч. Однако практически при электролизе для выделения 1 г-экв метал­ла расходуется электричества больше. Это кажущееся противоречие объясняется тем, что часть электрического тока расходуется на побочные электрохимические процессы и утечку тока. Степень использования тока на основной электрохимический процесс назы­вается выходом металла по току.

В практике электрометаллургии цветных металлов в большин­стве случаев приходится иметь дело с катодным выходом по току, так как масса катодного осадка определяет конечный выход товар­ной продукции. Преднамеренный повышенный перевод меди в электролит за счет химического растворения часто обусловливают конъюнктурными соображениями. Избыточная медь может быть выделена из электроли­та в виде медного купороса при его регенерации. В тех случаях, когда потребность в медном купоросе, используемом в основном для борьбы с болезнями и вредителями сельскохозяйственных растений, очень велика (например, в НРБ), допускается работа электролиз­ных цехов с повышенной температурой электролита.

Выбор технологии плавки на штейне

Почти столетие в металлургии меди и около полувека в металлур­гии никеля (в Канаде) «господствует» отражательная плавка. Свое широкое распространение она получила благодаря освоенности плавки применительно к переработке различных видов мелких руд­ных материалов, главным образом флотационных концентратов, простоте организации процесса почти в любых условиях металлургического производства. Основными причинами острой необходи­мости замены отражательной плавки стали высокие требования к предотвращению загрязнения окружающей среды выбросами окси­дов серы. В условиях отражательной плавки, характеризующейся образованием огромных количеств очень бедных по SO2 газов, их обезвреживание требует больших капитальных затрат и обходится дорого в эксплуатации. В связи с этим, а также в связи с необхо­димостью активного использования теплотворной способности суль­фидов и ряда других рассмотренных выше факторов были разрабо­таны и освоены новые способы плавки медного сырья. Главным образом это — автогенные процессы, совмещающие в себе обжиг, плавку и конвертирование. В этих процессах большая часть серы переходит в отходящие газы с достаточно высоким и постоянным содержанием SO2.

Ниже приведены сравнительные основные технико-эконо­мические показатели применяемых в настоящее время в медной промышленности пирометаллургических процессов.

Уже в начальной стадии освоения процесса плавки в жидкой ванне достигнута удельная производительность, превышающая более чем в 15 раз производительность отражательной печи при плавке сырой шихты, и в 6—8 раз производительность КВП и фин­ской технологии. Возможно широкое управление составом штейна и получение на богатых штейнах относительно бедных отвальных шлаков.

Процесс характеризуется низким пылеуносом и получением возгонов, богатых по содержанию ценных компонентов. Для осущест­вления процесса создана надежная и долговечная аппаратура. Про­цесс не требует сложной подготовки сырья и пригоден для переработки как кусковой руды, так и концентратов различного состава. По своим показателям он превосходит все известные в мировой практике процессы. Процесс следует считать в основном освоенным и заслуживающим широкого и быстрого внедрения в отечественной медной и никелевой промышленности.

Помимо основного использования для плавки сульфидных кон­центратов на штейн, плавка в жидкой ванне пригодна для более широкого применения. При внедрении процесса в жидкой ванне необходимо учитывать его возможности, пути и направления раз­вития, которые будут осуществляться уже в недалеком будущем.

К перспективным направлениям относятся прежде всего прямое получение черновой меди и глубокое обеднение шлаков, прямое получение медно-никелевого файнштейна, плавка коллективных медно-цинковых концентратов, комплексная переработка отвальных шлаков. Заслуживает внимания также использование принципов плавки в жидкой ванне для переработки окисленных никелевых и железных руд.

Сравнительные технико-экономические показатели некоторых видов плавки сульфидных медных концентратов

Показатель ПЖВ КФП Финская КИ ВЦЭТ Норанда Мицубиси Отража­тельная плавка сырой шихты

Удельный проплав,

т/(м2 • сут)

60—80

10—13

9—12

3—5

10—11

До 20

4—5

Содержание меди, %:

в штейне

45—55

37—40

60

40—50

70-75

65

20—30

в шлаке (без обед­

нения)

0,5—0,6

До 1,2

1—1,5

0,3—0,6

5

0,5

0,4—0,5

Содержание Si02 в

шлаке, %

30—32

28—34

29—30

30—34

22

30—35

34—42

Влажность шихты, % 6—8 <1 <1 <1 10—13 <1 6—8

Максимальная круп­

ность шихты, мм

До 50

0,1

0,1

0,1

10

1

5

Пылевынос, % 1 9—12 7—10 5 3—5 1—2

Содержание Оа в

дутье, %

60—65

95

35—40

95

26—28

45

До 25

Содержание SOz в

газах, %

20—40

70—75

18—20

35—50

6—7

35

1—2

Расход условного топ­

лива, %

До 2

До 2

До 5

10—12

9—10

3—5

18—22

Процесс ПЖВ обеспечивает лучшую производительность среди всех типов процессов, превосходя их на десятки процентов. Содержание меди в штейне составляет порядка 45-55%, что является средним уровнем; в шлаке меди, фактически, минимальное количество, допустимое сегодняшними технологиями. Благодаря этому процессу достигается уверенное распределение 30% SiO2 в шлак. Процесс может перерабатывать достаточно крупную шихту, что снижает затраты на ее измельчение и обработку. Низкий расход топлива также вносит свою лепту в то, что технологический процесс А.В.Ванюкова один из лучших по своим технико-экономическим показателям.

Процесс плавки в жидкой ванне (ПЖВ)

Оригинальный процесс автогенной плавки сульфидных мед­ных и медно-цинковых концентратов, названный авторами данной книги «плавкой в жидкой ванне», начал разрабатываться в Совет­ском Союзе в 1951 г Дальнейшие разработка и внедрение до 1986 г. велись под общим научным руководством проф. А. В. Ванюкова.

Первые испытания этого метода плавки были проведены в лабо­раторных и заводских условиях в 1954—1956 гг. В настоящее время по методу плавки в жидкой ванне работают промышленные установки на медном заводе Норильского ГМК и Балхашском горнометаллургическом комбинате.

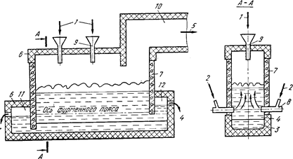
Схема печи для плавки в жидкой ванне:

1 — шихта; 2 — дутье; 3 — штейн; 4 — шлак; 5 — газы; 6 — кладка печи; 7 — медные литые кес­соны; 8 — фурмы; 9 загрузочная воронка; 10 — аптейк; 11 — штейновый сифон; 12 шлаковый сифон

Процесс ПЖВ запатентован в ряде зарубежных стран. При разработке процесса плавки в жидкой ванне ставилась задача создания максимально благоприятных условий для проте­кания всех физико-химических процессов. Предложено несколько вариантов технологического и аппара­турного оформления процесса в зависимости от состава исходного сырья и конечных результатов его переработки. Рассмотрим работу плавильной печи для автогенной и полуавтогенной плавки сульфид­ных медных концентратов с получением богатого штейна. Для осуществления процесса плавки предложено использовать частично кессонированную печь шахтного типа. Оптимальная длина промышленных печей определяется потреб­ной единичной мощностью агрегата, т. е. его абсолютной суточной производительностью, и может изменяться от 10 до 30 м и более. Ширина печей при этом с учетом возможностей дутьевого хозяйства и свойств расплавов составляет 2,5—3, высота шахты 6—6,5 м. Отличительной особенностью конструкции печи является высокое расположение дутьевых фурм над подом (1,5—2 м).

Содержание кислорода в дутье для обеспечения автогенного режима при плавке сухой шихты с влажностью менее 1—2% со­ставляет 40—45%, влажной (6—8% влаги) 55—65%. В печи можно плавить как мелкие материалы, так и кусковую шихту. Крупную и влажную шихту загружают непосредственно на поверхность рас­плава. При необходимости сухие мелкие и пылевидные материалы могут вдуваться через фурмы. Таким образом, плавление шихты и окисление сульфидов в процессе ПЖВ осуществляются непосред­ственно в слое расплава.

Шлак и штейн выпускаются раздельно из нижней части ванны с помощью сифонов.

Характерной особенностью плавки в жидкой ванне, отличающей ее от всех рассмотренных ранее процессов, является то, что плав­ление и окисление сульфидов осуществляются в ванне шлака, а не штейна, и шлак движется в печи не в горизонтальном направлении, как это имеет место во всех известных процессах плавки, а в верти­кальном — сверху вниз.

Горизонтальной плоскостью по осям фурм расплав в печи делит­ся на две зоны: верхнюю надфурменную (барботируемую) и ниж­нюю подфурменную, где расплав находится в относительно спокой­ном состоянии.

В надфурменной зоне осуществляются плавление, растворение тугоплавких составляющих шихты, окисление сульфидов и укрупне­ние мелких сульфидных частиц. Крупные капли сульфидов быстро оседают в слое шлака, многократно промывая шлак за время его движения сверху вниз в подфурменной зоне. При непрерывном осу­ществлении процесса устанавливается динамическое равновесие между количеством поступающих с загрузкой мелких сульфидных частиц, скоростью их укрупнения и отделения от шлака. В резуль­тате одновременного протекания этих процессов устанавливается постоянное содержание сульфидов (капель) в шлаке, лежащее на уровне 5—10% от массы расплава. Таким образом, все процессы в надфурменной области протекают в шлако-штейновой эмульсии, в которой преобладает шлак.

Окисление сульфидов, как известно, является очень быстрым процессом и обычно не ограничивает конечную производительность агрегатов. В производственных процессах желательно не только не повышать, но даже замедлять скорость окисления сульфидов. Дей­ствительно, большие скорости окисления сульфидов, например при продувке жидких сульфидов кислородом, приводят к чрезмерному повышению температуры в области фурм.

Окисление сульфидов в шлако-штейновой эмульсии протекает менее интенсивно, чем в сульфидном расплаве, фокус горения рас­тягивается, что позволяет избежать локального повышения темпе­ратуры в области фурм даже при использовании чистого кислорода. Это в свою очередь облегчает задачу создания надежной и дол­говечной аппаратуры. При этом скорость окисления остается доста­точно высокой и степень использования кислорода на окисление сульфидов практически равна 100% при любом необходимом его количестве, подаваемом в расплав. Таким образом, и при окислении сульфидов в шлако-штейновой эмульсии скорость их окисления не лимитирует производительности агрегата. Возможность интенсив­ного окисления сульфидов в шлако-штейновой эмульсии без боль­шого локального повышения температуры в области фурм является важным достоинством плавки в жидкой ванне.

Окисление сульфидов в шлако-штейновой эмульсии представля­ет собой сложный многостадийный процесс, состоящий из окисле­ния капелек штейна, окисления растворенных в шлаке сульфидов, окисления FeO шлака до магнетита и окисления сульфидов магне­титом. Таким образом, шлак также является передатчиком кисло­рода. По последним данным, наибольшее значение имеет стадия окисления сульфидов, растворенных в шлаке.

Характерная особенность окисления сульфидов в шлако-штейно­вой эмульсии состоит в том, что оно не сопровождается образова­нием первичных железистых шлаков и выпадением мелких суль­фидных частиц. Оксиды, образующиеся на поверхности сульфидных капель, немедленно растворяются в шлаке конечного состава.

Отсутствие условий для образования значительных количеств мелкой сульфидной взвеси является важным достоинством плавки в жидкой ванне, создающим предпосылки для получения бедных отвальных шлаков.

Высокая степень использования кислорода обеспечивает про­стое управление составом штейна и соотношением количеств пода­ваемого через фурму кислорода и загружаемых за то же время концентратов. Состав штейна можно регулировать в широком диа­пазоне вплоть до получения белого матта или даже черновой меди. Напомним, что потери меди со шлаком начинают резко воз­растать, когда ее содержание в штейне превысит 60%. Поэтому при плавке на штейн, если в технологической схеме не предусматрива­ется специальное обеднение шлака, увеличивать содержание меди в штейне свыше 50—55% нецелесообразно. При получении белого матта или черновой меди в технологическую схему должна обяза­тельно включаться операция обеднения шлаков.

Растворение тугоплавких составляющих шихты является одним из относительно медленных процессов. Энергичный барботаж ванны резко ускоряет процесс растворения кварца и компонентов пустой породы, что позволяет использовать даже сравнительно крупные флюсы. Промышленные испытания показали, что при крупности кварца около 50 мм скорость его растворения не влияет на произ­водительность печи, по крайней мере, вплоть до удельного пропла­ва, равного 80 т/(м2 • сут). Высокая скорость растворения туго­плавких составляющих является важной особенностью плавки в жидкой ванне.

Минимальное содержание магнетита в шлаках — обязательное условие совершенного плавильного процесса. Как уже говорилось, с увеличением содержания магнетита резко возрастает содержание растворенной меди в шлаках. Кроме того, повышение содержания магнетита (степени окисленности системы) приводит к снижению межфазного натяжения на границе раздела штейна и шлака.

ИСХОДНЫЕ ДАННЫЕ РАСЧЕТОВ

1. Производство по влажному концентрату т/час 80
2. Состав концентрата %
Cu 17
Fe 28
S 36
SiO2 5
CaO 3
MgO 0
Al2O3 0
Zn 6
Pb 2
3. Влажность 5
4. Обогащение дутья 85
5. Содержание меди в штейне 45
6. Извлечение меди в штейн 97
7. Выход в штейн
Pb 20
Zn 35
8. Выход в газ
Pb 22
Zn 12
9. Состав кварцевого флюса
Si02 70
Влажн. 6
10. Состав шлака
Si02 33
Ca0 6
11. Подача конверторного шлака Т/час 10
12. Температура конверторного шлака C 1200
13. Температура продуктов C 1250
14. Состав топлива %
CH4 0
C 95
Влажн. 6
15. Тепло сгорания природного газа Ккал/м3 0

85% концентрата меди в виде халькопирита. Извлечение Cu из конверторного шлака – 80%. Состав конверторного шлака : Cu – 3%, Fe – 52%, SiO2 – 24%/

Содержание прочих в штейне – 1%.

Содержание O2 в техническом кислороде 96% (остальное N2)

Концентрация магнетита в конверторном шлаке – 30%.


Расчет основных сульфидных минералов

Дополним систему еще одним уравнением:

Таблица рационального состава концентрата

CuFeS2 CuS Cu2S FeS2 ZnS PbS CaCO3 MgCO3 SiO2 Al2O3 Проч. Всего
Cu 14,45 0,13 2,41 - - - - - - - - 17
Fe 12,71 - - 15,29 - - - - - - - 28
S 14,56 0,07 0,61 17,52 2,94 0,31 - - - - - 36
Zn - - - - 6 - - - - - - 6
Pb - - - - - 2 - - - - - 2
SiO2 - - - - - - - - 5 - - 5
CaO - - - - - - 3 - - - - 3
CO2 - - - - - - 2,35 - - - - 2,35
Проч. - - - - - - - - - - 0,65 0,65
Всего 41,72 0,2 3,02 32,81 8,94 2,31 5,35 - 5 - 0,65 100

Расчет состава конверторного шлака

Исходные данные:

Cu – 3%

Fe – 52%

SiO2 – 24%

Fe3O4 – 30%

Компонент Кг %
SiO2 3,16 24
Cu 0,39 3
Fe 6,84 52
O 2,28 17,32
Прочие 0,48 3,68
Итого 13,16 100

Зададим извлечение Cu в штейн

Извлечение Cu из конвертерного шлака – 80%

Извлечение Cu в штейн из концентрата – 97%

Расчет состава и количества штейна

Cодержание Cu в штейне – 45%.

Cодержание S в штейне – 25%

Компонент Кг %
Cu 16,8 45
Fe 7,28 19,51
S 9,33 25
Pb 0,4 1,07
Zn 2,1 5,62
O 1,04 2,8
Прочие 0,37 1
Всего 37,33 100

Расчет самоплавкого шлака

При

Компонент Кг % Норма, %
Si02 8,16 15,35 33
Fe 27,56 51,83
Pb 1,16 2,18
Zn 3,18 5,98
CaO 3 5,64 6
O 8,76 16,47
Cu 0,59 1,11
Прочие 0,76 1,43
Всего 53,17 100
Балансовое уравнение по кремнезему

Балансовое уравнение по кальцию

Дано:

Cостав флюса

1) SiO2-70% 2) СaO – 56%

Прочие – 30% Прочие – 0,08%

W=6 W=0

Компонент Кг %
SiO2 27,05 33
Fe 27,56 32,63
Pb 1,16 1,41
Zn 3,18 3,88
CaO 4.92 6
Cu 0,59 0,07
O 8,76 10,69
Прочие 8,85 10,80
Всего 81,96 100

W=6

Расчет необходимого количества дутья

FeS + 3/2O2 = FeO + SO2

1/2S2 + O2 = SO2

PbS + 3/2O2 = PbO + SO2

ZnS + 3/2O2 = ZnO + SO2

Компонент Кг Нм3 %
SO2 53,34 18,67 55,17
N2 5,27 4,22 12,47
H2O 6,98 8,69 25,68
CO2 3,85 1,96 5,79
Pb 0,44 0,05 0,15
Zn 0,72 0,25 0,74
Итого 70,6 33,84 100

Материал Кол-во Cu Fe S SiO2 O2 CaO N2 H2O CO2 Pb Zn
Загружено
1. К-т

105,26

17 28 36 5 3 5,26 2,35 2 6
2. Кварц

28,70

18.89 1.72
3. Изв-к

3.42

1.92 1.5
4. Кон.шл.

13.16

0,39 6,84 3,16 2,28
5. Воздух

5.30

1.24 4.06
6. Т.К.

34.16

32.96 1.20
Всего

190

17,39 34,84 36 27.05 36.48 4.92 5.26 6.98 3.85 2 6
Получено
1. Штейн

37,33

16,80 7.28 9.33 1.04 0,4 2,1
2. Шлак

81,96

0,59 27,56 27.05 8.76 4.92 1,16 3,18
3. Газы

70.6

26.67 26.67 5.26 6.98 3.85 0,44 0,72
Всего

190

17.39 34.84 36 27.05 36.48 4.92 5.26 6.98 3.85 2 6

Расчет тепла

Расчет прихода тепла

1.

2.

а) FeS + 3/2O2 = FeO + SO2 + 11025

б) 1/2S2 + O2 = SO2 +70900

в) ZnS + 3/2O2 = SO2 + ZnO +105560

г) PbS + 3/2O2 = SO2 + PbO +99760

д) 2FeO + SiO2 = (FeO)2 * SiO2 + 22200

е) CaO + SiO2 = CaO*SiO2 +21500

а)

б)

2CuFeS2 = Cu2S + 2FeS + 1/2S2

FeS2 = FeS +1/2S2

2CuS = Cu2S + 1/2S2

в)

г)

д)

е)

Расчет расхода тепла

На нагрев от 25 до 100 C

Эндотермические реакции

1) 4CuFeS2 - 2Cu2S + 4FeS + S2 - 78600

2) 2FeS2 - 2FeS + S2 - 64600

3) CuS - ½Cu2S + ¼ S2 - 10675

4) CaCO3 - CaO + CO2 - 42500

Потери тепла

Примем потери = 15% от 15607,47 ккал

Расчет необходимого количества дутья

На 1 кг угля.

С = 95 % 0,893
Проч = 5 % 0,047
W = 6% 0,06
Итого 1 кг

С + O2 = CO2 + 94052 ккал

Окончательный состав отходящих газов

Компонент Кг Нм3 %
SO2 53,34 18.67 53.83
CO2 5.01 2.55 7.35
N2 5.52 4.42 12.74
H2O 7.02 8.74 25.20
Pb 0.44 0.05 0.14
Zn 0.72 0.25 0.72
Всего 72.05 34.68 100

Баланс по теплу

Приход Ккал Расход Ккал
Горение топлива 4857,33 Тепло шлака 30132,28
Тепло к.шлака 4638,9 Тепло штейна 10289,08
Тепло реакций окисления 79526,19 Тепло отходящих газов 20751,2
Реакции шлакообразования 6193,82 Испарение влаги 4290,22
Эндотерм. Реакции 15607.47
Потери 14146,15
Всего 95216.24* Всего 95216.4*

*Погрешность вычислений = 0,000168%

Заключение

В данной курсовой работе был составлен тепловой и материальный баланс процесса плавки на штейне на примере плавки в жидкой ванне или процессе А.В.Ванюкова, который был выбран из-за своих технико-экономических показателей.

Технологический процесс А.В.Ванюкова позволил перевести в конверторный шлак 24% кварца, 3% меди, 52% железа, 17,32% кислорода; в 45%-тый медный штейн: почти 20% железа, 25% серы; в шлак после добавления кварцевого и известнякового флюсов перешло: 33% кварца и 6% оксида кальция (согласно требуемым показателям), а также 33.63% железа и около 0.6% меди.

В работе также был рассчитан тепловой баланс процесса, что позволило сделать следующие выводы: тепло на нагрев конверторного шлака составило 4638,9 ккал, на реакции окисления и шлакообразования: 85720,01 ккал, на нагрев штейна, шлака и отходящих газов с учетом требуемого топлива в размере 0,694 кг угля (95% C, 5% прочих) : 10289.08 ккал, 30132,28 ккал и 20751,2 ккал соответственно. Испарение влаги потребовало 4290,22 ккал, а потери составили 14146,15 ккал.

Отходящие газы приняли окончательный вид: SO2 ~ 53,83%, CO2 ~ 7,35%, N2 ~ 12,74%. Необходимо заметить то, что объем требуемого дуться на сжигание 0,694 кг топлива составил 1,36 нм3.

Таким образом, на примере данной работы, мы еще раз убедились в том, что процесс плавки по технологии А.В.Ванюкова является одним из лучших по своим технико-экономическим показателям, и, я надеюсь, что с развитием науки и появлением свободных денежных средств у предприятий, а также НИИ, позволит в будущем его усовершенствовать.

Оценить/Добавить комментарий
Имя
Оценка
Комментарии:
Срочная помощь учащимся в написании различных работ. Бесплатные корректировки! Круглосуточная поддержка! Узнай стоимость твоей работы на сайте 64362.ru
23:28:30 10 сентября 2021
Если Вам нужна помощь с учебными работами, ну или будет нужна в будущем (курсовая, дипломная, отчет по практике, контрольная, РГР, решение задач, онлайн-помощь на экзамене или "любая другая" учебная работа...) - обращайтесь: https://clck.ru/P8YFs - (просто скопируйте этот адрес и вставьте в браузер) Сделаем все качественно и в самые короткие сроки + бесплатные доработки до самой сдачи/защиты! Предоставим все необходимые гарантии.
Варлаам04:18:05 24 июня 2020
Привет студентам) если возникают трудности с любой работой (от реферата и контрольных до диплома), можете обратиться на FAST-REFERAT.RU , я там обычно заказываю, все качественно и в срок) в любом случае попробуйте, за спрос денег не берут)
Olya03:33:07 25 августа 2019
.
.03:33:06 25 августа 2019
.
.03:33:05 25 августа 2019

Смотреть все комментарии (18)
Работы, похожие на Реферат: Металлургия цветных металлов

Назад
Меню
Главная
Рефераты
Благодарности
Опрос
Станете ли вы заказывать работу за деньги, если не найдете ее в Интернете?

Да, в любом случае.
Да, но только в случае крайней необходимости.
Возможно, в зависимости от цены.
Нет, напишу его сам.
Нет, забью.



Результаты(286392)
Комментарии (4153)
Copyright © 2005-2021 HEKIMA.RU [email protected] реклама на сайте