|
Согласно
СНиП II-12-77 нормативные
значения. Индекс
изоляции воздушного
шума
Находим
величину
толщина звукоизолирующего слоя в обжатом состоянии.
По табл. 14 индекс изоляции воздушного шума для данного перекрытия:
Определяем
индекс приведённого
уровня ударного
шума
Частота колебаний пола, лежащего на звукоизоляционном слое:
По
табл.17
Согласно проведённым расчётам конструкция удовлетворяет нормативным значениям звукоизоляции. Теплотехнический расчёт. Расчёт ведём для перекрытий верхнего этажа и наружных стен.
Исходные данные: материал стен – два слоя кладки из кирпича глиняного обыкновенного; слой утеплителя – полужестких минераловатных плит на синтетическом вяжущем ГОСТ 12394-86; воздушная прослойка (в расчётах не учитываем); по внутренней и наружной поверхности стены – слоем известково-песчаного раствора (рис.1).
Рис.1.
Коэффициент
теплопередачи
:
Коэффициент
теплоотдачи
в зимних условиях
для наружных
стен:
Требуемое термическое сопротивление ограждающей конструкции определяем из условий энергосбережения. Климатические данные для условий города Перми :
Температура
начала отопительного
периода :
Продолжительность
отопительного
периода :
Температура
наиболее холодной
пятидневки
:
Зона влажности : Н (СНиП 2.01.01-82).
Расчёт
ведём для дошкольного
заведения,
следовательно,
относительная
влажность
внутри помещения
– нормальная,
φ=50%, температура
внутреннего
воздуха
| ||||||||||||||||||||||||||||||||||||||||||||||||||||||||||||||||||||||||||||||||||||||||||||||||||||||||||||||||||||||||||||||||||||||||||||||||||||||||||||||||||||||||||||||||||||||||||||||||||||||||||||||||||||||||||||||||||||||||||||||||||||||||||||||||||||||||||||||||||||||||||||||||||||||||||||||||||||||||||||||||||||||||||||||||||||||||||||||||||||||||||||||||||||||||||||||||||||||||||||||||||||||||||||||||||||||||||||||||||||||||||||||||||||||||||||||||||||||||||||||||||||||||||||||||||||||||||||||||||||||||||||||||||||||||||||||||||||||||||||||||||||||||||||||||||||||||||||||||||||||||||||||||||||||||||||||||||||||||||||||||||||||||||||||||||||||||||||||||||||||||||||||||||||||||||||||||||||||||||||||||||||||||||||||||||||||||||||||||||||||||||||||||||||||||||||||||||||||||||||||||||||||||||||||||||||||||||||||||||||||||||||||||||||||||||||||||||||||||||||||||||||||||||||||||||||||||||||||||||||||||||||||||||||||||||||||||||||||||||||||||||||||||||||||||||||||||||||||||||||||
|
№ п/п |
Наименование материала |
|
|
|
|
| 1 |
Железобетонная плита покрытия |
2500 | 0.22 | 2.04 | 0.142 |
| 2 |
Пароизоляция из двух слоёв рубероида на битумной мастике. |
600 | 0.01 | 0.17 | 0.59 |
| 3 |
Утеплитель – пенополеуретан ТУ 67-98-75 |
300 | Х | 0.04 |
Определяем толщину утеплителя перекрытия, исходя из условий энергосбережения. Для этого сначала определяем величину градусо-суток отопительного периода:
![]()
Отсюда определяем требуемое термическое сопротивление по изменению 3 к СНиП II-3-79**:
![]()
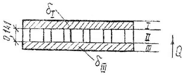
Перед определением толщины утеплителя, рассчитываем приведённое термическое сопротивление железобетонной панели перекрытия с пустотами, так как такая конструкция является неоднородной. Расчёт производим для панели шириной 1.2 м. Поперечный разрез изображён на рис.3.
Заменяем круглые отверстия квадратными:
Рис.3

![]()
![]()
Расчёт будем вести для участка панели длиной 1м.
А) Часть панели с расчётной площадью 1.19·1 м разрезаем плоскостями, параллельными направлению теплового потока Q, получаем участки I и II рис.4.
Рис.4

Участок I состоит из одного слоя – железобетона. Суммарная длина:
![]()
![]()
![]()
Участок II состоит из трёх слоёв: 2 слоя железобетона и воздушная прослойка. Суммарная длина:
![]()
,
![]()
![]()
Термическое сопротивление для участка I :
![]()
Термическое сопротивление для участка II определяем как для однородной многослойной конструкции рис.5:
![]()
где
(СНиП II-3-79**).
Среднее термическое сопротивление I и II участка панели:

Б) Разрезаем ту же рабочую площадь панели плоскостями, перпендикулярными тепловому потоку Q, на 3 слоя рис.4.
Рис.4.

Участок I и II состоят из однородного материала – железобетона.
![]()
![]()
Общее термическое сопротивление:

![]()
Разница
между
![]()
![]()
Определяем приведённое термическое сопротивление ограждающей конструкции:
![]()
Принимаем:
![]()
Термическое сопротивление утеплителя:

Толщина утеплителя:
![]()
Для проверки фактическое сопротивление теплопередаче чердачного перекрытия:

![]()
Термическое сопротивление принимаемых конструкций больше минимального нормативного, следовательно конструкции запроектированы верно и применятся в строительстве объекта могут.
Функциональный процесс.
Дети заходят через центральные входы в приёмные своих групп (через холлы и лестницу поднимаются на второй этаж).
В игровых помещениях персонал накрывает на стол и приносит завтрак из пищеблока. После завтрака посуда убирается, столы остаются. Дети играют в игровых помещениях. После 11-и часов дети идут гулять (одеваясь в приёмных в зимнее время).
Прогулки происходят на прилегающих специально оборудованных игровых площадках, возможен выход детей с воспитателями за территорию детского сада для посещения культурных учреждений и экскурсий.
Доступ в бассейн осуществляется через тёплый переход с первого этажа в любое время года. Процесс занятий детей в бассейне происходит следующим образом: дети приходят в бассейн по тёплому переходу. Раздеваются в специальной раздевалке, затем принимают душ и проходят в ванну для занятий. Выход осуществляется в обратном порядке. На случай аварийных ситуаций имеется дополнительный и служебные выходы из бассейна. Условия окружающей среды в бассейне (температура воды и степень хлорирования) контролируется медицинским работником.
В гимнастический зал дети приходят через тёплый переход, что делает возможным проведение спортивных занятий круглый год.
Прогулки, занятия в гимнастическом зале, бассейне, игры в помещении и другие мероприятия производятся в соответствии с расписанием принимаемым педагогическим коллективом.
После этих мероприятий дети возвращаются в группу, где накрываются столы, дети умываются, принимают душ в случае необходимости. Затем обедают. После обеда дети посещают туалет и умывальные. Проходят в спальни, где отдыхают в течение 1-1.5 часов. Перед окончанием сон часа персонал накрывает на столы. Дети встают, посещают туалет и умывальные и садятся полдничать. После полдника – игра в помещении. Затем детей одевают и ведут гулять либо продолжают играть в помещении.
Около 17 часов основную часть детей забирают домой родители.
Грунты :
При расчёте фундаментов принято - грунты со следующими характеристиками :
Расчётное
значение объёмной
массы грунта
залегающего
ниже подошвы
фундамента
.
Расчётное
значение угла
внутреннего
трения
( ).
Расчётное
значение
(
).
Расчётное
давление на
грунт при ширине
фундамента
1м
( ).
Рельеф участка – спокойный , грунтовые воды – отсутствуют.
Фундамент разработан из бетонных блоков.
Вес
снегового
покрова на 1мІ
горизонтальной
поверхности
земли
( ).
Iв климатический район ( ).
Расчётная зимняя температура наружного воздуха - єС ( ).
Масса снегового покрова 200кг/мІ ( )
Скорость напора ветра на высоте 10м 23кг/мІ ( ).
I район по скоростному напору ветра ( ).
Характеристики здания.
Уровень ответственности II ( ).
Степень долговечности II ( ).
Степень огнестойкости II ( ).
Ориентация здания на северо-запад.
Содержание:
Архитектурно-конструктивная часть.
Исходные данные для проектирования.
Функциональный процесс.
Санитарно – техническое и инженерное оборудование.
Технико-экономическое обоснование проекта.
Объёмно-планировочное решение.
Конструктивное решение.
Внутренняя отделка и план полов с экспликацией помещений.
Наружная отделка.
Расчёты.
Чертежи.
Генплан (масштаб).
Фасады (масштаб 1:50).
Планы неповторяющихся этажей(масштаб).
Разрез.
План междуэтажных перекрытий, покрытий, стропил,, кровли.
Узлы, архитектурные детали.
| Экспликация помещений | ||
| № на плане | Наименование помещения | Площадь |
| Первый этаж | ||
| 1 | Приёмная первой группы | 16.55 |
| 1 | Приёмная второй группы | 21.82 |
| 2 | Игровая первой группы | 51.48 |
| 2 | Игровая второйгруппы | 55.23 |
| 3 | Спальня первой группы | 34.48 |
| 3 | Спальня второй группы | 35.33 |
| 4 | Актовый зал | 78.34 |
| 5 | Кладовая инвентаря | 7.81 |
| 6 | Кабинет заведущей | 9.28 |
| 7 | Методологический кабинет | 9.99 |
| 8 | Холл | 20.10 |
| 9 | Буфетная первой группы | 2.91 |
| 9 | Буфетная второй группы | 2.98 |
| 10 | Туалетная первой группы | 12.11 |
| 10 | Туалетная второй группы | 10.08 |
| 11 | Комната персонала | 12.73 |
| 12 | Медицинская комната | 11.35 |
| 13 | Палата | 11.20 |
| 14 | Кухня | 31.32 |
| 15 | Заготовочный цех | |
| 16 | Кладовая сухих продуктов | 10.00 |
| 17 | Кладовая овощей | 4.42 |
| 18 | Загрузоччная | 4.81 |
| 19 | Мойка | |
| 20 | Гладильная | 10.84 |
| 21 | Кладовая чистого белья | 5.23 |
| 22 | Постирочная | 9.61 |
| 23 | Хозяйственная кладовая | 8.53 |
| 24 | Вентеляционная камера | 12.35 |
| 25 | Тамбур | 27.35 |
| 26 | Тёплыйпереход-аранжерея | 65.94 |
| Общая площадь первого этажа | 594.17 | |
| Бассейн | ||
| 27 | Зал ванны | 57.58 |
| 28 | Вестибюль | 43.44 |
| 28 | Раздевалка для мальчиков | 23.94 |
| 29 | Раздевалка для девочекв | 20.00 |
| 30 | Кладовая спортинвентаря | 8.96 |
| 31 | Комната медсестры | 5.75 |
| 32 | Комната инструктора | 9.53 |
| 33 | Ножная ванна-шлюз для девочек | 2.20 |
| 33 | Ножная ванна-шлюз для мальчиков | 2.20 |
| 34 | Душевая для девочек | 5.92 |
| 34 | Душевая для мальчиков | 5.92 |
| 35 | Преддушевой тамбур для девочек | 1.71 |
| 35 | Преддушевой тамбур для мальчиков | 1.71 |
| 36 | Санузел для девочек | 2.20 |
| 36 | Санузел для мальчиков | 2.20 |
| 37 | Коридор слева | 3.20 |
| 37 | Коридор справа | 3.20 |
| 38 | Электрощитовая | 5.35 |
| 39 | Кладовая уборного инвентаря | 4.69 |
| 40 | Лаборатория | 9.46 |
| 41 | Вентеляционная камера | 27.52 |
| 41.1 | Гимнастический зал | 45.12 |
| Общая площадь бассейна | 291.80 | |
| Второй этаж | ||
| 42 | Раздевалка третей группы | 18.49 |
| 42 | Раздевалка третей группы | 18.32 |
| 42 | Раздевалка третей группы | 18.57 |
| 42 | Раздевалка третей группы | 18.09 |
| 43 | Игровая третей группы | 48.96 |
| 43 | Игровая третей группы | 52.42 |
| 43 | Игровая третей группы | 50.69 |
| 43 | Игровая третей группы | 48.96 |
| 44 | Спальня третей группы | 48.96 |
| 44 | Спальня третей группы | 46.31 |
| 44 | Спальня третей группы | 50.69 |
| 44 | Спальня третей группы | 50.69 |
| 45 | Буфетная третей группы | 3.33 |
| 45 | Буфетная третей группы | 3.33 |
| 45 | Буфетная третей группы | 3.33 |
| 45 | Буфетная третей группы | 3.33 |
| 46 | Туалетная третей группы | 18.32 |
| 46 | Туалетная третей группы | 17.41 |
| 46 | Туалетная третей группы | 19.60 |
| 46 | Туалетная третей группы | 11.06 |
| Общая площадь 2-го этажа | 550.86 | |
| Общая площадь всех помещений | 1436.83 | |
| Спецификация элементов перемычек | |||||||
| Поз. | Обозначение | Наименование | Кол-во на этаж | Масса ед., кг | Примечание | ||
| 1 | 2 | Всего | |||||
| 1 | 1.038.1-1 Вып.1 | 2ПБ29-4-п | 78 | 75 | 153 | 120 | |
| 2 | 5ПБ30-37-п | 19 | 10 | 29 | 410 | ||
| 3 | 3ПБ18-37-п | 15 | 20 | 35 | 115 | ||
| 4 | 2ПБ16-2-п | 50 | 32 | 82 | 65 | ||
| 5 | 5ПБ25-31-п | 3 | 3 | 338 | |||
| 6 | 2ПБ22-3-п | 7 | 7 | 92 | |||
| 7 | 3ПБ16-37-п | 5 | 5 | 10 | 102 | ||
| 8 | 2ПБ13-1-п | 5 | 1 | 6 | 54 | ||
| 9 | 3ПБ13-37-п | 2 | 2 | 85 | |||
| 10 | 2ПБ25-3-п | 4 | 5 | 10 | 103 | ||
| 11 | 5ПБ27-27-п | 4 | 4 | 375 | |||
| 12 | 1ПБ13-1 | 15 | 15 | 30 | 25 | ||
| 13 | 2ПБ17-2-п | 7 | 8 | 13 | 71 | ||
| 14 | 3ПБ16-37-п | 1 | 1 | 102 | |||
| 15 | 5ПБ21-27-п | 1 | 1 | 285 | |||
| 16 | 7ПГ35-23 | 1 | 1 | 1135 | |||
| 17 | ПГ10-1 | 6 | 6 | 20 | |||
| 18 | 2ПБ19-3-п | 4 | 4 | 81 | |||
| 19 | Индивидуальная разработка | перемычка округлая d=2040 | 4 | 4 | 850 | ||
| 20 | Перемычка округлая d=1800 | 4 | 4 | 630 | |||
| 1а | 1.038.1-1 Вып.1 | 5ПБ21-27-18-27 | 10 | 10 | 285 | ||
| 2а | 2ПБ19-3 | 16 | 16 | 81 | |||
| 3а | 2ПП14-4 | 4 | 4 | 190 | |||
| 4а | 1ПБ13-1 | 17 | 17 | 25 | |||
| 5а | 2ПП17-5 | 2 | 2 | 224 | |||
| 6а | 2ПБ17-2 | 13 | 13 | 71 | |||
| 7а | 3ПБ18-37 | 31 | 31 | 119 | |||
| 8а | 3ПП27-71 | 1 | 1 | 570 | |||
| 9а | 1ПБ10-1 | 10 | 10 | 20 | |||
| 10а | 2ПП18-5 | 3 | 3 | 241 | |||
| 11а | 2ПБ16-2 | 9 | 9 | 65 | |||
| 12а | 3ПБ16-37 | 5 | 5 | 102 | |||
| 13а | 5ПБ18-27 | 4 | 4 | 250 | |||
| Наименование и номер помещения | Вид отделки элементов интерьера | Примечание | ||||||
| Потолок | Площадь | Стены или перегородки | Площадь | Низ стен или перегородок | Площадь | |||
| Первый этаж | ||||||||
| 1 | Приёмные | Побелка | 38.37 | Силикатная окраска | 81.82 | На всю высоту | ||
| 2 | Групповые | Побелка | 106.71 | Силикатная окраска | 124.56 | На всю высоту | ||
| 3 | Спальные | Побелка | 34.48 | Силикатная окраска | 52.69 | На всю высоту | ||
| 3 | Спальня второй группы | Побелка | 35.33 | Силикатная окраска | 53.99 | На всю высоту | ||
| 4 | Актовый зал | Побелка | 78.34 | Силикатная окраска | 83.8 | На всю высоту | ||
| 5 | Кладовая инвентаря | Побелка | 7.81 | Побелка | 30.56 | На всю высоту | ||
| 6 | Кабинет заведующей | Побелка | 9.28 | Силикатная окраска | 31.52 | На всю высоту | ||
| 7 | Методологический кабинет | Побелка | 9.99 | Силикатная окраска | 32.67 | На всю высоту | ||
| 8 | Холл | Побелка | 20.10 | Силикатная окраска | 42.2 | На всю высоту | ||
| 9 | Буфетные | Побелка | 5.89 | Маслинная Окраска | 25.12 | Панель гоазурированной плитки h=2100 | 23.44 | |
| 10 | Туалетные | Побелка | 22.19 | Маслинная Окраска | 38.05 | Панель гоазурированной плитки h=1500 | 35.98 | |
| 11 | Комната персонала | Побелка | 12.73 | Силикатная окраска | 37.41 | На всю высоту | ||
| 12 | Медицинская комната | Побелка | 11.35 | Маслинная Окраска | 45.77 | На всю высоту | ||
| 13 | Палата | Побелка | 11.20 | Силикатная окраска | 43.83 | На всю высоту | ||
| 14 | Кухня | Маслинная окраска | 31.32 | Маслинная Окраска | 41.55 | Панель гоазурированной плитки h=2100 | 79.21 | |
| 15 | Заготовочный цех | Маслинная окраска | Маслинная Окраска | Панель гоазурированной плитки h=2100 | ||||
| 19 | Мойка | Маслинная окраска | Маслинная Окраска | Панель гоазурированной плитки h=2100 | ||||
| 17 | Кладовая овощей | Побелка | 4.42 | Маслинная Окраска | 19.8 | Панель гоазурированной плитки h=450 | 3.32 | |
| 18 | Загрузочная | Побелка | 4.81 | Маслинная Окраска | 10.86 | Панель гоазурированной плитки h=450 | 1.92 | |
| 20 | Гладильная | Маслинная окраска | 10.84 | Маслинная Окраска | 27.79 | На всю высоту | ||
| 21 | Кладовая чистого белья | Побелка | 5.23 | Силикатная окраска | 24.76 | На всю высоту | ||
| 22 | Постирочная | Маслинная окраска | 9.61 | Маслинная Окраска | 16.73 | Панель гоазурированной плитки h=2100 | 34.73 | |
| 23 | Хозяйственная кладовая | Побелка | 8.53 | Маслинная Окраска | 31.25 | На всю высоту | ||
| 24 | Вентиляционная камера | Побелка | 12.35 | Маслинная Окраска | 37.46 | На всю высоту | ||
| 25 | Тамбур | Побелка | 27.35 | Силикатная окраска | 89.1 | На всю высоту | ||
| 26 | Тёплый переход-аранжерея | Побелка | 65.94 | Силикатная окраска | 97.44 | На всю высоту | ||
| Бассейн | ||||||||
| 27 | Зал ванны | Побелка | 57.58 | Глазурованная плитка на всю высоту | 96.23 | На всю высоту | ||
| 28 | Вестибюль | Водоэмульсион. Покраска ВА-27А | 43.44 | Маслинная Окраска | 36.72 | На всю высоту | ||
| 28 | Раздевалки | Водоэмульсион. Покраска ВА-27А | 43.94 | Маслинная Окраска | 94.92 | На всю высоту | ||
| 30 | Кладовая спортинвентаря | Водоэмульсион. Покраска ВА-27А | 8.96 | Водоэмульсион. Покраска ВА-27А | 28.2 | На всю высоту | ||
| 31 | Комната медсестры | Водоэмульсион. Покраска ВА-27А | 5.75 | Водоэмульсион. Покраска ВА-27А | 24.12 | На всю высоту | ||
| 32 | Комната инструктора | Водоэмульсион. Покраска ВА-27А | 9.53 | Водоэмульсион. Покраска ВА-27А | 23.44 | На всю высоту | ||
| 33 | Ножные ванны-шлюзы | Побелка | 4.40 | Глазурованная плитка на всю высоту | 26.8 | На всю высоту | ||
| 34 | Душевые | Побелка | 11.84 | Побелка | 17.82 | Глазурированная плитка на h=2000 | 55.1 | |
| 35 | Пред душевые тамбуры | Побелка | 3.42 | Побелка | 7.4 | Глазурированная плитка на h=2000 | 15.06 | |
| 36 | Санузелы | Побелка | 4.40 | Побелка | 11 | Глазурированная плитка на h=2000 | 17.24 | |
| 37 | Коридорв | Водоэмульсион. Покраска ВА-27А | 6.40 | Водоэмульсион. Покраска ВА-27А | 26.3 | На всю высоту | ||
| 38 | Электрощитовая | Побелка | 5.35 | Клеевая покраска | 26.48 | На всю высоту | ||
| 39 | Кладовая уборного инвентаря | Побелка | 4.69 | Водоэмульсион. Покраска ВА-27А | 6 | На всю высоту | ||
| 40 | Лаборатория | Побелка | 9.46 | Водоэмульсион. Покраска ВА-27А | 29.96 | На всю высоту | ||
| 41 | Вентиляционная камера | Побелка | 27.52 | Клеевая покраска | 55 | На всю высоту | ||
| Гимнастический зал | Побелка | 45.12 | Маслинная Окраска | 80.6 | На всю высоту | |||
| Второй этаж | ||||||||
| 42 | Раздевалки | Побелка | 73.47 | Маслинная Окраска | 174.16 | На всю высоту | ||
| 43 | Игровые | Побелка | 201.03 | Силикатная окраска | 273.3 | На всю высоту | ||
| 44 | Спальные | Побелка | 196.65 | Силикатная окраска | 300.53 | На всю высоту | ||
| 45 | Буфетные | Побелка | 13.32 | Маслинная Окраска | 56.84 | Панель гоазурированной плитки h=2100 | 53 | |
| 46 | Туалетные | Побелка | 66.39 | Маслинная Окраска | 113.84 | Панель гоазурированной плитки h=1500 | 107.63 | |
| Лестничная клетка | Побелка | Побелка | 42.02 | На всю высоту | ||||
| Подвал | ||||||||
| Вент камера подвала | Побелка | 49.92 | Побелка | 139.64 | На всю высоту | |||
| Электрощитовая | Побелка | 40.2 | Побелка | 135.60 | На всю высоту | |||
| Помещение для укрывных материалов | Побелка | 148.33 | Побелка | 107.41 | Масянная окраска h=1500 | 134.31 | ||
| Туалет | Побелка | 6.20 | Побелка | 14 | Панель керамической плитки h=1800 | 24.3 | ||
| Экспликация полов. | Таблица | |||
| Номер помещения | Тип пола | Схема пола или тип пола по серии | Данные элемента пола (наименование, толщина, основание и т.д.), мм | Площадь, м3 |
| 16 | 1 | 1 Плитка ГОСТ 6787-89, 13 мм. 2 Прослойка из ц/п р-ра 20 мм. 3 Ж/Б плита. | 46.58 | |
| 17 | ||||
| 18 | ||||
| 25 | ||||
| 9 | 2 | 1 Плитка ГОСТ 6787-89, 13 мм. 2 Стяжка из ц/п р-ра, 20мм. 3 Гидроизол ГОСТ 7415-86, 3 мм. 4 Стяжка из ц/п р-ра М150, 20мм. 5 Ж/Б плита. | 113.46 | |
| 10 | ||||
| 14 | ||||
| 15 | ||||
| 19 | ||||
| 20 | ||||
| 22 | ||||
| л/п | ||||
| 3 | 3 | 1 Линолеум ГОСТ 862.4-87, 25мм 2 Прослойка клеев мастики, 3мм. 3 Стяжка ц/п р-ра 20 4 Стяжка ц/п р-ра, 50 мм. 5 1 слой пергамина ГОСТ 2697-83,2 мм 6 Звукоизол. Слой ДВП, 13 мм. 7 Ж/Б плита. | 155.96 | |
| 4 | ||||
| 5 | ||||
| 2 | 4 | 1 Линолеум ГОСТ 862.4-87, 5мм 2 Прослойка клеев мастики, 3мм. 3 Стяжка ц/п р-ра, 50 мм. 4 1 слой пергамина ГОСТ 2697-83,2 мм 5 Звукоизол. Слой ДВП, 13 м | 106.71 | |
| 1 | 16 | 1 Линолеум ГОСТ 18108-80, 2мм. 2 Прослойка клеевой мастики, 3 мм. 3 Стяжка ц/п р-ра В15, 20 мм. 4 Бетон монолитный В15 со стальными регистрами d=50 мм. 5 Стяжка ц/п р-ра, 15 мм. 6 Два слоя пергамина, 5 мм. 7 Стяжка ц/п р-ра, 20 мм. 5 Ж/Б плита. | 38.37 | |
| 6 | 5 | 1 Линолеум ГОСТ 18108-80, 25мм. 2 Стяжка ц/п р-ра, 40мм. 3 1 слой пергамина, 2мм. 4 Ж/Б плита. | 87.63 | |
| 7 | ||||
| 8 | ||||
| 11 | ||||
| 12 | ||||
| 13 | ||||
| 21 | ||||
| 23 | ||||
| 24 | 6 | 1 Слой цементной стяжки,1 мм. 2 Стяжка ц/п р-ра В15, 40мм. 3 Звукоизолир. Слой ДВП, 200 мм. 4 Ж/Б плита. | 12.35 | |
| 26 | 7 | 1 Щиты паркетные ГОСТ 862.4-87, 50мм. 2 Стяжка ц/п р-ра В20, 20мм. 3 Бетон монолитн. В15 со стальными регистрами, d=50мм. 4 Стяжка ц/п р-ра В15, 20 мм. 5 Ж/Б плита. | 65.94 | |
| Бассейн | ||||
| 27 | 8 | 1 Плитка ГОСТ 6787-89, 13 мм. 2 Стяжка ц/п р-ра, 20 мм. 3 2 слоя гидроизола на битумн мастике, 5 мм. 4 Стяжка ц/п р-ра, 50мм. 5 Ж/Б плита. | 95.79 | |
| 33 | ||||
| 34 | ||||
| 35 | ||||
| 36 | ||||
| 38 | ||||
| 39 | ||||
| 40 | ||||
| 28 | 9 | 1 Мозаичное бетонное покрытие В20, 20 мм. 2 Стяжка из ц/п р-ра В15, 40 мм. 3 Ж/Б плита. | 43.44 | |
| 28.1 | 10 | 1 Линолеум ГОСТ 18108-80, 25 мм. 2 Прослойка клеев. Мастики, 2 мм. 3 Стяжка ц/п р-ра В15, 70 мм. 4 1 слой пергамина ГОСТ 2697-83, 3 мм. 5 Ж/Б плита. | 68.18 | |
| 29 | ||||
| 30 | ||||
| 31 | ||||
| 32 | ||||
| 37 | ||||
| 41 | 11 | 1 Слой цементной стяжки,1 мм. 2 Стяжка ц/п р-ра В15, 40мм. 3 Ж/Б плита. | 27.52 | |
| 41.1 | 12 | 1 Доски ДП027 ГОСТ 8242-88 2 Лаги ГОСТ 24484-80Е, 100х40 мм. 3 То же, 100х80 мм. 4 Стяжка Ц/п р-ра, 20 мм. 5 Ж/Б плита. | 45.12 | |
| Второй этаж | ||||
| л/п | 13 | 1 Линолеум ГОСТ 18108-80, 5 мм. 2 Прослойка клеевой мастики, 2 мм. 3 Стяжка ц/п р-ра, 60 мм. 4 Звукоизоляционный слой ДВП, 13 мм. 5 Ж/Б плита. | 28.52 | |
| 45 | 14 | 1 Керамическая плитка ГОСТ 6787-89, 13 мм. 2 Стяжка ц/п р-ра, 20мм. 3 2 слоя гидроизола ГОСТ 7415-86, 5мм. 4 Стяжка ц/п р-ра, 20 мм. 5 Ж/Б плита. | 79.71 | |
| 46 | ||||
| 42 | 15 | 1 Линолеум ГОСТ 18108-80, 2мм. 2 Прослойка клеевой мастики, 3 мм. 3 Стяжка ц/п р-ра В15, 20 мм. 4 Бетон монолитный В15 со стальными регистрами d=50 мм. 5 Ж/Б плита. | 36.81 | |
| 43 | 17 | 1 Линолеум ГОСТ 18108-80, 2,5 мм. 2 Прослойка клеевой мастики, 2 мм. 3 Стяжка ц/п р-ра, 60 мм. 4 1 слой пергамина, 2 мм. 5 Звукоизоляционный слой ДВП 13 мм. 6 Ж/Б плита. | 434.34 | |
| 44 | ||||
| Подвал | ||||
| Венткамера | 18 | 1 Стяжка цементного р-ра, 1мм. 2 Стяжка ц/п р-ра В15, 50 мм. 3 2 слоя гидроизола, 5 мм. 4 Стяжка ц/п р-ра В15, 20 мм. 5 Ж/Б плита | 100.8 | |
| Эл.щитовая | ||||
| тамбур | ||||
| туалет | 17 | 1 Плитка ГОСТ 6787-89, 13 мм. 2 Прослойка ц/п р-ра, 30 мм. 3 2 слоя гидроизола, 5 мм. 4 Стяжка ц/п р-ра, 20 мм. 5 Ж/Б плита. | 67.5 | |
| л/п | ||||
| Помещ для одежды | ||||
| Помещ для укрываемых | 18 | 1 Доски ГОСТ 8242-88, 40мм. 2 Лаги ГОСТ 24484-80Е, 100х80 мм. 3 Подкладка под лаги 1 слой рубероида, 2 мм. 4 Стяжка Ц/п р-ра, 40 мм. 5 Ж/Б плита. | 148.3 | |
Исходные данные.
Грунты :
При расчёте фундаментов приняты грунты со следующими характеристиками :
Расчётное
значение угла
внутреннего
трения
[[[
].
Расчётное
значение
[ ].
Рельеф участка – спокойный , грунтовые воды расположены на глубине порядка 10 м.
Вес
снегового
покрова на 1мІ
горизонтальной
поверхности
земли
[ ].
Климатический район Iв [ ].
Средняя температура периода со среднесуточной температурой воздуха меньше 8єС -6,4єС.
Средняя продолжительность периода со среднесуточной температурой воздуха меньше 8єС 226 суток.
Расчётная зимняя температура наружного воздуха -31 єС [ ].
Скорость напора ветра на высоте 10м - 23кг/мІ [ ].
II район по скоростному напору ветра [ ].
Характеристики здания.
Уровень ответственности II [ ].
Степень долговечности II [ ].
Степень огнестойкости II [ ].
Ориентация здания на северо-запад.
Составлен в ценах 1984г.
таблица
| №п/п | № смет и расчетов |
Наименование работ и затрат |
Сметная
стоимость
|
| 1 |
Смета №1 |
Подготовка территории строительства |
3,11 |
2 |
Объектная смета |
Строительно-монтажные работы по основным объектам строительства | 213,16 |
3 |
Сметы № 2, 3, 4, 5,6,7 |
Объекты подсобного значения | 61,32 |
| 4 | Сметы № 12,13,14 | Благоустройство и озеленение | 19,18 |
| 5 | Проектно-изыскательские работы | 17,05 | |
| 6 | Сметы № 10,13 | Прочие затраты | 49,03 |
Итого общая сметная стоимость |
362,85 | ||
таблица
| №п/п | Наименование показателя |
Ед. изм. |
Количество |
| 1 | Строительный объем здания |
м3 |
7654,32 |
| 2 | Площадь застройки |
м2 |
622,3 |
| 3 |
Общая площадь |
м2 |
1866,9 |
| 4 |
Продолжительность строительства |
месяцев |
|
| 5 |
Общая сметная стоимость объекта |
тыс. руб. |
362,85 |
| 6 | В том числе строительно-монтажных работ |
тыс. руб. |
213,16 |
| 7 | Оборудование |
тыс. руб. |
53,27 |
| 8 |
Стоимость 1 м3 здания |
руб. |
47,41 |
| 9 | В том числе по общестроительным работам |
руб. |
38,28 |
| 10 |
Стоимость 1 м2 общей площади |
руб. |
194,36 |
| 11 | Нормативная трудоемкость |
чел.-дни |
2711 |
| 12 | Сметная заработная плата |
тыс. руб. |
42,17 |
| 13 | Выработка на 1 чел.-день по строительно-монтажным работам |
тыс. руб. |
40,99 |
| Объектная смета на строительствр детского яслей-сада на 140 мест. | |||||||||||
| Сметная стоимость= | =213,16тыс. Руб. | Сметная з/п= | 52.86 | чел./час. | |||||||
| Таблица | |||||||||||
| № | № смет и расчетов | Наименование работ и затрат | Сметная стоимость, тыс.руб | нормативная трудоёмк. Т. Чел/ч. | Сметная ЗП т.р. | ||||||
| Строит. Работ | Монтажн. Работ | Оборудов. | Прочих затрат | Всего | в том числе | ||||||
| ОЗП | Экспл. Машин. | ||||||||||
| 1 | 1-1 | Общестроительные работы по подземной части здания | 23.73 | 23.73 | 8.02 | 2,46/0,94 | 2.71 | 10.18 | |||
| 2 | 1-2 | Общестроительные работы по надземной части здания | 102.19 | 102.19 | 24.00 | 7,37/2,81 | 12.74 | 30.53 | |||
| 3 | 2 | Санитарно-технические работы | 14.20 | 14.20 | 1.92 | 0,1/0,023 | 3.45 | 2.15 | |||
| 4 | 3 | Электроосвещение | 5.27 | 5.27 | 1.28 | 0,12/0,05 | 1.77 | 1.32 | |||
| 5 | 4 | Электросиловое оборудование | 1.28 | 0.07 | 1.35 | 0.22 | 0,52/0,02 | 0.23 | 0.24 | ||
| 6 | 5 | Устройства связи | 1.13 | 0.32 | 1.45 | 2.50 | 0,131/0,03 | 0.67 | 0.63 | ||
| 7 | 6 | Автоматика приточных систем | 0.16 | 0.25 | 0.41 | 1.32 | 0,11/0,05 | 2.56 | 1.68 | ||
| 8 | 7 | Технологическое оборудование | 0.43 | 0.23 | 52.61 | 53.27 | 0.68 | 0,2/0,03 | 1.32 | 0.71 | |
| Итого: | 140.55 | 8.07 | 53.25 | 201.87 | 39.94 | 241.81 | 25.45 | 47.44 | |||
| Временные здания и сооружения 1% | 1.41 | 0.08 | 0.53 | 2.02 | 0.40 | 2.42 | 0.25 | 0.47 | |||
| Нормативная трудоемкость 2,02х0,3=0,606 | 0.61 | ||||||||||
| Сметная з/п 2,02х0,19=0,38 | 0.38 | ||||||||||
| Итого | 141.96 | 8.15 | 53.78 | 203.89 | 40.34 | 244.23 | 26.31 | 48.29 | |||
| Прочие работы и затраты | |||||||||||
| Зимнее удорожание 3% | 4.26 | 0.24 | 1.61 | 6.12 | 1.21 | 7.33 | 0.79 | 1.45 | |||
| Нормативная трудоемкость 4,26х0,93=3,96 | 3.96 | ||||||||||
| Сметная з/п 4,26х0,55=2,34 | 2.34 | ||||||||||
| Итого | 146.21 | 8.40 | 55.40 | 210.01 | 41.55 | 251.55 | 31.06 | 52.08 | |||
| Непредвиденные работы и затраты 1,5% | 2.19 | 0.13 | 0.83 | 3.15 | 0.62 | 3.77 | 0.47 | 0.78 | |||
| Всего по объектной смете | 148.41 | 8.52 | 56.23 | 213.16 | 42.17 | 255.33 | 31.53 | 52.86 | |||
| № п/п | Обоснование ЕНИР | Наименование работ | Ед. изм. | Количество | Стоимость единицы, руб | Общая стоимость, руб | Затраты труда рабочих (чел.ч) | |||||
| всего | Основная заработная плата | Эксплуатация машин в том числе заработной платы | Всеего | Основной зароботной платы | Эксплуатация машин в том числе заработной платы | На единицу | Всего | |||||
| 1 | 2 | 3 | 4 | 5 | 6 | 7 | 8 | 9 | 10 | 11 | 12 | 13 |
| Стропила из клеёной древесины | ||||||||||||
| 1 | Монтаж стропильных ног | 1 шт | 22 | 16.7 | 6.8 | 7.2 | 367.4 | 149.6 | 158.4 | 12.1 | 266.2 | |
| 2.28 | 50.16 | |||||||||||
| 2 | Устройство прогонов из брусьев | 1м3 | 16.7 | 73.5 | 8.7 | 1.3 | 1227.45 | 145.29 | 21.71 | 14.8 | 247.16 | |
| 0.41 | 6.85 | |||||||||||
| 4 | Устройство фонарей | 1 шт | 8 | 16.3 | 3.5 | 0.3 | 130.4 | 28 | 2.4 | 6.03 | 48.24 | |
| 0.1 | 0.8 | |||||||||||
| Итого по 1: | 1725.25 | 322.89 | 182.51 | 561.6 | ||||||||
| 57.81 | ||||||||||||
| Стропила из прокатного двутавра | ||||||||||||
| 1 | Монтаж стропил металлических | 1 т | 17.5 | 41.3 | 15.4 | 11.4 | 722.75 | 269.5 | 199.5 | 24.6 | 430.5 | |
| 4.33 | 75.78 | |||||||||||
| 2 | Устройство металлических прогонов | 1 т | 11.3 | 29.2 | 14.3 | 14.3 | 329.96 | 161.59 | 161.59 | 13.5 | 152.55 | |
| 5 | 56.5 | |||||||||||
| 3 | Устройство фонарей | 1 т | 2.4 | 47.2 | 13.8 | 29.7 | 113.28 | 33.12 | 71.28 | 21.9 | 52.56 | |
| 11.6 | 27.84 | |||||||||||
| Итого по 2: | 1165.99 | 464.21 | 432.37 | 635.61 | ||||||||
| 160.12 | ||||||||||||
| Локальный сметный расчёт на клееную деревянную конструкцию крыши здания дипломного проекта. | ||||||||||||
| Сметная стоимость | 1358.52 | сметная з/п | 794.60 | руб. | нормативная трудоёмкость | 1104.34 | чел/ч | |||||
| Таблица | ||||||||||||
| № п/п | Обоснование ЕРЕР | Наименование работ | Ед. изм. | Количество | Стоимость единицы, руб | Общая стоимость, руб | Затраты труда рабочих (чел.ч) | |||||
| всего | Основная заработная плата | Эксплуатация машин в том числе заработной платы | Всего | Основной заработной платы | Эксплуатация машин в том числе заработной платы | На единицу | Всего | |||||
| 1 | 2 | 3 | 4 | 5 | 6 | 7 | 8 | 9 | 10 | 11 | 12 | 13 |
| 1 | 10-70 | Монтаж стропильных ног | 1 шт | 22 | 16.7 | 6.8 | 7.2 | 367.4 | 149.6 | 158.4 | 12.1 | 266.2 |
| 2.28 | 50.16 | |||||||||||
| 2 | 10-3 | Устройство прогонов из брусьев | 1м3 | 16.7 | 73.5 | 8.7 | 1.3 | 1227.45 | 145.29 | 21.71 | 14.8 | 247.16 |
| 0.41 | 6.85 | |||||||||||
| 4 | 10-71 | Устройство фонарей | 1 шт | 8 | 16.3 | 3.5 | 0.3 | 130.4 | 28 | 2.4 | 6.03 | 48.24 |
| 0.1 | 0.8 | |||||||||||
| 5 | 10-248 | Устройство кровли из плоских металлич. листов. | 1 м2 | 746.64 | 0.61 | 0.31 | 0.04 | 455.45 | 231.46 | 29.87 | 0.57 | 425.58 |
| 0.01 | 7.47 | |||||||||||
| 6 | 10-211 | Антисептирование | 100м2 | 2.34 | 12.60 | 0.03 | 0.02 | 29.48 | 0.08 | 0.05 | 0.61 | 1.43 |
| 0.01 | 0.02 | |||||||||||
| 7 | СЗСЦ | Стоимость клеёных деревянных констр. | 1 м3 | 41.2 | 98 | 4037.6 | ||||||
| Итого прямых затрат | 6247.78 | 554.43 | 212.42 | 34.11 | 988.61 | |||||||
| 65.30 | ||||||||||||
| Отклонение по з/п 212.42х0.15=31,86 | 31.86 | 31.86 | ||||||||||
| 65,3х0.15=9,795 | 9.8 | 9.8 | ||||||||||
| Итого прямых затрат с коэффициентом 1,15 | 6289.44 | 586.29 | 222.22 | |||||||||
| 75.09 | ||||||||||||
| Накладные расходы 20% | 1257.89 | |||||||||||
| Нормативная трудоемкость в накладных расходах 1257,88х0,092=115,73 | 115.73 | |||||||||||
| Сметная з/п в накладных расходах 1157,25х0,18=208,31 | 208.31 | |||||||||||
| Итого сметная себестоимость | 1257.89 | |||||||||||
| Плановые накопления 8% | 100.63 | |||||||||||
| Всего сметная стоимость в ценах 1984г. | 1358.52 | 222.22 | ||||||||||
| 75.09 | ||||||||||||
| Всего нормативная трудоемкость чел.час. | 1104.34 | |||||||||||
| Всего сметная з/п, руб. | 794.60 | |||||||||||
| Локальный сметный расчёт на металлическую конструкцию крыши здания дипломного проекта. | ||||||||||||
| Сметная стоимость | 2385.58 | сметная з/п | 1173.61 | руб. | нормативная трудоёмкость | 1195.35 | чел/ч | |||||
| Таблица | ||||||||||||
| № п/п | Обоснование ЕРЕР | Наименование работ | Ед. изм. | Количество | Стоимость единицы, руб | Общая стоимость, руб | Затраты труда рабочих (чел.ч) | |||||
| всего | Основная заработная плата | Эксплуатация машин в том числе заработной платы | Всего | Основной заработной платы | Эксплуатация машин в том числе заработной платы | На единицу | Всего | |||||
| 1 | 2 | 3 | 4 | 5 | 6 | 7 | 8 | 9 | 10 | 11 | 12 | 13 |
| 1 | 9-10 | Монтаж стропил металлических | 1 т | 17.5 | 31.3 | 15.4 | 11.4 | 547.75 | 269.5 | 199.5 | 24.6 | 430.5 |
| 4.33 | 75.78 | |||||||||||
| 2 | 9-94 | Устройство металлических прогонов | 1 т | 11.3 | 29.2 | 14.3 | 14.3 | 329.96 | 161.59 | 161.59 | 13.5 | 152.55 |
| 5 | 56.5 | |||||||||||
| 3 | 9-112 | Устройство фонарей | 1 т | 2.4 | 47.2 | 13.8 | 29.7 | 113.28 | 33.12 | 71.28 | 21.9 | 52.56 |
| 11.6 | 27.84 | |||||||||||
| 4 | 9-8 | Установка высокопрочных болтов | 100 шт | 1.76 | 15.2 | 11.6 | 0.87 | 26.75 | 20.42 | 1.53 | 19.4 | 34.14 |
| 0.26 | 0.46 | |||||||||||
| 5 | 9-9 | Электродуговая сварка | 1 т | 34.43 | 7.63 | 1.94 | 3.63 | 262.7 | 66.79 | 124.98 | 2.56 | 88.14 |
| 1.09 | 37.53 | |||||||||||
| 6 | 9-25 | Устройство кровли из профнастила | 100 м2 | 7.46 | 15.3 | 18.1 | 5.13 | 114.14 | 135.03 | 38.27 | 31.4 | 234.24 |
| 3.11 | 23.2 | |||||||||||
| 7 | СЗСЦ | Стоимость конструк покрытия здания из прокатных профилей | 1т. | 17.5 | 544.4 | 9527 | ||||||
| Итого прямых затрат | 10921.58 | 686.45 | 597.15 | 992.14 | ||||||||
| 221.3 | ||||||||||||
| Отклонение по з/п 597,15х0.15=89,57 | 89.57 | 89.57 | ||||||||||
| 221,3х0.15=33,195 | 33.2 | 33.2 | ||||||||||
| Итого прямых затрат с коэффициентом 1,15 | 11044.35 | 776.02 | 630.35 | |||||||||
| 254.50 | ||||||||||||
| Накладные расходы 20% | 2208.87 | |||||||||||
| Нормативная трудоемкость в накладных расходах 2208,87х0,092=203,22 | 203.22 | |||||||||||
| Сметная з/п в накладных расходах 2208,87х0,18=397,6 | 397.6 | |||||||||||
| Итого сметная себестоимость | 2208.87 | |||||||||||
| Плановые накопления 8% | 176.71 | |||||||||||
| Всего сметная стоимость в ценах 1984г. | 2385.58 | 630.35 | ||||||||||
| 254.50 | ||||||||||||
| Всего нормативная трудоемкость чел.час. | 1195.35 | |||||||||||
| Всего сметная з/п, руб. | 1173.61 | |||||||||||
Вариантное проектирование.
Производится сравнение по экономическим показателям двух вариантов конструктивного решения здания детского яслей-сада:
С крышей по металлическим наслонным стропилам
С крышей по наслонным стропилам из клеёной древесины.
Характеристика конструктивного решения для 1 варианта:
Конструкция крыши представляет собой: металлические наслонные стропила из прокатного двутавра опирающиеся на стены через металлические балки. Конструкция кровли опирается на стропила через металлические прогоны. Кровля состоит из профилированного настила. Водосток – наружный.
Характеристика конструктивного решения для 2 варианта:
Конструкция крыши представляет собой: деревянные наслонные стропила из клеёной древесины опирающегося на стены через деревянные мауэрлаты. Кровля опирается на стропила через деревянную обрешётку. Кровля состоит из плоского оцинкованного кровельного железа. Водосток – наружный.
Расчётные схемы обоих вариантов – идентичны.
Сравнение вариантов производится по общей стоимости конструкции.
Составлены в ценах 1984г. таблица
| Показатель | Ед. изм. |
1-й вариант |
2-й вариант |
| Общая сметная стоимость |
тыс. руб. |
215545,58 |
214518,52 |
| Трудоемкость | чел.-дни | 183,5 | 138,1 |
Расчёт показателей по обоим вариантам производится по всем видам работ при монтаже конструкции, так же по стоимости самой конструкции. По локальной смете вычисляется стоимость материалов и работ.
Таким образом, получаем снижение стоимости при устройстве крыши из клеёной древесины на 1 % всего проекта и на
Следовательно, устройство второго варианта конструкций экономически и технически обосновано.
Выбор кранов для монтажа конструкций.
Выбор крана для монтажа сборных элементов здания производится с учётом требуемой высоты подъёма элементов сборных конструкций, веса монтажного элемента и стропующих устройств, необходимого вылета стрелы монтажного крана, технических и технико-экономических показателей их работы.
Определение необходимой грузоподъёмности крана.
Для самоходных стреловых кранов необходимо определить:
- требуемую
грузоподъёмность
крана,
т.
- высоту
головки стрелы
крана,
м.
- минимальный
вылет стрелы
крана,
м.
- максимальный
вылет стрелы
крана,
м(принимаем
по справочнику
для крана с
подобранными
и
).
Грузоподъёмность
крана
определяем
по формуле для
тяжёлых элементов
каждой группы
конструкций:
![]()
где:
- масса
монтируемого
элемента,
т
-
масса
такелажного
приспособления,
т
-
масса
конструкций
усиления,
т
-
масса
монтажных
приспособлений,
устанавливаемых
на
монтируемых элементах до подъёма, т
-
учитывает
отклонение
фактической
массы элементов
от
проектной(расчётной).
Высоту
головки стрелы
определяют
по формуле:
![]()
где:
- превышение
опоры монтируемого
элемента над
уровнем стоянки
крана, м
- высота
элемента над
опорой:![]()
- высота(толщина,
ширина)
монтируемого
элемента,
м
- высота
строповки
- высота
полиспаста(при
отсутствии
данных
)
Минимальный
вылет стрелы
крана
зависит от
положения
монтируемого
элемента и
принятой схемы
монтажа:
![]()
где:
- минимальное
расстояние
от конструкций
стрелы до
монтируемого
элемента(
)
-
величина
части конструкций,
выступающей
от центра строповки
в
сторону стрелы крана
- половина
толщины конструкции
стрелы крана
на уровне
вероятных
касаний(
)
- высота
шарнира пяты
стрелы над
уровнем стоянки
крана(
)
- расстояние
по горизонтали
от оси вращения
крана до оси
шарнира
пяты
крана(
)
Расчёт:
Монтаж стропил:
![]()
![]()
![]()
Монтаж плит покрытия:
![]()
![]()
![]()
По наибольшим техническим показателям принимаем кран МКП-25 на пневмоколесном ходу.
Экономический расчёт монтажного механизма.
Для монтажа конструкций здания производится краном МКП-25
Показатель приведённых затрат:
,
где
С – себестоимость
работ;
–
нормативный
коэффициент
сравнительной
экономической
эффективности.
к – балансовая стоимость машины.
–
количество
часов работы
машины на объекте.
– нормативное
число работы
машины в году.
;
– коэффициент
учитывающий
накладные
расходы.
–
время
рабочего цикла.
–
единовременные
затраты, связанные
с перевозом,
монтажом и
демонтажем.
![]()
– годовые
затраты (
,
где
– норма амортизационных
отчислений).
–
текущие
затраты.
–
стоимость
технического
обслуживания
и технического
ремонта.
–
стоимость
ремонта и замены.
–
стоимость
энергоматериалов.
–
стоимость
смазочных
материалов.
–
заработная
плата машинистов.
;
;
;
;
![]()
![]()
![]()
Подсчёт объёмов земляных работ.
В здании приняты сборные ленточные фундаменты из фундаментных плит ГОСТ 13580-85 и фундаментные блоки ГОСТ 13579-78. Фундаменты под здание детского яслей-сада используется 2-х типов:
под наружные несущие стены двухэтажного здания детского яслей-сада и лестничной клетки.
Под все стены одноэтажных зданий и внутренние стены двухэтажного здания.
Левое крыло детского яслей-сада имеет подвальное помещение. Под подвал разрабатывается котлован. Под остальные помещение разрабатываются траншеи для монтажа сборного ленточного фундамента.

Объём фундамента первого и второго типа:
Сечение:
S1=0,6·0,6·3+1,2·0,3-0,01=1,43 мІ.
S2=0,6·0,4·3+1·0,3-0,01=1,01 мІ.
Длина фундамента 1) типа l=127,16 м.
Длина фундамента 2) типа l=240,88 м.
Суммарный объём: фундаментов 1) типа
V1=1,43·127,16=181,84 мі
Фундаментов 2) типа
V2=1,01·240,88=243,29 мі
Подсчёт объёмов грунта при разработке траншей:
Траншея под фундамент первого типа:
объем
выемки:
,
где
;
;
;
-
расстояние
по дну траншеи;
d- расстояние по верху траншеи.
.
Траншея под фундамент второго типа:
.
Котлован под устройство подвала:
Объём подвала:
V=a · b · h=19,1·13,5·1,8=464,13 мі
Общий объём выемки:
.
Объем грунта для обратной засыпки:
,
где
.
Объём вывозимого грунта:
.
Таблица
8
Карточка-определитель
работ и ресурсов
сетевого графика
|
Предшеств. работа |
Шифр работы |
Описание работ |
Трудоемкость |
Прод.работ дн. |
Исполнители |
Кол-во смен |
Потребн. в стр. мех-ах |
Потребность в материалах |
||||||||
|
нач |
кон. |
|
|
Наим. орг. |
Бригада и спец.-ть |
Кол-во раб. в смену |
Наим. |
Кол-во |
Наим. |
Ед. изм. |
Кол-во |
Поставщик |
||||
| 0 | 1 |
|
307 | 15 | Строительный трест | Землекоп | 10 | 2 | Строительный трест | |||||||
| 1 | 1 | 2 |
|
54 | 6 | Машинист | 9 | 2 | экскаватор Э-5015А | 1 | ||||||
| 2 | 2 | 3 |
|
202 | 25 | Бетонщики | 5 | 2 | бетон |
М3 |
164,22 | |||||
| 3 | 3 | 4 |
|
705 | 50 | Бетонщики | 7 | 2 | бетон |
М3 |
164,22 | |||||
| 4 | 6 | 4 |
|
470 | 34 | Машинист | 7 | 2 |
Д-259 |
1 | ||||||
| 5 | 8 | 6 |
|
131 | 10 | 6 | 2 | |||||||||
| 6 | 6 | 8 |
|
88 | 8 | Монтажники | 6 | 2 | МКГ-25БР | 1 |
Жбк Бетон Электроды |
Шт. М3 Кг. |
211 13,13 22,96 |
|||
| 7 | 4 | 5 |
|
427 | 67 | 7 | 1 | |||||||||
| 9 | 9 | 14 |
|
92,7 | 15 | 3 | 2 | |||||||||
| 10 | 8 | 11 |
|
107 | 13 | 4 | 2 | |||||||||
| 11 | 14 | 18 |
|
60 | 8 | 4 | 2 | |||||||||
| 12 | 11 | 13 |
|
269 | 22 | 6 | 2 | |||||||||
| 13 | 5 | 15 |
|
94,5 | 12 | 4 | 2 | |||||||||
| 14 | 10 | 12 |
|
71 | 7 | 5 | 2 | |||||||||
| 15 | 13 | 17 |
|
125 | 21 | 3 | 2 | |||||||||
| 16 | 12 | 16 |
|
180 | 13 | 7 | 2 | |||||||||
| 17 | 15 | 26 |
|
18 | 6 | 3 | 1 | |||||||||
| 18 | 16 | 19 |
|
83 | 8 | 5 | 2 | |||||||||
| 19 | 17 | 21 |
|
138 | 17 | 4 | 2 | |||||||||
| 20 | 17 | 20 |
|
150 | 19 | 4 | 2 | |||||||||
| 21 | 19 | 22 |
|
92 | 9 | 5 | 2 | |||||||||
| 22 | 21 | 23 |
|
105 | 26 | 7 | 1 | |||||||||
| 23 | 21 | 24 |
|
50 | 10 | 5 | 1 | |||||||||
| 24 | 24 | 25 |
|
50 | 10 | 5 | 1 | |||||||||
|
Строительный трест | Монтажники | 4 | 2 | КС-4362 | 1 |
Жбк Бетон Цем.раств. Электроды |
Шт. М3 М3 Кг. |
198 0,69 4,13 121,23 |
Строительный трест | ||||||
|
изолировщики | 12 | 2 | Кран «Пионер» | 1 |
Цем.раств Рулонные материалы |
М3 М2 |
34,7 10432,8 |
||||||||
|
12 | 2 | Кран «Пионер» | 1 |
Цем.раств Рулонные материалы |
М3 М2 |
34,7 10432,8 |
|||||||||
|
стекольщики | 7 | 1 | Стекло |
М2 |
320,38 | ||||||||||
|
стекольщики | 7 | 1 | Стекло |
М2 |
320,38 | ||||||||||
|
электросварщик | 2 | 1 |
Бетон Электроды |
М3 Кг. |
1,16 1,48 |
||||||||||
|
штукатуры | 7 | 2 | Цем.раств. |
М3 |
66,75 | ||||||||||
|
штукатуры | 7 | 2 | Цем.раств. |
М3 |
66,75 | ||||||||||
|
маляр | 7 | 1 |
Олифа Колер |
Кг. Кг. |
128,42 381,09 |
||||||||||
|
маляр | 7 | 1 |
Олифа Колер |
Кг. Кг. |
128,42 381,09 |
||||||||||
|
бетонщики | 3 | 2 | Бетон |
М3 |
231,33 | ||||||||||
|
бетонщики | 3 | 2 | Бетон |
М3 |
231,33 | ||||||||||
|
бетонщики | 3 | 1 | Бетон |
М3 |
462,67 | ||||||||||
коммуникации |
10 | 1 | ||||||||||||||
|
Строительный трест | 13 | 2 | Строительный трест | ||||||||||||
|
13 | 2 | ||||||||||||||
|
4 | 2 | ||||||||||||||
|
4 | 2 | ||||||||||||||
|
5 | 2 | ||||||||||||||
|
5 | 2 | ||||||||||||||
|
11 | 3 | ||||||||||||||
|
11 | 3 | ||||||||||||||
|
7 | 1 | ||||||||||||||
|
8 | 2 | ||||||||||||||
|
5 | 1 | ||||||||||||||
Контроль выполнения работ по устройству сборного железобетонного фундамента.
|
Контролируемые параметры |
Допуск, мм. |
Методы контроля |
|
Толщина конструкции |
15 |
Измерительный, журнал работ. |
|
Отметки опорных поверхностей |
10 |
Измерительный, журнал работ. |
|
Ширина проёмов |
5 |
Измерительный, журнал работ. |
|
Отклонение поверхности, и углов от вертикали |
10 |
Исполнительная схема. |
|
Отклонение конструкций по горизонтали на 10 м длины стены |
15 |
Техосмотр, геодезический, исполнительная схема. |
|
Неровности на кладке на 2 метра длины рейки |
10 |
Техосмотр, журнал работ. |
|
Сборные конструкции, отклонение от симметрии (половина разницы глубины опирания концов элементов) при устройстве плит перекрытия направлении пролёта |
6 |
Измерительные |
|
Разница отметки двух смежных плит |
10 |
Измерительный |
Ведомость подсчёта объемов работ.
| № |
Наименование видов работ и конструкций |
ед. из. |
Кол-во (объём) |
Формула подсчета |
|
1 |
2 |
3 |
4 |
5 |
|
|
Планировка площадки и срезка растительного слоя грунта бульдозером, с перемещением до 3040 м, высота срезки – 015 м, грунт 1 группы. |
МІ Мі |
6000 900 |
а = 75 м b = 80 м F = a · b = 6000 V= F · 0.2 = 900 |
|
|
Механизированная разработка грунта в траншеях и котловане одноковшовым экскаватором
|
Мі |
3929 3402 527 |
Данные взяты из расчёта объёмов работ |
|
|
Ручная доработка грунта в траншеях |
Мі |
118 |
V - 3% от объема грунта траншеи |
|
|
Обратная засыпка грунта в пазухи фундамента бульдозером с перемещением грунта до 30 м |
Мі |
3062 |
V - 90% от объема разрыхлённого грунта в отвале |
|
|
Механизированное уплотнение грунта грунтоуплотняющими машинами |
Мі |
2933 |
Vв отвал /116 |
|
|
Устройство горизонтальной г.и. |
МІ |
771 |
|
|
|
Устройство сборных ленточных фундаментов:
|
Мі |
182 243 |
Данные взяты из расчёта объёмов работ |
|
|
Монтаж плит перекрытия |
Шт |
295 |
По спецификации |
|
|
Монтаж лестничных: Маршей Площадок |
Шт. |
12 8 |
По спецификации |
|
|
Кирпичная кладка стен |
Мі |
964 |
|
|
|
Монтаж гипсовых перегородок |
МІ |
245 |
По спецификации |
|
|
Монтаж:
|
шт |
84 14 |
По спецификации |
|
|
Наружная отделка здания |
МІ |
1351 |
|
|
|
Внутренняя отделка потолков помещений |
1671,48 |
По спецификации |
|
|
|
Внутренняя отделка стен помещений |
МІ |
3069,06 |
По спецификации |
|
|
Нарезка и вставка стекол |
МІ |
433 |
Площадь остекления |
|
|
Масляная окраска оконных проёмов |
МІ |
126 |
S = Sстекло ·26 |
|
|
Масляная окраска дверных полотен |
МІ |
203 |
S = Sпр ·24 |
|
|
Устройство полов |
МІ |
1803 |
S = Sпола |
|
|
Устройство кровли из составляющих слоев |
МІ |
3694,8 |
|
Основные положения по организации и планированию строительства объекта.
В основе организации и планирования производства работ на строительном объекте лежит поточный метод, главными принципами которого являются непрерывность и ритмичность производственного процесса, а так же планомерность выполнения отдельных видов работ. В сочетании с высокой степенью сборности здания этот метод наиболее эффективен. Одновременное выполнение работ бригадами или звеньями рабочих на разных захватках позволяет выполнять необходимый объём работ на одной захватке и подготовку следующей операции, тем самым резко сокращая сроки производства работ. При данном методе работы ведутся комплексными или специализированными бригадами, имеющими постоянный состав, а значит высокое качество выполняемых работ.
Кроме этого эффективность поточного строительства выражается в равномерном и наиболее полном использовании трудовых и материально-технических ресурсов производства на протяжении всего срока строительства. Последовательность строительства зданий и сооружения определяется требованиями технологии производства. Организация строительства здания поточным методом требует предварительной разработки организационно-технологической схемы строительства и выбора производства работ. Взаимосвязь и последовательность выполнения строительных и монтажных работ с принятыми технологическими и организационными методами отражается в организационных моделях, одной из которых является сетевая. Она даёт возможность выбрать оптимальный вариант выполнения работ, использовать все резервы и оперативно варьировать ими в ходе строительства.
Возможность применения сетевой модели на ЭВМ и преимущества сетевых графиков перед остальными дали широкое распространение выше изложенным методам работы и технологиям производства.
Определение потребности во временных зданиях и сооружениях.
Наибольшее число работающих согласно сетевому графику - 23 человек. Кроме того, добавляем работников:
Инженерно - технические работники - 11% (принимаем 3 чел)
Младший обслуживающий персонал - 15%(принимаем 1чел)
Служащие – 36%(принимаем 1чел)
Общее
количество
человек:
,
где
.
Расчёт площадей временных зданий.
Таблица
|
|
Наименование помещения | Количество работающих | Процент пользующихся данным помещением | Расчётное количество рабочих | Норма на 1 рабочего, мІ | Расчётная площадь, мІ | Тип временного здания |
Размеры здания, м |
| 1 | 2 | 3 | 4 | 5 | 6 | 7 | ||
|
Контора | 3 | 100 | 3 | 4 | 12 | Передвижной вагон |
62,7 |
|
Душевая | 30 | 50 | 15 |
054 |
8,1 | Передвижной вагон |
3,32,7 |
|
Сушилка | 30 | 40 | 12 |
02 |
2,4 | Передвижной вагон |
2,22,2 |
|
Помещение для обогрева или защиты от солнечной радиации | 30 | 50 | 15 |
01 |
1,5 | Передвижной вагон (2 шт.) |
2,22,2 |
|
Столовая | 30 | 50 | 15 | 0,8 | 12 | ||
|
Туалет | 30 | 100 | 30 |
01 |
3 | Контейнерный |
22 |
|
|
Бытовка | 30 | 70 | 21 | 0,7 | 14,7 | Передвижной вагон |
63.3 |
|
Кладовые | - | - | - | - | 18,04 | Передвижной вагон (2 шт.) |
4,12,2 |
|
|
Всего: | 72,5 |
Определение потребности во временных зданиях и сооружениях.
Наибольшее число работающих согласно сетевому графику - 60 человек. Кроме того добавляем работников:
Инженерно - технические работники - 11% (принимаем 7чел)
Младший обслуживающий персонал - 15%(принимаем 1чел)
Служащие – 36%(принимаем 2чел)
Общее
количество
человек:
,
где
.
Расчёт площадей временных зданий.
| № | Наименование помещения | Количество работающих | Процент пользующихся данным помещением | Расчётное количество рабочих | Норма на 1 рабочего, мІ | Расчётная площадь, мІ | Тип временного здания |
Размеры здания, м |
| 1 | 2 | 3 | 4 | 5 | 6 | 7 | ||
|
Контора | 10 | 100 | 10 | 4 | 40 | Передвижной вагон (2 шт.) |
92,7 |
|
Душевая | 74 | 50 | 37 |
054 |
19,98 | Передвижной вагон |
8,53,1 |
|
Сушилка | 74 | 40 | 30 |
02 |
6 | Передвижной вагон |
7,82,6 |
|
Помещение для обогрева или защиты от солнечной радиации | 74 | 50 | 37 |
01 |
3,7 | Передвижной вагон (2 шт.) |
92,7 |
|
Столовая | 74 | 50 | 37 | 0,8 | 29,6 | ||
|
Туалет | 74 | 100 | 87 |
01 |
8,7 | Контейнерный |
63 |
|
|
Медпункт | -- | -- | -- | -- | 24,3 | Передвижной вагон |
92,7 |
|
|
Бытовка | 87 | 70 | 61 | 0,7 | |||
|
|
||||||||
|
|
Расчёт площадей складов.
Площадь складов рассчитывается по количеству материалов:
Qзап=(Qобщ··/Т)·n·k,
где Qзап-запас
материалов
на складе
Qобщ-общее количество материалов, необходимых для строительства
-коэффициент неравномерности поступления материалов на склад =1,1
n-норма запасов материала в днях
Т-продолжительность расчетного периода
к-коэффициент неравномерности потребления материалов=1.3
Полезная площадь склада без проходов
F= Qзап/q
где q-количество материалов, укладываемое на 1 м2 площади склада
Общая площадь склада S=F/
где -коэффициент его использования, характеризующейся отношением полезной площади склада к общей (коэффициент на проходы)
| № | Наименование элемента | Тип | Единицы измерения | Потребное количество | Проодолжительность раччетного периода | Запас в днях |
Qзап |
Норма хранения на 1мІ | Полезная площадь, мІ |
|
Расчётная площадь, мІ |
| 1 | 2 | 3 | 4 | 5 | 6 | 7 | 9 | 10 | 13 | 14 | |
|
|
Колонны | Откр. | мі | 201,4 | 2,5 |
08 |
16916 |
13 |
282 | ||
|
|
Фермы | Откр. | мі | 206,5 | 9 |
03 |
62 |
13 |
1034 |
||
|
|
Фундаментные балки | Откр. | мі | 28,52 | 1 | 0,3 | |||||
|
|
Панели стен | Откр. | мі | 1039,02 | 14 |
05 |
17112 |
13 |
2852 |
||
|
|
Подкрановые балки | Откр. | т | 115,2 | 4,5 |
04 |
9295 |
13 |
155 | ||
|
|
Плиты покрытия | Откр. | мі |
26964 |
4,5 |
05 |
12012 |
13 |
2002 |
||
|
|
Рулонные материалы | Навес | мІ | 22680 | 11,5 | 20 |
134 |
13 |
223 |
||
|
|
Стекло | Закр. | мІ | 806,4 | 3,5 | 200 |
54 |
13 |
9 | ||
|
|
Кирпич | Откр. | тыс. шт | 32907 | 4 | 0,7 |
Расчет
потребности
строительства
в воде.
Полная потребность в воде:
![]()
Определение расхода воды на производственные нужды:
- потребность
воды на производственные
нужды.
- коэффициент
неравномерности
потребления
воды.
Работа экскаватора: одна машина - 600(л)
Заправка экскаватора: одна машина – 80(л)
Заправка и обмывка трактора: одна машина – 350(л)
Поливка щебня: 90.72·5=454(л)
Штукатурные работы: 5467 · 7 = 38270
Малярные работы: 10343·05 = 5171(л)
![]()
Определение расхода воды на хозяйственные нужды:
![]()
,
где 60
– максимальное
количество
работающих
в один день;
20 – норма расхода
воды на одного
человека в
день.
.
Определение расхода воды на душевые:
Секундный
расход воды
на душевые
установки:
![]()
;
.
Определение расхода воды на противопожарные мероприятия:
На строительной
площадке
предусмотрено
два гидранта
расходом по
.
Таким образом
.
![]()
Определение диаметра трубопровода для временного водопровода:

Обеспечение строительной площадки электричеством.
Мощность силовой установки для производственных нужд:
,
где
- коэффициент
мощности, зависящий
от загрузки
- коэффициент
спроса электроэнергии.
Мощность установок для производственных нужд
|
Механизмы |
Ед.изм |
Кол-во |
Мощность электродвигателей, кВт |
Общая мощность, кВт |
| Кран МКГ-25 БР | шт. | 1 | 40 | 40 |
| Штукатурный агрегат | шт. | 1 | 5,25 | 5,25 |
| Электрокраскопульт | шт. | 3 | 0,27 | 0,81 |
| Поверхностный вибратор ИВ-91 | шт. |
2 |
0,6 | 1,2 |
| Глубинный вибратор И-18 | шт. | 2 | 0,8 | 1,6 |
| Сварочный аппарат ТД-306 | шт. | 2 | 20 | 40 |
| Итого: | 88.86 |
Расчет
ведем по максимальному
значению Р=82,8
кВт
.
Мощность сети наружного освещения:
![]()
![]()
![]()
![]()
;
;
![]()
Мощность сети внутреннего освещения:
|
Потребители эл.энергии |
Ед.изм. |
Кол-во |
Норма освещенности, кВт |
Мощность, кВт |
| Контора |
|
0.48 | 1,5 | 0.7 |
| Душевая | 0.26 | 1,0 | 0.3 | |
| Сушилка | 0.20 | 1,0 | 0.2 | |
| Помещение для обогрева | 0.48 |
1,0 |
0.5 | |
| Столовая | ||||
| Туалет | 0.18 | 1,0 | 0.2 | |
| Медпункт | 0.24 | 1,3 | 0.3 | |
| Бытовка | 0.37 | 1,5 | 0.5 | |
| Кладовые | 0.18 | 1,0 | 0.2 | |
| Итого: | 2.9 |
![]()
Мощность
трансформатора:
.
Расчёт
площадей складов.
Площадь складов рассчитывается по количеству материалов:
Qзап=(Qобщ··/Т)·n·k,
где Qзап
-
запас
материалов
на складе
Qобщ - общее количество материалов, необходимых для строительства
- коэффициент неравномерности поступления материалов на склад =1,1
n - норма запасов материала в днях
К - коэффициент неравномерности потребления материалов=1.3
Полезная площадь склада без проходов
F= Qзап/q
где q - количество материалов, укладываемое на 1 м2 площади склада
Общая площадь склада S=F/
где
-
коэффициент
его использования,
характеризующейся
отношением
полезной площади
склада к общей
(коэффициент
на проходы)
|
|
Наименование элемента | Тип | Единицы измерения | Потребное количество | Проодолжительность расчетного периода | Запас в днях |
Qзап |
Норма хранения на 1мІ | Полезная площадь, мІ |
|
Расчётная площадь, мІ |
| 1 | 2 | 3 | 4 | 5 | 6 | 7 | 9 | 10 | 13 | 14 | |
|
|
Фундаментные блоки | Откр. | мі | 425 | 1 | 5 | -- | 0,3 | -- | 0,5 | -- |
|
|
Плиты перекрытия | Откр. | Шт. | 295 | 8 | 2 | 96.4 |
05 |
192.79 | 0,5 | 385.58 |
|
|
Рулонные материалы | Навес | МІ | 2280 | 8 | 5 | 20272.83 | 200 | 101.36 | 0,6 | 168.9 |
|
|
Стекло | Закр. | МІ | 806,4 | 22 | 5 | 262.08 | 200 | 1.31 | 0,4 | 3.28 |
|
|
Древесина | Навес | Мі | 47,09 | |||||||
|
|
Кирпич | Откр. | тыс. шт | 64,267 | 4 | 2 | 23,5 | 0,7 | 33,6 | 0,5 | 67,2 |
| 10. | Итого 2274.94 | ||||||||||
Расчёт
площадей складов.
Площадь складов рассчитывается по количеству материалов:
Qзап=(Qобщ··/Т)·n·k,
где Qзап-запас
материалов
на складе
Qобщ - общее количество материалов, необходимых для строительства
- коэффициент неравномерности поступления материалов на склад =1,1
n - норма запасов материала в днях
К - коэффициент неравномерности потребления материалов=1.3
Полезная площадь склада без проходов F= Qзап/q
где q - количество материалов, укладываемое на 1 м2 площади склада
Общая площадь склада S=F/
где - коэффициент его использования, характеризующейся отношением полезной площади склада к общей (коэффициент на проходы)
Таблица
|
|
Наименование элемента |
Тип |
Единицы измерения |
Потребное количество |
Проодолжительность раччетного периода |
Запас в днях |
Qзап |
Норма хранения на 1мІ |
Полезная площадь, мІ |
|
Расчётная площадь, мІ |
|
1 |
2 |
3 |
4 |
5 |
6 |
7 |
8 |
9 |
10 |
11 |
12 |
|
1. |
Фундаментные балки |
Откр. |
Мі |
425 |
1 |
5 |
1397,8 |
2,3 |
607,8 |
0,5 |
1215,5 |
|
2. |
Лестничные марши |
Откр. |
Мі |
24 |
2,3 |
5 |
7,5 |
0,5 |
14,9 |
0,5 |
29,8 |
|
3. |
Лестничные площадки |
Откр. |
Мі |
36 |
2,3 |
5 |
11,2 |
0,5 |
22,4 |
0,5 |
44,8 |
|
4. |
Плиты перекрытия |
Откр. |
Мі |
269,64 |
4 |
5 |
48,2 |
0,5 |
96,4 |
0,5 |
192,8 |
|
5. |
Вата минеральная в плитах |
Закр. |
Мі |
279 |
4 |
5 |
199,5 |
2 |
99,7 |
0,7 |
142,5 |
|
6. |
Плиты гипсовые |
Навес |
Мі |
29,4 |
4 |
5 |
21,0 |
2 |
10,5 |
0,6 |
17,5 |
|
7. |
Линолеум |
Закр. |
МІ |
734 |
1 |
5 |
83969,6 |
80 |
1049,6 |
0,7 |
1499,5 |
|
8. |
Рубероид |
Навес |
МІ |
1270 |
1,5 |
5 |
242146,7 |
200 |
1210,7 |
0,6 |
2017,9 |
|
9. |
Древесина |
Навес |
Мі |
32 |
2 |
5 |
45,8 |
2 |
22,9 |
0,6 |
38,1 |
|
10. |
Сталь кровельная |
Откр |
Т. |
1,8 |
1 |
5 |
2,6 |
1 |
2,6 |
0,5 |
5,1 |
|
11. |
Стекло |
Закр. |
МІ |
433 |
1 |
5 |
123838,0 |
200 |
619,2 |
0,7 |
884,6 |
|
12. |
Кирпич |
Откр. |
Тыс. шт |
64,427 |
4 |
5 |
16,1 |
0,7 |
23,0 |
0,5 |
46,1 |
|
10. |
Итого |
6146,2 |
|||||||||
Техника безопасности.
До начала земляных работ необходимо получить разрешение на право их производства от тех организаций, в ведении которых находится подземные коммуникации. После получения разрешения необходимо установить знаки, указывающие места расположения коммуникаций.
Опасную зону работы экскаватора ограждают знаками безопасности.
Экскаватор во время работы устанавливают на спланированной площадке и во избежание самопроизвольного перемещения закрепляют инвентарными упорами.
Во время перерыва в работе экскаватор отводят от края котлована на расстоянии не менее 2 м, а ковш опускают на уровень грунта, и только после этого ковш очищают от налипшего грунта.
Грунт, вышедший из котлована, размещают на расстоянии не менее 0,5 м от бровки.
Движение экскаватора и автомобилей вдоль котлована допускается на расстоянии от бровки, обеспечивающим безопасность.
При пересечении котлована с действующими коммуникациями разработка грунта механизированным способом разрешается на расстоянии не менее 2 м от боковой стенки и не менее 1 м над верхом трубы, кабеля и др. Грунт, оставшийся после механизированной разработки, должен дорабатывается вручную без применения ударных инструментов, при этом должны приниматься меры, исключающие возможность повреждения этих коммуникаций.
При работе экскаватора не разрешается выполнять какие-либо другие работы со стороны забоя и находиться людям в радиусе действия экскаватора плюс 5 м.
Путь по которому передвигается экскаватор в пределах строительной площадки, должен быть заранее выровнен. Во время движения экскаватора стрелу его необходимо устанавливать строго по направлению хода, а ковш приподнимать над землёй на 0,5 – 0,7 м. Запрещается передвижение экскаватора с нагруженным ковшом.
Грунт на автомобили экскаватором должен грузится со стороны заднего или бокового борта автомобиля.
Землеройные машины должны быть оборудованы звуковой сигнализацией. Значения сигналов должны быть разъяснены всем рабочим, связанным с работой машины.
В тёплое время суток рабочие места, подъезды и пути движения автомобилей-самосвалов необходимо достаточно осветить.
Для прохода рабочих в котлован устанавливают стремянки шириной не менее 0,6 м с перилами или приставные лестницы.
За состоянием откосов котлована надлежит вести систематические наблюдение, осматривая грунт перед началом каждой смены. При появлении трещин следует принимать меры против внезапного обрушения грунта, заблаговременно удалять из опасных мест.
Работы по устройству подземной части здания выполняются с соблюдением правил техники безопасности СНиП III-4-90. Все грузоподъемные механизмы и такелажные приспособления, применяемые на строительно-монтажных работах, перед началом их эксплуатации должны быть испытаны согласно правилам Госгортехнадзора с оформлением актов.
К укрупнению строительными машинами запрещается допускать рабочих и обслуживающий персонал, не имеющих удостоверений на право управления машиной.
Самоходные машины должны быть оборудованы звуковой сигнализацией. Машинистам самоходных машин разрешается давать звуковые сигналы на строительной площадке. На машине или в зоне её работы должны быть вывешены инструкции по эксплуатации, предупредительные надписи, знаки и плакаты по технике безопасности.
Работа стреловых кранов, погрузчиков и других строительно-дорожных машин непосредственно под проводами действующих воздушных линий электропередачи любого напряжения запрещается.
При проезде под линией электропередачи, находящейся под напряжением, рабочие органы машины должны находиться в транспортном положении.
Чистка, смазка и ремонт машин допускается лишь после их полой остановки.
Движущиеся детали должны быть ограждены в местах возможного доступа к ним людей. Запрещается работа на машинах с неисправным или снятым ограждением движущихся частей.
Защитные панели кранов должны быть закрыты на замок.
У всех рабочих производящих монтаж и все лиц находящиеся на площадке должны быть надеты защитные каски.
Рабочее место около машин должно быть равным и нескользким. Его следуем содержать в чистоте.
При работе стреловых самоходных кранов с выносными опорами, краны должны устанавливаться на все опоры с применением инвентарных подкладок.
При установке крана на рабочей площадке его необходимо затормозить ручным тормозом и принять меры против самопроизвольного движения.
При работе крана запрещается людям находиться у механизмов на кране, а так же на поворотной части крана.
Масса поднимаемого крана с учётом масс грузозахватных приспособлений и тары не должна превышать максимальную (паспортную) грузоподъёмность крана при данном вылете стрелы.
Запрещается использовать краны для перемещения груза.
Элементы и конструкции следует стропить инвентарными стропами так, чтобы они подавались к месту установки в положении, максимально близком к проектному.
Элементы и конструкции очищаются от грязи, наледи, ржавчины на земле до их подъёма.
Поданный элемент опускают над местами его установки до тех пор, когда он будет на 30 см выше проектного уровня, после чего монтажники наводят его на место установки.
Мелкие, штучные, а также сыпучие грузы следуем принимать в специальной инвентарной таре, испытанной на прочность.
Уложенный груз должен находится ниже уровня бортов тары на 10 см.
Запрещается подъём грузов в виде пакетов без приспособлений, исключающих выпадение отдельных элементов из пакета.
Не допускается подтягивание груза и опускании его на грузоподъёмную площадку при наклонном положении грузовых канатов крана.
Грузы массой, близкой к максимальной грузоподъёмности крана наи данном вылете стрелы, необходимо принимать в два приёма. Сначала груз поднимают на высоту 20-30 см, затем на полную высоту.
Не допускается подъёма груза, масса которого неизвестна.
При горизонтальном перемещении груз должен быть поднят не менее чем на 0,5 м выше встречающихся на пути препятствий.
Грузовой крюк крана и съёмка грузозахватных приспособлений должны быть оборудованы предохраняющими запорными устройствами, предотвращающими самопроизвольное выпадение грузозахватного приспособления или груза.
Запрещается оставлять поднятые элементы и конструкции на весу.
Расстроповка установленных элементов допускается лишь после прочного и устойчивого их закрепления.
Опалубку при устройстве ростверка можно разбить только с разрешения производителя работ или мастера.
Перед началом разборки опалубки следует проверить прочность бетона, установить отсутствие нагрузок, превышающих допустимые и дефектов, которые могут повлечь за собой чрезмерные деформации или обрушение конструкций после снятия опалубки.
Электропровода, подводящие ток от рубильника к электродвигателям, заключают в резиновые шланги.
Выполнять сварочные работы на открытом воздухе во время грозы, дождя или снегопада запрещается.
В электросварочных установках должны предусмотрены надёжные ограждения всех элементов, находящихся под напряжением.
Электросварочные установки, расположенные над землёй на высоте более 1м, должны быть оборудованы освещёнными рабочими площадками с настилом, десницами и перилами.
На строительной площадке должен быть установлен порядок обмена условными сигналами. Все сигналы подаются только одним лицом – бригадиром, кроме сигнала «стоп», который может подаваться всеми лицами заметившими опасность.
При выполнении работ необходимо пользоваться инструкциями по безопасному ведению работ для стропальщиков, обслуживающих грузоподъёмные краны, инструкцией по безопасному ведению работ для машинистов (крановщиков) стреловых и самоходных кранов (железнодорожных, автомобильных, гусеничных, пневмоколёсных).
Технологическая карта.
Устройство сборного железобетонного фундамента.
Область применения.
Технологическая карта разработана на основе методов научной организации труда и предназначена для использования при разработке проекта производства работ и организации труда на объекте.
В технологическую карту включены работы по разработке котлована и траншей глубиной 3.3м в суглинистых грунтах, монтажу фундаментных плит, фундаментных блоков, устройству монолитных полов в подвальном помещении, кладки цоколя, гидроизоляции стен подвала.
Технологическая карта составлена на устройство фундаментов комплекса детского яслей-сада. Сюда же включены работы по перепланировке строительной площадки со срезкой растительного грунта и разработке котлована до отметки низа фундаментной конструкции.
Указания по технологии производственного процесса.
До начала земляных работ по разработке котлована срезают растительный слой и планируют строительную площадку бульдозером Д-271, возводят временные здания и сооружения, необходимые на период производства работ, устраивают временное электроосвещение строительной площадки, прокладывают все постоянные подземные сети (водопровод, канализацию и теплосети), осуществляют геодезическую разбивку осей здания с закреплением их на инвентарной обноске, оформляют актом разработку котлована, проверяют состояние имеющихся реперов, доставляют на площадку механизмы и инструмент для производства работ.
Котлован и траншеи разрабатываются на глубину 3.3 м с крутизной откосов 1:0,25 экскаватором Э-5015А, оборудованным обратной лопатой с ковшом ёмкостью 0.65 мі, двумя параллельными проходами (для траншей) и одним проходом (для траншей).
Допустимая недоработка грунта в основании котлована экскаватором Э-5015А – 15 см.
Сначала экскаватором отрывают котлован, а затем бульдозером Д-271 зачищают дно котлована. Траншеи роются за один проход тем же экскаватором, недоработка разрабатывается вручную бригадой землекопов. Грунт при разработке котлована вывозят автомобилями-самосвалами за пределы строительной площадки и частично используют для засыпки пазух.
Удаление атмосферных осадков с поверхности дна котлована обеспечивается устройством продольного уклона – 0.003.
Автомобили-самосвалы, подаваемые под погрузку грунта, устанавливают по заранее поставленным вешкам с таким расчётом, чтобы угол поворота экскаватора для разгрузки ковша при рытье котлована был не более 40є.
При выполнении земляных работ должны быть сохранены все вынесенные знаки разбивочных осей углов и реперов. В случае повреждения их следует немедленно восстановить.
Перед монтажом фундамента необходимо обозначить разбивочные оси здания, завезти и складировать фундаментные блоки и плит, проверить заводские паспорта на эти изделия, проверить соответствие марок блоков и плит завести и разместить на строительной площадке необходимые материалы, механизмы и приспособления.
Порядок раскладки фундаментных плит и блоков указан на схеме организации работ по раскладке элементов. Запас элементов фундамента на строительной площадке должен быть на одну захватку.
Блоки и плиты укладываются краном на ходу. Кран выбирается из условий оптимальной длинны стрелы, грузоподъёмности, вылета стрелы. Для подъёма элементов фундамента применяют четырёх ветвевой строп 4СК 2.0-0.5, которым захватывают элементы фундаментов за монтажные петли. Разворачивают элементы вокруг своей оси на весу баграми.
Подъём блоков и подушек должен производится без ударов и рывков.
Фундаментные плиты принимаются на багры и укладываются на подготовку по заранее натянутым бечёвкам с контролем горизонтальности ряда. Фундаментные блоки при монтаже предварительно принимаются на лом, устанавливаются на деревянные клинья на раствор. Блок выравнивается и нивелируется в горизонтальной плоскости, клинья выбиваются. Производя зачеканку горизонтальных швов между блоками.
После монтажа фундаментных блоков производится гидроизоляция наружных поверхностей стен подвала.
На отметке –0.9 в цокольной стене устраивается гидроизоляция из двух слоёв рубероида на битумной мастике.
Производится кирпичная кладка цоколя на отметке –1.2 до отметки 0.0.
Перед началом монтажа конструкций подготавливают и доставляют на строительную площадку требуемый инвентарь, инструмент и приспособления.
Цокольные панели разрешается монтировать только после инструментальной проверки соответствия проекту горизонтального и вертикального положения фундаментов. Проверку оформляют актом.
Перед началом монтажа конструкций переносят оси стен на стены фундаментов, а так же определяют монтажный горизонт.
Бригада монтажников конструкции должна быть ознакомлена с порядком монтажа и правилами техники безопасности.
Детали и конструкции, поступающие на строительную площадку должны, соответствовать требованиям СНиП III-16- «Бетонные и железобетонные конструкции сборные».
Конструкции подземной части здания производится с приобъектного склада: все конструкции укладываются в штабеля в зоне действия крана.
При организации приобъектного склада соблюдается следующее:
Площадку для складирования конструкций располагают вдоль направления движения крана, планируют, утрамбовывают грунт и обеспечивают отвод поверхностных вод;
Ближе к монтажному крану размещают наиболее тяжёлые конструкции;
Все детали и конструкции располагают против мест укладки и установки их в проектное положение;
Изделия размещают так, чтобы их было удобно стропить, а маркировку можно было читать со стороны прохода или проезда;
Все изделия, хранящиеся в штабеле, укладывают на деревянные прокладки, которые размещают строго по вертикали. Между штабелями устраивают проход шириной 1м;
Плиты перекрытия укладываются в штабеля высотой не более 2,5 м, а лестничные марши высотой не более 1,5 м.
Перед подъёмом конструкции следует:
Очистить поднимаемые, а также установленные ранее смежные конструкции от грязи, мусора, снега, наледи, а металлические детали – от наплывов и ржавчины;
Проверить положение закладных деталей и наличие всех необходимых рисок;
Подготовить рабочее место к приёму конструкций с проверкой наличия на рабочем месте соединительных деталей и необходимых вспомогательных материалов;
Проверить правильность и надёжность закрепления грузозахватных устройств.
Конструкции следует стропить в местах, указанных в проекте, и подавать к месту установки (укладки) в положении, соответствующем проекту. Запрещается строповка конструкций в произвольных местах, а так же за арматурные выпуски.
При монтаже сборных конструкций надлежит выполнять следующие правила:
Поднимать и перемещать конструкции плавно, без рывков, раскачивания и вращения;
Поднимать конструкции в два приёма;
Сначала на высоту 20-30 см и после проверки надёжности строповки – на полную высоту;
Не допускается ударов монтируемого элемента конструкции о ранее установленные конструкции.
Панели перекрытий должны подаваться на монтаж в горизонтальном положении.
Элементы конструкций, смещённые с растворной постели в период твердения раствора, должны быть приподняты краном, очищены от приставшего раствора и снова установлены на свежий раствор.
Раствор, схватывание которого началось, укладывать в швы запрещается.
Электросварочные работы должны выполнять электросварщики, имеющие паспорт на право производство работ. Сварку следует производить электродами Э-42.
Сварные элементы конструкций должны быть предварительно очищены от раствора, ржавчины, краски, жирных пятен и других загрязнений и высушены.
Указанные работы оформляют актами на освидетельствование скрытых работ.
При заделке и герметизации стыков и швов необходимо обеспечить (в соответствии с проектом):
Прочность, монолитность и морозоустойчивость бетона в стыках;
Стойкость стыков и швов против механических повреждений и коррозии;
Необходимое сопротивление стыков и швов теплопередаче, воздухо -, паро-, и влагопроницаемости.
Вертикальную гидроизоляцию поверхностей стен в подземной части здания, соприкасающихся с грунтом, осуществляют нанесением горячего битума за два раза при помощи универсальной удочки.
Битумную мастику приготавливают на строительной площадке разогревом до рабочей температуры полуфабрикатов.
Окрасочную гидроизоляцию наносят на подготовленную поверхность равномерно без пропусков по всей изолируемой поверхности толщиной по 1,5 – 2 мм.
Каждый слой наносят после отвердения и просушки ранее нанесённого слоя.
Места перехода изоляции с вертикальной поверхности на горизонтальную усиливается наклейкой полосы рулонного изоляционного материала шириной не менее 20 см, а затем покрывать окрасочным слоем.
После устройства вертикальной гидроизоляции засыпают пазухи котлована бульдозером Д-271 на базе трактора С-80 с тщательным послойным уплотнением грунта пневматическими трамбовками с квадратными башмаками марки ТР – 4 или ТР – 6.
Одновременно с монтажными работами фундамента выполняется работы по устройству монолитных полов. Запрещается одновременный монтаж конструкций и работы по устройству пола в одной и той же захватке.
Требования к качеству операции.
При монтаже монолитных фундаментов и других элементов подземной части здания контролируют соответствие размеров фундамента размерам, заложенным в проекте производства работ и в нормах производства строительно-монтажных работ. Главное внимание уделить качеству привозимой бетонной смеси, операции вибрирования (соблюдение необходимой толщины слоя при укладке бетона между операциями, времени вибрации), уходу за бетоном. Технологический перерыв до производства следующего вида работ должен составить не менее 3 дней для необходимого набора прочности бетоном. По окончании монтажа проверяется отклонение осей фундамента от проектных осей. Смещение осей конструкций фундаментов допускается на ±12 мм. Отклонение отметок опорных поверхностей фундаментов может быть ниже проектных на 20 мм.(тогда производится дополнительная подливка цементным раствором до проектной точки), но не может ни в коем случае быть выше проектной.
Данные:
Продолжительность рабочего времени в 1 смену при 5 - дневной рабочей неделе – 8.2 час.
Ведомость
трудоемкости
работ и затрат
машинного
времени
при
строительстве
объекта.
| № | Наименование работ |
Трудоемкость Чел/дни |
Трудоемкость Маш./см. |
Примечания |
| 1 | 2 | 3 | 4 | 5 |
| 1 | Подготовительные работы |
307 |
16,97 |
5% от основных общестроительных работ |
|
|
Общестроительные работы:
Итого: |
54 202 1175 219 178 449 208 230 150 94,5 2959,5 |
8,71 28,00 48,11 45,62 11,36 15,03 5,34 7,68 47,89 99,55 317,29 |
--- |
|
3 4 5 6 7 8 9 |
Особостроительные работы Сан. Техника Электротехника Монтаж технологического оборудования Пусконаладочные работы Внешние коммуникации Благоустройство территории |
1059,4 169,7 88 45 5 427 18 |
20,36 4,76 |
10% объёма монтажа технолог оборудования 6% от общестроительных работ |
|
Всего: |
4771,6 |
342,41 |
| № п/п | Работы | Трудоёмкость | Состав звена | Количество, смен. | Колич. Чел. В бригаде. | Продолжительность в днях | ||||||
| Ед. изм. | Объём работ | Нормативная | Принятая | |||||||||
| чел./дн. | маш./см. | чел./дн. | маш./см. | Профф. Разряд. | Количество, чел | |||||||
| 1 | Разработка растительного слоя | 1000 МІ | 6 | 0.63 | 0.63 | 0.5 | 0.5 | машинист 6 разр | 1 | 1 | 1 | 0.5 |
| 2 | Разработка грунта экскаватором | 1000 Мі | 3.93 | 2.6 | 5.2 | 2.5 | 5 | машинист 6 разр, помошник машиниста 5 разр. | 2 | 2 | 2 | 2.5 |
| 3 | Ручная доработка | 100 Мі | 1.2 | 18.75 | 0 | 18 | 0 | землекоп 3 разр, землекоп 2 разр | 2 | 1 | 6 | 3 |
| 4 | Обратная засыпка бульдозером | 100 Мі | 3.4 | 1.8 | 1.8 | 2 | 2 | машинист 6 разр | 1 | 2 | 1 | 1 |
| 5 | Механизированное уплотнение | 100 МІ | 2.9 | 4.1 | 3.95 | 4 | 4 | машинист 5 разр | 1 | 2 | 1 | 2 |
| 6 | Бетонная подготовка под фундамент | 100 Мі | 11.3 | 19.3 | 3.5 | 19 | 0 | бетонщик 4 разр, бетонщик 3 разр | 4 | 2 | 4 | 2.5 |
| 7 | Монтаж плит и блков | 100 шт | 7.48 | 89.2 | 22.12 | 89 | 22 | машинист 6 разр, монтажник 4 разр, монтажник 3 разр. | 3 | 2 | 5 | 11 |
| 8 | Горизонтальная гидроизоляция подошвы фундамента | 100 МІ | 11.9 | 71.3 | 4.96 | 71 | 0 | рабочий 4 разр, рабочий 3 разр. | 2 | 2 | 6 | 6 |
| 9 | Вертикальная гидроизоляция стен фундамента | 100 МІ | 7.7 | 18.9 | 4.2 | 19 | 0 | рабочий 4 разр, рабочий 3 разр. | 2 | 2 | 4 | 2.5 |
| ВЕДОМОСТЬ ТРУДОЁМКОСТИ РАБОТ И ПОТРЕБНОСТИ В МАШИНО-СМЕНАХ. | ||||||||
| № | Наименование работ | Обоснование по СНиП или ЕНиР | Ед. изм. | Кол - во | Норма на ед. измерения | Общая потребность | ||
| чел/ч | маш/ч | чел/ч | маш/ч | |||||
| 1 | 2 | 3 | 4 | 5 | 7 | 8 | 10 | 11 |
| I. | Земляные работы | |||||||
| 1 | Срез растительного слоя | СНиП IV-2-82 | 1000 МІ | 6 | 0.84 | 0.84 | 5.04 | 5.04 |
| 2 | Разработка грунта эксковатором | СНиП IV-2-82 | 1000 Мі | 8 | 5.1 | 11.4 | 40.8 | 91.20 |
| 3 | Ручная доработка | СНиП IV-2-82 | 100 Мі | 1.2 | 125 | 150 | 0.00 | |
| 4 | Обратная засыпка | СНиП IV-2-82 | 100 Мі | 3.4 | 4.24 | 4.24 | 14.42 | 14.42 |
| 5 | Механизированное уплотнение | СНиП IV-2-82 | 100 МІ | 2.9 | 11.2 | 10.9 | 32.48 | 31.61 |
| II. | Подземная часть | |||||||
| 6 | Бетонная подготовка под фундамент | СНиП IV-2-82 | 100 Мі | 11.28 | 13.7 | 2.5 | 154.54 | 28.00 |
| 7 | Монтаж фундаментных плит и блонов | СНиП IV-2-82 | 100 шт | 7.48 | 97.8 | 24.25 | 731.54 | 181.39 |
| 8 | Гидроизоляция фундамента вертикальная | СНиП IV-2-82 | 100 МІ | 11.93 | 47.8 | 3.33 | 570.25 | 39.73 |
| 9 | Гидроизоляция фундамента горизонт. | СНиП IV-2-82 | 100 МІ | 7.7 | 19.7 | 4.37 | 151.69 | 33.65 |
| III. | Монтаж каркаса | |||||||
| 7 | Кладка стен | СНиП IV-2-82 | 1 Мі | 964 | 4.64 | 0.79 | 4472.96 | 761.56 |
| 8 | Монтаж перемычек | СНиП IV-2-82 | 100 шт | 3.48 | 135 | 72.2 | 469.8 | 251.26 |
| 10 | Устройство балок | СНиП IV-2-82 | 100 Мі | 0.05 | 1710 | 127 | 85.5 | 6.35 |
| 11 | Монтаж лестничных маршей и площадок | СНиП IV-2-82 | 1 шт | 20 | 179 | 63.2 | 3580 | 1264.00 |
| 12 | Устройсво перегородок из кирпича | СНиП IV-2-82 | 100 МІ | 1.3 | 137 | 7.7 | 178.1 | 10.01 |
| 13 | Устройство перегородок из гипса | СНиП IV-2-82 | 100 МІ | 2.45 | 103 | 7.36 | 252.35 | 18.03 |
| 14 | Монтаж плит перекрытия | СНиП IV-2-82 | 100 шт | 2.95 | 204 | 23 | 601.8 | 67.85 |
| 15 | Расшивка швов | СНиП IV-2-82 | 100 МІ | 20.1 | 21 | 422.1 | 0.00 | |
| 16 | Монтаж стропил | СНиП IV-2-82 | 1 шт | 84 | 23.8 | 2.1 | 1999.2 | 176.40 |
| 17 | Устройство крылец | СНиП IV-2-82 | 1 МІ | 50.1 | 1.49 | 0.2 | 74.65 | 10.02 |
| IV. | Кровельные работы | |||||||
| 18 | Устройство обрешётки | СНиП IV-2-82 | 100 МІ | 2.98 | 172 | 5.33 | 512.56 | 15.88 |
| 19 | Устройство железной кровли | СНиП IV-2-82 | 100 МІ | 3.69 | 109 | 6.76 | 402.21 | 24.94 |
| 20 | Устройство фонарей | СНиП IV-2-82 | 1 шт | 12 | 6.03 | 0.33 | 72.36 | 3.96 |
| V. | Заполнение проёмов | |||||||
| 21 | Заполнение оконных проёмов | СНиП IV-2-82 | 100 МІ | 5.78 | 193 | 27.2 | 1115.54 | 157.22 |
| 22 | Заполнение проёмов дверей | СНиП IV-2-82 | 100 МІ | 2.73 | 82.7 | 29 | 225.77 | 79.17 |
| 23 | Устройство подоконных плит | СНиП IV-2-82 | 100 МІ | 1.2 | 97 | 6.67 | 116.4 | 8.00 |
| 24 | Остекление оконных проёмов | СНиП IV-2-82 | 100 МІ | 4.33 | 82.7 | 29 | 358.09 | 125.57 |
| VI. | Устройство полов | |||||||
| 25 | Полы бетонные | СНиП IV-2-82 | 100 МІ | 1.01 | 18.8 | 0.95 | 18.99 | 0.96 |
| 26 | Полы по лагам | СНиП IV-2-82 | 100 МІ | 0.56 | 46.3 | 2.84 | 25.93 | 1.59 |
| 27 | Полы рулонные | СНиП IV-2-82 | 100 МІ | 7.34 | 75.5 | 0.75 | 554.17 | 5.51 |
| VII. | Отделочные работы | |||||||
| 28 | Улучшенная штукатурка фасадов | СНиП IV-2-82 | 100 МІ | 13.5 | 57.4 | 4.5 | 774.9 | 60.75 |
| 29 | Внутренняя штукатурка | СНиП IV-2-82 | 100 МІ | 2.01 | 101 | 6.3 | 203.01 | 12.66 |
| 30 | Окраска водным раствором | СНиП IV-2-82 | 100 МІ | 0.76 | 6.9 | 0.06 | 5.24 | 0.05 |
| 31 | Масляная окраска | СНиП IV-2-82 | 100 МІ | 2.99 | 77 | 6.9 | 230.23 | 20.63 |
| ВЕДОМОСТЬ ТРУДОЁМКОСТИ РАБОТ И ПОТРЕБНОСТИ В МАШИНО-СМЕНАХ. | ||||||||
| № | Наименование работ | Обоснование по СНиП или ЕНиР | Ед. изм. | Кол - во | Норма на ед. измерения | Общая потребность | ||
| чел/ч | маш/ч | чел/дни | маш/см | |||||
| 1 | 2 | 3 | 4 | 5 | 7 | 8 | 10 | 11 |
| I. | Земляные работы | |||||||
| 1 | Разработка грунта экскаватором: | |||||||
| в отвал | Е2-1-13 | 100м3 | 15.94 | 2.1 | 2.1 | 4.18 | 4.18 | |
| на вывоз | Е2-1-13 | 100м3 | 2.89 | 2.6 | 2.6 | 0.94 | 0.94 | |
| 2 | Ручная доработка грунта в траншеях | Е2-1-47 | 100м2 | 0.57 | 6.5 | 0 | 0.46 | 0.00 |
| 3 | Обратная засыпка булбдозером | Е2-1-34 | 100м3 | 14.35 | 0.31 | 0.31 | 0.56 | 0.56 |
| 4 | Механизированное уплотнение | Е2-1-33 | 100м3 | 14.25 | 1.7 | 1.7 | 3.03 | 3.03 |
| II. | Бетонные работы | |||||||
| 5 | Устройство фундаментов под: | |||||||
| колонны крайних рядов | СНиП т.6-1 | 100м3 | 1.15 | 410 | 112 | 58.94 | 16.10 | |
| колонны средних рядов | СНиП т.6-1 | 100м3 | 0.63 | 410 | 112 | 32.29 | 8.82 | |
| колонны фахверка | СНиП т.6-1 | 100м3 | 0.3 | 338 | 82 | 12.68 | 3.08 | |
| 6 | Устройство горизонтальной г.и. | СНиП т.8-4 | 100м2 | 1 | 14 | 0 | 1.75 | 0.00 |
| III. | Монтаж каркаса | |||||||
| 7 | Монтаж фундаментных балок | СНиП т.7-1 | 1шт | 56 | 1.9 | 0.38 | 13.3 | 2.66 |
| 8 | Установка колонн: | |||||||
| крайних рядов | Е4-1-4 | 1шт | 36 | 4.9 | 0.49 | 22.05 | 2.21 | |
| средних рядов | Е4-1-4 | 1шт | 20 | 5.7 | 0.57 | 14.25 | 1.43 | |
| фахверка | Е4-1-4 | 1шт | 18 | 4.4 | 0.44 | 9.9 | 0.99 | |
| 9 | Монтаж подкрановых балок | Е4-1-6 | 1шт | 48 | 6.5 | 1.3 | 39 | 7.80 |
| 10 | Установка ферм покрытия | Е4-1-6 | 1шт | 54 | 9.5 | 1.9 | 64.13 | 12.83 |
| 11 | Установка подстропильных ферм | Е4-1-6 | 1шт | 16 | 8 | 1.6 | 16 | 3.20 |
| 12 | Укладка плит покрытия | Е4-1-7 | 1шт | 384 | 1.2 | 0.3 | 57.6 | 14.40 |
| 13 | Монтаж стеновых панелей высотой 0.9м | Е4-1-8 | 1шт | 45 | 3 | 0.75 | 16.88 | 4.22 |
| 13 | Монтаж стеновых панелей высотой 1.2м | Е4-1-8 | 1шт | 365 | 3 | 0.75 | 136.88 | 34.22 |
| 14 | Монтаж стеновых панелей высотой 1.8м | Е4-1-8 | 1шт | 72 | 4 | 1 | 36 | 9.00 |
| 15 | Кирпичная кладка стен внутри цеха | СНиП т.8-5 | 100м2 | 8.18 | 3.9 | 0.81 | 3.99 | 0.83 |
Выбор землеройных машин.
Объём работ по срезу растительного слоя составляет:
V=0,15·80·75=900 мі.
Для разработки растительного грунта принимаем бульдозер на тракторном ходу с мощностью двигателя 80 л.с. марки С – 80.
Для разработки грунта могут быть использованы экскаваторы, оборудованные обратной лопатой.
ЭО
5015А ёмкость ковша
05![]()
ЭО
4121А ёмкость ковша
0.65![]()
Сравнение вариантов следует производить по показателю приведённых затрат:
,
где С – себестоимость работ;
–
нормативный
коэффициент
сравнительной
экономической
эффективности.
к – балансовая стоимость машины.
–
количество
часов работы
машины на объекте.
– нормативное
число часов
работы машины
в году.
;
;
.
– коэффициент
учитывающий
накладные
расходы.
–
время
рабочего цикла.
–
коэффициент
использования
ёмкости ковша
экскаватора.
–
коэффициент
использования
экскаватора
в смену.
–
единовременные
затраты, связанные
с перевозом,
монтажом и
демонтажом.
– годовые
затраты (
,
где
– норма амортизационных
отчислений).
![]()
–
текущие
затраты.
–
стоимость
технического
обслуживания
и технического
ремонта.
–
стоимость
ремонта и замены.
–
стоимость
энергоматериалов.
–
стоимость
смазочных
материалов.
–
заработная
плата машинистов.
;
![]()
.
,
где
![]()
;
;
.
Для разработки котлована выбираем экскаватор Э 5015А.
Расчёт стропильной ноги.
Вариант из металлического профиля.
Сбор нагрузок.
Рис.
| N п/п | Нагрузка | Нормативная, кН/мІ | Ψf | Расчётная, кН/мІ |
|
1 2 3 4 |
Профилированный настил Прогоны швеллер №10 шаг 1,5м Стропильная нога, двутавр №20 шаг 2м Полезная нагрузка |
0,156 0,0859 0,07 0,7 |
1,05 1,05 1,05 1,05 |
0,1638 0,12885 0,0735 0,735 |
| Qпост | 1,0119 | 1,10115 |
Приводим к погонной нагрузке на 1м горизонтальной поверхности:
![]()
![]()
Приводим к узловой нагрузке:
![]()
Снеговая нагрузка.
.
Город Пермь,
V
снеговой район
(прил.3 [
] ).
Рассматриваем два варианта приложения нагрузки [ ].
Рис.
![]()
где
,
[ ];
(
) [ ].
Снеговая нагрузка прикладывается к конструкции через узлы примыкания швеллеров.
Приводим распределённую снеговую нагрузку к узловой:
1) ![]()
![]()
![]()
Полная узловая нагрузка:
1)
; ![]()
2)
; ![]()
; ![]()
| Сочетание нагрузок | |||||||||||||||||||
| N п/п | Наименование нагрузки | Ф | 1-1 | 2-2 | 3-3 | 4-4 | 5-5 | 6-6 | 7-7 | 8-8 | |||||||||
| M | N | M | N | M | N | M | N | M | N | M | N | M | N | M | N | ||||
| 1 | Снеговая вариант 1 | 0.00 | -6.18 | 15.84 | -1.77 | 20.67 | 2.64 | 14.51 | 7.04 | -22.85 | 11.44 | -22.85 | -10.70 | 5.54 | -1.86 | 0.00 | 2.54 | ||
| 2 | Снеговая вариант2 | 0.00 | -7.22 | 18.43 | -2.08 | 24.06 | 3.05 | 16.87 | 8.18 | -26.67 | 13.31 | -26.67 | -12.48 | 6.91 | -2.20 | 0.00 | 2.16 | ||
| I | -Mmax,Nc | Nнагр | 1 | -22.85 | 11.44 | -22.85 | -10.70 | ||||||||||||
| Nнагр | 1 | -26.67 | 13.31 | -26.67 | -12.48 | ||||||||||||||
| II | +Mmax,Nc | Nнагр | 1 | 20.67 | 2.64 | ||||||||||||||
| Nнагр | 1 | 24.06 | 3.05 | ||||||||||||||||
| III | -Nmax,Mc | Nнагр | 1 | -22.85 | -10.70 | ||||||||||||||
| Nнагр | 1 | -26.67 | -12.48 | ||||||||||||||||
| IV | +Nmax,Mc | Nнагр | 1 | -22.85 | 11.44 | ||||||||||||||
| Nнагр | 1 | -26.67 | 13.31 | ||||||||||||||||
Расчёт стропильной ноги в металлическом варианте.
Расчётное сечение 3 – 3: M = 26,67 кНм; N = 13,31 кН.
Предварительно подбираем сечение: двутавровая балка, номер профиля по сортаменту подбираем по требуемому моменту сопротивления.
![]()
где с=1,07 [
];
[ ];
[ ].
Двутавр №16
с геометрическими
характеристиками:
t=0,78см;
h=16см;
![]()
По [
]
![]()
Проверка прочности подобранного сечения:
![]()
.
Проверяем
опорное сечение
1 – 1 балки по
касательному
напряжению:
![]()
![]()
Проверку местной устойчивости поясов и стенки прокатных балок можно не производить, т.к. она обеспечивается принятыми толщинами элементов из условий проката.
Проверяем
подобранное
сечение на
прочность от
действия касательных
напряжений:
:
![]()
![]()
Проверяем
балку по относительному
изгибу:
![]()
;
![]()
Расчёт сборного железобетонного фундамента.
Площадка предварительно спланирована на отметке +63.300. Скважины находятся на расстоянии 50 м друг от друга, они выполнены в непосредственной близости от крайних стен комбината. Схема инженерно геологического разреза приведена на рис. .
Максимальная нагрузка взята из типового проекта. Нагрузка представлена продольной силой приложенной к обрезу фундамента. Сила приложена в сечении - , N=310 кН. Поперечной сила и момент на обрез фундамента не действует.
Обработка данных инженерно – геологических изысканий.
Коэффициент
пористости:
;
Число
пластичности:
;
Индекс
текучести:
;
Индекс
водонасыщенности:
;
Суглинок аллювиальный:
;
;
;
;
Мелкий песок:
;
;
Супесь:
;
;
;
![]()
Суглинок аллювиальный:
;
;
;
;
Расчёт фундамента мелкого заложения.
Сбор нагрузок и воздействий на обрез фундамента:
;
;
![]()
Определение глубины заложения подошвы фундамента:
;
где
=1
- коэффициент
теплового
воздействия
здания
[ ],
- коэффициент
безопасности
[ ],
- глубина
промерзания
грунта в г.Перми
[ ].
; т.к
в ленточных
фундаментах
l=1м
![]()
;
Расчётное сопротивление грунтов сжатию определяем по формуле Пузыревского:
;
где
коэффициенты
определяющие
схему работы
фундамента
и над фундаментной
части [
].
коэффициент
безопасности
по грунту
[ ].
коэффициент
нелинейности
работы грунта
в основании
штампа [
]
объёмный
вес грунта
непосредственно
под подошвой
фундамента.
объёмный
вес грунта выше
подошвы фундамента
(усреднённый).
С=23 удельное сцепление грунта под подошвой фундамента.
Первый шаг:
;
;
Второй шаг:
;
;
;
![]()
Окончательно принимаем ширину подошвы фундамента b=1,2м.
С учётом всего комплекса нагрузок:
кН.
Проверка фундамента по деформациям:
![]()
- бытовое
давление.
![]()
где d – коэффициент рассеивания
![]()
![]()
кПа.
кПа;
где d глубина заложения.
Расчёт свайного фундамента.
Нагрузка,
действующая
на обрез фундамента.
.
Несущая способность F, кН висячей сваи, забиваемой без выемки грунта, работающей на сжимающую нагрузку. Определяем как сумму сил расчётных сопротивлений грунтов основания под нижним концом сваи и на её боковые поверхности:
![]()
где
=1
– коэффициент
условия работы
сваи в грунте,
R – расчётное сопротивление грунта на нижнем конце сваи,
А – площадь опирания на грунт, мІ, принимаем по площади поперечного сечения сваи брутто.
U – наружный периметр сечения сваи, м,
- расчётное
сопротивление
i-го
слоя грунта
основания на
боковой поверхности
сваи.
- толщина
i-го
слоя грунта,
соприкасающегося
с боковой
поверхностью
сваи, м.
- коэффициенты
условия работы
грунта соответственно
под концом и
на боковой
поверхности
сваи, учитывающие
влияние способа
погружения
сваи на расчётное
сопротивления
грунта.
А) Принимаем железобетонную сваю
С3-30 (ГОСТ 19804-74)
длиной l=3м, сечения 300х300мм.
R=2200кПа
[ ],
А=0,3І=0,09мІ, u=0,3·4=1,2м,
[ ].
Таблица .
| № уч-ка. | 1 | 2 | 3 | 4 |
|
|
1 | 1 | 0,15 | 0,85 |
|
|
0,5 | 1,5 | 2,075 | 2,5 |
|
|
20,6 | 23,95 | 30,58 | 32,51 |
![]()
![]()
Допустимая нагрузка на сваю:
1,4 – коэффициент
безопасности.
;
Расчётная нагрузка:
![]()
Максимальный шаг свай:
.
Минимальный допустимый шаг сваи:
![]()
Данный вариант не удовлетворяет обеспечения рационального конструирования свайного фундамента. Требуется увеличить длину сваи.
В) Принимаем железобетонную сваю
С4,5-30 (ГОСТ 19804-74)
длиной 4,5м, сечение 300х300 мм.
R=2300
[ ];
А=0,09; u=1,2;
![]()
Таблица .
№, уч-ка |
1 | 2 | 3 | 4 | 5 | 6 | |
|
|
1 | 1 | 0,15 | 1 | 0,8 | 0,55 | |
|
|
0,5 | 1,5 | 2,75 | 3,75 | 4,74 | 5,1 | |
|
|
20,6 | 23,95 | 30,58 | 37,1 | 39,21 | 40,8 |
![]()
![]()
Максимально допустимый шаг сваи:
![]()
Максимально допустимый шаг сваи:
![]()
При конструировании свайного фундамента принимаем шаг свай 2 м.
С) Расчёт свайного фундамента по деформациям.
Определяем общую зону деформирования под нагрузкой.
- средневзвешенное
значение угла
внутреннего
трения.
![]()
![]()
- расстояние
от наружной
стенки сваи
од конца зоны
деформирования;
l=4,5м – длинна сваи.
A=4,5·tg6,41=0,45м.
Общую зону деформирования принимаем за единый грунтобетонный массив.
Требуется проверить осадку данного массива, сравнивая её с предельно допустимой для свайных фундаментов.
Находим объём грунтобетонного массива приходящегося на 1 погонный метр ленточного свайного фундамента:
![]()
где
размер сваи
по ширине, l=4,5м;
d=2,25 –глубина
заложения
ростверка.
Вес одного погонного метра грунтобетонного массива:
Q=V·γ
- средневзвешенное
значения объёмного
веса грунтобетонного
массива.
;
;
- Нормальная
сила, приложенная
к подошве
грунтобетонного
массива.
Для определения границы осадки воспользуемся методом послойного суммирования:
Разбиваем толщу грунта на элементарные отрезки равные:
Граница активной зоны находится на глубине, на которой выполняется условие:
;
Суммарная осадка:

где
- берётся по
середине
элементарного
отрезка.
Для построения
эпюры действующих
напряжений
пользуемся
формулой:
![]()
где
- дополнительное
давление.
![]()
![]()
Таблица .
| № элем. Отр. |
|
|
|
|
|
|
|
|
| 1 |
0,5 |
0 | 0 | 1 | 296,05 | |||
| 0,5 | 0,83 | 0,8 | 266,45 | 9000 | 1,184 | |||
| 2 | 0,5 | 236,84 | ||||||
| 1 | 1,65 | 0,449 | 184,89 | 9000 | 0,8216 | |||
| 3 | 0,3 | 132,93 | ||||||
| 1,3 | 2,15 | 0,336 | 116,2 | 9000 | 0,1937 | |||
| 4 | 0,5 | 99,47 | ||||||
| 1,8 | 2,98 | 0,201 | 79,49 | 20000 | 0,159 | |||
| 5 | 0,5 | 59,51 | ||||||
| 2,3 | 3,8 | 0,108 | 51,48 | 20000 | 0,103 | |||
| 6 | 0,5 | 31,97 | ||||||
| 2,8 | 4,63 | 0,091 | 29,46 | 20000 | 0,059 | |||
| 7 | 0,5 | 26,94 | ||||||
| 3,3 | 5,46 | 0,067 | 23,39 | 20000 | 0,0468 | |||
| 8 | 0,5 | 19,84 | ||||||
| 3,8 | 6,28 | 0,051 | 17,47 | 20000 | 0,035 | |||
| 9 | 0,5 | 15,1 | ||||||
| 4,3 | 7,12 | 0,036 | 12,88 | 20000 | 0,026 | |||
| 10 | 0,5 | 10,66 | ||||||
| 4,8 | 7,93 | 0,029 | 9,625 | 20000 | 0,019 | |||
| 11 | 0,5 | 8,59 | ||||||
| 5,3 | 8,76 | 0,02 | 8,145 | 20000 | 0,016 | |||
| 12 | 0,5 | 7,7 | ||||||
| 6,81 | 20000 | 0,014 | ||||||
| 5,8 | 9,59 | 0,017 | ||||||
| 13 | 0,5 | 5,92 | ||||||
| 6,3 | 10,41 | 0,015 | 5,48 | 20000 | 0,011 | |||
| 14 | 0,5 | 5,03 | ||||||
| 6,8 | 11,24 | 0,013 | 4,735 | 20000 | 0,009 | |||
| 15 | 0,5 | 4,44 |
Сравнение вариантов конструкций фундаментов.
Для окончательного выбора варианта сравниваем их технико-экономические показатели.
А) Объём бетона для фундамента из сборных железобетонных блоков:
;
;
![]()
Блок 600х600 мм.
Подушка 170х300 мм.
Vобщ=Vп+VБ=264,91мі.
Б) Свайный фундамент:
Свая 4500х300х300 V=0,605 мі
Объемная масса свай: 0,303 мі/п.м.
Ростверк 0,6х0,5 = 0,3 мі
Объёмная масса ростверка: 0,635 мі/п.м.
Vобщ = Vс + Vр = 238,9 + 0,635 = 239,535 мі
Расход бетона на оба варианта приблизительно одинаков. Учитывая значительное увеличение стоимости работ за счёт применения сложной техники и методов, в свайном варианте, а так же удешевление работ в сборном железобетонном варианте при устройстве подвала. Окончательно принимаем фундамент из сборных железобетонных блоков и подушек.
Расчёт деформаций оснований. Определение осадки.
Осадка основания S с использованием расчётной силы в виде линейно деформированного полупространства определяется методом послойного суммирования.
Толща грунта под подошвой фундамента делится на элементарные отрезки:
![]()
Граница активной зоны находится на глубине, где выполняется условие:
так как
![]()
где
- действующее
напряжение;
- напряжение
от собственного
веса грунта.
Суммируем осадки от собственного веса грунта.
[ ];
где
- берётся по
средине элементарного
отрезка.
Для построения
эпюры действующих
напряжений
применяем
формулу:
;
где
- дополнительное
давление;
- коэффициент
рассеивания
[ ].
![]()
- приведённая
глубина (от
подошвы фундамента
до низа соответствующего
элемента отрезка).
Таблица .
| № элем. Отр. |
|
|
|
|
|
|
|
|
| 1 | 0,72 | 0 | 0 | 1 | 210,42 | |||
| 0,72 | 0,8 | 0,866 | 196,32 | 11000 | 1,028 | |||
| 2 | 0,72 | 182,22 | ||||||
| 1,44 | 1,6 | 0,578 | 151,92 | 11000 | 0,796 | |||
| 3 | 0,72 | 121,22 | ||||||
| 2,16 | 2,4 | 0,374 | 100,16 | 11000 | 0,525 | |||
| 4 | 0,14 | 78,7 | ||||||
| 3,56 | 3,96 | 0,163 | 56,5 | 11000 | 0,058 | |||
| 5 | 0,72 | 34,3 | ||||||
| 4,28 | 4,76 | 0,145 | 32,41 | 21000 | 0,089 | |||
| 6 | 0,72 | 30,51 | ||||||
| 5 | 5,56 | 0,1 | 25,78 | 21000 | 0,071 | |||
| 7 | 0,36 | 21,04 | ||||||
| 5,36 | 5,96 | 0,086 | 19,57 | 21000 | 0,027 | |||
| 8 | 0,72 | 18,1 | ||||||
| 6,08 | 6,76 | 0,06 | 15,37 | 9000 | 0,098 | |||
| 9 | 0,72 | 12,63 | ||||||
| 6,8 | 7,56 | 0,055 | 12,1 | 9000 | 0,078 | |||
| 10 | 0,46 | 11,57 | ||||||
| 7,26 | 8,07 | 0,053 | 11,36 | 9000 | 0,047 | |||
| 11 | 0,72 | 11,15 | ||||||
| 7,98 | 8,87 | 0,039 | 9,68 | 9000 | 0,028 | |||
| 12 | 0,72 | 8,21 | ||||||
| 7,47 | 9000 | 0,022 | ||||||
| 8,7 | 9,64 | 0,032 | ||||||
| 13 | 0,72 | 6,73 | ||||||
| 9,42 | 10,47 | 0,028 | 6,31 | 9000 | 0,018 | |||
| 14 | 0,72 | 5,89 | ||||||
| 10,14 | 11,63 | 0,024 | 5,47 | 9000 | 0,016 | |||
| 15 | 0,72 | 5,05 |
![]()
Предельная
осадка фундамента,
что больше чем
расчётная
осадка.
Расчёт армирования подушки фундамента.
Армирование фундаментной подушки осуществляется сетками. Рабочая арматура – поперечные стержни. Площадь рабочей арматуры подбираем из условия прочности на действие максимального изгибающего момента на свесе подушки.
;
где С – вылет консоли.
;
![]()
![]()
По полученному расчётному моменту находим коэффициент:
![]()
;
;
;
;
[ ].
В зависимости
от
принимаем
[ ].
Определяем расчётную площадь сечения рабочих арматурных стержней:
![]()
В соответствии
с сортаментом
принимаем 5ш12
А-III,
![]()
Продольную арматуру принимаем конструктивно: 12 стержней ш 8 А-I.
| № Скважины | Координаты устья | Наименование грунта | Толщина слоя |
т/мі |
|
|
|
т/мі |
кПа |
|
м/с |
q |
|
E, МПа |
Примечание |
| 1 | 65,3 | Суглинок аллювиальный | 4,4 | 2,66 | 0,19 | 0,27 | 0,24 | 1,8 | 23 | 22 |
|
- | 0,01 | 11 | УГВ=4,2м |
| Мелкий песок | 1,8 | 2,65 | - | - | 0,29 | 1,93 | 30 |
|
- | 0,01 | 21 | ||||
| Супесь | 1,9 | 2,66 | 0,16 | 0,23 | 0,28 | 1,82 | 24 |
|
- | 0,01 | 9 | ||||
| Суглинок аллювиальный | 4,9 | 2,67 | 0,14 | 0,26 | 0,18 | 1,97 | 40 | 24 |
|
- | 0,01 | 20 | |||
| 3 | 65,8 | Суглинок аллювиальный | 5,1 | 2,66 | 0,18 | 0,28 | 0,25 | 1,8 | 22 | 23 |
|
- | 0,,01 | 12 | УГВ=4,7м |
| Супесь | 3,1 | 2,65 | 0,18 | 0,24 | 0,27 | 1,81 | 8 | 24 |
|
- | 0,01 | 8,5 | |||
| Суглинок аллювиальный | 3,4 | 2,66 | 0,15 | 0,24 | 0,18 | 1,96 | 41 | 24 |
|
- | 0,01 | 19 |
Расчёт ригеля.
Расчётная
сила: N
= 3,93 кН; расчётная
длина ригеля:
.
Ригель проектируем из бруса прямоугольного сечения, рассчитываем как центрально сжатый элемент:
Предварительно принимаем сечение: 10 х 17,5
,
так как
,
то производим
проверку устойчивости
п.4.2. [ ].
![]()
где
;
;
![]()
![]()
Гибкость ригеля:
![]()
где
[ ];
r=0,289b=0,289·10=2,89см
![]()
Расчёт стропильной ноги в клеёном деревянном варианте.
Стропильную ногу рассчитываем на сжатие с изгибом. Предварительно принимаем сечение a x b = 18,5 х 35 (14 досок δ=2,5).
Расчётные
усилия определяются
по сечению 4 –
4 (конечный элемент
№2): M =
- 40,93 кНм = 4093 кНсм;
N =
- 26,2 кН. Древесина:
сосна второго
сорта.
.
;
![]()
С учётом ослабления сечения :
![]()
.
Расчёт сжато – изгибаемых элементов на прочность:
![]()
где
![]()
![]()
Коэффициент условия работы:
![]()
![]()
Гибкость элемента в плоскости действия момента:
![]()
где
(п.4.21 [ ]).
L=6,928м=692,8см
![]()

Проверка прочности плоской формы деформации (п.4.18. [ ]):

где n=1 (п.4.18 [ ])
Проверяем по сечению 3 – 3: M = - 40,93 кНм = - 4093 кНсм; N = 12,74 кН:
;
![]()
![]()

Расчёт стропильной ноги.
из клеёной древесины:
Рис.
Сбор нагрузок на стропильную конструкцию. Таблица
|
N п/п |
Нагрузка | Нормативная, кН/мІ |
Ψf |
Расчётная, кН/мІ |
|
1 2 3 4 |
Плоские металлические листы Прогоны деревянные, 5х6см, шаг 30см. Стропильная нога клеёная, 16,5х30см, шаг 2м Полезная нагрузка |
0,078 0,015 0,3129 0,7 |
1,05 1,1 1,1 1,13 |
0,0819 0,0165 0,34425 0,91 |
|
|
1,1059 | 1,35265 |
Приводим к погонной нагрузке на 1м горизонтальной поверхности:
![]()
![]()
Полная погонная нагрузка:
![]()
![]()
![]()
Выбор варианта.
Вариант со стропилами из прокатного металлического профиля менее экономичен. Стальные конструкции имеют большую общую массу при одинаковой несущей способности. Металл является более дефицитным и дорогим материалом, чем дерево. Металлические конструкции подвержены коррозии. Клеёная древесина в 10 раз дешевле металлического проката. Монтажные, узлы в металлическом варианте, более энергоемки, трудоёмки и дороги в исполнении. По этому окончательно выбираем стропила из клеёной древесины.
Защита конструкций от загнивания и возгорания.
Для защиты от загнивания изолируются очаги возможного загнивания. Для этого предусматриваются меры ликвидирующие возможность капельного переувлажнения конструкций при их эксплуатации. Эти меры, в проекте, представляют : свободный доступ к опорным узлам рамы (низ несущих конструкций мауэрлатов находится на высоте + 7,150 м), произведена изоляция мауэрлатов от конструкции несущей стены 3-мя слоями рубероида.
Для изготовления конструкций использованы сухие пиломатериалы влажности менее 10%. Для предотвращения переувлажнения в процессе эксплуатации и гигроскопического переувлажнения предусмотрены химические меры защиты : окрасочная пропитка клеёной древесины в условиях площадки огнезащитным составом «КСД» (ТУ 2389-006-17483468-94), который, в то же время имеет биозащитные свойствами . Расход состава 0,75 л/мІ.
По условиям огнестойкости проектируемые конструкции имеют массивные прямоугольные сечения предел огнестойкости, которых 30 – 40 минут. Для повышения огнестойкости узлов в соединениях, металлические крепежные элементы находятся в толще деревянных элементов. Массивные деревянные конструкции дополнительно окрашены огнезащитной краской – ПХВО с расходом 0,6 кг/мІ.
| N п/п | Наименование нагрузки | Ф | 1-1 | 2-2 | 3-3 | 4-4 | 5-5 | 6-6 | 7-7 | 8-8 | Затяжка | |||||||||
| M | N | M | N | M | N | M | N | M | N | M | N | M | N | M | N | N | ||||
| 1 | Снеговая вариант 1 | 0.00 | -10.60 | 13.10 | 0.00 | -35.97 | 10.60 | -35.97 | -24.10 | -4.87 | -18.10 | -4.87 | -21.60 | -2.80 | -17.20 | 0.00 | -12.90 | 3.93 | ||
| 2 | Снеговая вариант 2 | 0.00 | -12.70 | 17.04 | 0.00 | -40.93 | 12.74 | -40.93 | -26.20 | -4.82 | 12.70 | -4.83 | -26.20 | -19.80 | -22.57 | 0.00 | -1.90 | 3.93 | ||
| I | -Mmax,Nc | Nнагр | 1 | -35.97 | 10.60 | -35.97 | -24.10 | |||||||||||||
| Nнагр | 1 | -40.93 | -12.74 | -40.93 | -26.20 | |||||||||||||||
| II | +Mmax,Nc | Nнагр | 1 | 13.10 | 0.00 | |||||||||||||||
| Nнагр | 1 | 17.04 | 0.00 | |||||||||||||||||
| III | -Nmax,Mc | Nнагр | 1 | -35.97 | -24.10 | |||||||||||||||
| Nнагр | 1 | -40.93 | -26.20 | |||||||||||||||||
| IV | +Nmax,Mc | Nнагр | 1 | -35.97 | 10.60 | |||||||||||||||
| Nнагр | 1 | -40.93 | 12.74 | |||||||||||||||||
| Вариант стропил из клеёной древесины Таблица | ||||||||||||||||||||
| N п/п | Наименование нагрузки | Ф | 1-1 | 2-2 | 3-3 | 4-4 | 5-5 | 6-6 | 7-7 | 8-8 | Затяжка | |||||||||
| M | N | M | N | M | N | M | N | M | N | M | N | M | N | M | N | N | ||||
| 1 | Снеговая вариант 1 | 0.00 | -10.60 | 13.10 | 0.00 | -35.97 | 10.60 | -35.97 | -24.10 | -4.87 | -18.10 | -4.87 | -21.60 | -2.80 | -17.20 | 0.00 | -12.90 | 3.93 | ||
| 2 | Снеговая вариант 2 | 0.00 | -12.70 | 17.04 | 0.00 | -40.93 | 12.74 | -40.93 | -26.20 | -4.82 | 12.70 | -4.83 | -26.20 | -19.80 | -22.57 | 0.00 | -1.90 | 3.93 | ||
| Вариант стропил из металлического профиля Таблица | ||||||||||||||||||||
| N п/п | Наименование нагрузки | Ф | 1-1 | 2-2 | 3-3 | 4-4 | 5-5 | 6-6 | 7-7 | 8-8 | ||||||||||
| M | N | M | N | M | N | M | N | M | N | M | N | M | N | M | N | |||||
| 1 | Снеговая вариант 1 | 0.00 | -6.18 | 15.84 | -1.77 | 20.67 | 2.64 | 14.51 | 7.04 | -22.85 | 11.44 | -22.85 | -10.70 | 5.54 | -1.86 | 0.00 | 2.54 | |||
| 2 | Снеговая вариант2 | 0.00 | -7.22 | 18.43 | -2.08 | 24.06 | 3.05 | 16.87 | 8.18 | -26.67 | 13.31 | -26.67 | -12.48 | 6.91 | -2.20 | 0.00 | 2.16 | |||
Расчет прогона.
Прогон рассчитываем как изгибаемый элемент:
Расчетное
усилие:
;
M = 0,5 кН.
Расчёт изгибаемого элемента:
![]()
Предварительно принимаем сечение 2 х 2 см.
![]()
![]()
Древесина: сосна II сорт.
Проверка устойчивости плоской формы деформации:

п.4.14[
].
Проверка прогона по прочности на скалывание:
п.4.10 [ ].
Расчётное усилие Q=1кН.
,
т.3
[ ].
![]()
| |||||
| |||||
| |||||
| |||||
|
Меню |
||||
| Главная Рефераты Благодарности |
||||
Опрос |
||||