1. Методы и приборы определения устойчивости окраски текстильных материалов к различным воздействиям. Шкалы серых и синих эталонных окрасок.
Ткани и другие текстильные изделия при переработке и эксплуатации могут подвергаться самым различным воздействиям. К числу показателей, характеризующих внешний вид ткани, относится прочность окраски. Он относится к числу общих (обязательных) нормируемых показателей в стандартах для тканей любого назначения. Поэтому ГОСТ 9733-83 предусматривает определение прочности окраски более чем к 30 видам различных воздействий: светопогоде, стирке при t = 60о С и при кипении, к действию мыльного и мыльно-содового растворов, дистиллированной воды, пота, морской воды, отбеливанию, заварке, отварке, валке, карбонизации, сухому и мокрому трению и т.д.
Виды воздействия, по которым должна определяться прочность окраски, выбирают в зависимости от назначения тканей:
по ГОСТ 7780-78 для льняных и полульняных,
по ГОСТ 11151-77 для чистошерстяных и полушерстяных,
по ГОСТ 7779-75 для шелковых и полушелковых,
по ГОСТ 7913-76 для хлопчатобумажных и вискозных штапельных.
Методы определения прочности окраски согласно ГОСТ 9733.0-83 основаны на оценке степени изменения первоначальной окраски испытуемой ткани или степени закрашивания белого материала, подвергающегося вместе с окрашенным той или иной обработке. Изменение первоначальной окраски или степень закрашивания белого материала устанавливают визуально путем сравнения со специальными эталонами (шкалы серых эталонов).
Одна из шкал серых эталонных красок предназначена для определения степени изменения первоначальной окраски. Она состоит из пяти пар серых образцов с разной степенью контрастности между темным образцом, постоянным для всех пар, и образцами более светлой окраски.
Вторая шкала окрасок предназначена для определения степени закрашивания белого материала и состоит из пяти пар образцов с разной контрастностью между белым образцом, постоянным для всех пар, и образцами серого цвета различной интенсивности окраски. Каждой паре эталонных образцов соответствует определенное количество баллов от 1 до 50, из которых балл 5
означает высшую степень устойчивости для пары с контрастностью равной нулю.
Подготовка проб к испытанию проводится по ГОСТу 9733.0-83.
В зависимости от вида испытания используют следующие пробы: простая проба – образец определенного размера, подготовленный из испытуемого материала; составная проба, состоящая из простой пробы и одной или двух проб смежных тканей для оценки степени окрашивания; контрольная проба – образец, устойчивость окраски которого известна, используемый
для контроля правильности проведения испытания.
Для проведения некоторых испытаний используют смежные виды двух видов: одна ткань из того же волокна, что и испытуемая ткань или из волокна преобладающего в смеси; другая ткань чаще всего хлопчатобумажная или вискозная.
Элементарные пробы из испытуемого материала и смежных тканей для большинства видов испытания вырезают размером 100х40 мм. При определении устойчивости окраски набивных тканей с большим раппортом печатного рисунка элементарные пробы вырезают из разных участков точечной пробы, имеющих разный цвет и различную интенсивность окраски.
Составную пробу гладкокрашеной, меланжевой или пестротканой ткани или трикотажа подготавливают, помещая простую пробу между двумя пробами смежной ткани и скрепляя их
наметочным швом по одной короткой стороне или по 4 сторонам, если пробы подвергаются механическим воздействиям.
Составную пробу набивной ткани получают, размещая на лицевой стороне простой пробы двух смежных тканей, при этом каждая из этих проб должна занимать половину пробы набивной ткани.
Определение устойчивости окраски
к дистиллированной воде
(ГОСТ 9733.5-83)
Приборы и материалы:
1) рамка из нержавеющей стали с основанием 11,5 х 6,0 см, в которую плотно входит груз массой 5±0,05 кг;
2) пластины стеклянные или из акриловой смолы (плексиглас) размером 11,5 х 6,0 см и толщиной не более 0,2 см4;
3) фарфоровый стакан;
4) термостат воздушный;
5) дистиллированная вода;
6) шкала серых эталонов;
7) образцы смежных тканей;
8) образцы исследуемой ткани (льняные, шерстяные, шелковые);
9) иглы и нитки.
Для проведения испытания готовят составную пробу, состоящую из простой пробы и двух проб смежных тканей размером 10х4 см каждая, одна из них состоит из того же волокна, что и испытуемый образец, или из волокна, преобладающего в смеси; другая – из волокна приведенного в ГОСТ 9733.5-83.
Составную пробу тщательно замачивают в дистиллированной воде при комнатной температуре. Затем, не отжимая, укладывают между двумя стеклянными пластинками; пластинки помещают на специальную раму и сверху ставят груз массой 5±0,5 кг. Раму с пробами помещают в термостат, где выдерживают в течение 4 часов при температуре 37±2оС. После чего пробы расшивают, оставляя шов на короткой стороне пробы, и сушат при температуре не выше 60оС на воздухе в подвешенном состоянии, так, чтобы части составной пробы не соприкасались.
Оценку устойчивости окраски проводят по шкалам серых эталонов по изменению первоначальной окраски и закрашиванию белых смежных тканей.
Определение устойчивости окраски к «поту»
(ГОСТ 9733.6-83)
Приборы и материалы:
1) стаканы фарфоровые;
2) стеклянные палочки с расплющенным концом;
3) электроплитка или термостат;
4) соль поваренная или пищевая (ГОСТ 13830-68);
5) аммиак водный технический (ГОСТ 9-77), 25%-й раствор;
6) кислота уксусная (ГОСТ 19814-74) 98,5%, 10%-й раствор;
7) образцы испытуемых тканей (хлопчатобумажная, льняная, шелковая);
8) образцы смежных тканей;
9) шкала серых эталонов.
Определение устойчивости окраски к «поту» проводят двумя методами. Методика подготовки составной пробы аналогично представленной выше.
Первый метод. По первому методу испытания проводят раздельно в кислом и щелочном растворах, состав которых указан в ГОСТ 9733.6-83 «Методы испытания устойчивости окрасок к «поту».
Составные пробы помещают в стакан со свежеприготовленными растворами, замачивают при модуле ванны 50:1 и выдерживают при комнатной температуре в течение 30 минут, периодически перемешивая и прижимая к стенкам стакана. Затем растворы сливают, пробу отжимают для удаления избытка влаги стеклянными палочками. Пробы помещают между двумя стеклянными пластинами и кладут на раму, сверху ставят груз массой 5±0,05 кг. Раму с образцами помещают в термостат и выдерживают при температуре 37±2оС в течение 4 часов. Для проведения испытаний в кислой и щелочной средах необходимо пользоваться отдельными приспособлениями.
По второму методу используют раствор, состоящий из 5 г/дм3 поваренной соли и 6см3/дм3 25%-го водного раствора аммиака. В раствор, нагретый до 45±2оС, помещают составную пробу и выдерживают при этой температуре 30 мин. Затем, не вынимая из раствора, прижимают пробу 10 раз к стенке стакана стеклянной палочкой с расплющенным концом. После этого, приподняв образец, добавляют в раствор 70 см3/дм3 10 %-ной уксусной кислоты. Образец опускают в раствор и выдерживают в нем в течение 30 мин при температуре 45±2оС. Затем образец, не вынимая из раствора, прижимают к стенке сосуда 10 раз, как указано выше.
По окончании испытания, как по первому, так и по второму методам, пробы расшивают, оставляя шов на короткой стороне пробы, и высушивают на воздухе при температуре не выше 600С в подвешенном состоянии таким образом, чтобы части составной пробы не соприкасались.
Оценку устойчивости первоначальной окраски и степени закрашивания смежной ткани проводят по шкалам серых эталонов.
Определение устойчивости окраски к глажению
(ГОСТ 9733.7-83)
Приборы и материалы:
1) утюг весом, обеспечивающим давление на пробу 4±1 кПа;
2) подушка из шерстяной ткани (поверхностная плотность 200 г/м2) толщиной 3 мм;
3) ткань хлопчатобумажная неокрашенная, отбеленная, немерсеризованная (поверхностная плотность 100-130 г/м2);
4) образцы исследуемой ткани (льняные, шерстяные, шелковые);
5) шкала серых эталонов.
Определение проводят тремя методами (сухое глажение, глажение с запариванием, влажное глажение), выбор которых зависит от назначения текстильного материала и условий изготовления и эксплуатации швейного изделия.
Глажение проводят на подушке из шерстяной ткани толщиной 3 мм, покрытой сухой неокрашенной хлопчатобумажной тканью, утюгом, вес которого обеспечивает давление на пробу 4±1 кПа.
При глажении могут использоваться три температурных режима: 110±20С; 150±20С; 200±20С (в зависимости от волокнистого состава испытуемого материала). В случае испытания материалов из смеси волокон и нитей принимают температуру утюга по наименьшей термостойкости составных волокон. При испытании используют пробы из окрашенного материала и смежной хлопчатобумажной ткани размером 100 х 40 мм.
При сухом глажении элементарную пробу окрашенного материала укладывают на гладильную подушку, сверху ставят утюг и выдерживают пробу 15 секунд.
При глажении с запариванием пробу окрашенного материала кладут на подушку. Сверху ее покрывают пробой смежной хлопчатобумажной ткани, смоченной в дистиллированной воде и отжатой до 100 % содержания влаги, и ставят утюг на 15 секунд.
При влажном глажении перед обработкой смачивают в дистиллированной воде обе пробы: окрашенного материала и смежной ткани. Далее пробы укладывают на подушку и ставят утюг; время обработки 15 сек.
Оценку устойчивости окраски по степени изменения первоначальной окраски и закрашиванию смежной ткани проводят по шкалам серых эталонов сразу после проведения испытания и через 4 часа выдержки их при нормальных атмосферных условиях.
Определение устойчивости окраски текстильных материалов к трению
Приборы и материалы:
1) прибор для определения устойчивости окраски к трению ПТ-4;
2) шкала серых эталонов;
3) хлопчатобумажная отваренная, отбеленная, не аппретированная миткаль;
4) образцы полушерстяной или шерстяной ткани.
Сухое трение.
Из точечной пробы испытуемого материала вырезают элементарную пробу размером 180 х 80 мм и помещают на столик 2 прибора, закрепляя ее кольцом. Из хлопчатобумажной неокрашенной ткани вырезают пробу размером 50 х 50 мм (смежная проба). Смежную пробу натягивают на резиновую пробку 3 и закрепляют зажимным кольцом 4. Грузовую головку с закрепленной на ней смежной пробой опускают на столик 2. Общее давление между столиком и пробой равно 1 даН. С помощью рукоятки 1 столик перемещают по направляющим на расстоянии 100 мм по 10 раз в одном и другом направлении.
Оценку устойчивости окраски к трению проводят по степени закрашивания смежной ткани по шкале серых эталонных окрасок. Для этого смежную ткань до и после испытания располагают рядом друг с другом на одной плоскости с ориентацией в одном направлении. Сравнение проводят на сером фоне. Активность окружающего поля должна быть между 1-2 баллами шкалы серых эталонов для оценки изменения окраски. Сравниваемые поверхности должны освещаться дневным светом с северной стороны или источником света в 600 лк и более. Свет должен падать на поверхность приблизительно под углом 45о, а направление луча зрения должно быть перпендикулярно к поверхности образцов.
Устойчивость окраски оценивается баллом той пары серых эталонов, контраст которой признается одинаковым с контрастами между окрашенными образцами до и после испытания или между не подвергавшимися испытанию и после испытания образцами смежных тканей.
Если контраст находится между двумя ближайшими эталонами шкалы, то устойчивость такой окраски оценивается двумя баллами, например: 3-4 – эта оценка означает, что окраска имеет устойчивость меньшую, чем эталон 4-го балла, но большую, чем эталон 3 балла.
Мокрое трение.
При определении устойчивости окраски при мокром трении пробу смежной ткани перед ее закреплением на грузовой головке замачивают в дистиллированной воде и отжимают до 100% привеса, пропуская между двумя резиновыми валиками. Дальнейший ход испытания тот же, что и при трении в сухом состоянии. По окончанию испытания образец сушат по ГОСТ9733.0-83, т.е. образцы сушат на воздухе в подвешенном состоянии при t не выше 60оС, образцы должны быть защищены от прямого солнечного света.
2. Методы и приборы оценки одноцикловых характеристик при растяжении (компонентов деформации при растяжении) – релаксации.
В швейном производстве, в частности при разматывании рулона полотна, настилании его для раскроя, выполнении швов, влажно-тепловой обработки и т.п., материалы подвергаются действию, как правило, небольших по величине нагрузок, значение которых составляет 1 — 2 % разрывных. В зависимости от способности материала сопротивляться этим воздействиям устанавливаются режимы технологических операций.
При эксплуатации одежды материалы, из которых она изготовлена, в редких случаях подвергаются однократному воздействию непрерывно возрастающей и доходящей до разрушающей нагрузки. Обычно материалы деформируются в результате действия усилий, величины которых значительно меньше разрывных: для тканей они составляют в основном 1 — 3 даН на ширину полоски 5 см и только на отдельных участках одежды достигают 8 — 9 даН. При эксплуатации трикотажных изделий напряжение от растяжения трикотажа составляет около 0,1 МПа.
Таким образом, и в производстве швейных изделий, и при их эксплуатации на материал действуют небольшие нагрузки, которые, чередуясь с разгрузкой и отдыхом, расшатывают структуру материала и приводят к его ослаблению; происходящие при этом изменения в размерах и форме материала на отдельных участках одежды значительно ухудшают ее внешний вид.
Изучение получаемых при испытаниях в цикле нагрузка—разгрузка—отдых характеристик механических свойств текстильных материалов представляет большой интерес, а результаты подобных исследований могут использоваться при конструировании деталей одежды, ее изготовлении, при разработке новых материалов с улучшенными свойствами.
Исследованием тканей при растяжении их нагрузками меньше разрывной начали заниматься в начале XX в. русские ученые. Однако эти работы в то время не получили развития.
Успехи в изучении механических свойств полимеров способствовали развертыванию работ по изучению механических свойств текстильных материалов и исследованию релаксационных явлений, вызванных внешними воздействиями на материалы. Значительные работы в этой области выполнили Г.Н.Кукин, А.Н.Соловьев, А.И.Кобляков, И.И.Шалов, А.В.Матуконис, В.М.Милашюс, В. П. Склянников и др.
Сетчатое строение тканей и петельное строение трикотажа обуславливают образование многочисленных связей. Все связи, действующие в материале, принято разделять на две группы: внешние, определяемые особенностями строения материала, и внутренние, обусловленные особенностями строения нитей (пряжи) и волокон.
При переплетении нитей в ткани между ними возникают силы трения и сцепления. В точках контакта нитей основы и утка эти силы значительно возрастают. Кроме того, структура ткани представляет собой пространственную решетку, форма и размеры которой в значительной степени определяют способность ткани деформироваться. В зависимости от вида переплетения, фазы строения ткани изменяются изгиб и взаиморасположение нитей основы и утка, углы обхвата нитей. Все эти внешние связи, определяемые особенностями строения ткани, оказывают существенное влияние на проявление сил трения и сцепления между нитями и, в конечном счете, на деформационную способность ткани.
Наряду с внешними связями в ткани действуют внутренние связи, определяемые силами трения и сцепления между волокнами в нитях (пряже), силами межатомных и межмолекулярных связей в волокнах.
В трикотаже внешние связи характеризуются силами трения и сцепления, возникающими между нитями петель. Вследствие петельного строения трикотажа его внешние связи несколько слабее и подвижнее, чем в ткани. Для изменения этих связей требуется приложить меньшее усилие. Внутренние связи в трикотаже, как и в тканях, обусловлены силами трения и сцепления между волокнами, составляющими нить, и силами межатомных и межмолекулярных связей в волокнах.
Нетканые полотна существенно отличаются по своему строению от тканей и трикотажа, их волокнистое строение в значительной степени определяет образование связей, влияет на их механические свойства. Для прошивных нетканых полотен внешние связи определяются главным образом силами трения и сцепления волокон, образующих материал. Эти силы, в свою очередь, зависят от расположения волокон в материале (ориентированное или неориентированное), вида волокон, способа прошивания и т.п.
Для клееных нетканых полотен внешние связи, кроме того, в значительной степени дополняются силами склеивания отдельных волокон связующим веществом. В зависимости от количества связующего вещества силы склеивания волокна могут быть очень значительными и оказывать преобладающее влияние на механические свойства материала, на его деформационную способность.
Таким образом, ткани, трикотажные и нетканые полотна имеют сложное строение, которое в значительной степени влияет на их деформационную способность, на характер развития релаксационных процессов.
Релаксационными называют процессы, протекающие во времени и приводящие к установлению равновесного состояния материала. Релаксационные процессы в текстильных материалах наблюдаются при всех видах механических воздействий на материал (растяжение, изгиб, сжатие и др.) и являются их характерной особенностью. Эти процессы в текстильных материалах оказывают большое влияние, как на качество изготовления, так и на эксплуатацию швейных изделий.
Одноцикловые испытания при растяжении материалов можно выполнять многими методами, поскольку цикл нагрузка—разгрузка—отдых может осуществляться различно. Рассмотрим четыре основных из этих методов.
1-й метод. Первая половина цикла (нагружение) соответствует режиму ползучести /, а вторая — режиму уменьшения деформации //за счет исчезновения высокоэластической деформации. В качестве входного возбуждения используется нагрузка (рис. 1, а).
2-й метод. Первая половина цикла соответствует режиму релаксации усилия, вторая — режиму астригнации усилия. (Если деформация поддерживается постоянной после ее уменьшения, то происходит обратный релаксационный процесс — увеличение усилия. Этот процесс В.М.Милашюс назвал астригнацией усилия.) В качестве входного возбуждения используется изменение деформации в виде широкого импульса, а в качестве выходной функции — изменение внутреннего усилия в пробе во времени (рис.1,б).
3-й метод. Первая половина цикла соответствует режиму релаксации усилия, вторая — режиму уменьшения деформации за счет исчезновения высокоэластической деформации. В первой половине цикла в качестве выходной функции используется изменение усилия, во второй половине — изменение деформации (рис.1, в).
4-й метод. Режим испытания состоит из трех частей: ползучести, релаксации усилия, уменьшения деформации за счет исчезновения высокоэластической деформации (рис.1, г).
Помимо этих четырех методов к одноцикловым испытаниям относят метод, при котором пробу постепенно деформируют, а затем постепенно разгружают. Осуществляется этот метод испытания за относительно короткое время на разрывных машинах.
Число испытаний может быть увеличено вследствие варьирования амплитуды возбуждающей функции. Зависимость же релаксационных характеристик от температуры и относительной влажности воздуха требует учета и этих факторов.

Из одноцикловых характеристик, получаемых при растяжении текстильных материалов, наибольший интерес представляет изучение релаксации напряжения, или деформации, и определение полного удлинения и его составных частей. При изучении релаксации напряжения (усилия) регистрируют величину усилия при заданном постоянном удлинении (см. рис.1, б). По степени уменьшения напряжения за определенное время делают сравнительную оценку материалов. Следует отметить, что проявление релаксации напряжения у тканей имеет почти одинаковый характер, поэтому эта характеристика не получила широкого распространения.
Наиболее широко изучается релаксация деформации материала при действии на него постоянной нагрузки меньше разрывной. Если к пробе текстильного материала приложить постоянную нагрузку, то она начнет деформироваться (растягиваться). Такой процесс называют ползучестью или упругим последействием.
При этом, как правило, в начальный период приложения нагрузки происходит значительная деформация материала. С течением времени деформация постепенно затухает и при достижении определенной величины, соответствующей заданной нагрузке, деформация прекращается — устанавливается равновесное состояние (здесь и в дальнейшем под равновесным состоянием понимается «техническое равновесное» состояние, при котором небольшое изменение материала еще продолжается). Деформация материала, зафиксированная в этот момент, определяет величину полного удлинения L:
L = Lк - Lo,
где Lk— длина пробы материала, измеренная к моменту окончания действия на него заданной нагрузки; Lo — первоначальная длина пробы.
Полная деформация, проявляющаяся в материале при действии постоянной нагрузки, слагается из трех компонент (частей): упругой, высокоэластической и пластической. Однако выделить эти части во время действия нагрузки, как при деформации, так и в период условно установившегося равновесия не представляется возможным. В определенных условиях все три компоненты полной деформации при действии нагрузки проявляются и развиваются одновременно.
Упругая часть (Ly) полной деформации текстильных материалов возникает вследствие появления энергии, вызванной упругим (обратимым) изменением связей. Из-за изменения напряжения связей, находившихся до этого в равновесии, и развивается упругая часть деформации, которая распространяется в материале с огромной скоростью. При этом в первый период действия нагрузки упругая часть деформации, очевидно, является результатом незначительного изменения внешних связей, определяемых силами трения и сцепления между волокнами, проявлением межмолекулярных связей.
С течением времени действия нагрузки происходит существенное изменение связей. Вновь образовавшиеся связи в первый момент своего проявления вследствие незначительного изменения напряжения пополняют упругую часть. Таким образом, по мере роста полной деформации материала происходит непрерывный процесс изменения в связях. При этом, очевидно, все связи в первый момент своего проявления выступают как упругие. С ростом полного удлинения материала изменяются внутренние связи — межволоконные и межмолекулярные в волокнах.
Возникновение высокоэластической части (Lэ) — изменяющейся во времени части полной деформации — объясняется тем, что связи, проявившиеся в первый момент развития. Упругой части деформации, по мере действия внешних сил продолжают накапливать энергию. Этот процесс, протекающий во времени, и приводит к появлению внутренних напряжений, способствующих обратимости высокоэластической части деформации. Участие связей в возникновении эластической части деформации продолжается до тех пор, пока энергия, накопившаяся в связях, не достигнет определенного значения, превышающего предельное для данной связи, и не произойдет нарушения этих связей. Нарушение действовавших связей, очевидно, приводит к появлению новых связей, которые в первый момент проявления пополняют упругую часть деформации и участвуют в возникновении эластической части. Следовательно, при деформации материала происходит непрерывное качественное изменение связей, участвующих в возникновении упругой, а затем высокоэластической частей деформации. Высокоэластическая часть деформации в текстильных материалах в связи с особенностями их строения проявляется в течение длительного времени.
Пластическая часть (Lп) полной деформации появляется в материале вследствие необратимого изменения (нарушения) внешних и внутренних связей. Под действием нагрузки в результате накопления энергии происходит нарушение связей, сопровождающееся перегруппировкой элементов структуры материала. При этом, очевидно, в первую очередь нарушаются менее устойчивые и слабые внешние связи: происходит необратимое сближение нитей и перемещение их в точках контакта, увеличиваются изгибы одних и распрямление других нитей либо меняются изгибы всех нитей и т.п.
Рассмотренные выше особенности деформации материала при действии на него нагрузки, выражающиеся в проявлении трех составных частей полной деформации, характерны и для цикла отдыха, наступающего после разгрузки материала.
После освобождения материала от действия нагрузки происходит обратный релаксационный процесс. Однако участвующие в этом процессе связи, естественно, качественно отличаются от тех связей, которые принимали участие в возникновении упругой и эластической частей деформации на первом этапе ее развития при действии нагрузки. Причем высокоэластическая часть деформации при обратном релаксационном процессе также проявляется длительное время. Этот процесс сопровождается некоторым изменением и пластической части деформации.
Благодаря различной скорости проявления упругой и высокоэластической частей деформации при отдыхе возможно разделение полной деформации на составные части. Вследствие возникновения упругой и высокоэластической (с очень малым периодом релаксации) частей деформации материал в первый момент после снятия нагрузки сокращается по длине. При отдыхе в связи с проявлением высокоэластической части деформации он продолжает укорачиваться. По истечении определенного и притом значительного времени релаксация деформации замедляется и практически прекращается.
Очевидно, такое разделение полной деформации растяжения на составные части условно.
Известно, что упругая часть деформации распространяется в материалах со скоростью, близкой к скорости звука. На существующих же приборах первый отсчет деформации производится обычно через 2 —5 с после разгрузки. За это время, естественно, исчезает не только упругая часть деформации, но и какая-то часть высокоэластической с малым периодом релаксации. Таким образом, фиксируемое значение упругой части полной деформации несколько выше фактического. Эту часть (компоненту) полной деформации Lу принято называть быстрообратимой.
Высокоэластическая часть деформации проявляется в течение длительного времени (сотен часов). При массовых испытаниях текстильных материалов наблюдения за отдыхом материала ограничиваются несколькими часами. Проявляющуюся за это время отдыха часть деформации Lэ принято называть медленнообратимой. Часть эластической деформации, которая не успела проявить себя за короткое время отдыха, попадает в пластическую и несколько превышает ее истинную величину. Поэтому правильнее эту часть деформации Lп называть остаточной.
Таким образом, значения частей полной деформации растяжения текстильного материала, получаемые после освобождения его от действия нагрузки, при отдыхе, носят условный характер. Следует отметить, что и полное удлинение материала, фиксируемое при действии малых нагрузок, также условно. Дело в том, что релаксация деформации в текстильных материалах продолжается значительное время, при этом чем выше чувствительность прибора, регистрирующего деформацию, тем дольше можно наблюдать релаксационный процесс. Кроме того, на проявление релаксации деформации материала существенное влияние оказывают условия окружающей среды (влажность, температура и др.). Однако, несмотря на условный характер полного удлинения, и его составных частей, описанный способ изучения релаксации деформации и определения компонент полного удлинения текстильного материала при действии на него малых нагрузок благодаря наглядности и относительной простоте наиболее распространен и широко используется.
В дальнейшем для краткости термины «условная полная деформация», «условная быстрообратимая (упругая) деформация», «условная медленнообратимая (высокоэластическая) деформация» и «условная остаточная (пластическая) деформация» будут написаны без слова «условная». Однако при употреблении этих терминов их следует понимать в условном значении.
Полная абсолютная деформация растяжения, развившаяся в материале к моменту разгрузки, слагается из трех компонент (частей):
L= Ly+Lэ+Ln
Значения этих компонент определяют следующим образом:
Ly= Lk-L1; Lэ= Lk-L2; Ln =L2-Lo,
где L1 — длина пробы материала в момент первого измерения сразу же после снятия нагрузки; L2 — длина пробы после отдыха в течение определенного (заданного) времени.
Полную деформацию растяжения и ее составные части часто выражают в относительных величинах (относительная полная е, относительная быстрообратимая, относительная медленнообратимая, относительная остаточная), получаемых делением абсолютных значений на первоначальную длину пробы материала:
Для выражения полученных значений деформаций в процентах их умножают на 100.
При изучении деформаций растяжения текстильных материалов для их сравнения принято также компоненты полной деформации выражать в долях от полной:
при этом
Учитывая условный характер быстрообратимой и медленнообратимой компонент, их часто объединяют под общим названием обратимая часть полной деформации; деформация остаточная — необратимая часть.
Влияние различных факторов на проявление одноцикловых характеристик.
Релаксация деформации текстильных материалов при отдыхе после освобождения от действия статической нагрузки продолжается длительное время. В тканях техническое равновесие в основном устанавливается через 300 — 400 ч действия статической нагрузки и 100 — 200 ч отдыха после освобождения от нагрузки. В трикотаже релаксация деформации растяжения при отдыхе продолжается более длительное время.
Наиболее интенсивно релаксационный процесс протекает в первый период действия отдыха. С течением времени релаксация деформации затухает и устанавливается относительно равновесное состояние. Следует отметить, что величина нагрузки в долях от разрывной 0,1 — 0,25 для тканей и 0,01—0,05 для трикотажа не оказывает существенного влияния на время развития деформации и релаксации деформации при действии нагрузки и при отдыхе.
Величина статической нагрузки, действующей на материал, значительно влияет на величину полной деформации растяжения материала и соотношение составных частей полного удлинения. При увеличении нагрузки растет полная деформация, и существенно изменяются ее части: быстрообратимая, медленнообратимая и остаточная. В тканях развитие деформации, вызванное увеличением нагрузки, сопровождается нарушением отдельных связей и приводит к росту остаточной деформации; доли быстрообратимой и медленнообратимой деформаций при повышении статической нагрузки уменьшаются.
Проявление полной деформации и ее составных частей в значительной степени зависит от структуры ткани: числа нитей на 10 см, вида переплетения, характера отделки и т.п. Условные значения полной деформации и ее компонент, полученные при испытании стандартных проб, вырезанных по основе (нагрузка — 0,25 разрывной, продолжительность действия нагрузки 1 ч, отдыха 2 ч), приведены в табл. 2.5.
При приложении нагрузки под углами к нитям основы или утка растет полная деформация ткани и изменяется соотношение составных частей: доля обратимой части уменьшается, а доля необратимой увеличивается. Особенно увеличиваются полная деформация, и доля ее необратимой части при приложении нагрузки в направлении под углом 45° к нитям основы (утка). Это объясняется поворотом нитей основы и утка в точках их пересечения (перехода) и связано главным образом с числом нитей на 10 см материала и видом переплетения. Чем меньше число нитей на 10 см материала и больше длина перекрытия, а, следовательно, слабее связи между нитями, тем легче поворачиваются нити в точках их пересечения. Поэтому уже при малых нагрузках, действующих на ткани в направлении под углом к нитям основы (утка), наблюдается значительное полное удлинение ткани с увеличением доли необратимой части деформации.
Соотношение обратимой и необратимой частей деформации растяжения зависит от вида переплетения, поверхностного заполнения материала, его волокнистого состава.
Проявление составных частей деформации растяжения трикотажа по сравнению с тканями имеет некоторые особенности, определяемые петельным строением трикотажа. Так, незначительное увеличение статической нагрузки при кратковременном ее действии приводит к резкому увеличению полного удлинения с преимущественным развитием упругой деформации. Со временем действия статической нагрузки изменяется соотношение частей полной деформации растяжения трикотажа: обратимая часть деформации уменьшается, необратимая растет. При значительном увеличении статической нагрузки увеличивается остаточная часть полной деформации трикотажа.
Таким образом, чем меньше нагрузка, действующая на материал, и время ее действия, тем больше доля упругой компоненты. Поэтому одежда, материал которой при носке испытывает кратковременное действие незначительной нагрузки, лучше сохраняет форму и размеры.
Большое влияние на развитие релаксационных процессов в текстильных материалах оказывают влага и температура. При поглощении паров воды из окружающей среды и еще в большей степени при непосредственном погружении текстильных изделий в воду молекулы воды, проникая между макромолекулами, формирующими текстильные волокна, ослабляют их связи, т.е. влага действует как пластификатор.
Особенности релаксационных процессов в ткани под влиянием влажности и температуры при режимах, близких к условиям швейного производства, изучались во МТИЛПе. Эксперименты проводились с чистошерстяной тканью драп арт. Н-3339 на релаксометре Р-МТИЛП. Всего было задано шесть режимов испытаний.
Размер проб 35 х 200 мм. Постоянная нагрузка — 1 % разрывной. Время нахождения пробы под нагрузкой 5 мин, из них в течение 2 мин на пробу действовала нагрузка и в течение 3 мин происходила релаксация при зафиксированной деформации. Температура пропаривания проб для увлажнения (100 ± 5) °С. Отдых после разгрузки при температуре 20 °С 60 мин.
Значение полной деформации при действии постоянной нагрузки составило 6—7 % и только для режимов 111 и IV — 8 — 9%; доли компонент полной деформации при отдыхе в заданных режимах существенно различаются. Так, при повышении температуры сушки от 20 (режим /) до 160 °С (режим 11) время активной релаксации деформации увеличивается. Повышение влажности ткани от 15 (режим 1) до 25 % (режим III) практически не влияет на характер релаксации деформации, в то же время доля остаточной деформации ткани (режим III) заметно возрастает.
Предварительное пропаривание проб (режимы V и VI) и последующая их сушка при температуре 160°С способствуют преимущественному развитию обратимой части деформации (режим VI).
Таким образом, релаксация деформации ткани при отдыхе значительно изменяется в зависимости от режимов обработки ткани и существенно влияет на количество выполнения технологических операций в швейном производстве.
Приборы для определения одноцикловых характеристик. Для определения одноцикловых характеристик материалов применяют приборы, работающие по принципу:
1) постоянного растяжения пробы материала;
2) постоянной нагрузки на пробу (релаксометры).
При испытании материалов на приборах первого типа изучают изменения усилия в пробе материала, получившей постоянное заданное удлинение. Прибор первого типа разработан Г. Н. Кукиным и А. И. Кобляковым (рис. 2.1). При испытаниях на этом приборе вращением рукоятки все нижние зажимы 2 опускаются на определенную величину, а пробы ткани при этом получают заданную деформацию.

Релаксация усилия (напряжения) в материале регистрируется с помощью тензометрического силоизмерителя - балки 5, на которой закреплен верхний зажим 4.
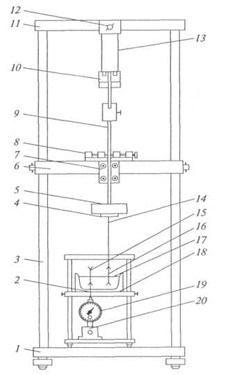
Для изучения релаксации усилия в материале при постоянном растяжении пробы используют механический релаксометр МР, разработанный во МТИЛПе Г. П. Румянцевой, Б. А. Бузовым, В. П. Ко-ротаевым (рис. 2.2).
Прибор оснащен 16 зажимами, каждый из которых связан с механизмом задания деформации. Испытания на приборе МР позволяют регистрировать величины усилий по контуру пробы (круглой формы), моделировать напряженное состояние на образцах других форм, приближая испытания материалов к условиям их эксплуатации.
Для изучения релаксации деформации и определения составных частей полной деформации растяжения материала используют приборы второго типа: стойку, РТ-6, Р-5, Р-МТИЛП и др.
В релаксометре Р-МТИЛП, разработанном Б. А. Бузовым и Д.Г.Петропавловским (рис. 2.27), для устранения влияния массы нижнего подвижного зажима, а также жестко соединенных с ним штока и грузовой площадки на динамику релаксационного процесса гибкая связь соединена непосредственно с нижним концом пробы через полый шток и отверстие в основании нижнего подвижного зажима. Конструкция зажима позволяет быстро разгружать пробу благодаря особому ее закреплению.
Прибор оснащен съемной термокриокамерой, что дает возможность изучать релаксацию деформации материалов в широком интервале температур.

Список литературы
СТП ИГТА 001-2003
Бузов Б.А. Материаловедение в производстве изделий легкой промышленности (швейное производство): учебник для студ. высш. учеб. заведений / Б.А. Бузов, Н.Д. Алыменкова. – М.: Академия,2004. – 448с.
Кукин Г.Н. Текстильное материаловедение / Г.Н. Кукин, А.Н. Соловьев, А.И. Кобляков. – М.: Легпромбытиздат, 1992. – 272с
ГОСТ 9733.0 – 83 «Материалы текстильные. Общие требования к методам испытаний устойчивости окрасок к физико-химическим воздействиям».
ГОСТ 9733.27 – 83 «Материалы текстильные. Метод испытания устойчивости окраски к трению».
ГОСТ 9733.5 – 83 «Материалы текстильные. Метод испытания устойчивости окраски к дистиллированной воде».
ГОСТ 9733.6 – 83 «Материалы текстильные. Метод испытания устойчивости окраски к поту».
ГОСТ 9733.7 – 83 «Материалы текстильные. Метод испытания устойчивости окраски к глажению
|